AJCS08ACB - Air Conditioning GE - Free user manual and instructions
Find the device manual for free AJCS08ACB GE in PDF.
User questions about AJCS08ACB GE
0 question about this device. Answer the ones you know or ask your own.
Ask a new question about this device
Download the instructions for your Air Conditioning in PDF format for free! Find your manual AJCS08ACB - GE and take your electronic device back in hand. On this page are published all the documents necessary for the use of your device. AJCS08ACB by GE.
USER MANUAL AJCS08ACB GE
Owner's Manual and Installation Instructions
Air Conditioners
Safety Instructions 2,3
Operating Instructions
Controls-Control Knobs .8,9
Controls—Touch Pads 4-6
Care and Cleaning
Air Filter 11
FrontGrille. 10
Grille and Case 10
Outdoor Coils 10
Installation Instructions
Before You Begin 12, 13
Installing a J-Model in
an Existing Wall Case 14
Through-the-Wall
Installation-Optional 15
Window Installation
Optional on models
so equipped 16-21
Troubleshooting Tips 22
Normal Operating Sounds .22
Consumer Support
Consumer Support . . . Back Cover
Warranty 23
*ENERGY STAR® labeled product

As an ENERGY STAR partner, GE has determined that this product meets the ENERGY STAR guidelines for energy efficiency.
Write the model and serial numbers here:
Model#
Serial #
Find these numbers on a label on the front of the base pan behind the front grille.
Cool Only: AJCH 08, 10 ACC*
AJCH 10, 12 DCC*
AJCQ 06 LCC*
AJCQ 08,10 ACC*
AJCQ 10, 12 DCC*
AJCS 06 LCC*
AJCS 08,10 ACC*
AJCS 09,10,12 DCC*
Heat/Cool:AJEH 12 DCC
AJES 06 LSC
AJES08ASC
AJES 09,10,12 DCC
AJES 10 DSC
Heat Pump: AJHS 08 ASC*
AJHS 08, 10 DCC*
Espanol
For a Spanish version of this manual, visit our Website at ge.com.
For a French version of this manual, visit our Website at www.electromenagersge.ca
For your safety, the information in this manual must be followed to minimize the risk of fire, electric shock or personal injury.

SAFETY PRECAUTIONS
Use this appliance only for its intended purpose as described in this Owner's Manual.
This air conditioner must be properly installed in accordance with the Installation Instructions before it is used.
Never unplug your air conditioner by pulling on the power cord. Always grip plug firmly and pull straight out from the receptacle.
Replace immediately all electric service cords that have become frayed or otherwise damaged. A damaged power supply cord must be replaced with a new power supply cord obtained from the manufacturer and not repaired. Do not use a cord that shows cracks or abrasion damage along its length or at either the plug or connector end.
Turn the mode control OFF and unplug your air conditioner before making any repairs or cleaning.
NOTE: We strongly recommend that any servicing be performed by a qualified individual.
For your safety...do not store or use combustible materials, gasoline or other flammable vapors or liquids in the vicinity of this or any other appliance.
All air conditioners contain refrigerants, which under federal law must be removed prior to product disposal. If you are getting rid of an old product with refrigerants, check with the company handling disposal about what to do.

HOW TO CONNECT ELECTRICITY
Do not, under any circumstances, cut or remove the third (ground) prong from the power cord. For personal safety, this appliance must be properly grounded.
The power cord of this appliance is equipped with a 3-prong (grounding) plug which mates with a standard 3-prong (grounding) wall outlet to minimize the possibility of electric shock hazard from this appliance.
Power cord may include a current interrupter device. A test and reset button is provided on the plug case. The device should be tested on a periodic basis by first pressing the TEST button and then the RESET button. If the TEST button does not trip or if the RESET button will not stay engaged, discontinue use of the air conditioner and contact a qualified service technician.
Have the wall outlet and circuit checked by a qualified electrician to make sure the outlet is properly grounded.
Where a 2-prong wall outlet is encountered, it is your personal responsibility and obligation to have it replaced with a properly grounded 3-prong wall outlet.
The air conditioner should always be plugged into its own individual electrical outlet which has a voltage rating that matches the rating plate.
This provides the best performance and also prevents overloading house wiring circuits which could cause a fire hazard from overheated wires.
See the Installation Instructions, Electrical Requirements section for specific electrical connection requirements.

WARNING!
USE OF EXTENSION CORDS—115-Volt models only
Because of potential safety hazards under certain conditions, we strongly recommend against the use of an extension cord.
However, if you must use an extension cord, it is absolutely necessary that it be a UL-listed, 14 gauge, 3-wire grounding type appliance extension cord having a grounding type plug and outlet and that the electrical rating of the cord be 15 amperes (minimum) and 125 volts.
CAUTION:
DO NOT use an extension cord with any of the 230/208 volt models.

USE OF ADAPTER PLUGS—115-Volt models only
Because of potential safety hazards under certain conditions, we strongly recommend against the use of an adapter plug.
However, if you must use an adapter, where local codes permit, a temporary connection may be made to a properly grounded 2-prong wall outlet by use of a UL-listed adapter available at most local hardware stores.
The larger slot in the adapter must be aligned with the larger slot in the wall outlet to provide proper polarity in the connection of the power cord.
When disconnecting the power cord from the adapter, always hold the adapter in place with one hand while pulling the power cord plug with the other hand. If this is not done, the adapter ground terminal is very likely to break with repeated use.
If the adapter ground terminal breaks, DO NOT USE the air conditioner until a proper ground has been established.
Attaching the adapter ground terminal to a wall outlet cover screw does not ground the appliance unless the cover screw is metal, not insulated, and the wall outlet is grounded through the house wiring. You should have the circuit checked by a qualified electrician to make sure the outlet is properly grounded.

READ AND FOLLOW THIS SAFETY INFORMATION CAREFULLY.
SAVE THESE INSTRUCTIONS
About the controls on the air conditioner—models with touch pads.
Appearance may vary.

Air Conditioner Controls
Lights beside the touch pads on the air conditioner control panel indicate the selected settings.

Remote Control
When the air conditioner is turned on, it will automatically start in the setting last used.

Controls

ON/STOP
Turns air conditioner on and off.

Display

MODE
On the remote control, use to set the air conditioner to COOL or FAN mode.
On the air conditioner controls, use to set COOL or FAN mode at HIGH, MED or LOW fan speed. Indicator lights on the air conditioner controls will show the mode and fan speed selected.

TEMP Increase ▲/Decrease▼ Pads
Use to set temperature when in COOL mode.

Fan Speeds (Remote control only)
Use to set the fan speed at LOW, MED or HIGH.

TIMER
ON-When the air conditioner is off, it can be set to automatically turn on in half an hour to 24 hours at its previous setting. Each touch will set the time in half hours up to 10 and then in hours up to 24.
To cancel (CL) the On Timer press the ON pad again.
OFF-When the air conditioner is on, it can be set to automatically turn off in half an hour to 24 hours. Each touch will set the time in half hours up to 10 and then in hours up to 24.
To cancel (CL) the Off Timer press the OFF pad again.
To cancel the timer, press the ON or OFF pads until the display time disappears.

SLEEP
Press to set the air conditioner to run for 8 hours before it automatically returns to the previous setting.
When the sleep timer is set, the set temperature will automatically increase 2^ after the second hour then 1^ each hour over the next two hours.
To cancel the sleep mode, press the MODE pad or the SLEEP pad a second time.

Remote Control Signal Receiver
Remote Control
To ensure proper operation, aim the remote control at the signal receiver on the air conditioner.
The remote control signal has a range of up to 21 feet.
Make sure nothing is between the air conditioner and the remote control that could block the signal.
Make sure batteries are fresh and installed correctly—see the Care and Cleaning section.
COOL MODE
Remote Control
- Press COOL pad.
- Press LOW, MED or HI pads to set desired fan speed.
- Press the INCREASE / DECREASE pads to set the desired temperature 60^ to 85^ in 1^ increments.
Control Panel
- Press the MODE pad until the COOL indicator light is lit and the LOW, MED or HI indicator light is lit for the desired fan speed.
- Press the INCREASE / DECREASE pads to set the desired temperature 60^ to 85^ in 1^ increments.
A thermostat is used to maintain the room temperature. The compressor will cycle on and off to keep the room at the set level of comfort. Set the thermostat at a lower number and the indoor air will
become cooler. Set the thermostat at a higher number and the indoor air will become warmer.
NOTE: If the air conditioner is off and is then turned on while set to COOL, it will take approximately 3 minutes for the compressor to start and cooling to begin.
Cooling Descriptions
For Normal Cooling—Select the COOL mode and HIGH or MED fan with a middle set temperature.
For Maximum Cooling—Select the COOL mode and HIGH fan with a lower set temperature.
For Quieter & Nighttime Cooling—Select the COOL mode and LOW fan with a middle set temperature.
NOTE: If you switch from a COOL setting to OFF or to a fan setting, wait at least 3 minutes before switching back to a COOL setting.
Fan Switch
The fan switch is located behind the front grille on the control box. Access through a hole in control box. When set at CYCLE (down) the fan cycles on and off.
When set at CONT (continuous, up) the fan runs all the time providing a more balanced temperature. The unit is shipped in the CONT setting.
FAN MODE
Use the FAN mode to provide air circulation and filtering without cooling. Since fan only settings do not provide cooling, a temperature setting will not be displayed.
Remote Control
Press FAN pad. Press LOW, MED or HI pads to set desired fan speed.
Control Panel
Press the MODE pad until the FAN indicator light is lit and the LOW, MED or HI indicator light is lit for the desired fan speed.
Vent Control
The vent control is located behind the front grille on the right side of the air discharge area. When set at CLOSE, only the air inside the room will be circulated and conditioned. When set at OPEN, some inside air is exhausted outside.
The unit leaves the factory set at the CLOSE position.

OPEN position (Mesh end toward back)

CLOSE position (Mesh end toward front)
To open or close the vent:
- Remove the front grille.
- Remove the vent card screw.
- Remove vent card, turn it over and replace it by locating rear hole in card over locating pin inside air discharge and reattaching screw at front.
Air Direction

Horizontal louver on the front grille let you control the air direction up and down.

Remove the front grille to adjust the vertical louvers side-to-side to direct the air left or right.
About the controls on the air conditioner—models with touch pads.
Auxiliary Controls - Temperature Limiting
To reach the auxiliary controls remove the front grille. Access them through the small rectangular opening above the control panel.
Temperature limiting can reduce energy costs by limiting the lowest temperature that can be set for cooling. Temperature limiting is controlled by switches 1-3 of auxiliary controls.

| Temperature limiting during COOL mode (all temperatures shown in °F) | |||
| UP DOWN Minimum Maximum | |||
| NONE 1 | 2, 3 60° 85° | ||
| 1 2, 3 | 64° 85° | ||
| 1, 2 3 | 66° 85° | ||
| 2 1, 3 | 68° 85° | ||
| 2,3 1 70° 85° | |||
| 1, 2, 3 | NONE 72° 85° | ||
| 1, 3 2 7 | 4° 85° | ||
| 3 1, 2 | 76° 85° | ||

Safely Instructions
Operating Instructions
Installation Instructions
Troubleshooting Tips
Consumer Support
About the controls on the air conditioner—models with control knobs.




MODE CONTROL TEMP CONTROL



Controls

Mode Control
HIGH COOL and LOW COOL provide cooling with different fan speeds.
HIGH HEAT and LOW HEAT provide heating with different fan speeds.
LOW FAN or HIGH FAN provides air circulation and filtering without cooling or heating.
NOTE: If you move the switch from a cool or heat setting to OFF or to a fan setting, wait at least 3 minutes before switching back to a cool or heat setting. A 3-minute delay is automatically provided on the Heat/Cool and Heat Pump models.
Cooling/Heating Descriptions
For Normal Cooling or Heating-Select HIGH COOL or HIGH HEAT with the thermostat at mid point.
For Maximum Cooling—Select HIGH COOL with the thermostat at maximum cool.
For Maximum Heating—Select HIGH HEAT with the thermostat at maximum heat.
For Quietter & Nighttime Cooling-Select LOW COOL with the thermostat at mid point.

Temp Control
The temp control is used to maintain the room temperature. The compressor will cycle on and off to keep the room at the same level of comfort. When you turn the knob to COOLER (blue) the indoor air will become cooler. Turn the knob to WARMER (red) and the indoor air will become warmer.
Heat Pump Models
When the outdoor temperature is lower than 25^ , heat is provided by the electric heater in the air conditioner instead of by the heat pump.
NOTE: The electric resistance heater in the 115-volt heat pump model operates during defrost when the outdoor coil temperature is below 36^ . It is not intended to provide full heat capability.
Fan Switch
To reach the fan switch(es) remove the front grille.
On Heat/Cool and Heat Pump models, the fan switch levers are located in holes accessed through the control box. The top switch is for COOL settings and the bottom switch is for HEAT settings. Use a small screwdriver to change the setting. The unit is shipped from the factory set in the CONT setting for COOL and in the CYCLE setting for HEAT.
Cool only models have a rocker switch on the front of the control box.
When set at CYCLE (down) the fan cycles on and off when cooling. When set at CONT (continuous, up) the fan runs all the time, providing a more balanced temperature. The unit is shipped in the CONT setting.

Temperature Limiting
Limiting the maximum and minimum settings prevents users from turning the control to the extreme heat or cool positions.
The normal range of the temp control is approximately 60^ to 85^ . The control range may be narrowed by the use of the temperature limiting screws located behind the control panel.

Each position equals approximately 3^
Vent Control
The vent control is located behind the front grille on the right side of the air discharge area. When set at CLOSE, only the air inside the room will be circulated and conditioned. When set at OPEN, some inside air is exhausted outside.
To open or close the vent:
- Remove the front grille.
- Remove the vent card screw.
- Remove vent card, turn it over and replace it by locating rear hole in card over locating pin inside air discharge and reattaching screw at front.
The unit leaves the factory set at the CLOSE position.

OPEN position (Mesh end toward back)

CLOSE position (Mesh end toward front)
Air Direction

Horizontal louvers on the front grille let you control the air direction up and down.

Remove the front grille to adjust the vertical louvers side-to-side to direct the air left or right.
Care and cleaning of the air conditioner.
Grille and Case
Turn the air conditioner off and remove the plug from the wall outlet before cleaning.
To clean, use water and a mild detergent. Do not use bleach or abrasives.
Outdoor Coils
The coils on the outdoor side of the air conditioner should be checked regularly. If they are clogged with dirt or soot they may be professionally steam cleaned, a service available through your GE service outlet.

FrontGrille
The front grille can be removed for more thorough cleaning or to make the model and serial numbers accessible.
To remove:
1.Pull the filter out.
2.Remove the two grille screws.


On some models
- Pull the grille out from the bottom and lift up from the tabs on the top of the case.

To replace:
I hook the tabs on the front grille even with the tabs on the case and snap into place.
Replace the screws and filter.

To maintain optimum performance, clean the filter at least every 30 days.
Air Filter


Dirty filter-Needs cleaning Clogged filter--Greatly reduces cooling, heating and airflow.
Turn the air conditioner off before cleaning.
The most important thing you can do to maintain the air conditioner is to clean the filter at least every 30 days. A clogged filter reduces cooling, heating and air flow.
Keeping the air filter clean will:
Decrease cost of operation.
Save energy.
Prevent clogged heat exchanger coils.
Reduce the risk of premature component failure.
To clean the air filters:
Vacuum off the heavy soil.
■Run water through the filters.
Dry thoroughly before replacing.
To remove the air filter, on some models:
Carefully pull the tab forward, up and out.

To remove the air filter, on other models:
Pull it down.

To replace the air filter:
Replace the clean filter by pushing it back into place.

CAUTION: Do not operate the air conditioner without the filter in place. If a filter becomes torn or damaged it should be replaced immediately.
Operating without the filter in place or with a damaged filter will allow dirt and dust to reach the indoor coil and reduce the cooling, heating, airflow and efficiency of the unit.
Replacement filters are available from your salesperson, GE dealer, GE Service and Parts Center or authorized Customer Care® servicers.
How to Insert the Batteries
1 Remove the battery cover by sliding it according to the arrow direction.
2 Insert new batteries making sure that the (+) and (-) of battery are installed correctly.
3 Reattach the cover by sliding it back into position.
NOTES:
Use 2 AAA (1.5 volt) batteries. Do not use rechargeable batteries.
■Remove the batteries from the remote control if the system is not going to be used for a long time.
Installation Instructions
Air Conditioner

Questions? Call 800.GE.CARES (800.432.2737) or Visit our Website at: ge.com

BEFORE YOU BEGIN
Read these instructions completely and carefully.
- IMPORTANT - Save these instructions for local inspector's use.
- IMPORTANT - Observe all governing codes and ordinances.
Note to Installer - Be sure to leave these instructions with the Consumer.
Note to Consumer - Keep these instructions for future reference. - Skill level - Installation of this appliance requires basic mechanical skills.
- Completion time - Approximately 1 hour
- We recommend that two people install this product.
- Proper installation is the responsibility of the installer.
- Product failure due to improper installation is not covered under the Warranty.

ELECTRICAL REQUIREMENTS

Some models require a 115/120-volt a.c., 60Hz grounded outlet protected with a 15-amp time delay fuse or circuit breaker.
The 3-prong grounding plug minimizes the possibility of electric shock hazard. If the wall outlet you plan to use is only a 2-prong outlet, it is your responsibility to have it replaced with a properly grounded 3-prong wall outlet.

Some models require 230/208-volt a.c., protected with a time delay fuse or circuit breaker. These models should be installed on their own single branch circuit for best performance and to prevent overloading house or apartment wiring circuits, which could cause a possible fire hazard from overheating wires.
CAUTION:
Do not, under any circumstances, cut or remove the third (ground) prong from the power cord.
Do not change the plug on the power cord of this air conditioner.
Aluminum house wiring may present special problems—consult a qualified electrician.
IMPORTANT!
GE strongly recommends the removal of the old wall case and the installation of a new GE Wall Case. If you decide to keep the existing wall case, you may need a kit to ensure proper performance. If you DO NOT use a kit, you run the risk of poor performance or product failure. This is not covered under the terms of the GE warranty.
J-MODEL QUALIFYING QUESTIONS
J-model air conditioners may fit in existing wall cases. However, they often need a kit to properly adapt the case to the GE air conditioner. Answer these questions and see the chart on the next page for the proper kit.
A What brand air conditioner will you be replacing?
B What are the dimensions of the wall case currently in use?
What is the model number of the chassis currently in use? What is the model (or Type) number of the wall case currently in use?
Frequently, the J-model adapter kit will apply to another brand model "series" or specific vintage. In these cases, you need the chassis model number and/or the wall case or "type" number to confirm the use of the correct adapter kit.
D What type of outdoor grille is used with the current wall case?
There may be an architectural grille attached to a wall case to enhance the exterior appearance of the building. Custom grilles may be used with J-model wall cases provided a J-model adapter kit is also used to ensure proper airflow.
Read these instructions completely and carefully.
Power cord may include a current interrupter device. A test and reset button is provided on the plug case. The device should be tested on a periodic basis by first pressing the TEST button
and then the RESET button. If the TEST button does not trip or if the RESET button will not stay engaged, discontinue use of the air conditioner and contact a qualified service technician.
TOOLS YOU MAY NEED

Phillips head screwdriver

Adjustable Wrench

Drill

Pencil


Hand or Saber Saw

Ruler or Tape Measure

Scissors or knife

Level
GE KIT NUMBERS
| USE GE KIT NUMBER: FOR: DESCRIPTION: | ||
| RAK56A100 | GE RAB13, 14 & 15 (ACLB & RCL Chassis) | Fits all GE wall cases 26"W x 18"H x 24"D |
| RAK1072 Hotpoint ACXB10 & 11 Adapts an older Hotpoint wall case to a "J" (ACTB Chassis) model chassis. Fits Hotpoint wall cases 25¾"W x 16¾"H x 18¾"D | ||
| RAK1082 Whirlpool Type 23W Adapts Whirlpool wall case to a "J" Wall Case model chassis. Fits Whirlpool wall cases 25¾"W x 16½"H x 23½"D | ||
| RAK1102 GE RAB30 Adaps GE wall case to a "J" model chassis. ("F" models) | Fits the RAB 30 wall case 26"W x 18"H x 24"D | |
| RAK123A64 | Fedders Wall Case "A" | Adaps Fedders wall case to a "J" model chassis. Fits Fedders wall cases 27"W x 16¾"H x 16¾"D |
| RAK126 | Westinghouse Wall Case (Type 2626D73H01) model chassis. Fits Westinghouse wall cases 25¾"W x 15¼"H x 16"D | |
| RAB46, 47 & 48 | Use these kits for all other brands not listed. | Standard wall case for "J" model chassis. RAG13 stamped aluminum exterior grille included. Remove the existing case and replace. |
| RAK690 | RAB36, 37, 38, 46, 47 or 48 (J-Chassis) | If you attach a custom architectural outdoor grille, use this kit to ensure proper airflow. |
| RAG13 | RAB36, 37, 38, 46, 47 or 48 (J-Chassis) | Standard aluminum exterior grille (included with RAB46, 47, and 48 wall cases) |
| RAG14E | RAB36, 37, 38, 46, 47 or 48 (J-Chassis) | Architectural louvered exterior grille |
INSTALLING A J-MODEL IN AN EXISTING WALL CASE
Read these instructions completely and carefully.






INSTALLING THROUGH THE WALL
Read these instructions completely and carefully.
1 PREPARE OPENING IN WALL
Make certain a wall receptacle is available close to the hole location or make arrangements to install a receptacle.
The cord length for the 115-volt models is 72^ to the right and 47^ to the left.
For the 230/208-volt models the cord length is 65^ to the right and 39^ to the left.
2 SUPPORT REQUIREMENTS FOR AIR CONDITIONER
The air conditioner wall case may be installed with 1/4''min . extension out from the inside wall or with 1/4''min . extension out from the outside wall.
The finished sides of the opening should be structural wall members.
Lintel - Use a lintel in brick veneer and brick and block types of wall to support the bricks or blocks above the opening. Do not allow the wall case to be used in lieu of a lintel.
Flashing - Install flashing (drip rail) as shown to prevent water from dripping inside the wall and down the outside of the building.

3 SUPPORT REQUIREMENTS FOR AIR CONDITIONER
Mortar between the case and the brick all around the case may be undercut at about 45^ for improved caulking.

WINDOW INSTALLATION-OPTIONAL
FOR MODELS AJES06LSC, AJES08ASC, AJES10DSC and AJHS08ASC
Read these instructions completely and carefully.


Type A (9)

Type B (2)

Type C (painted) (6)

Type D (2)

Type E (4)
Support bracket hardware


Spacer (2)
Lock nut (2)


Adjusting bolt (2)
Large washer (2)
1 WINDOW REQUIREMENTS
- These instructions are for a standard double-hung window. You will need to modify them for other types of windows.
- The air conditioner can be installed without the accordion panels if needed to fit in a narrow window. See the window opening dimensions to the right.
- All supporting parts must be secured to firm wood, masonry or metal.
The electrical outlet must be within reach of the power cord.

(Without filler panels)
Window opening dimensions are for a standard double-hung window.
2STORM WINDOW REQUIREMENTS
A storm window frame will not allow the air conditioner to tilt towards the outside and will keep it from draining properly. To adjust for this, attach a piece of wood to the stool.

WOOD PIECES:
WIDTH: 2"
LENGTH: Long enough to fit inside the window frame.
THICKNESS: To determine the thickness, place a piece of wood on the stool to make it 1/2'' higher than the top of the storm window frame.
Attach securely with nails or screws provided by the installer.
3REMOVE AIR CONDITIONER FROM CASE
A Remove the front grille. See the Care and Cleaning section.
Find the locking plate located on the front left side.
C Remove the screw and the locking plate to unlock the air conditioner.

Remove and discard the shipping screw on the back of the air conditioner to allow removal of the air conditioner from the case.

Pull the bottom corners of the air conditioner and slide it out of the case.
Remove all shipping pads (if present) inside the air conditioner next to the compressor.

G Remove the rear grille that is taped to the back of the case. Remove the packet of screws taped to the back of the grille. While holding the grille at a 45^ angle, insert it into the clips at the top of the case and push the bottom in. Keep slight upward pressure on the grille until it fits flush with the bottom of the case.
If attaching the grille from the outside of the case use the 2 long screws.
If attaching the grille on the inside of the case use the 2 short screws.


WINDOW INSTALLATION—OPTIONAL (cont.)
4 PREPARE WINDOW
A Mark the centerline of the stool. Measure from the centerline 13% on both sides for the panel cuts.

B Measure 12% from the centerline on both sides for the sill support brackets.

5INSTALL SILL SUPPORTS
A Assemble the sill supports. Do not fully tighten the spacer mounting screws at this time.

C Turn the bolts and tighten the lock nuts to make the sill supports level or tilt down 1 / 8'' to the outside. Line up the "V" notch with 12% marks. Drill pilot holes and attach the sill supports.


Before attaching the sill supports, place them on the window stool. Select the spacer position that will place the spacer near the outermost point on the sill. Tighten the spacer mounting screws.


NOTES:
- On narrow sills, there may not be enough room to use the lock nut.
- A deep offset sill may require a longer adjusting bolt than the standard hex head bolt provided.
- On wood sills use the large washer between the bolt head and the sill. This prevents the bolt from digging into the wood.
6 MEASURE, CUT AND INSTALL FILLER PANELS
A Measure from the edge of the panel marks (see Prepare the Window) to the inside of the window track on each side. (A and B)

B Mark the A and B measurements on each side of the filler panel board. Cut the panels and discard the center piece. Note position of the notches.
| B Right side | A Left side | |
| (holes are on the left) | Filler Panels | (holes are on the right) |
| Cut panels and discard center piece |
Put together the panel assemblies. Remove the paper backing from the case side gasket and attach it to the angle. Push a pencil point through the gaskets to locate the holes in the angles.

Install the panels in the window. Place the spring clips 3^ from the top and the bottom. Squeeze and push the clips to fit in the window track and the tab into the sill support.


WINDOW INSTALLATION—OPTIONAL (cont.)
7INSTALL CASE IN WINDOW
A Peel off the backing from the bottom window gasket.
B Place the gasket on the stool and over the brackets, even with the rear edge, sticky side down.

Carefully slide the empty case into the window until the holes in the case line up with the holes in the panel angles.

NOTES:
- The case should have a 1/8'' minimum tilt toward the outside.
- Be sure the seal gasket and panel gaskets remain in position and do not roll with the case.
Lower the window so it fits behind the panel. tabs. Insert the 4 type A screws through the holes in the case and into the panel angles, 2 on each side.

E With the window closed, mark where the window sash meets the case.
Peel off the backing from the case top gasket.
Hold on to the case, open the window, and place the gasket along the mark on the case.
Put the gasket on top of the case where the window will close.

H Place the vinyl window gasket over the case top gasket. Insert the panel tabs through the slits in the gasket. Cut the gasket on each side to the width of the window.

Close the window tightly on the vinyl gasket. Bend the gasket forward to expose the panel tabs. Drill pilot holes into the window sash.

8INSTALL WINDOW GASKET AND LOCKING BRACKET
A Cut the foam top window gasket to the window width.
B Stuff the foam between the glass and the window to prevent air and insects from getting into the room.

C Attach the window locking bracket with 1 type E screw.

9 REPLACE AIR CONDITIONER IN CASE
A Carefully slide the air conditioner back into the case.

Reinstall the locking plate with the tab behind the wall case flange. Tighten the screw.

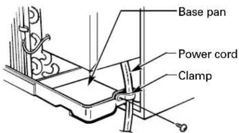
B Attach the power cord to the base pan with the clamp.

Reattach the front grille. An opening for the power cord is on the bottom of the front grille.
E Fill holes and cracks with caulking provided by the installer.
Before you call for service...
Troubleshooting Tips: Save time and money! Review the chart below first and you may not need to call for service.
Problem Possible Causes What To Do
| Air conditioner does not start is unplugged. | The air conditioner completely into the outlet. | ·Make sure the air conditioner plug is pushed |
| The fuse is blown/circuit breaker is tripped. | ·Check the house fuse/circuit breaker box and replace the fuse or reset the breaker. | |
| Power failure. | ·If power failure occurs, turn the air conditioner OFF. When power is restored, wait 3 minutes to restart the air conditioner to prevent tripping of the compressor overload. | |
| The current interrupter device is tripped. | ·Press the RESET button located on the power cord plug. ·If the RESET button will not stay engaged, discontinue use of the air conditioner and contact a qualified service technician. | |
| Air conditioner does not cool as it should | Airflow is restricted. | ·Make sure there are no curtains, blinds or furniture blocking the front of the air conditioner. |
| The temp control may not be set correctly. | ·On models with touch pads: In COOL mode, press the DECREASE▼ pad. ·On models with control knobs, turn the temperature knob to a higher number. | |
| The air filter is dirty. | ·Clean the filter at least every 30 days. See the Operating Instructions section. | |
| The room may have been hot. | ·When the air conditioner is first turned on, you need to allow time for the room to cool down. | |
| Cold air is escaping. | ·Check for open furnace registers and cold air returns. ·Set the air conditioner's vent to the closed position. | |
| Cooling coils have iced up. | ·Sec “Air conditioner freezing up” below. | |
| Air conditioner freezing up | Ice blocks the airflow and stops the air conditioner from cooling the room. | ·On models with control knobs, set the mode control at HIGH FAN or HIGH COOL with the temp at WARMER. ·On models with touch pads, set the controls at HIGH FAN or HIGH COOL and set the thermostat to a higher temperature. |
| The remote control is not working | The batteries are inserted incorrectly. | ·Check the position of the batteries. They should be inserted correctly. |
| The batteries may be dead. | ·Replace the batteries. | |
| Water drips outside | Hot, humid weather. | ·This is normal. |
| Water drips indoors | The air conditioner is not tilted to the outside. | ·For proper water disposal, make sure the air conditioner slants slightly from the case front to the rear. |
| Water collects in base pan | Moisture removed from air and drains into base pan. | ·This is normal for a short period in areas with little humidity; normal for a longer period in very humid areas. |
Normal Operating Sounds
You may hear a pinging noise caused by water being picked up and thrown against the condenser on rainy days or when the humidity is high. This design feature helps remove moisture and improve efficiency.
Water will collect in the basc pan during high humidity or on rainy days. The water may overflow and drip from the outdoor side of the unit.
The fan may run even when the compressor does not.
You may hear the thermostat click when the compressor cycles on and off.
Air Conditioner Warranty.

All warranty service provided by our Factory Service Centers, or an authorized Customer Care technician. To schedule service, on-line, 24 hours a day, visit us at ge.com, or call 800.GE.CARES (800.432.2737). For service in Canada, call 1.800.361.3400. Please have serial number and model number available when calling for service.
Staple your receipt here. Proof of the original purchase date is needed to obtain service under the warranty.
For The Period Of: GE Will Replace:
One Year
From the date of the original purchase an
Any part of the air conditioner which fails due to a defect in materials or workmanship. During this limited one-year warranty, GE will also provide, free of charge, all labored service to replace the defective part.
Five Years
From the date of the original purchase
Any part of the sealed refrigerating system (the compressor, condenser, evaporator and all connecting tubing) which fails due to a defect in materials or workmanship. During this four-year limited additional warranty, GE will also provide, free of charge, all labor and related service to replace the defective part.
What GE Will Not Cover:
Service trips to your home to teach you how to use the product.
Replacement of house fuses or resetting of circuit breakers.
- Improper installation, delivery or maintenance. If you have an installation problem, or if the air conditioner is of improper cooling capacity for the intended use, contact your dealer or installer. You are responsible for providing adequate electrical connecting facilities.
Failure due to corrosion on models not corrosion-protected.
Failure of the product resulting from modifications to the product or due to unreasonable use including failure to provide reasonable and necessary maintenance.
Damage to the product caused by improper power supply voltage, accident, fire, floods or acts of God.
In commercial locations labor necessary to move the unit to a location where it is accessible for service by an individual technician.
- Incidental or consequential damage caused by possible defects with this air conditioner.
Damage caused after delivery.
Product not accessible to provide required service.
EXCLUSION OF IMPLIED WARRANTY--Your sole and exclusive remedy is product repair as provided in this Limited Warranty. Any implied warranties, including the implied warranties of merchantability or fitness for a particular purpose, are limited to one year or the shortest period allowed by law.
This warranty is extended to the original purchaser and any succeeding owner for products purchased for home use within the USA and Canada. If the product is located in an area where service by a GE Authorized Servicer is not available, you may be responsible for a trip charge or you may be required to bring the product to an Authorized GE Service location for service. In Alaska, the warranty excludes the cost of shipping or service calls to your home.
Some states do not allow the exclusion or limitation of incidental or consequential damages. This warranty gives you specific legal rights, and you may also have other rights which vary from state to state. To know what your legal rights are, consult your local or state consumer affairs office or your state's Attorney General.
Consumer Support.

GE Appliances Website
ge.com
Have a question or need assistance with your appliance? Try the GE Appliances Website 24 hours a day, any day of the year! For greater convenience and faster service, you can now download Owner's Manuals, order parts or even schedule service on-line.

Schedule Service ge.com
Expert GE repair service is only one step away from your door. Get on-line and schedule your service at your convenience 24 hours any day of the year! Or call 800.GE.CARES (800.432.2737) during normal business hours.

Real Life Design Studio ge.com
GE supports the Universal Design concept—products, services and environments that can be used by people of all ages, sizes and capabilities. We recognize the need to design for a wide range of physical and mental abilities and impairments. For details of GE's Universal Design applications, including kitchen design ideas for people with disabilities, check out our Website today. For the hearing impaired, please call 800.TDD.GEAC (800.833.4322).

Extended Warranties ge.com
Purchase a GE extended warranty and learn about special discounts that are available while your warranty is still in effect. You can purchase it on-line anytime, or call 800.626.2224 during normal business hours. GE Consumer Home Services will still be there after your warranty expires.

Parts and Accessories ge.com
Individuals qualified to service their own appliances can have parts or accessories sent directly to their homes (VISA, MasterCard and Discover cards are accepted). Order on-line today, 24 hours every day or by phone at 800.626.2002 during normal business hours.
Instructions contained in this manual cover procedures to be performed by any user. Other servicing generally should be referred to qualified service personnel. Caution must be exercised, since improper servicing may cause unsafe operation.

Contact Us ge.com
If you are not satisfied with the service you receive from GE, contact us on our Website with all the details including your phone number, or write to: General Manager, Customer Relations
GE Appliances, Appliance Park
Louisville, KY 40225

Register Your Appliance ge.com
Register your new appliance on-line—at your convenience! Timely product registration will allow for enhanced communication and prompt service under the terms of your warranty, should the need arise. You may also mail in the pre-printed registration card included in the packing material.
Conditionneur d'air
rafraichessment AJES 06 LSC
AJES 08 ASC
AJES 09,10,12 DCC
AJES 10 DSC
Instructions concerning la climatisation
MODE VENTILATEUR (FAN)
ESPESOR: 2^
General Manager, Customer Relations
GE Appliances, Appliance Park
Louisville, KY 40225

EasyManual