BM450710 - Oven GAGGENAU - Free user manual and instructions
Find the device manual for free BM450710 GAGGENAU in PDF.
User questions about BM450710 GAGGENAU
0 question about this device. Answer the ones you know or ask your own.
Ask a new question about this device
Download the instructions for your Oven in PDF format for free! Find your manual BM450710 - GAGGENAU and take your electronic device back in hand. On this page are published all the documents necessary for the use of your device. BM450710 by GAGGENAU.
USER MANUAL BM450710 GAGGENAU
Installation instructions. 2
Combi-microwave oven
Four combi-micro-ondes
Horno-microondas
SAVE THESE INSTRUCTIONS
FOR FUTURE REFERENCE.
CONSERVEZ CETTE NOTICE
D'UTILISATION POUR
RÉFERENCE ULTÉRIEURE.
GUARDE ESTAS
INSTRUCCIONES PARA
This indicates that death or serious injuries may occur as a result of non-observation of this warning.

CAUTION
This indicates that minor or moderate injuries may occur as a result of non-observation of this warning.
NOTICE: This indicates that damage to the appliance or property may occur as a result of non-compliance with this advisory.
Note: This alerts you to important information and/or tips.

Protective earth (ground)
To identify any terminal which is intended for connection to an external conductor for protection against electric shock in case of a fault, or the terminal of a protective earth (ground) electrode.

Heavy load
Requires 2 people to carry
IMPORTANT SAFETY INSTRUCTIONS
READ ALL INSTRUCTIONS BEFORE USING THE APPLIANCE

CONSIGNES DE SECURITE IMPORTANTES
LISEZ TOUTES LES INSTRUCTIONS AVANT D'UTILISER L'APPAREIL
SAVE THESE INSTRUCTIONS FOR FUTURE REFERENCE.
IMPORTANT: SAVE THESE INSTRUCTIONS FOR THE LOCAL ELECTRICAL INSPECTOR'S USE.
INSTALLER: LEAVE THESE INSTRUCTIONS WITH THE APPLIANCE AFTER INSTALLATION IS COMPLETE.
WARNING
If the information in this manual is not followed exactly, fire or shock may result causing property damage or personal injury.
WARNING
Do not repair, replace or remove any part of the appliance unless specifically recommended in the manuals. Improper installation, service or maintenance can cause injury or property damage. Refer to this manual for guidance. All non-user serviceable functions should be done by a qualified technician.
CONSERVEZ CETTE NOTICE D'UTILISATION POUR RÉFERENCE ULTÉRIEURE.
IMPORTANT: CONSERVER CES INSTRUCTIONS POUR L'USAGE DE L'INSPECTEUR ELECTRIQUE LOCAL.
INSTALLATEUR : LAISSEZ CES INSTRUCTIONS AVEC L'APPAREIL APRES UNE FOIS L'INSTALLATION TERMINE.
AVERTISSEMENT
IMPORTANT SAFETY INSTRUCTIONS
READ ALL INSTRUCTIONS BEFORE USING THE APPLIANCE
CONSIGNES DE SECURITE IMPORTANTES
LISEZ TOUTES LES INSTRUCTIONS AVANT D'UTILISER L'APPAREIL
Microwave Safety
PRECAUTIONS TO BE OBSERVED BEFORE AND DURING SERVICING TO AVOID POSSIBLE EXPOSURE TO EXCESSIVE MICROWAVE ENERGY
- Do not operate or allow the oven to be operated with the door open.
- Make the following safety checks on all ovens to be serviced before activating the magnetron or other microwave source, and make repairs as necessary:
1 Interlock operation
2 Proper door closing
3 Seal and sealing surfaces (arcing, wear, and other damage)
4 Damage to or loosening of hinges and latches
5 Evidence of dropping or abuse
- Before turning on microwave power for any service test or inspection within the microwave generating compartments, check the magnetron, wave guide or transmission line, and cavity for proper alignment, integrity, and connection.
Any defective or misadjusted components in the interlock, monitor, door seal, and microwave generation and transmission systems shall be repaired, replaced, or adjusted by procedures described in this manual before the oven is released to the owner.
A microwave leakage check to verify compliance with the Federal Performance Standard should be performed on each oven prior to release to the owner.
IMPORTANT SAFETY INSTRUCTIONS
READ ALL INSTRUCTIONS BEFORE USING THE APPLIANCE

CONSIGNES DE SECURITE IMPORTANTES
LISEZ TOUTES LES INSTRUCTIONS AVANT D'UTILISER L'APPAREILI
Appliance Handling Safety
CAUTION

Unit is heavy and requires at least two people or proper equipment to move.
- Do not lift appliance by door handle.
- Hidden surfaces may have sharp edges. Use caution when reaching behind or under appliance.
Electric Safety
WARNING
Before installing, turn power OFF at the service panel. Lock service panel to prevent power from being turned ON accidentally.
If required by the National Electrical Code (or Canadian Electrical Code), this appliance must be installed on a separate branch circuit.
Installer - show the owner the location of the circuit breaker or fuse. Mark it for easy reference.
Before installing, turn power OFF at the service panel. Lock service panel to prevent power from being turned ON accidentally.
Be sure your appliance is properly installed and grounded by a qualified technician. Installation, electrical connections and grounding must comply with all local and regional codes.
IMPORTANT SAFETY INSTRUCTIONS
READ ALL INSTRUCTIONS BEFORE USING THE APPLIANCE

CONSIGNES DE SECURITE IMPORTANTES
LISEZ TOUTES LES INSTRUCTIONS AVANT D'UTILISER L'APPAREIL

GROUNDING INSTRUCTIONS
This appliance must be grounded. Grounding reduces the risk of electric shock by providing a safe pathway for electric current in the event of a short circuit.
The appliance must be connected to a grounded, metallic, permanent wiring system, or an equipment grounding conductor should be run with the circuit conductors and connected to the equipment grounding terminal or lead on the appliance.
WARNING
Improper grounding can result in a risk of electric shock. Consult a qualified electrician if the grounding instructions are not completely understood, or if doubt exists as to whether the appliance is properly grounded.

Related Equipment Safety
Remove all tape and packaging before using the appliance. Destroy the packaging after unpacking the appliance. Never allow children to play with packaging material.
Never modify or alter the construction of the appliance. For example, do not remove leveling legs, panels, wire covers or anti-tip brackets/screws.
Centre the appliance. There must be an air gap of Cen 3 / 16 (5 mm) between the appliance and adjacent cabinets.
Safety Codes and Standards
This appliance complies with the latest version of one or more of the following standards:
CAN/CSA C22.2 No. 150 - Microwave Ovens
- UL 923 - Microwave Cooking Appliances
It is the responsibility of the installer to determine if additional requirements and/or standards apply to specific installations.
SAVE THESE INSTRUCTIONS.

INSTRUCTIONS DE MISE À LA RRE
Tools and Parts Needed
- Torx head screwdriver
1/8" drill bit and drill
Measuring tape
Parts Included
- Microwave oven
2 Torx screws

Power Requirements
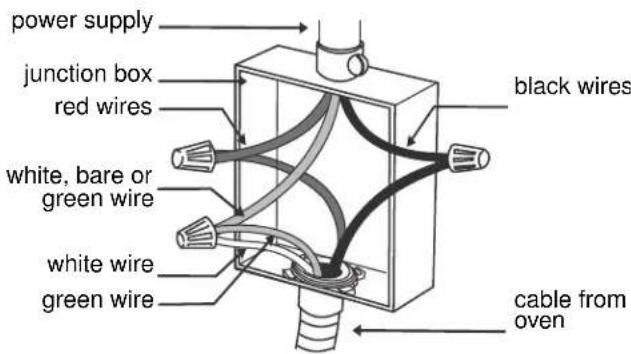
This appliance requires connection to a dedicated 208/240V branch protected supply fitted with a suitably approved 20A circuit breaker. It must be properly grounded in accordance with all applicable codes. The product is supplied with 1.8m of flying cables in a flexible conduit which are factory fitted. The colors of the conductors are:
L1: Red
L2: Black
N:White
E:Green/Yellow
Planning notes
Door hinge not interchangeable.
Distance from furniture body to door front 1^ / 8 (47 mm).
Distance from furniture body to outer edge of door handle 314 (94 mm) after retrofitting the handle (special accessory).
Pay attention to the front protrusion, possibly including the door handle, for opening drawers at the sides.
When planning a corner solution, pay attention to the door opening angle of at least 90^ .
Preparing kitchen units
Kitchen units must be temperature-resistant up to 195^ (90^) and adjoining furniture frontages up to 160^ (75^) .
Cut recesses on the furniture before inserting the appliance. Remove any shavings, as these can affect the operation of electrical components.
Refer to the installation drawings on the following pages.
Secure unsecured furniture items to the wall using a commercially available bracket.
Only install the appliance so high that accessories can be removed with ease.
Dimensions and Cabinet Requirements
General Cabinet Requirements
Cabinet requirements vary depending on the model to be installed. Please consult the section Dimensions for the details pertaining to your particular model.
All models require:
1 / 4'' (6.4 mm) space between the side of the appliance and a cabinet door when installed at the end of a cabinet run.
The cabinet base must be flat and capable of supporting the weight of your appliance when in use. See the appropriate weight for your model in the Dimensions section pertaining to your particular model.
Dimensions for 24" Wall-Inserted Units
BM 450/451-710

Appliance Dimensions

Cabinet Dimensions
NOTICE: The cabinet base must be flat and capable of supporting a weight of at least 146 lbs (66.2kg)
Ventilation requirements
- Ventilation cut-out in the built-in cupboard's intermediate shelf: at least 1 14 in to 1.65 ft (45 x 500 mm).
- Ensure that air can circulate behind the appliance by maintaining a minimum distance of 134 in (45mm) between the furniture's backwall and the wall.

Outlet Area
The outlet can be located anywhere within the shaded area. Anywhere within the shaded area the minimal distance between the appliance and the wall is 134 in (45mm)

Dimensions for 30" Wall-Inserted Units
BM 484/485-710

Appliance Dimensions

Cabinet Dimensions
NOTICE: The cabinet base must be flat and capable of supporting a weight of at least 159 lbs (72 kg).
Outlet Area
The outlet can be located anywhere within the shaded area. Anywhere within the shaded area the minimal distance between the appliance and the wall is 114 in (45mm)

Removing Packaging

NOTICE: To prevent damage to your floor keep the unit in its packaging base until ready to be placed in the cabinet opening. Do not slide the unit across the flooring.
Different models use different packaging materials. Actual brackets may look differently. Bracket remains in packaging base.
1 Cut straps on outside of box.
2 Remove cardboard box.
3 Remove all top and side cardboard and Styrofoam braces.
4 Place microwave oven in front of cabinets where it is to be installed.
Install Appliance

Note: The appliance is heavy. It is advisable to install it with a second person.
NOTICE: Before installing the appliance, be sure to verify the cabinet dimensions and electrical connections.
Electrical Installation

WARNING
The electrical connection of the appliance must be carried out by a qualified electrician in accordance with local and regional safety codes.

WARNING
This product will only operate when L1 and L2 are powered up simultaneously. If this does not occur, then an E300 error will be displayed. This appliance should be installed with a branch circuit breaker to allow L1 and L2 to be powered up simultaneously.
Model Connection Circuit
| Requirements | |||
| BM 450 710 | 4 wire conduit | 208 V, | 20 Amps |
| BM 451 710 | cable | 60 Hz | |
| BM 484 710 | or | ||
| BM 485 710 | 240 V, | 20 Amps | |
| 60 Hz | |||
Install a suitable conduit box (not included). The conduit connector must be used to correctly attach the conduit to the junction box.
All 4 wires must be connected, regardless if a 3 or 4 wire connection is used.

WARNING

Local codes may vary; installation, electrical connections and grounding must comply with all applicable local codes.
If local codes permit grounding through the electrical supply neutral, connect both the white neutral wire and the green ground wire from the oven to the neutral electrical supply wire.
The four-wire connection is preferred, but where local codes permit, the three wire connection is also acceptable.
Four-wire Connection Ungrounded Neutral

- Connect the red oven wire to the red electrical supply wire (hot wire).
- Connect the black oven wire to the black electrical supply wire (hot wire).
- Connect the white neutral oven wire to the white neutral (not bare or green ground) electrical supply wire.
- Connect the green ground oven wire to the bare or green ground electrical supply wire.
Three-wire Connection Grounded Neutral

- Connect red wire from oven to red wire in junction box.
- Connect black wire from oven to black wire in junction box.
- Connect both green ground wire and white wire from oven to white, green or bare neutral wire in junction box.
The conduit cable, where connected at the oven, swivels.
To maintain serviceability, the flex conduit must not be shortened and should be routed to permit temporary removal of the oven.
Mount to Cabinet

If there is no fitted shelf above the appliance, secure the appliance against tipping over when the door is opened.
1 Do not kink or trap the connecting cable, or route it over sharp edges.
2 Centre the appliance. There must be an air gap of 316 (5 mm) between the appliance and adjacent cabinets.

3 Using a spirit level, adjust the appliance so that it is perfectly level.
4 Open the appliance door and predrill the holes for the screws.

5 Screw the appliance into place.

Check the Installation

WARNING
Before you connect an electrical cord for permanent connection or turn on power supply, make sure all controls are in the OFF position.
Switch on the circuit breaker.
Verify that elements function properly.
Removal
1 Disconnect the appliance from the power supply.
2 Undo the fastening screws.
3 Raise the appliance slightly and pull it out completely.
Customer service
If your appliance needs repairs, our customer service is there for you. We work hard to help solve problems quickly and without unnecessary service calls, getting your appliance back up and running correctly in the least amount of time possible.
When you call, please indicate the product number (E-Nr.) and serial number (FD-Nr.) so that we can support you in a qualified manner. You will find the type plate with these numbers on the bottom of the appliance. To avoid having to search for a long time when you need it, you can enter your appliance data and the customer support telephone number here.
E-Nr. FD-Nr.
Customer Service
Please read the use and care instructions provided with your appliance. Failure to do so may result in an error in using the appliance. This could result in a service call that instead of fixing a mechanical issue is only needed for customer education. Such calls are not covered by the appliance warranty.

Please find the contact data of all countries in the enclosed customer service list.
To book an engineer visit and product advice
USA 8774424436
toll-free
CANADA 877 442 4436
toll-free
You can rely on the manufacturer's expertise. Rest assured that the repair will be handled by trained service technicians who have the original replacement parts for your appliance.
This indicates that death or serious injuries may occur as a result of non-observation of this warning.

CAUTION
This indicates that minor or moderate injuries may occur as a result of non-observation of this warning.
NOTICE: This indicates that damage to the appliance or property may occur as a result of non-compliance with this advisory.
Note: This alerts you to important information and/or tips.

Protective earth (ground)
To identify any terminal which is intended for connection to an external conductor for protection against electric shock in case of a fault, or the terminal of a protective earth (ground) electrode.

Heavy load
Requires 2 people to carry
CONSIGNES DE SECURITE IMPORTANTES
LISEZ TOUTES LES INSTRUCTIONS AVANT D'UTILISER L'APPAREIL
IMPORTANT SAFETY INSTRUCTIONS
READ ALL INSTRUCTIONS BEFORE USING THE APPLIANCE
CONSERVEZ CETTE NOTICE D'UTILISATION POUR RÉFERENCE ULTÉRIEURE.
IMPORTANT: CONSERVER CES INSTRUCTIONS POUR L'USAGE DE L'INSPECTEUR ELECTRIQUE LOCAL.
INSTALLATEUR : LAISSEZ CES INSTRUCTIONS AVEC L'APPAREIL APRES UNE FOIS L'INSTALLATION TERMINÉ.
AVERTISSEMENT
SAVE THESE INSTRUCTIONS FOR FUTURE REFERENCE.
IMPORTANT: SAVE THESE INSTRUCTIONS FOR THE LOCAL ELECTRICAL INSPECTOR'S USE.
INSTALLER: LEAVE THESE INSTRUCTIONS WITH THE APPLIANCE AFTER INSTALLATION IS COMPLETE.
WARNING
If the information in this manual is not followed exactly, fire or shock may result causing property damage or personal injury.
WARNING
Do not repair, replace or remove any part of the appliance unless specifically recommended in the manuals. Improper installation, service or maintenance can cause injury or property damage. Refer to this manual for guidance. All non-user serviceable functions should be done by a qualified technician.
CONSIGNES DE SECURITE IMPORTANTES
LISEZ TOUTES LES INSTRUCTIONS AVANT D'UTILISER L'APPAREIL
IMPORTANT SAFETY INSTRUCTIONS
READ ALL INSTRUCTIONS BEFORE USING THE APPLIANCE
- Do not operate or allow the oven to be operated with the door open.
Make the following safety checks on all ovens to be serviced before activating the magnetron or other microwave source, and make repairs as necessary:
1 Interlock operation
2 Proper door closing
3 Seal and sealing surfaces (arcing, wear, and other damage)
4 Damage to or loosening of hinges and latches
5 Evidence of dropping or abuse
- Before turning on microwave power for any service test or inspection within the microwave generating compartments, check the magnetron, wave guide or transmission line, and cavity for proper alignment, integrity, and connection.
- Any defective or misadjusted components in the interlock, monitor, door seal, and microwave generation and transmission systems shall be repaired, replaced, or adjusted by procedures described in this manual before the oven is released to the owner.
A microwave leakage check to verify compliance with the Federal Performance Standard should be performed on each oven prior to release to the owner.
CONSIGNES DE SECURITE IMPORTANTES
LISEZ TOUTES LES INSTRUCTIONS AVANT D'UTILISER L'APPAREIL
IMPORTANT SAFETY INSTRUCTIONS
READ ALL INSTRUCTIONS BEFORE USING THE APPLIANCE
- Unit is heavy and requires at least two people or proper equipment to move.
- Do not lift appliance by door handle.
- Hidden surfaces may have sharp edges. Use caution when reaching behind or under appliance.
Electric Safety
WARNING
Before installing, turn power OFF at the service panel. Lock service panel to prevent power from being turned ON accidentally.
If required by the National Electrical Code (or Canadian Electrical Code), this appliance must be installed on a separate branch circuit.
Installer - show the owner the location of the circuit breaker or fuse. Mark it for easy reference.
Before installing, turn power OFF at the service panel. Lock service panel to prevent power from being turned ON accidentally.
Be sure your appliance is properly installed and grounded by a qualified technician. Installation, electrical connections and grounding must comply with all local and regional codes.
CONSIGNES DE SECURITE IMPORTANTES
LISEZ TOUTES LES INSTRUCTIONS AVANT D'UTILISER L'APPAREIL
IMPORTANT SAFETY INSTRUCTIONS
READ ALL INSTRUCTIONS BEFORE USING THE APPLIANCE
INSTRUCTIONS DE MISE À LA TERRE
This appliance must be grounded. Grounding reduces the risk of electric shock by providing a safe pathway for electric current in the event of a short circuit.
The appliance must be connected to a grounded, metallic, permanent wiring system, or an equipment grounding conductor should be run with the circuit conductors and connected to the equipment grounding terminal or lead on the appliance.
WARNING
Improper grounding can result in a risk of electric shock. Consult a qualified electrician if the grounding instructions are not completely understood, or if doubt exists as to whether the appliance is properly grounded.

Related Equipment Safety
Remove all tape and packaging before using the appliance. Destroy the packaging after unpacking the appliance. Never allow children to play with packaging material.
Never modify or alter the construction of the appliance. For example, do not remove leveling legs, panels, wire covers or anti-tip brackets/screws.
Cen Centre the appliance. There must be an air gap of 3 / 16 (5 mm) between the appliance and adjacent cabinets.
Safety Codes and Standards
This appliance complies with the latest version of one or more of the following standards:
CAN/CSA C22.2 No. 150 - Microwave Ovens
- UL 923 - Microwave Cooking Appliances
It is the responsibility of the installer to determine if additional requirements and/or standards apply to specific installations.
SAVE THESE INSTRUCTIONS.
Avant de commencer
el mantenimiento IncorrectosSEOSEOSEOSEOSEOSEOSEOSEOSEOSEOSEOSEOSEOSEOSEOSEOSEOSEOSEOSEOSEOSEOSEOSEOSEOSEOSEOSEOSEOSEOSEOSEOSEOSEOSEOSEOSEOSEOSEOSEOSEOSEOSEOSEOSEOSEOSEOSEOSEOSEOSEOSEOSEOSEOSEOSEOSEOSEOSEOSEOSEOSEOSEOSEOSEOSEOSEOSEOSEOSEOSEOSEOSEOSEOSEOSEOSEOSEOSEOSEOSEOSEOSEOSEOSEOSEOSEOSEOSEOSEOSEOSEOSEOSEOSEOSEOSEOSEOSEOSEO SEO
Federal (Federal Performance Standard),antes
1901 Main Street, Suite 600
Irvine, CA 92614
+1.877.442.4436
USA
www.gaggenau-usa.com
EasyManual