75TU6200 - TV TELEFUNKEN - Free user manual and instructions
Find the device manual for free 75TU6200 TELEFUNKEN in PDF.
Frequently Asked Questions - 75TU6200 TELEFUNKEN
User questions about 75TU6200 TELEFUNKEN
0 question about this device. Answer the ones you know or ask your own.
Ask a new question about this device
Download the instructions for your TV in PDF format for free! Find your manual 75TU6200 - TELEFUNKEN and take your electronic device back in hand. On this page are published all the documents necessary for the use of your device. 75TU6200 by TELEFUNKEN.
USER MANUAL 75TU6200 TELEFUNKEN
CLASS 1 LASER PRODUCT
KLASSE 1 LASER
PRODUCT: Dit product
beval Klasse 1 laserbron
(1)LCN is a logical Channel Number system that can be used to establish the connection between the characteristic of each channel.
Software upgrade zoeken via
gebruikersinterface
PC-invoernormaleweergavemodi
Markings on the Product. 35
Environmental Information. 36
Features 37
Accessories Included 37
Standby Notifications. 37
TV Control Switch & Operation 37
Inserting the Batteries into the Remote 38
Antenna Connection 38
License Notification 38
Specification 39
Remote Control 40
Connections. 41
Switching On/Off 42
First Time Installation. 42
Media Playback via USB Input 42
Recording a Programme 43
Timeshift Recording 43
Instant Recording 43
Watching Recorded Programmes 43
Recording Configuration 44
MediaBrowserMenu 44
FollowMe TV (if available) 44
CEC and CEC RC Passthrough 44
EMG (100%) 11
E-Manual (available) 44
General TV Operation 49
Using the Channel List 49
Configuring Parental Settings 49
Electronic Programme Guide (EPG) 49
Teletext Services 50
Software Upgrade 50 Troubleshooting & Tips 50
PC Input Typical Display Modes 51
AV and HDMI Signal Compatibility 52
Supported Video File Formats for USB Mode 53
Supported Picture File Formats for USB Mode...53
Supported Audio File Formats for USB Mode...54
Supported SubtIe File Formats for USB Mode 55
Supported DVI Resolutions 56
Connectivity 57
Internet Browser 61
HBBTV System. 62
Smart Center 63
Safety Information

CAUTION RISK OF ELECTRICS DO NOT OPEN

CAUTION: I
TO REDUCE THE RISK OF ELECTRIC SHOCK DO NOT REMOVE COVER (OR BACK).
USE USER SERVICEABLE PARTS INSIDE: REFER SERVICING TO QUALIFIED SERVICE PERSONNEL
In extreme weather (storms, lightning) and long inactivity periods (going on holiday) disconnect the TV set from the mains.
The mains plug is used to disconnect TV set from the mains and therefore it must remain readily operable. If the TV set is not disconnected electrically from the mains, the device will still draw power for all situations even if the TV is in standby mode or switched off.
Note: Follow the on screen Instructions for operating the related features.
IMPORTANT - Please read these instructions fully before installing or operating
WARNING: Never let people (including children) with reduced physical, sensory or mental capabilities or lack of experience and / or knowledge use electrical devices unsupervised. Use this TV set at an altitude of less than 2000 meters above the sea level, in dry locations and in regions with moderate or tropical climates.
- The TV set is intended for household and similar general use but may also be used in public places.
- For ventilation purposes, leave at least 5cm of free space around the TV.
- The ventilation should not be impeded by covering or blocking the ventilation openings with items, such as newspapers, table-cloths, curtains, etc.
- The power cord plug should be easily accessible. Do not place the TV, furniture, etc. on the power cord. A damaged power cord/plug can cause fire or give you an electric shock. Handle the power cord by the plug, do not unplug the TV by pulling the power cord. Never touch the power cord/plug with wet hands as this could cause a short circuit or electric shock. Never make a knot in the power cord or lie it with other cords. When damaged it must be replaced, this should only be done by qualified personnel.
Do not expose the TV to dripping or splashing of liquids and do not place objects filled with liquids, such as vases, cups, etc. on or over the TV (e.g., on shelves above the unit).
Do not expose the TV to direct sunlight or do not place open flames such as lit candles on the top of or near the TV.
- Do not place any heat sources such as electric heaters, radiators, etc. near the TV set.
- Do not place the TV on the floor and inclined surfaces.
- To avoid danger of suffocation, keep plastic bags out of the reach of the babies, children and domestic animals.
- Carefully attach the stand to the TV. If the stand is provided with screws, tighten the screws firmly to prevent the TV from lilling. Do not over-lighen the screws and mount the stand rubbers properly.
- Do not dispose of the batteries in fire or with hazardous or flammable materials.
Warning: Batteries must not be exposed to excessive heat such as sunshine, fire or the like.
| Caution | Serious injury or death risk |
| Risk of electric shock | Dangerous voltage risk |
| Maintenance | Important maintenance component |
Markings on the Product
The following symbols are used on the product as a marker for restrictions and precautions and safety instructions. Each explanation shall be considered where the product bears related marking only. Note such information for security reasons.
Class II Equipment: This appliance is designed in such a way that it does not require a safety connection to electrical earth.
Class II Equipment With Functional Earthing: This appliance is designed in such a way that it does not require a safety connection to electrical earth, the earth connection is used for functional purposes.
Protective Earth Connection: The marked terminal is intended for connection of the protective earthing conductor associated with the supply wiring.
Hazardous Live Terminal: The marked terminal(s) is/are hazardous live under normal operating conditions.
Caution, See Operating Instructions: The marked area(s) contain(s) user replaceable coin or button cell pattenies.

Class 1 Laser Product: This product contains Class 1 laser source that is safe under reasonably foreseeable conditions of operation.
WARNING
Do not ingest the battery, Chemical Burn Hazard This product or the accessories supplied with the product may contain a coin/button cell battery. If the coin/button cell battery is swallowed, it can cause severe internal burns in just 2 hours and can lead to death.
- Keep new and used batteries away from children.
- If the battery compartment does not close securely, stop using the product and keep it away from children.
If you think batteries might have been swallowed or placed inside any part of the body, seek immediate medical attention.
WARNING
Never place a television set in unstable or inclined locations. A television set may fall, causing serious personal injury or death. Many injuries, particularly to children, can be avoided by taking simple precautions such as:
- Using cabinets or stands recommended by the manufacturer of the television set.
- Only using furniture that can safely support the television set.
- Ensuring the television set is not overhanging the edge of the supporting furniture.
- Not placing the television set on tall furniture (for example, cupboards or bookcases) without anchoring both the furniture and the television set to a suitable support.
- Not standing the television set on cloth or other materials placed between the television and supporting furniture.
- Educating children about the dangers of climbing on furniture to reach the television set or its controls. If your existing television set is being retained and relocated, the same considerations as above should be applied.
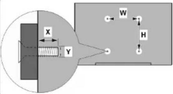
WALL MOUNTING WARNINGS
- Read the instructions before mounting your TV on the wall.
- The wall mount kit is optional. You can obtain from your local dealer, if not supplied with your TV.
- Do not install the TV on a ceiling or on an inclined wall.
- Use the specified wall mounting screws and other accessories.
- Tighten the wall mounting screws firmly to prevent the TV from fall. Do not over-tighten the screws.
WARNING
Apparatus connected to the protective earthing of the building installation through the MAINS connection or through other apparatus with a connection to protective earthing - and to a television distribution system using coaxial cable, may in some circumstances create a fire hazard. Connection to a television distribution system has therefore to be provided through a device providing electrical isolation below a certain frequency range (galvanic isolator, see EN 60728-11)
Environmental Information
This television is designed to be environment friendly. To reduce energy consumption, you can follow these steps:
If you set the Energy Saving to Minimum, Medium, Maximum or Auto the TV will reduce the energy consumption accordingly. If you like to set the Backlight to a fixed value set as Custom and adjust the Backlight (located under the Energy Saving setting) manually using Left or Right buttons on the remote. Sel as Off to turn this setting off.
Note: Available Energy Saving options may differ depending on the selected Mode in the System>Picture menu.
The Energy Saving settings can be found in the System>Picture menu. Note that some picture settings will be unavailable to be changed.
If pressed Right button while Auto option is selected or Left button While Custom option is selected, "Screen will be off in 15 seconds." message will be displayed on the screen. Select Proceed and press OK to turn the screen off immediately. If you don't press any button, the screen will be off in 15 seconds. Press any button on the remote or on the TV to turn the screen on again.
Note: Screen Off option is not available if the Mode is set to Game.
When the TV is not in use, please switch off or disconnect the TV from the mains plug. This will also reduce energy consumption.
Features
TV supports Ultra HD (Ultra High Definition - also known as 4K) which provides resolution of 3840 x 2160 (4K:2K). It equals 4 times the resolution of Full HD TV by doubling the pixel count of the Full HD TV both horizontally and vertically. Ultra HD contents are supported from HDMI, USB inputs and over DVB-T2 and DVB-S2 broadcasts.
Remote controlled colour TV
Fully integrated digital terrestrial/cable/satellite TV (DVB-T/C)
- HDMI inputs to connect other devices with HDMI sockets
- USB input
- OSD menu system
- Stereo sound system
Teletext
- Headphone connection
Automatic programming system
- Manual tuning
Automatic power down after up to eight hours.
- Sleep timer
Child lock
Automatic sound mute when no transmission.
- NTSC playback
AVL (Automatic Volume Limiting)
- PLL (Frequency Search)
- PC input
Game Mode (Optional)
- Picture off function
Programme recording
Programme timeshifting
- Ethernet (LAN) for Internet connectivity and service
- 802.11 a/b/g/n built in WIFI Support
Audio Video Sharing
HbTV
High Dynamic Range (HDR)/ Hybrid Log-Gamma (HLG): Using this feature the TV can reproduce greater dynamic range of luminosity by capturing and then combining several different exposures. HDR/HLG promises better picture quality thanks to brighter, more realistic highlights, more realistic color and other improvements. It delivers the look that filmmakers intended to achieve, showing the hidden
areas of dark shadows and sunlight with full clarity, colour and detail. HDR/HLG contents are supported via native and portal applications, HDMI, USB inputs and over DVB-S broadcasts. Set the related HDMI source input as Enhanced from the Sources option in the Settings menu in order to watch HDR/HLG images, if the HDR/HLG content is received through an HDMI input. The source device should also be at least HDMI 2.0a compatible in this case.
Accessories Included
Remote Control
Batteries: 2 x AAA
- Instruction Book
Standby Notifications
If the TV does not receive any input signal (e.g. from an aerial or HDMI source) for 3 minutes, it will go into standby. When you next switch-on, the following message will be displayed: "TV switched to stand-by mode automatically because there was no signal for a long time." Press OK to continue.
The Auto TV OFF option (in the System>Settings>More menu) may be set to a value between 1 and 8 hours by default. If this setting is not set as Off and the TV has been left on and not been operated during the set time, it will switch into standby mode after the set time has expired. When you next switch-on the TV, the following message will be displayed. "TV switched to stand-by mode automatically because no operation was made for a long time." Press OK to continue.
TV Control Switch & Operation

- Up direction
- Down direction
- Volume / Info / Sources List selection and Standby-On switch
The Control button allows you to control the Volume / Programme / Source and Standby-On functions of the TV.
To change volume: Increase the volume by pushing the button up. Decrease the volume by pushing the button down.
To change channel: Press the middle of the button in, the information banner will appear on the screen.
English - 37
Scroll through the stored channels by pushing the button up or down.
To change source: Press the middle of the button in twice(for the second time in total), the source list will appear on the screen. Scroll through the available sources by pushing the button up or down.
To turn the TV off: Press the middle of the button in and hold it down for a few seconds, the TV will turn into standby mode.
To turn on the TV: Press the middle of the button in, the TV will turn on.
Notes:
- If you turn the TV off, this circle starts again beginning with the volume setting.
- Main menu OSD cannot be displayed via control button.
Operation with the Remote Control
Press the Menu button on your remote control to display main menu screen. Use the directional buttons to select a menu tab and press OK to enter. Use the directional buttons again to select or set an item. Press Return/Back or Menu button to quit a menu screen.
Input Selection
Once you have connected external systems to your TV, you can switch to different input sources. Press the Source button on your remote control consecutively to select the different sources.
Changing Channels and Volume
You can change the channel and adjust the volume by using the Volume +/- and Programme +/- buttons on the remote.
Batteries into the Remote
Remove the back cover to reveal the battery compartment. Insert two size AAA batteries. Make sure the (+) and (·) signs match (observe correct polarity). Do not mix old and new batteries. Replace only with same or equivalent type. Place the cover back on.

Connect Power
IMPORTANT: The TV set is designed to operate on 220-240V AC, 50Hz socket. After unpacking, allow the TV set to reach the ambient room temperature before you connect the set to the mains. Plug the power cable to the mains socket outlet.
Antenna Connection
Connect the aerial or cable TV plug to the AERIAL INPUT (ANT) socket located on the roar side of the TV.
Rear side of the TV

License Notification
The terms HDMI and HDMI High-Definition Multimedia Interface, and the HDMI Logo are trademarks or registered trademarks of HDMI Licensing Administrator, Inc. in the United States and other countries.
HOMI
Manufactured under license from Dolby Laboratories. Dolby, Dolby Audio and the double-D symbol are trademarks of Dolby Laboratories.
This product contains technology subject to certain intellectual property rights of Microsoft. Use or distribution of this technology outside of this product is prohibited without the appropriate license(s) from Microsoft.
Content owners use Microsoft PlayReady™ content access technology to protect their intellectual property, including copyrighted content. This device uses PlayReady technology to access PlayReady-protected content and/or WMDRM-protected content. If the device fails to properly enforce restrictions on content usage, content owners may require Microsoft to revoke the device's ability to consume PlayReady-protected content. Revocation should not affect unprotected content or content protected by other content access technologies. Content owners may require you to upgrade PlayReady to access their content. If you decline an upgrade, you will not be able to access content that requires the upgrade.
Information for Users on Disposal of Old Equipment and Batteries
[European Union only]
Equipment bearing these symbols should not be disposed as general household waste.
You should look for appropriate recycling facilities and systems for the disposal of these products.
Notice: The sign Pb below the symbol for batteries indicates that this battery contains lead.

Specification
| TV Broadcasting | PAL BG/H/DK/LL' SECAM BG/DK |
| Receiving Channels | VHF (BAND VIII) - UHF (BAND U) - HYPERBAND |
| Digital Reception | Fully integrated digital terrestrial cable TV (DVB-T-C) |
| Number of Preset Channels | 1.000 |
| Channel Indicator On Screen Display | |
| RF Aerial Input 75 Ohm (unbalanced) | |
| Operating Voltage 220-240 V AC, 50Hz | |
| Audio German-Nicam Stereo | |
| Audio Output Power (WRMS.) (10% THD) | 2 x 12 |
| Power Consumption (W) | 60 |
| Networked Standby (W) < 3 | |
| TV Dimensions DxLxH (with foot) (mm) | 300 x 1684 x 1022 |
| TV Dimensions DxLxH (without foot) (mm) | 73 x 1684 x 967 |
| Display 75° | |
| Operation temperature and operation humidity | 0°C up to 40°C, 85% humidity max |
Wireless LAN Transmitter Specifications
| Frequency Ranges | Max Output Power |
| 2400 - 2483.5 MHz (CH1-CH13) < 100 mW | mW |
| 5150 - 5250 MHz (CH36 - CH48) < 200 mW | |
| 5250 - 5350 MHz (CH52 - CH64) < 200 mW | |
| 5470 - 5725 MHz (CH100 - CH140) < 200 mW |
Country Restrictions
This device is intended for home and office use in all EU countries (and other countries following the relevant EU directive) without any limitation except for the countries mentioned below.
| Country Restriction | |
| Bulgaria | General authorization required for outdoor use and public service |
| France in-door | use only for 2454-2483.5 MHz |
| Italy | It used outside of own premises, general authorization is required |
| Greece | In-door use only for 5470 MHz to 5725 MHz band |
| Luxembourg | General authorization required for network and service supply(not for spectrum) |
| Norway | Radio transmission is prohibited for the geographical area within a radius of 20 km from the centre of Ny-Alesund |
| Russian Fed- eration | In-door use only |
The requirements for any country may change at any time. It's recommended that user checks with local authorities for the current status of their national regulations for both 2.4 GHz and 5 GHz wireless LANs.
Remote Control

(*)MY BUTTON 1 & MY BUTTON 2:
These buttons may have default functions depending on the model. However you can set a special function to these buttons by pressing on them for five seconds when desired source or channel. A confirmation message will be displayed on the screen. Now the selected MY BUTTON is associated with the selected function.
Note that if you perform First Time Installation, MY BUTTON 1.2 will return to their default function.
- Source: Shows all available broadcast and content sources.
- Netflix: Launches the Netflix application, if this feature is supported by your TV
- YouTube: Launches the YouTube application
- Play: Starts to play selected media
- Record: Records programmes
- Rapid reverse: Moves frames backwards in media such as movies
- Language: Switches between sound modes (analogue TV), displays and changes audio-subtie language (digital TV, where available)
- Red button
9.Green button - Numeric buttons: Switches the channel, enters a number or a letter in the text box on the screen
- TV: Displays channel list / Switches to TV Source
- Menu: Displays TV menu
- Internet: Opens the portal page, where you can reach many web based applications.
- Volume +/
- Back/Return: Returns to previous screen, opens index page (in TXT mode)
- Favourites: Displays user specified favourite channels
- Screen: Changes the aspect ratio of the screen
- My button 1 (^)
- My button 2
- Text: Displays teleax: (where available), press again to the left, and close the teleax over a normal broadcast picture (mix).
- EPO (Electronic programme guide): Displays the electronic programme guide
- Mute: Completely turns off the volume of the TV
- Info: Displays information about on-screen content
- Exit: Contacts and exits from displayed menus or returns to previous screen
- OK: Confirms user selections, holds the page (in TXT mode), views channel list (DTV mode)
- Programme + / -
- Directional buttons: Helps navigate menus, content etc. and displays the subpages in TXT mode when pressed Right or Left
- Quick Menu: Displays a list of menus for quick access
- Swap: Quickly cycles between previous and current channels or sources
- Yellow button
3!nBlue button - Subtitles: Turns subtitles on and off (where available)
- Rapid advance: Moves frames forward in media such as movies
- Stop: Stops the media being played
- Pause: Pauses the media being played, starts timeshift recording
- Media browser: Opens the media browsing screen
- Standby: Switches On/Off the TV

(*) For external subwoofer connection
If you want to connect a device to the TV, make sure that both the TV and the device are turned off before making any connection. After the connection is done, you can turn on the units and use them.
Switching On/Off
To Switch the TV On
Connect the power cord to a power source such as a wall socket (220-240V AC, 50 Hz).
To switch on the TV from standby mode either:
- Press the Standby button, Programme +/- or a numeric button on the remote control.
- Press the middle of the side function switch on the TV in.
To Switch the TV Off
Press the Standby button on the remote control or press the middle of the side function switch on the TV in and hold it down for a few seconds, the TV will switch into standby mode.
To power down the TV completely, unplug the power cord from the mains socket.
Note: When the TV is switched into standby mode, the standby LED can blink to indicate that features such as Standby Search, Over Air Download or Timers are active. The LED can also blink when you switch on the TV from standby mode.
First Time Installation
When turned on for the first time, the language selection screen is displayed. Select the desired language and press OK.
On the next screen, sel your preferences using the directional buttons.
Note: Depending on the Country selection you may be asked to set and confirm a PIN at this point. The selected PIN cannot be 0009. You have to enter it if you are asked to enter a PIN for any menu operation later.
About Selecting Broadcast Type
Digital Aerial: If Digital Aerial broadcast search option is turned on, the TV will search for digital terrestrial broadcasts after other initial settings are completed.
Digital Cable: If Digital Cable broadcast search option is turned on, the TV will search for digital cable broadcasts after other initial settings are completed. According to your other preferences a confirmation message may be displayed before starting to search. Select YES and press OK to proceed. To cancel operation, select NO and press OK. You can select Network or set values such as Frequency, Network ID and Search Step. When finished, press OK button. Note: Searching duration will change depending on the selected Search Step.
Analogue: If Analogue broadcast search option is turned on, the TV will search for analogue broadcasts after other initial settings are completed.
Additionally you can set a broadcast type as your favourite one. Priority will be given to the selected broadcast type during the search process and the
channels of it will be listed on the top of the Channel List. When finished, press OK to continue.
You can activate Store Mode option at this point. This option will configure your TV's settings for store environment and depending on the TV model being used, the supported features of it may be displayed on the top of the screen as an info banner. This option is intended only for store use. It is recommended to select Home Mode for home use. This option will be available in System>Settings>More menu and can be turned off/on later.
Depending on the model of your TV and the country selection Privacy Settings menu may appear at this point. Using this menu you can set your privacy privileges. Highlight a feature and use Left and Right directional buttons to enable or disable. Read the related explanations displayed on the screen for each highlighted feature before making any changes. You can use Programme +/- buttons to scroll up and down to read the entire text. You will be able to change your preferences at any time later from the Settings>Privacy Settings menu. If the Internet Connection option is disabled Network/Internet Settings screen will be skipped and not displayed.
Press OK button on the remote control to continue and the Network/Internet Settings menu will be displayed, if you confirm the previously displayed message asking whether you want to do the network settings. Please refer to Connectivity section to configure a wired or a wireless connection. After the settings are completed press OK button to continue. To skip to the next step without doing anything select No and press the OK button when the message is displayed asking whether you want to do the network settings.
After the initial settings are completed TV will start to search for available broadcasts of the selected broadcast types.
After all the available stations are stored, scan results will be displayed. Press OK to continue. The Edit Channel List menu will be displayed next. You can edit the channel list according to your preferences or press the Menu button to quit and watch TV.
While the search continues a message may appear, asking whether you want to sort channels according to the LCN(*). Select Yes and press OK to confirm.
(*) LCN is the Logical Channel Number system that organizes available broadcasts in accordance with a recognizable channel number sequence (if available).
Note: Do not turn off the TV while initializing first time installation. Note that, some options may not be available depending on the country selection.
Media Playback via USB Input
You can connect 2.5^ and 3.5^ inch (hold with external power supply) external hard disk drives or USB memory stick to your TV by using the USB inputs of the TV.
IMPORTANT! Back up the files on your storage devices before connecting them to the TV. Manufacturer will not be responsible for any file damage or data loss. Certain types of USB devices (e.g. MP3 Players) or USB hard disk drives/memory sticks may not be compatible with this TV. The TV supports FAT32 and NTFS disk formatting but recording will not be available with NTFS formatted disks.
While formatting USB hard drives which have more than 1TB (Tera Byte) storage space you may experience some problems in the formatting process. Wait a little while before each plugging and unplugging as the player may still be reading files. Failure to do so may cause physical damage to the USB player and the USB device itself. Do not pull out your drive while playing a file.
You can use USB hubs with your TV's USB inputs. External power supplied USB hubs are recommended in such a case.
It is recommended to use the TV's USB input(s) directly, if you are going to connect a USB hard disk.
Note: When viewing image files the Media Browser menu can only display 1000 image files stored on the connected USB device.
Recording a Programme
IMPORTANT: When using a new USB hard disk drive, it is recommended that you first format the disk using your TV's Format Disk option in the Media Browser>Settings>Recording Settings menu.
To record a programme, you should first connect a USB disk to your TV while the TV is switched off. You should then switch on the TV to enable the recording feature.
To use recording your USB drive should have 2 GB free space and be USB 2.0 compatible. If the USB drive is not compatible an error message will be displayed.
To record long duration programmes such as movies, it is recommended to use USB Hard disk drives (HDD's).
Recorded programmes are saved into the connected USB disk. If desired, you can store/copy recordings onto a computer; however, these files will no available to be played on a computer. You can play the recordings only via your TV.
Lip Sync delay may occur during the timeshifting. Radio record is supported. The TV can record programmes up to ten hours.
Recorded programmes are split into 4GB partitions. If the writing speed of the connected USB disk is not sufficient, the recording may fail and the timeshifting feature may not be available.
It is recommended to use USB hard disk drives for recording HD programmes.
Do not pull out the USB/HDD during a recording. This may harm the connected USB/HDD.
If the AC cord is unplugged while there is an active USB-recording timer setting, it will be cancelled.
Multiparition support is available. A maximum of two different partitions are supported. The first partition of the USB disk is used for PVR ready features. It also must be formatted as the primary partition to be used for the PVR ready features.
Some stream packets may not be recorded because of signal problems, as a result sometimes videos may freeze during playback.
Record, Play, Pause, Display (for PlayListDialog) keys can not be used when teletext is on. If a recording starts from timer when teletext is on, teletext is automatically turned off. Also teletext usage is disabled when there is an ongoing recording playback.
Timeshift Recording
Press Pause button while watching a broadcast to activate timeshifting mode. In timeshifting mode, the programme is paused and simultaneously recorded to the connected USB disk.
Press Play button again to resume the paused programme from where you stopped. Press the Stop button to stop timeshift recording and return to the live broadcast.
Timeshift cannot be used while in radio mode.
You cannot use the timeshift fast reverse feature before advancing the playback with the fast forward option.
Instant Recording
Press Record button to start recording an event instantly while watching a programme. You can press Record button on the remote control again to record the next event after selecting the next programme from within the EPG. Press Stop button to cancel instant recording.
You can not switch broadcasts or view the media browser during the recording mode. While recording a programme or during the timeshifting, a warning message appears on the screen if your USB device speed is not sufficient.
Watching Recorded Programmes
Select Recordings from the Media Browser menu. Select a recorded item from the list (if previously recorded). Press the OK button to view the Play Options. Select an option then press OK button.
Note: Viewing main menu and menu items will not be available during the playback.
Press the Stop button to stop a playback and return to the Recordings.
Slow Forward
If you press Pause button while watching recorded programmes, the slow forward feature will be available. You can use Rapid advance button to slow forward. Pressing Rapid advance button consecutively will change slow forwarding speed.
Recording Configuration
Select the Recording Settings item in the Media Browser>Settings menu to configure the recording settings.
Format Disk: You can use the Format Disk feature for formatting the connected USB disk. Your PIN is required to use the Format Disk feature.
Note: Default PIN can be set to 0000 or 1234. If you have defined the PINs (requested depending on the country selection) during the First Time Installation use the PIN that you have defined.
IMPORTANT: Formatting your USB drive will erase ALL the data on it and it's file system will be converted to FAT32. In most cases operation errors will be fixed after a format but you will lose ALL your data.
If 'USB disk writing speed too slow to record' message is displayed on the screen while starting a recording, try restarting the recording. If you still get the same error, it is possible that your USB disk does not meet the speed requirements. Try connecting another USB disk.
Media Browser Menu
You can play photo, music and movie files stored on USB disk by connecting it to your TV. Connect a USB disk to one of the USB inputs located on the side of the TV. Pressing the Menu button while in the Media Browser mode will access the Picture, Sound and Settings menu options. Pressing the Menu button again will exit from this screen. You can set your Media Browser preferences by using the Settings menu.

FollowMe TV (if available)
With your mobile device you can stream the current broadcast from your smart TV using the FollowMe TV feature. Install the appropriate Smart Center application to your mobile device. Start the application. For further information on using this feature refer to the instructions of the application you use.
Note: This application may not be compatible with all mobile devices. Both of the devices must be connected to the same network.
CEC and CEC RC Passthrough
This function allows to control the CEC-enabled devices, that are connected through HDMI ports by using the remote control of the TV.
The CEC option in the System>Settings>More menu should be set as Enabled at first. Press the Source button and select the HDMI input of the connected CEC device from the Sources List menu. When new CEC source device is connected, it will be listed in source menu with its own name instead of the connected HDMI parts name(such as DVD Player, Recordar 1 etc.).
The TV remote is automatically able to perform the main functions after the connected HDMI source has been selected.
To terminate this operation and control the TV via the remote again, press Quick Menu button on the remote, highlight the CEC RC Passthrough and set as Off by pressing Left or Right button. This feature can also be enabled or disabled under the System>Settings>More menu.
The TV supports also ARC(Audio Return Channel) feature. This feature is an audio link meant to replace other cables between the TV and the audio system (A/V receiver or speaker system).
When ARC is active, TV does not mute its other audio outputs automatically. So you need to decrease TV volume to zero manually, if you want to hear audio from connected audio device only (same as other optical or co-axial digital audio outputs). If you want to change connected device's volume level, you should select that device from the source list. In that case volume control keys are directed to connected audio device.
Note: ARC is supported only via the HDM12 input.
System Audio Control
Allows an Audio Amplifier/Receiver to be used with the TV. The volume can be controlled using the remote control of the TV. To activate this feature set the Speakers option in the System>Settings>More menu as Amplifier. The TV speakers will be muted and the sound of the watched source will be provided from the connected sound system.
Note: The audio device should support System Audio Control feature and CEC option should be set as Enabled.
E-Manual (if available)
You can find instructions for your TV's fe
To use E-Manual, press to the Info button while main menu is displayed on the screen or press Quick Menu button, select Information Booklet and press OK. By using the directional buttons select a desired category. Every category includes different topics. Select a topic and press OK to read instructions.
To close the E-Manual screen press the Exit or Menu button.
Note: The contents of the E-Manual may vary according to the model.
TV Menu Contents
| System - Picture Menu Contents | |
| Mode | You can change the picture mode to suit your preference or requirements. Picture mode can be set to one of these options: Cinema, Game(optional). Sports, Dynamic and Natural. |
| Contrast | Adjusts the light and dark values on the screen. |
| Brightness | Adjusts the brightness values on the screen. |
| Sharpness | Sets the sharpness value for the objects displayed on the screen. |
| Colour | Sets the colour value, adjusting the colours. |
| Energy Saving | For setting the Energy Saving to Custom, Minimum, Medium, Maximum, Auto, Screen Off or Off. Note: Available options may differ depending on the selected Mode. |
| This setting controls the backlight level. The backlight function will be inactive if the Energy Saving is set to an option other than Custom. | |
| Advanced Settings | |
| Dynamic Contrast You can change the dynamic contrast ratio to desired value. | |
| Noise Reduction If the signal is weak and the picture is noisy, use the Noise Reduction setting to reduce the amount of noise. | |
| Colour Temp Sets the desired colour temperature value. Cool, Normal, Warm and Custom options are available. | |
| White Point If the Colour Temp option is set as Custom, this setting will be available. Increase the 'warmth' or 'coolness' of the picture by pressing Le/I or Right buttons. | |
| Picture Zoom Sets the desired image size format. | |
| Film Mode Films are recorded at a different number of frames per second to normal television programmes. Turn this feature on when you are watching films to see the fast motion scenes clearly. | |
| Skin Tone Skin tone can be changed between -5 and 5. | |
| Colour Shift Adjust the desired colour tone. | |
| HDMI Full Range While watching from a HDMI source, this feature will be visible. You can use this feature to enhance blackness in the picture. | |
| PC Position | Appears only when the input source is set to VGA/PC. |
| Autoposition Automatically optimizes the display. Press OK to optimize. | |
| H Position This item shifts the image horizontally to the right hand side or left hand side of the screen. | |
| V Position This item shifts the image vertically towards the top or bottom of the screen. | |
| Dot Clock Dot Clock adjustments correct the interference that appear as vertical banding in dot intensive presentations like spreadsheets or paragraphs or text in smaller fonts. | |
| Phase Depending on the input source(computer etc.) you may see a hazy or noisy picture on the screen. You can use phase to get a clearer picture by trial and error. | |
| Reset | Reset the picture settings to factory default settings (except Game mode). |
| While in VGA (PC) mode, some items in Picture menu will be unavailable. Instead, VGA mode settings will be added to the Picture Settings while in PC mode. | |
| System - Sound Menu Contents | |
| Volume | Adjusts the volume level. |
| Equalizer | Selects the equalizer mode. Custom settings can be made only when in User mode. |
| Balance | Adjusts whether the sound comes from the left or right speaker. |
| Headphone | Sets headphone volume.Pleasesureensure before using headphones that the headphone volume is set to a low level, to prevent damage to your hearing. |
| Sound Mode | You can select a sound mode (If the viewed channel supports). |
| Audio Link | Press OK to open the Audio Link menu screen. Using this screen you can discover and connect the sound devices to your TV wirelessly. |
| AVL (Automatic Volume Limiting) | Sets the sound to obtain fixed output level between programmes. |
| Headphone/Lineout | When you connect an external amplifier to your TV using the headphone jack, you can select this option as Lineout. If you have connected headphones to the TV, set this option as Headphone.Please ensure before using headphones that this menu item is set to Headphone.If it is set to Lineout, the output from the headphone socket will be set to maximum which could damage your hearing. |
| Dynamic Bass | Enables or disables the Dynamic Bass. |
| Surround sound | Surround sound mode can be changed as On or Off. |
| Digital Out | Sets digital out audio type. |
| Bass Gain | Controls the bass gain level. Use Left or Right button to set. |
| System - Settings Menu Contents | |
| Conditional Access | Controls conditional access modules when available. |
| Language | You may set a different language depending on the broadcaster and the country. |
| Privacy Settings (*) | Manage your privacy privileges for smart TV related applications. Press OK to enter the menu and set according to your preferences. |
| Parental | Enter correct password to change parental settings. You can easily adjust Menu Lock, Maturity Lock, Child Lock or Guidance in this menu. You can also set a new PIN or change the Default CICAM PIN using the related options. Note: Some menu options may not be available depending on the country selection in the First Time Installation. Default PIN can be set to 5000 or 1234. If you have defined the PINs requested depending on the country selection during the First Time Installation use the PIN that you have defined. |
| Timers | Sets sleep timer to turn off the TV after a certain time. Sets timers for selected programmes. |
| Date/Time | Sets date and time. |
| Sources | Enables or disables selected source options. There are Regular, Enhanced and Disabled options available for HDMI sources. Regular and Enhanced options are affecting the colour settings of the selected HDMI source. To be able to watch 4K images from an HDMI source related source setting should be set as Enhanced if the connected device is HDMI 2.0 compatible. Set as Regular if the connected device is HDMI 1.4 compatible. Set accordingly or disable the related HDMI source by setting as Disabled. |
| Network/Internet Settings | Displays network/Internet settings. |
| Accessibility | Displays accessibility options of the TV. |
| Hard of Hearing | Enables any special feature sent from the broadcaster. |
| Audio Description | A narration track will be played for the blind or visually impaired audience. Press OK to see all available Audio Description menu options. This feature is available only if the broadcaster supports it. Note: Audio description sound feature is not available in recording or time shifting mode. |
| Netflix | If this feature is supported by your TV, you can view your ESN(*) number and deactivate Netflix. (*) ESN number is an unique ID number for Netflix, created explicitly to identify your TV. |
| More | Displays other setting options of the TV. |
| Menu Timeout | Changes timeout duration for menu screens. |
| Standby LED | If set as Off the standby LED will not light up when the TV is in standby mode. |
| HBBTV (*) | You can enable or disable this feature by setting it as On or Off. |
| Software Upgrade | Ensures that your TV has the latest firmware. Press OK to see the menu options. |
| Application Version | Displays current software version. |
| Subtitle Mode | This option is used to select which subtitle mode will be on the screen (DVB subtitle / Teletext subtitle) if both are available. Default value is DVB subtitle. This feature is available only for the country option of Norway. |
| Auto TV OFF | Sets the desired time for the TV to automatically go into standby mode when not being operated. |
| Store Mode | Select this mode for store display purposes. Whilst Store Mode is enabled, some items in the TV menu may not be available. |
| Audio Video Sharing | Audio Video Sharing feature allows you to share files stored on your smartphone or tablet pc. If you have a compatible smartphone or tablet pc and this appropriate software is installed, you can share play photos on your TV. See instructions of your sharing software for more information. Audio Video Sharing mode will not be available with internet portal features. |
| Power Up Mode | This setting configures the power up mode preference. Last State and Standby options are available. |
| Virtual Remote | Enable or disable the virtual remote feature. |
| CEC | With this setting you can enable and disable CEC functionality completely. Press Left or Right button to enable or disable the feature. |
| CEC Auto Power On | This function allows the connected HDMI-CFC compatible device to turn on the TV and switch to its input source automatically. Press Left or Right button to enable or disable the feature. |
| Speakers | To hear the TV audio from the connected compatible audio device set as Amplifier. You can use the remote control of the TV to control the volume of the audio device. |
| Smart Remote | Press OK to open the Smart Remote menu screen. Using this screen you can discover and connect the remote controller devices to your TV wirelessly. |
| Show All Cookies (*) | Displays all saved cookies. |
| Delete All Coo-kies (*) | Delotas all saved cookies. |
| OSS | Displays Open Source Software license information. |
(*) These features may not be available depending on the model of your TV and the selected country in the First Time Installation.
| Installation Menu Contents | |
| Automatic channel scan (Retune) | Displays automatic tuning options. Digital Aerial: Searches and stores aerial DVB stations. Digital Cable: Searches and stores cable DVB stations. Analogue: Searches and stores analogue stations. |
| Manual channel scan | This feature can be used for direct broadcast entry. |
| Network channel scan | Searches for the linked channels in the broadcast system. Digital Aerial: Searches for aerial network channels. Digital Cable: Searches for cable network channels. |
| Analogue fine tune | You can use this setting for fine tuning analogue channels. This feature is not available if no analogue channels are stored. |
| Installation Settings | Displays installation settings menu Standby Search (Optional): Your TV will search for new or missing channels while in standby. Any new found broadcasts will be shown. |
| Clear Service List | Use this setting to clear channels stored. This setting is visible only when the Country option is set to Denmark, Sweden, Norway or Finland. |
| Select Active Network | This setting allows you to select only the broadcasts within the selected network to be listed in the channel list. This feature is available only for the country option of Norway. |
| First time installation | Deletes all stored channels and settings. resets TV to factory settings. |
General TV Operation
Using the Channel List
The TV soris all stored stations in the Channel List. You can edit this channel list, set favourites or set active stations to be listed by using the Channel List options. Press the OK-TV button to open the Channel List. You can filter the listed channels by pressing the Blue button or open the Edit Channel List menu by pressing the Green button in order to make advanced changes in the current list.
Managing the Favourite Lists
You can create four different lists of your favourite channels. Enter the Channel List in the main menu or press the Green button while the Channel List is displayed on the screen in order to open the Edit Channel List menu. Select the desired channel on the list. You can make multiple choices by pressing the Yellow button. Then press the OK button to open the Channel Edit Options menu and select Add/Remove Favourites option. Press the OK button again. Set the desired list option to On. The selected channel's will be added to the list. In order to remove a channel or channels from a favourite list follow the same steps and set the desired list option to Off.
You can use the Filter function in the Edit Channel List menu to filter the channels in the Channel list permanently according to your preferences. Using this Filter option, you can set one of your four favourite lists to be displayed every time the Channel list is opened. The filtering function in the Channel list menu will only filter the currently displayed Channel list in order to find a channel and tune in to it. These changes will not remain the next time the Channel list is opened if you don't save them. To save the changes on the list press the Red button after filtering while the Channel list is displayed on the screen.
Configuring Parental Settings
The Parental Settings menu options can be used to prohibit users from viewing of certain programmes, channels and using of menus. These settings are located in the System>Settings>Parental menu.
To display parental lock menu options, a PIN number should be entered. After coding the correct PIN number, Parental Settings menu will be displayed. Menu Lock: This setting enables or disables access to all menus or installation menus of the TV.
Maturity Lock: If this option is set, TV gels the maturity information from the broadcast and if this maturity level is disabled, disables access to the broadcast.
Note: If the country option in the First Time Installation is set as France, Italy or Austria. Maturity Lock's value will be set to 18 as default.
Child Lock: If this option is set to ON, the TV can only be controlled by the remote control. In this case the control buttons on the TV will not work.
Internet Lock: If this option is set to ON, the open browser application in the portal will be disabled. Set to OFF to release the application again.
Set PIN: Defines a new PIN number
Default CIFAM PIN: This option will appear as grayed out if no CI module is inserted into the CI slot of the TV. You can change the default PIN of the CI CAM using this option.
Note: Default PIN can be set to 0000 or 1234. If you have defined the PIN(s) requested depending on the country selection during the First Time Installation use the PIN that you have defined.
Some options may not be available depending on the model and/or on the country selection in the First Time Installation.
Electronic Programme Guide (EPG)
Some channels send information about their broadcast schedules. Press the Epg button to view the Programme Guide menu.
There are 3 different types of schedule layouts available, Timeline Schedule, List Schedule and Now/Next Schedule. To switch between them follow the instructions on the bottom of the screen.
Timeline Schedule
Zoom (Yellow button): Press the Yellow button to see events in a wider time interval.
Filter (Blue button): Views filtering options.
Highlight Genre (Subtitles button): Displays Highlight Genre menu. Using this feature, you can search the programme guide database in accordance with the genre. Info available in the programme guide will be searched and results matching your criteria will be highlighted.
Options (OK button): Displays event options. Event Details (Info button): Displays detailed information about selected programmes. Next/Prev Day (Programme +/- buttons): Displays the programmes of previous or next day.
Search (Text button): Displays Guide Search menu. Now (Source button): Displays current event of the highlighted channel.
Rec./Stop (Record button): The TV will start to record the selected programme. You can press again to stop the recording.
List Schedule\*
(*)In this layout option, only the events of the highlighted channel will be listed.
Prev. Time Slice (Red button): Displays the programmes of previous time slice.
Next/Prev Day (Programme +L buttons): Displays the programmes of previous or next day.
Event Details (Info button): Displays detailed information about selected programmes.
Filter (Text button): Views filtering options.
Next Time Slice (Green button): Displays the programmes of next time slice.
Options (OK button): Displays event options.
Rec/Stop (Record button): The TV will start to record the selected programme. You can press again to stop the recording.
Now/Next Schedule
Options (OK button); Displays event options.
Event Details (Info button): Displays detailed information about selected programmes.
Filter (Blue button): Views filtering options.
Rec./Stop (Record button): The TV will start to record the selected programme. You can press again to stop the recording.
Programme Options
Use the directional buttons to highlight a programme and press OK button to display Event Options menu. The following options are available.
Select Channel: Using this option, you can switch to the selected channel.
Record/Delete Rec. Timer: Select the Record option and press the OK button. If the programme is going to be broadcast at a future time, it will be added to Timers list to be recorded. If the selected programme is being broadcast at the moment, recording will start immediately.
To cancel an already set recording, highlight that programme and press the OK button and select the option Delete Rec. Timer. The recording will be cancelled.
Set Timer on Event / Delete Timer on Event: After you have selected a programme in the EPG menu, press the OK button. Select Set Timer on Event option and press the OK button. You can set a timer for future programmes. To cancel an already set timer, highlight that programme and press the OK button. Then select Delete Timer on Event option. The timer will be cancelled.
IMPORTANT: Connect a USB disk to your TV while the TV is switched off. You should then switch on the TV to enable the recording feature.
Notes: You cannot switch to any other channel while there is an active recording or timer on the current channel.
it is not possible to set timer or record timer for two or more individual events at the same time interval.
Teletext Services
Press the Text button to enter. Press again to activate mix mode, which allows you to see the teletext page and the TV broadcast at the same time. Press once more to exit. If available, sections in the teletext pages will become colour-coded and can be selected by pressing the coloured buttons. Follow the instructions displayed on the screen.
Software Upgrade
Your TV is capable of finding and updating the firmware automatically via the broadcast signal or via Internet.
Software upgrade search via user interface
On the main menu select System>Settings and then More. Navigate to Software upgrade and press the OK button. In Upgrade options menu select Scan for upgrade and press OK button to check for a new software upgrade.
If a new upgrade is found, it starts to download the upgrade. After the download is completed confirm the question asking about rebooting the TV by pressing the OK to continue with the reboot operation.
3 AM search and upgrade mode
Your TV will search for new upgrades at 3:00 a'clock if Automatic scanning option in the Upgrade options menu is set to Enabled and if the TV is connected to an aerial signal or to Internet. If a new software is found and downloaded successfully, it will be installed at the next power on.
Note: Do not unplug the power cord while led is blinking during the reboot process. If the TV fails to come on after the upgrade, unplug, wait for two minutes then plug it back in.
Troubleshooting & Tips
Ty will not turn on
Make sure the power cord is plugged in securely to wall outlet. Check if batteries are exhausted. Press the Power button on the TV.
Poor picture
- Check if you have selected the correct TV system.
- Low signal level can cause picture distortion. Please check antenna access.
- Check if you have entered the correct channel frequency if you have done manual tuning.
- The picture quality may degrade when two devices are connected to the TV at the same time. In such a case, disconnect one of the devices.
No picture
- This means your TV is not receiving any transmission.
Make sure the correct source has been selected.
Is the antenna connected properly?
Is the antenna cable damaged? - Are suitable plugs used to connect the antenna?
If you are in doubt, consult your dealer.
No sound
- Check if the TV is muted. Press the Mute button or increase the volume to chock.
Sound may be coming from only one speaker. Check the balance settings from Sound menu.
Remote control - no operation
- The batteries may be exhausted. Replace the batteries.
Input sources - can not be selected
- If you cannot select an input source, it is possible that no device is connected. If not;
- Check the AV cables and connections if you have tried to connect a device.
- Check the AV cables and connections if you are trying to switch to the input source dedicated to the connected device.
Recording unavailable
To record a programme, you should first connect a USB disk to your TV while the TV is switched off. You should then switch on the TV to enable recording feature. If you cannot record, try switching off the TV and then re-inserting the USB device.
USB is too slow
If a USB disk writing speed too slow to record message is displayed on the screen while starting a recording, try restarting the recording. If you still get the same error, it is possible that your USB disk does not meet the speed requirements. Try connecting another USB disk.
The following table is an illustration of some of the typical video display modes. Your TV may not support all resolutions.
PC Input Typical Display Modes
| Index Resolution Frequency | |
| 1 | 840x350 65Hz |
| 2 | 9x480 60Hz |
| 3 | 9x480 72Hz |
| 4 | 9x480 75Hz |
| 5 | 9x500 56Hz |
| 6 | 9x600 60Hz |
| 7 | 9x600 72Hz |
| 8 | 9x600 75Hz |
| 9 | 12x708 60Hz |
| 10 | 12x786 72Hz |
| 11 | 12x768 75Hz |
| 12 | 12x768 85Hz |
| 13 | 12x661 75Hz |
| 14 | 12x798 60Hz |
| 15 | 12x798 75Hz |
| 16 | 12x960 60Hz |
| 17 | 12x990 75Hz |
| 18 | 12x1024 60Hz |
| 19 | 12x1024 75Hz |
| 20 | 12x798 60Hz |
| 21 | 12x798 60Hz |
| 22 | 12x1050 59Hz |
| 23 | 12x1050 60Hz |
| 24 | 12x1050 75Hz |
| 25 | 12x800 55Hz |
| 26 | 12x900 75Hz |
| 27 | 12x1200 80Hz |
| 28 | 12x1050 59Hz |
| 29 | 12x1050 60Hz |
| 30 | 12x1050 60Hz |
| Source Supported Signals Available | |||
| EXT(SCART) | PALO | ||
| SECAM O | |||
| NTSC4.43 | O | ||
| NTSC3.58 | |||
| RGB 50/60 | O | ||
| Side AV | PAL O | ||
| SECAM O | |||
| NTSC4.43 | O | ||
| NTSC3.58 | O | ||
| YPbPr | 480i, 480p | 60Hz | O |
| 576i, 576p | 50Hz | O | |
| 720p | 50Hz,60Hz | O | |
| 1080i | 50Hz,60Hz | O | |
| HDMI | 480i | 60Hz | O |
| 480p | 60Hz | O | |
| 576i, 576p | 50Hz | O | |
| 720p | 50Hz,60Hz | O | |
| 1080i | 50Hz,60Hz | O | |
| 1080p | 24Hz,25Hz,30Hz,50Hz,60Hz | O | |
| 3840x2160p | 24Hz,25Hz,30Hz,50Hz,60Hz | O | |
| 4096x2160p | 24Hz,25Hz,30Hz,50Hz,60Hz | O | |
X:Not Available,O:Available]
In some cases a signal on the TV may not be displayed properly. The problem may be an inconsistency with standards from the source equipment (DVD, Set-top box, etc.). If you do experience such a problem please contact your dealer and also the manufacturer of the source equipment.
Supported Video File Formats for USB Mode
| Video Codec Resolution Bit Rate Container | |||
| MPEG1/2 | 1080P@2@30tps, 1080P@60tps | 40Mbps | MPEG program stream (.DAT, .VOB, .MPG, .MPEG), MPEG transport stream (.is, .trp, .tp), MP4 (.mp4, .mov), 3GPP (.3gpp, .3gp), AVI (.avi), MKV (.mkv), ASF (.asf) |
| MPEG4 | MPEG program stream (.MPG, .MPEG), MP4 (.mp4, .mov), 3GPP (.3gpp, .3gp), AVI (.avi), MKV (.mkv), ASF (.asf) | ||
| XviD MP4 (.mp4, .mov), Sorenson H.263 F | MOV, AVI (.avi), MKV (.mov), AVI (.avi), SWR (.swr), 3GPP (.3gpp, .3gp), AVI (.avi) | ASF (.asf) | ASF |
| H.263 MP4 (.mp4, | 3840x2160@30tps, 1080P@60tps | 135Mbps | FLV (.flv), MP4 (.mp4, .mov), 3GPP (.3gpp, .3gp), MPEG transport stream (.is, .trp, .tp), ASF (.asf), AVI (.avi), MKV (.mkv) |
| Motion JPEG 720F | @30tps 10Mbps | AVI (.avi), 3GPP (.3gpp, .3gp), MP4 (.mp4, .mov), MKV (.mkv), ASF (.asf) | |
| VP8 1080P@30tps | 20Mbps MKV (.mkv), WebM (.webm) | ||
| HEVC.H.265 | 4K2K@60tps 100Mbps | MP4 (.mp4, .mov), MKV (.mkv), MPEG transport stream (.is, .trp, to) | |
| 1080P@60tps 50Mbps | MP4 (.mp4, .mov), MKV (.mkv), MPEG transport stream (.is, .trp, to), 3GPP (.3gpp, .3gp) | ||
| VP9 4K2K@30tps | 100Mbps MKV (.mkv). WebM (.webm) | ||
Supported Picture File Formats for USB Mode
| Image Photo Resolution (width x height) Remark | ||
| JPEG | Base-line 153x60x840 | |
| Progressive 1024x768 | ||
| PNG | non-Interface 9600x6400 | |
| interface 1200x800 | ||
| BMP | ||
Supported Audio File Formats for USB Mode
| Audio Codec | Sample rate Bit Rate | Contalher |
| MPEG1/2 Layer1 | 16KHz ~ 48KHz | 32Kbps ~ 448Kbps |
| MPEG1/2 Layer2 | 16KHz ~ 48KHz | 8Kbps ~ 384Kbps |
| MPEG1/2 Layer3 | 16KHz ~ 48KHz | 8Kbps ~ 320Kbps |
| AC3 | 32KHz, 44.1KHz, 48KHz | 32Kbps ~ 640Kbps |
| EAC3 | 32KHz, 44.1KHz, 48KHz | 32Kbps ~ 6 Mbps |
| AAC, HEAAC | 8KHz ~ 48KHz | |
| WMA | 8KHz ~ 48KHz | 128bps ~ 320Kbps |
| WMA 10 Pro M0 | 48KHz | < 192Kbps |
| WMA 10 Pro M1 | 48KHz | < 384Kbps |
| WMA 10 Pro M2 | 96KHz | < 768Kbps |
| G711 A/mu-law | 8KHz | 64Kbps ~ 128Kbps |
| LBR (cock) | 8KHz, 11.025KHz, 22.05KHz, 44.1KHz | 6Kbps ~ 128Kbps |
| FLAC | 8KHz~96KHz | < 1.6Mbps |
Supported Subtitle File Formats for USB Mode
| Internal Subtitles | ||
| Extension Container Subtitle Code | ||
| dat, mpg, mpeg, vob MPG. MPEG DVD Subtitle | ||
| ts, trp, tp TS DVB Subtitle | ||
| mp4 MP4 | DVD Subtitle UTF-8 Plain Text | |
| mkv MKV | ASS SSA UTF-8 Plain Text VobSub DVD Subtitle | |
| avi | AVI (1.0, 2.0), DMF0,1, 2 | XSUB XSUB+ |
Supported DVI Resolutions
| External Subtitles | ||
| Extension Subtitle Parser Remark | ||
| \(\mathsf{art\_Subrip}\) | ||
| \(\mathsf{ssav\_ass\_SubStation\_Alpha}\) | ||
| \(\mathsf{smil\_SAMi}\) | ||
| \(\mathsf{sub}\) | Viewer MicroDVD DVDs\SubtileSystem SubIdx (VobSub) | Viewer 1.0 & 2.0 Only |
| \(\mathsf{dtd\ TMPlayer}\) | ||
When connecting devices to your TV's connectors by using DVI converter cable(DVI to HDMI cable - not supplied), you can refer to the following resolution information.
| 5GHz 60Hz F 60Hz 70Hz T2Hz 75Hz | ||||||
| 648x648D | ☑ | ☑ | ||||
| 808x600 | ☑ | ☑ | ☑ | |||
| 1024x768 | ☑ | ☑ | ☑ | |||
| 1280x768 | ☑ | ☑ | ||||
| 1290x960 | ☑ | |||||
| 1380x768 | ☑ | |||||
| 1380x768 | ☑ | |||||
| 1280x1024 | ☑ | ☑ | ☑ | |||
| 1400x1050 | ☑ | |||||
| 1600x900 | ☑ | |||||
| 1920x1050 | ☑ | |||||
Connectivity
Wired Connectivity
To Connect to a Wired Network
- You must have a modem/router connected to an active broadband connection.
- Connect your TV to your modemROUTer via an ethernet cable. There is a LAN port at the rear (back) of your TV.

LAN input on the rear
side of the TV
To configure wired settings please refer to the Network/Internet Settings section in the System>Settings Menu.
- You might be able to connect your TV to your LAN depending on your network's configuration. In such a case, use an ethernet cable to connect your TV directly to the network wall outlet.

LAN input on the rear
side of the TV
Configuring Wired Device Settings
Network Type
The Network Type can be selected as Wired Device, Wireless Device or Disabled, in accordance with the active connection to the TV set. Select this as Wired Device if you are connecting via an ethernet cable.
Internet Speed Test
Highlight Internet Speed Test and press the OK button. TV will check the internet connection bandwidth and display the result when complete.
Advanced Settings
Highlight Advanced Settings and press the OK button. On the next screen you can change the IP and DNS settings of the TV. Highlight the desired one and press Left or Right button to change the setting from Automatic to Manual. Now you can enter the Manual IP and / or Manual DNS values. Select the related item in the drop down menu and enter the new values using the numeric buttons of the remote. Press the OK button to save settings when complete.
Wireless Connectivity
To Connect to a Wireless Network
The TV cannot connect to the networks with a hidden SSID. To make your modem's SSID visible, you should change your SSID settings via the modem's software.
To Connect to a wireless LAN, you should perform the following steps:
- To configure your wireless sellings please refer to the Network/Internet Settings section in the System>Settings Menu.

A Wireless-N router (IEEE 802.11a/b/g/n) with simultaneous 2.4 and 5 GHz bands is designed to increase bandwidth. These are optimized for smoother and faster HD video streaming, file transfers and wireless gaming.
The frequency and channel differ depending on the area.
- The transmission speed differs depending on the distance and number of obstructions between the transmission products, the configuration of these products, the radio wave conditions, the line traffic and the products that you use. The transmission may also be cut off or may get disconnected depending on the radio wave conditions. DECT phones or any other WiFi 11b appliances. The standard values of the transmission speed are the theoretical maximum values for the wireless standards. They are not the actual speeds of data transmission.
- The location where the transmission is most effective differs depending on the usage environment.
The Wireless feature of the TV supports 802.11 a.b.g & n type modems. It is highly recommended that you should use the IEEE 802.11n communication protocol in order to avoid any possible problems while watching videos.
- You must change your modem's SSID when there are any other modems around with the same SSID. You can encounter connection problems otherwise. Use a wired connection if you experience problems with a wireless connection.
Configuring Wireless Device Settings
Open the Network/Internet Settings menu and select Network Type as Wireless Device to start connection process.
The TV will scan the wireless networks automatically. A list of available networks will be displayed. Please select your desired network from the list.
Note: If the modern supports N mode, you should set N mode settings.
If the selected network is protected with a password, please enter the correct key by using the virtual keyboard. You can use this keyboard via the directional buttons and the OK button on the remote control.
Wait until the IP address is shown on the screen. This means that the connection is now established. To disconnect from a wireless network, highlight Network Type and press Left or Right buttons to set as Disabled.
Highlight Internet Speed Test and press the OK button to check your internet connection speed. Highlight Advanced Settings and press the OK button to open the advanced setting menu. Use directional and numeric buttons to set. Press the OK button to save settings when complete.
Other Information
The status of the connection will be displayed as Connected or Not Connected and the current IP address, if a connection is established.
Connecting to your mobile device via WiFi
- If your mobile device has WiFi feature, you can connect it to your TV via a router, in order to access the content in your device. For this, your mobile device must have an appropriate sharing software.
- Connect to your router following the steps stated above in the Wireless Connectivity section.
- Afterwards, engage your mobile device with the router and then activate the sharing software on your mobile device. Then, select files that you want to share your TV.
If the connection is established correctly, you will be able to access the shared files from your mobile device via the Media Browser of your TV.
- Enter the Media Browser menu and the playback device selection OSD will be displayed. Select your mobile device and press the OK button to continue.
- If available, you can download a virtual remote controller application from the server of your mobile device application provider.
Note: This feature may not be supported on all mobile devices.
Wake ON
Wake-on-LAN (WoL) and Wake-on-Wireless LAN (WoWLAN) are standards that allow a device to be turned on or woken up by a network message. The message is sent to the device by a program executed on a remote device connected to the same local area network, such as a smartphone.
Your TV is Wol. and WoWLAN compatible. To enable this feature set the Wake On option in the Network/Internet Settings menu as On. It is necessary that both the device, from which the network message will be sent to the TV, and the TV are connected to the same network. Wake On feature is only supported for Android OS devices and can only be used via YouTube and Netflix applications.
In order to use this feature the TV and the remote device should be connected at least once while the TV is on. If the TV is powered off, the connection should be reestablished, the next time it is switched on. Otherwise this feature will be unavailable. This does not apply, when the TV is switched into the standby mode.
Wireless Display
Wireless Display Is a standard for streaming video and sound content by Wi-Fi Alliance. This feature provides the ability to use your TV as wireless display device.
Using with mobile devices
There are different standards which enable sharing of screens including graphical, video and audio content between your mobile device and TV.
Plug the wireless USB dongle to TV first, if the TV doesn't have internal WiFi feature.
Then press the Source button on the remote and switch to Wireless Display source.
A screen appears stating that the TV is ready for connection.
Open the sharing application on your mobile device. These applications are named differently for each brand, please refer to the instruction manual of your mobile device for detailed information.
Scan for devices. After you select your TV and connect, the screen of your device will be displayed on your TV.
Note: This feature can be used only if the mobile device supports this feature. Scanning and connecting processes
differ according to the programme you use. Android based mobile devices should have the software version V4.2.2 and above.
Connecting Other Wireless Devices
Your TV supports another short range wireless connection technology too. A pairing is required before using these kind of wireless devices with the TV set. You should do the followings to pair your device with the TV:
-
Set the device to pairing mode
-
Start device discovery on the TV
Note: Refer to the user manual of the wireless device to learn how to set the device to pairing mode.
You can connect audio devices or remote controllers wirelessly to your TV. Unplug or switch off any other connected audio device in order for wireless connection feature to work correctly. For audio devices you should use the Audio Link option in the System>Sound menu, for remote controllers the Smart Remote option in the System>Settings>More menu. Select the menu option and press the OK button to open the related menu. Using this menu you can discover and connect the devices that use the same wireless technology and start to use them. Follow the on-screen instructions. Start the device discovery. A list of available wireless devices will be displayed. Select the device you want to connect from the list and press the OK button to connect. If "Device connected" message is displayed, the connection is successfully established. If the connection fails try it again.
Note: Wireless devices may operate within the same radio frequency range and may interfere with one another. To improve the performance of your wireless device place it at least 1 meter away from any other wireless devices.
Connectivity Troubleshooting
Wireless Network Not Available
- Ensure that any firewalls of your network allow the TV wireless connection.
Try searching for wireless networks again, using the Network/Internet Settings menu screen.
If the wireless network does not function properly, try using the wired network in your home. Refer to the Wired Connectivity section for more information on the process.
If the TV does not function using the wired connection, check the modem (router). If the router does not have a problem, check the internet connection of your modem.
Connection is Slow
See the instruction book of your wireless modem to get information on the internal service area, connection speed, signal quality and other settings. You need to have a high speed connection for your modem.
Disruption during playback or slow reactions
You could try the following in such a case:
- Keep at least three motors distance from microwave ovens, mobile telephones, bluetooth devices or any other Wi-Fi compatible devices. Try changing the active channel on the WLAN router.
Internet Connection Not Available / Audio Video Sharing Not Working
If the MAC address (a unique identifier number) of your PC or modem has been permanently registered, It is possible that your TV might not connect to the internet. In such a case, the MAC address is authenticated each time when you connect to the internet. This is a precaution against unauthorized access. Since your TV has its own MAC address, your internet service provider cannot validate the MAC address of your TV. For this reason, your TV cannot connect to the internet. Contact your internet service provider and request information on how to connect a different device, such as your TV, to the internet.
It is also possible that the connection may not be available due to a firewall problem. If you think this causes your problem, contact your internet service provider. A firewall might be the reason of a connectivity and discovery problem while using the TV in Audio Video Sharing mode or while browsing via Audio Video Sharing feature.
Invalid Domain
Ensure that you have already logged on to your PC with an authorized username/password and also ensure that your domain is active, prior to sharing any files in your media server program on your PC. If the domain is invalid, this might cause problems while browsing files in Audio Video Sharing mode.
Using Audio Video Sharing Network Service
Audio Video Sharing feature uses a standard that eases the viewing process of digital electronics and makes them more convenient to use on a home network.
This standard allows you to view and play photos, music and videos stored in the media server connected to your home network.
1. Server Software Installation
The Audio Video Sharing feature cannot be used if the server programme is not installed onto your PC or if the required media server software is not installed onto the companion device. Please prepare your PC with a proper server programme.
2. Connect to a Wired or Wireless Network
See the Wired/Wireless Connectivity chapters for detailed configuration information.
3. Play Shared Files via Media Browser
Select Media Browser by using the directional buttons from the main menu and press OK. The media browser will then be displayed.
Audio Video Sharing
Select the desired media type on the main media browser menu and press OK. If sharing configurations are set properly, Device Selection screen will be displayed after selecting the desired media type. If available networks are found, they will be listed on this screen. Select media server or network that you want to connect to using the Up or Down buttons and press OK. If you want to refresh the device list, press the Green button. You can press Menu to exit.
If you select the media type as Videos and choose a device from the selection menu. Then select the folder with video files in it on the next screen and all the available video files will be listed.
To play other media types from this screen, you can go back to main Media Browser screen and select the media type as desired and then perform the network selection again. Or press the Blue button to switch to next media type quickly without changing the network. Refer to the Media Browser menu section for further information on file playback.
If a problem occurs with the network, please switch your television off at the wall socket and back on again. Trick mode and jump are not supported with the Audio Video Sharing feature.
PC/HDD/Media Player or any other devices that are compatible should be used with a wired connection for higher playback quality.
Use a LAN connection for quicker file sharing between other devices like computers.
Note: There may be some PC's which may not be able to utilize the Audio Video Sharing feature due to administrator and security settings (such as business PC's).
Internet Portal
HINT: A broadband internet connection is required for high quality viewing. You must set the country option accordingly in the First Time Installation for proper operation of the internet portal.
Portal feature adds your TV a feature that allows you to connect a server on the Internet and view the content provided by this server over your Internet connection. Portal feature allows you to view the music, video, clip or web content with defined short-cuts. Whether you can view this content without interruption depends on the connection speed provided by your internet service provider.
Press the Internet button on your remote control to open internet portal page. You will see icons of the available applications and services on the portal screen. Use the directional buttons on your remote to select the desired one. You may view the desired content by pressing OK after selecting. Press Back/ Return button to return back to the previous screen. Moreover, you can access some features using the short-cut feature defined for the coloured or numeric buttons of your remote.
Press the Exit button to quit the Internet portal mode.
PIP Window (depending on portal service)
Current source content will be displayed in the PIP window, if you switch to portal mode while on any active source.
If you switch to portal mode while watching TV channels, current programme will be displayed in the PIP window. You can change channels using Programme +/- buttons.
Notes:
Possible application dependent problems may be caused by the content service provider.
Portal service content and the interface may be changed at any time without prior notice.
Third party internet services may change, be discontinued or restricted at any time.
Internet Browser
To use the Internet browser, enter the portal first. Then launch the Internet application on the portal.
(*) The appearance of the internet browser logo may change.
In the initial screen of the browser, the thumbednails of the predefined (if any) links to web sites available will be displayed as Speed Dial options along with the Edit Speed Dial and the Add to Speed Dial options.
To navigate the web browser, use the directional buttons on the remote or a connected mouse. To see the browser options bar, move the cursor to the top of the page or press the Back/Return button. History, Tabs and Bookmarks options and the browser bar which contains previous/tox buttons, the refresh button, the adress/search bar, the Speed Dial and the Opera buttons are available.
To add a desired website to the Speed Dial list for quick access, move the cursor to the top of the page or press the Back/Return button. The browser bar will appear. Highlight the Speed Dial button and press the OK button. Then select Add to Speed Dial option and press the OK button. Fill in the blanks for Name and Address, highlight OK and press the OK button to add. Whilst you are on the site you wish to add to the Speed Dial list, highlight the Opera-0 button and press the OK button. Then highlight Add to Speed Dial option in the submenu and press the OK button again. Name and Address will be filled automatically according to the site you are visiting. Highlight OK and press the OK button to add.
You can also use the Opera menu options to manage the browser. Highlight the Opera-0 button and press the OK button to see available page specific general options.
There are various ways to search or visit websites using the web browser.
Enter the address of a website(URL) into the search address bar and highlight the Submit button on the virtual keyboard and press the OK button to visit the site.
Enter keyword/s into the search/address bar and highlight the Submit button on the virtual keyboard and press the OK button to start a search for the related websites.
Highlight a Speed Dial thumbnail and press the OK button to visit the related website.
Your TV is compatible with USB mice. Plug your mouse or wireless mouse adaptor into the USB input of your TV for easier and quicker navigation.
Some web pages include flash content. These are not supported by the browser.
Your TV does not support any download processes from the internet via the browser.
All sites on the internet might not be supported. According to the site, content problems may occur. In some circumstances video contents might not be able to be played.
and
HBBTV System
HbTV (Hybrid Broadcast Broadband TV) is a new industry standard that seamlessly combines TV services delivered via broadcast with services delivered via broadband and also enables access to Internet only services for consumers using connected TVs and set-top boxes. Services delivered through HbTV include traditional broadcast TV channels, catch-up services, video-on-demand, EPG, interactive advertising, personalisation, voting, games, social networking and other multimedia applications.
HbBT applications are available on channels where they are signalled by the broadcaster (currently various channels on Astra broadcast HbBT applications). The broadcaster marks one application as "autostart" and this one is started by the platform automatically. The autostart applications are generally launched with a small red button icon to notify the user that there is an HbBT application on that channel. Press the red button to open the application page. After the page is displayed you can go back to the initial red button icon slate by pressing the red button again. You can toggle between the red button icon mode and full UI mode of the application via pressing red button. It should be noted that the red button switching capability is provided by the application and some application may behave differently.
If you switch to another channel while an HbbTV application is active (either in red button icon mode or full UI mode), the following scenarios can occur.
The application can continue running.
The application can be terminated.
- The application can be terminated and another autopost red button application can be launched.
HobTV allows the applications to be retrieved both from broadband or broadcast. The broadcaster may enable both ways or one of them. If the platform does not have an operational broadband connection, the platform can still launch applications transmitted on broadcast.
The autostart red button applications generally provide links to other applications. An example of this is shown below. The user then can switch to other applications by using the links provided. The applications should provide a way to terminate themselves, usually Exit button is used for this.

Figure a: Start bar application

Figure 8: EPG application, broadcast video is shown on the left bottom, can be terminated by pressing 0.
HbbTV applications use keys on the remote control to interact with the user. When an HbbTV application is launched, the control of some keys are owned by the application. For example, numeric channel selection may not work on a teletext application where the numbers indicate teletext pages.
HbblTV requires AV streaming capability for the platform. There are numerous applications providing VOD (video on demand) and catch-up TV services. The user can use play, pause, stop, forward, and rawl keys on the remote control to interact with the AV content.
Note: You can enable or disable this feature from the More menu in System-Settings menu.
Smart Center
Smart Center is a mobile application running on iOS and Android platforms. With your tablet or phone, you can easily stream your favourite live shows and programmes from your smart TV. Also, you can launch your portal applications, use your tablet as a remote control for your TV and share media files.
Note: Being able to use all functions of this application depends on the features of your TV.
Getting Started
To use Smart Center features, connections have to be done properly. To get connected to your network wirelessly, plug in the Wi-Fi dongle to one of the USB ports if your TV doesn't have internal wifi feature. To be able to use internet based features, your modem router must be connected to the internet.
IMPORTANT: Make sure the TV and mobile device are connected to the same network.
For media sharing feature Audio Video Sharing option should be enabled(if available). Press the Menu button on the remote, select System>Settings>More menu and press OK. Highlight Audio Video Sharing and change as Enabled. Your TV is ready to connect to your mobile device now.
Install the Smart Center application onto your mobile device.
Start the smart center application. If all connections are configured properly, you will see your TV's name on your mobile device. If your TV's name doesn't appear on the list, wait a while and tap on the Refresh widget. Select your TV from the list.
Mobile Device screen
On the main screen you can find tabs to various features.
The application retrieves actual channel list from TV first when it starts.
MY CHANNELS: The programmes of first four channels from the channel list retrieved from the TV are shown. You can change the listed channels. Press on the channel thumbnail and hold. A list of channels will be displayed and you can choose your desired channel to be replaced.
TV: You can watch content through the TV tab. In this mode you can navigate through the channel list retrieved from your TV and click on thumbnails to view the detail pages.
RECORDINGS: You can view your active recordings(if available) and reminders through this tab. To delete any item, simply press on the delete icon found on each row.
EPG: You can view the broadcast schedules of selected channel lists through this tab. You can also navigate through channels by pressing on the selected channel on the EPG grid. Please note that updating
/ refreshing the EPG information may take a while depending on your network and web service quality. Note: Internet connection is required for WEB based EPG informations.
PORTAL: This tab displays the Portal applications in scrollable view. Unless FollowMeTV (if available) is active, the selected application will be displayed on your TV screen.
Note: Internet connection is required. This tab is enabled if a portal page is in use.
SETTINGS: Configure the application to your liking. You can change:
Auto-lock (Only in IOS): The screen of the device automatically turns off after a certain amount of time. Default is off, which means the screen will always stay on.
Auto-enable FollowMoTV: FollowMoTV function (if available) will start automatically when this setting is enabled. Default is disabled.
Auto-connection to TV: When enabled, your mobile device will automatically connect to last connected TV and skips the TV search screen.
Change TV (Only in IOS): Shows the currently connected TV. You can press on this setting to go to the "TV search" screen and change to a different TV.
Edit custom channel list: You can edit your custom channel list using this setting.
Choose channel list source: You can choose the channel list source to be used in the application. The options are "TV List" and "Custom List". Additionally you can activate "Remember my choice" option to set the selected channel list source as a constant choice. In this case if the selected source is available it will be used in the application.
Version No: Displays the current version of the application.
Detail Page
To open detail page tap on a programme. On the detail page screen you can get detailed information of the programmes you show. There are "Details", "Cast/Crew", and "/ideas" jobs to find on this page.
DETAILS: This tab provides summary and information about the selected programme. Also there are links to facebook and twitter pages of the programme selected.
CAST&CREW: Shows all the people contributed to the current programme.
VIDEOS: Provides videos on Youtube related to the selected programme.
Note: For some functions an internet connection may be required.
FollowMe TV Feature (If available)
Tap on the FOLLOW ME TV widget located at the bottom left of the screen of your mobile device to change the layout for FollowMe TV feature.
Tap the play icon to start streaming of the content from the TV to your mobile device. Available if your device is in your routers operation range.
Mirror Mode
This mode of FollowMe TV feature is enabled by deafult and allows streaming the content from any other selected TV sources and Media Browser.
Notes:
Note that only digital(DVB-T/C/S) SD and HD channels are supported.
Multilingualue audio support and subtile or/off features are not functional.
The streaming performance may change depending on the quality of your connection.
Media Share Page
To access the Media Share widget tap on the Uparrowrow on the bottom left side of the screen.
If the Media Share widget is pressed, a screen is displayed where you can select the media file type to share with your TV.
Note: Not all image file formats are supported. This function will not work if Audio Video Sharing feature is not supported.
Portal Launcher
To access the Portal Launcher ( ) widget tap on the Up-arrow on the bottom left side of the screen.
You can access the portal page by tapping on the
Portal Launcher widget.
Note: Internet connection is required. This function will not work if a portal page is not in use.
Smart Remote Feature
You can use your mobile device as a remote control for your TV once it has connected to the TV. To use smart remote's full features tap on the Up-arrow on the bottom left side of the screen.
Voice Recognition
You can tap on the Microphone widget and manage your application, giving voice commands such as "Portal", "Volume Up/Down", "Programme Up/Down".
Note: This feature is only for android based devices available.
Keyboard Page
The keyboard page can be opened in two ways; by pressing the Keyboard (F) widget on the application screen or automatically by receiving a command from the TV.
Table des matieres
Batteries:2xAAA
Handbuch
Standby-Meldungen
| A | Product Fiche | ||
| B | Commercial Brand:TELEFUNKEN | ||
| C | Product No. | 10114762 | |
| D | Model No. | 75TU6200 | |
| E | Energy efficiency class | A+ | |
| F | Visible screen size (diagonal,approx.) (inch/cm) | 75 inches | 190 cm |
| G | On mode average power consumption (Watt) | 160 | |
| H | Annual energy consumption (kWh/annum) | 233 | |
| I | Stand by power consumption (Watt) | 0,5 | |
| J | Off mode power consumption (Watt) | 0 | |
| K | Display resolution (px) | 3840x2160 | |
| A | B | C | D | E | F | Visible screen size (diagonal, approx.) (inch/cm) | |
| English | Product Fiche Commencial Brand Product No. | Model No. Energy efficiency class | |||||
| Deutsch | Produkt-Datenblatt | Markenzeichen | Produkt-Nr. | Model-Nr. | Energieeffizienzklasse | Sichtbare Bildschirmgroße (diagonal, ca.) (Zoll /cm) | |
| Былар承载 | Спавочен пост сTekншемкиданный | Тьrosбka марka | Проблем № | Modem № | Клас на有很大у有很大у有很大у有很大у有很大у有很大у有很大у有很大у有很大у有很大у有很大у有很大у有很大у有很大у有很大у有很大у有很大у有很大у有很大у有很大у有很大у有很大у有很大у有很大у有很大у有很大у有很大у有很大у有很大у有很大у有很大у有很大у有很大у有很大у有很大у有很大у有很大у有很大у有很大у有很大у有很大у有很大у有很大у有很大у有很大у有很大у有很大у有很大у有很大у有很大у有很大地 | Videtniša veilostok obrazovky (uhlopička, priljx(palucy /cm) | Sungskamstørile (diagonal,ca.) (HK/cm) |
| Suomi | Tuote fiche | Kaufallinen merki | Tuote nro. | Malli nro. | Virran tehokkusluokka | Nakvyan kuvaruudun koko (diagonal,alin.n.) (tuimaa/cm) | Tallie d'ocr visible (diagonal,approx. (pouces/cm) |
| Français | Fiche du produit | Marque commerciale | Produit N° | Modèle N° | Classe d'efficacité énergétique | Tallie d'ocr visible (diagonal,approx. (pouces/cm) | Vidijiva veltina ekrana (diagonal,prilbino) (inca/cm) |
| Hrvatski | SAŽETAK PROIZVODA | Trgovаčka marka | Br. protovoda | Br. modela | Klasa energetske učinkovitosti | Zichbare schemagrotte (diagonal,ca.) (inches/cm) | Lathato keptaromány (diagonáti,ko.) (inches/cm) |
| Nederlands | Productfiche | Commercieel merk. | Productn. | Modeln. | Energie efficientie klasse | Zichbare schemagrotte (diagonal,ca.) (inches/cm) | Lathato de pantalla visible (diagonal,aprox.) (pulgadas/cm) |
| Espanol | Ficha del Produkt | Marca Comercial | N° de Produkt | N° de Modelo | Clasificación Energética | Synig skarmstolek. (diagonal, ungefárgl (tum/cm) | Synig skarmstolek. (diagonal, ungefárgl (tum/cm) |
| Svenska | Produktspecification | Varumärke | Produktn. | Modeln.r. | Energiklass | Dimensioni visibill dello schermo (diagonal,circa)(pollici/cm) | Dimensioni visibill dello schermo (diagonal,circa)(pollici/cm) |
| Italiano | Scheda prodotto | Marchio commerciale | Numero prodotto | Numero modulo | Classe di efficienza energetica | Widoczny obraz ekrana (przekátna,okolo)(cali/cm) | Lathato keptaromány (diagonáti,ko.) (inches/cm) |
| Polski | KARTA PRODUKTU Marka | produkt Nr Produktur Nr modelu | Klasa efektwymi sterne energetycznej | Synig skermstørile (diagonal,ca.) (tommer/cm) | Synig skermstørile (diagonal,ca.) (tommer/cm) | ||
| Magyar | Termékismertő adatlap | Kereskedelmi márka | Termékszám | Modelszám | Energiahatékonyasá gy osztály | Lathato keptaromány (diagonáti,ko.) (inches/cm) | Lathato keptaromány (diagonáti,ko.) (inches/cm) |
| Norsk | Produktinformasjon | Kommersiell merkevare | Produkt nr. | Model nr. | Energiéffektivitet klasse | Synig skermstørile (diagonal,ca.) (inches/cm) | Synig skermstørile (diagonal,ca.) (inches/cm) |
| Portugues | Ficha do produits | Marca Comercial | Produto N° | Modelo N° | Classificação eficiência energetica | Dimensiune ecranuiutvi zidii (diagonal, aprox.) (inch/cm) | Dimensiune ecranuiutvi zidii (diagonal, aprox.) (inch/cm) |
| România | Fișă produs | Marca Comercial | Nr. Produs | Nr. Model | Clasa de eficientă energetica | Budimnoi pashme ekrana (no daharona, prioblinneleho) (daimoho) | Budimnoi pashme ekrana (no daharona, prioblinneleho) (daimoho) |
| Русккii | Спавочны посток Текншемки дадьхи Истелег Текншемки дадьхи Истелег Текншемки дадьхи Истелег Текншемки дадьхи Истелег Текншемки дадьхи Истелег Текншемки дадьхи Истелег Текншемки дадьхи Истелег Тек�ншемки дадьхи Истелег Тек�ншемки дадьхи Истелег Тек�ншемки дадьхи Истелег Тек�ншемки дадьхи Истелег Тек�ншемки дадьхи Истелег Тек�ншемки дадьхи Истелег Takayama | Topròba市场规模 | Homep nozdenia | Homep nozdenia | Knacc 3heproneotpebeneria | Budimnoi pashme ekrana (no daharona, prioblinneleho) (daimoho) | Budimnoi pashme ekrana (no daharona, prioblinneleho) (daimoho) |
| Bénpарский | Спавочны посток Текншемки дадьхи Истелег Текншемки дадьхи Истелег Текншемки дадьхи Истелег Текншемки дадьхи Истелег Текншемки дадьхи Истелег Текншемки дадьxи Истелег Текншемки dadautoц | Topròba市场规模 | Homep nozdenia | Homep nozdenia | Knacc 3heproneotpebeneria | Budimnoi pashme ekrana (no daharona, prioblinneleho) (daimoho) | Budimnoi pashme ekrana (no daharona, prioblinneleho) (daimoho) |
| mokedoncki | Текник immodatoц | Korneццлална市场规模 | Посиювд sp. | Model sp. | Knacc na heperetccka effikkachost | Tolendma na ha bvidne ekrana (diagonáti,okono) (inhuvi/cm) | Tolendma na ha bvidne ekrana (diagonáti,okono) (inhuvi/cm) |
| ukraičький | Текнич diari | Korpeццл�ma市场规模 | Артыкун | Modelb | Knacc eheproceokmbaehna | Budimnoi poshmir ekrana (diagonáti,прибимо) (daimoho) | Budimnoi poshmir ekrana (diagonáti,пriбимо) (daimoho) |
| Srpski | Tehnicke odike | Komercijalna市场规模 | Proizvod br. | Modelbr. | Klasa energetske ekfasnosti | Velicina vidijvog ekrana (diagonáti,okono) (tokom) (inca/cm) | Velicina vidijvog ekrana (diagonáti,okono) (tokom) (inca/cm) |
| Slovenčina | Produktovy list | Znacka výrobcu | Cislo produktu | Modelc | Energetická trieda | Videtničva veilostk obrazovky (uhlopička, zhruba) (palcov/cm) | Videtničva veilostk obrazovky (uhlopička, zhruba) (palcov/cm) |
| Sloveněsčina | Opis izdelka | Komercialna znamka | St. Izdelka | St. Modela | Razred energetske učinkovitosti | Videtničva veilostk obrazovky (palvcr/cm) | Videtničva veilostk obrazovky (palvcr/cm) |
| Ельник | Демлно рioiov'tos | Емторік оглә | Ap. Пioiov'tοş | Ap. Mov'telә | Katnyopia evpyevikons agroboots | Oporo peyevok obovnc (diaryovici, trcp.) (ivtroc/cm) | Oporo peyevok obovnc (diaryovici, trcp.) (ivtroc/cm) |
| Bosanski | Tehnicki podaci | Komercijalna市场规模 | Produkt br. | Modelbr. | Klasa energetske ekfasosti | Videtlva veilchina ekrana (diagonáti,obližno) (inca/cm) | Videtlva veilchina ekrana (diagonáti,obližno) (inca/cm) |
| JIMY | MIDIN OTOI | MIDIN OTOI | MIDIN OTOI | MIDIN OTOI | MIDIN OTOI | MIDIN OTOI | MIDIN OTOI |
| Türkçe | Ürün fişi | Ticari Marka | Ürün No. | Model No. | Enerji verimiligi sinifi | Görülen ekran boytut (capraz, yaktık) (ingc/m) | Görülen ekran boytut (capraz, yaktık) (ingc/m) |
| Shqip | Té dhēnat e produktit | Marka tregtare | Nr. i produktit. | Nr. i modelit. | Klasa e eficiencës sere energjisë | Madhésia e okranit têdkshēm (diagonáti,afresihit) (inc/m) | Madhésia e okranit têdkshēm (diagonáti,afresihit) (inc/m) |
| Lietuviu | Gamino etikété | Gamintojas | Gamino Nr. | Modello Nr. | Energetinio efektyvumo klasë | Matomas ekrano dydis (strijazime,approx.) (collu/cm) | Matomas ekrano dydis (strijazime,approx.) (collu/cm) |
| Latviešu | Produkta aprakssts | Marka | Produktur nr. | Modela nr. | Energoefektivates klase | Ekrana izmërs (pa diognäli,apmçr) (collas/cm) | Ekrana izmërs (pa diognäli,apmçr) (collas/cm) |
| Eesti | TOOTEKIRJELDUS | Tootja firma | Toote nr. | Mudeli nr. | Energiaklass | Vadadatava ekrana suurus (diagonáti,umbes) (tolli/cm) | Vadadatava ekrana suurus (diagonáti,umbes) (tolli/cm) |
| G | H | I | J | K | |||||
| English | On mode average power consumption (Watt) | Annual energy consumption (kWh/annum) | Standby power consumption (Watt) | Off mode power consumption (Watt) | Display resolution (px) | ||||
| Deutsch | Durchschnittlicher Stromverbrauch im eingeschalteten Zustand (Watt) | Jährlicher Energieverbrauch (kWh/Jahr) Standby-Stromverbrauch | (Watt) | Stromverbrauch im ausgeschiedetem Zustand (Watt) Display-Auflösung (px) | |||||
| Былгарский | С replenishment у美好的 саду вending zone (Watt) | Тор�ма на саду вending zone (Watt) | (KWh/ROchni) | (Алг.д. д. с. д. с. d. d. d. d. d. d. d. d. d. d. d. d. d. d. d. d. d. d. d. d. d. d. d. d. d. d. d. d. d. d. d. d. d. d. d. d. d. d. d. d. d. d. d. d. d. d. d. d. d. d. | Разделеня постебоста наскаля (писс) наскаля (писс) наскаля (писс) наскаля (писс) наскаля (писс) наскаля (писс) наскаля (писс) наскаля (писс) наскаля (писс) наскаля (писс) наскаля (писс) | ||||
| Былгарский | С replenishment у美好的 саду вending zone (Watt) | Тортошка на саду вending zone (Watt) | Коньшка на саду вending zone (Watt) | Коньшка на саду вending zone (Watt) | Разделеня постебоста наскаля (писс) наскаля (писс) наскаля (писс) наскаля (писс) наскаля (писс) наскаля (писс) наскаля (писс) наскаля (писс) наскаля (рисс) наскаля (писс) наскаля (писс) наскаля (писс) наскаля (писс) нASкаля (писс) нASкаля (писс) нASкаля (писс) нASкаля (писс) нASкаля (писс) нASкаля (писс) нASкаля (писс) нASкаля (писс) нASкаля (писс) нASкаля (писс) нASEмual Былгарский | Pazделеня постебоста наскаля (писс) наскаля (писс) нASкаля (писс) нASкаля (писс) нASкаля (писс) нASкаля (писс) нASкаля (писс) нASкаля (писс) нASкаля (писс) нASкаля (писс) | Rasdelengete's noocoboct наскаля (писс) наскаля (писс) нASdlengete's noocoboct насdlengete's noocoboct нASdlengete's noocoboct нASdlengete's noocoboct нASdlengete's noocoboct нASdlengete's noocoboct нASdlengete's noocoboct нASdlengete's noocoboct нASdlengete's noocoboct нASdlengete's noocoboct нASdlengetе's noocoboct нASdlengete's noocoboct нASdlengete's noocoboct нASdlengete's noocoboct нASdlengete's noocoboct нASdlengete's noocoboct нASdlengete's noocoboct нASdlengete's noocoboct нASdlengete's noocabot нASdlengete's noocabot нASdlengete's noocabot нASdlengete's noocabot нASdlengete's noocabot нASdlengete's noocabot нASdlengete's noocabot нASdlengete's noocabot нASdlengete's noocabot нASdlngete's noocabot нASdlngete's noocabot нASdlngete's noocabot нASdlngete's noocabot нASdlngete's noocabot нASdlngete's noocabot нASdlngete's noocabot нASdlngete's noocabot нASdlngete's noocabot нASdlngete's nocabot нASdlngete's nocabot нASdlngete's nocabot нASdlngete's nocabot нASdlngete's nocabot нASdlngete's nocabot нASdlngete's nocabot нASdlngete's nocabot нASdlngete's nocabot | Pazdelengete's noocoboct насdlengete's noocoboct насdlengete's noocoboct нASdlengete's noocoboct нASdlengete's noocoboct нASdlengete's noocoboct нASdlengete's noocoboct нASdlengete's noocoboct нASdlengete's noocoboct нASdlengetе's noocoboct нASdlengetе's noocoboct нASdlengete's noocoboct нASdlengete's noocoboct нASdlengete's noocoboct нASdlengete's noocoboct нASdlengete's noocoboct нASdlengete's noocoboct нASdlengete's noocabot нASdlengete's noocobct нASdlengete's noocabot нASdlengete's noocabot нASdlengete's noocabot нASdlengete's noocabot нASdlengete's noocabot нASdlengete's noocabot нASdlengete's noocabot нASdlengete's noocabot нASda Nordien | Schemresolutie (px) |
| Consumo elecrico medio, enfuncionamento (Vatio) | Consumo elecrico anual (kWh/anal) | Consumo enelcrico anual (Vatio) | Consumo elecrico modao apagado (Vatio) | Resoluccion de pantalla (px) | |||||
| Svenska | Strömconsumption i PÅ-läge (Watt) | Energikconsumption per ar (kWh/Arg) | Strömconsumption i vilolage (Watt) | Strömconsumption i AV-lage (Watt) | Skarmuplossing (pixiar) | ||||
| Italiano | Consumo di corrente medio da accesa (Watt) | Consumo annuale di energia (kWh/annuo) | Consumo di corrente in modalità standby (Watt) | Consumo di corrente da spenta (Watt) | Risulzione del display (px) | ||||
| Polski | Srednie zužycie energii w trybie węczonym (Watuw) | Rozne zužycie energii (kWh/Rozne) | Srednie zužycie energii w trybie oczekiwania (Watuw) | Zužycie energii w trybie węczonym (Watuw) | Rozdzieloczysz obrazu (pikseli) | ||||
| Magyar | Energiogasyasztás bekapcsolva hagyott üzsemódan (Watt) Éves energiogasyasztás | Energiogasyasztás standby (kWh/Eves) | Energiogasyasztás standby üzemmodban (Watt) | Energiogasyasztás kikapsolt üzemmodban (Watt) | Képernyöfbelonás (px) | ||||
| Norsk | Pamodus gjennonsnittig stramforbruk (Watt) | Arlig stremforbruk (kWh/Arlig) | Hvilemodus stremforbruk (Watt) | Av-modus stremforbruk (Watt) | Skjermoplossing (pixel) | ||||
| Portugues | Consumo energia em modo medio (Watt) | Consumo annual de energia (kWh/anal) | Consumo electric in mode de repaus (Watt) | Consumo electric in mode of repaus (Watt) | Resoluccion do visor (pixel) | ||||
| Română | Consume electric mediu in modu pornt (Watt) | Consume annual de energia (kWh/anal) | Consume electric in mode of repaus (Watt) | Consume electric in mode of repaus (Watt) | Rezoluccion ecranului (pixiel) | ||||
| Pyccskiy | Сраздим р accessod зөрөдддддддддддддддддддддддддддддддддддддддддддддддддддддддддддддддддддддддддддддддддддддддддддддддддддд徳 Вагун� | Ежогддддддддддддддддддддддддддддддддддддддддддддддддддддддддддддддддддддддддддддддддддддддддддддддддддд Вагун� | Рождддддддддддддддддддддддддддддддддддддддддддддд Вагун� | Рождддддддддддддддддддддддд Büchounen y konje wáčtej Büchounen y konje wáčtej Büchounen y konje wáčtej Büchounen y konje wáčtej Büchounen y konje wáčtej Büchounen y konje wáčtej Büchounen y konje wáčtej Büchounen y konje wáčtej Вагун� | Pazdelengete's noocoboct насdlengete's noocoboct н气dlengete's noocoboct н气dlengete's noocoboct н气dlengete's noocoboct н气dlengete's noocoboct н气dlengete's noocoboct н气dlengete's noocoboct н气dlengete's noocoboct н气dlengete's noocoboct н气dlenget e nacenay nacenay | ||||
| Makendouk | Поседу поготушьда кога в чулчени | Торошда поготушьда Кога в чулчени | Торошда поготушьда Кога в чулчени | Торошда поготушьда Кога в чулчени | Pazdelengete's noocoboct н气dlengete's noocoboct н气dlengete's noocoboct н气dlengete's noocoboct н气dlengete's noocoboct н气dlengete's noocoboct н气dlengete's noocoboct н气dlengete's noocoboct н气dlengete's nocoboct nacenay | ||||
| Ураійськ | Середу поготушьда поготушьда bу Рогетуну Бусян Бусян Бусян Бусян Бусян Бусян Бусян Бусян Бусян Бусян Бусян Бусян Бусян Бусян Бусян Бусян Бусян Бусян Бусян Бусян Буся网 | Серетьлары поготушьда bу Рогетуну Бусян Бусян Бусян Бусян Буся网 | Серетьлары погotушьда bу Pergutovostnom rezime (Watt) | Серетьлары погotушьда bу Pergutovostnom rezime (Watt) | Серетьлары погotушьда bу Pergutovostnom rezime (Watt) | ||||
| Spröski | Prosečna sporetska jada de učljučeni (Wati) | Godsniya potrošnja enerjié (kWh/Godsniya) | Potrošnja tokom mirovanja (Wati) | Potrošnja kada je isklobcevi (Vati) | Rozolucija dispejia (pixel) | ||||
| Slovenčina | Priemerná sporetska elektrickaj energiya v zapnutom rezime (Watt) | Rozna potrošna enerjié (kWh/Roznca) | Potrošna elektrickaj energiya v zapnutom rezime (Watt) | Potrošna elektrickaj energiya v zapnutom rezime (Watt) | Rozilfenie dispejia (pixel) | ||||
| Slovenčina | Poraba elektrickajaenerija v poveprećnem nacinu (Watt) | Letna poraba enerjiä (kWh/Letna) | Poraba enerjiä v stanju pravrjtenosti (Watt) | Poraba enerjiä v stanju pravrjtenosti (Watt) | Rozilfenie dispejia (pixel) | ||||
| EALynik | Méony katayoshon jiuyuţović sūyaučić kajouyóci (Watt) | Elyngas juyučović sūyaučić kajouyóci (Watt) | Elyngas juyučović sūyaučić kajouyóci (Watt) | Elyngas juyučović sūyaučić kajouyóci (Watt) | Rozilfenie dispejia (pixel) | ||||
| Bosanski | Prosečna sporetska jada de učljučeni (Wat) | Godsniya potrošnja enerjié (kWh/Godsniya) | Potrošnja tokom mirovanja (Wati) | Potrošnja kada je isklobcevi (Vati) | Rozolucija dispejia (pixel) |
| A | VESA WALL MOUNT MEASUREMENTS | ||
| B | Hole Pattern Sizes (mm) | W | H |
| 600 | 400 | ||
| C | Screw Sizes | ||
| D | Length (X) | min. (mm) | 15 |
| max. (mm) | 20 | ||
| E | Thread (Y) | M8 | |

| ABCDE | |||||
| English | VESA WALL MOUNT MEASUREMENTS | Hole Pattern Sizes (mm) | Screw Sizes Length (X) | Thread (Y) | |
| Deutsch | MASSANGABEN FÜR VESA-WANDMONTAGE Lochmustergroßen | (mm) | Schraubengroßen | Länge (X) Gewinde (Y) | |
| Français | DIMENSIONS DU SUPPORT DE FIXATION MURALE VESA | Dimensions des modèles de trous de montage (mm) | Dimensions des vis | Longueur (X) Filtage (Y) | |
| Italieno | Misurazioni installazione a parete VESA Dimensioni schema forp | (mm) | Dimensioni vite | Lunghezza (X) Fillettata (Y) | |
| Português | MEDICÔES DE MONTAGEM MURAL VESA Dimensões do molde | de furação (mm) | Tamanhos do parafuso | Comprimento (X) Rosca (Y) | |
| Espanol | MEDIDAS DEL MONTAJE DE PARED VESA | Tamaños de patrón para agujero (mm) | Tamaños de tornillo | Longitud (X) Rosca (Y) | |
| Türkce | VESA DUVARA MONAJ APARATI ÖLÇÜLERİ | Aciclacak Delik Ölcüleri (mm) | Vida Ölcüleri | Uzunluk (X) Yüsey (Y) | |
| Ελλυνικ | ΔΙΑΣΤΑξΕΙ ΒΑΒΗ ΜΟΥ ΘΟΥ | Meyéθη σχήματος onμων (mm) | Meyéθη βόδύν | Mýjocos (X) Επερωμα (Y) | |
| Polski | WYMIARY DO MONTAZU NASCIENNEGTO VESA | Rozmiary szablonu otworów (mm) | Rozmiary wkrętów | Dlugość (mm) Swint (Y) | |
| ćěstina | ROZΜÉRY DRŽÁKU NA ZED VESA | Rozměry velikosti dér (mm) | Rozměry šroubú | Délica (X) Závit (Y) | |
| Magyar | VESA FALI TARTÓ MÉRETEK | Lyukak méretények nagyságá (mm) | Csavar m Péret | Hossz (X) Menet (Y) | |
| Română | MÁSURÁTORI SUPORT PERETE VESA | Dimensiani tipar gaură (mm) | Dimensiani surunuri | Lungime (X) Filet (Y) | |
| Svenska | VESA VAGGMONTERINGSMÄTT | Hálmönsterstorlear (mm) | Skruvstorlekar | Längd (X) Tràd (Y) | |
| Nederlands | VESA WANDMONTAGE METENGEN | Grootte booropening (mm) | Schroefgroote | Lengte (X) Draad (Y) | |
| Suomi | VESA-SEINÄASENNUKSEN MITAT | Reikäkuvion koot (mm) | Ruuvinkoot | Pituus (x) Kierre (Y) | |
| Norsk | VESA VEGGMONTERINGSMÄL | Hullmønster størrelser (mm) | Skruestørrelser | Lengde (x) Tràd (Y) | |
| Dansk | VESA VEGGMONTERINGS-MAL | Hulmønster-størrelser (mm) | Skruestørrelser | Lengde(X) Tràd (Y) | |
| Pyccskii | PA3MEPBİ HACTEHNO KPEΠΕΝΥ VESA | Размени Stichtemby otberсту | Размени Винов | Длеса (Y) Peşьб (Y) | |
| Беларская | ПАМЕРБИ HACIJENHARA MAUBAHAHR VESA | Памерсь сістемы щадтейн | Памерсь війтоу | Дайские (X) Paşьб (Y) | |
| Makédonскі | МЕРКЗ 3A MOHTIPAHBE HA SUID 3A „BECA" | Шема на галемпни на димкату (mm) | Гolemma на чрафот | Долочma (X) Hapoj (Y) | |
| Урковский | PO3MPВИ HACTIHNO KPIΠΕΝΥ VESA | Відстань мік крільникі OTBOPAMII, MM | Розмірі Гвіntгі | Довочma (X) Дiamетри різб (Y) | |
| Srpski | DIMENZIE VESA ZIDNOG NOSA'CA | Dimenzije šalona za buşenje | Dimenzije zavrtnejva | Düzina (X) Navoj (Y) | |
| Slovenčina | ROZMÉRY DRŽÍKA NA STENU VESA | Rozmery velkosti dier (mm) | Rozmery skrutiek | Džka (X) Závit (Y) | |
| Slovensčina | MERE STENSKEGA NOSILCA VESA | Velikosti vžorca lukeni (mm) | Velikosti vijakov | Dolžina (X) Navoj (Y) | |
| Hrvatski | VESA MJERE ZIDNOG DRŽA'CA | Velizine uzorka otvora (mm) | Velizine vijka | Düzina (X) Navoj (Y) | |
| Bosanski | DIMENZIE VESA ZIDNOG NOSA'CA | Dimenzije šalona za buşenje | Dimenzije vijaka | Düzina (X) Navoj (Y) | |
| Бъларскі | PA3MEPN 3A KOMFЛECH 3A MOHTAJK HA CTEHA VESA | Размени Na otвора (mm) | Размени Бolyпа | Дылжинат (X) Peşьб (Y) | |
| Lietuviç | VESA TVIRTINIMO PRIÉ SIENOS MATAVIMAI | Angos šalbono dydis (mm) | Varžtu dydis | Igis (X) Srigis (Y) | |
| Latviešu | VESA SIENAS STIPRINAUM IA ZMÈRI | Caurumu šalbona izmīrs (mm) | Skržuž uzmēri | Garums (X) Vitne (Y) | |
| Eesti | VESA SEINALE KININITAME MÖÖDUD | Kruvi suuruse mõöt (mm) | Kruvi suurus | Körrgus(x) Keere (Y) | |
| Shqip | PERMASAT E NJÉISÉ SÉ MONIMIT NÉ MUR VESA | Madhésité modele t'érimave (mm) | Madhésité e vidhave | Gjatësia (X) Filetimi (Y) | |
| şajic | SEXUS LIXITIS GOLJ HADJ | (,) | SEXUS LIXITIS GOLJ HADJ | (,) | |
| şauč | VESA IOLO IOLO IOLO IOLO IOLO IOLO IOLO IOLO IOLO IOLO IOLO IOLO IOLO IOLO IOLO IOLO IOLO IOLO IOLO IOLO IOLO IOLO IOLO IOLO IOLO IOLO IOLO IOLO IOLO IOLO IOLO IOLO IOLO IOLO IOLO IOLO IOLO IOLO IOLO IOLO IOLO IOLO IOLO IOLO IOLO IOLO IOLO IOLO IOLO IOLO IOLE | (,) | SEXUS LIXITIS GOLJ HADJ | (,) | |
| şaučs | VESA IOLO IOLO IOLO IOLO IOLO IOLO IOLO IOLO IOLO IOLO IOLO IOLO IOLO IOLO IOLO IOLO IOLO IOLO IOLO IOLO IOLO IOLO IOLO IOLO IOLO IOLO IOLO IOLO IOLO IOLO IOLO IOLO IOLO IOLO IOLO IOLO IOLO IOLO IOLO IOLO IOLO IOLO IOLO IOLO IOLO IOLO IOLO IOLOIO IOLO IOLO IOLO IOLO IOLO IOLO IOLO IOLO IOLO IOLO IOLO IOLO IOLO IOLO IOLO IOLO IOLO IOLO IOLO IOLO IOLO IOLO IOLO IOLO IOLO IOLO IOLO IOLO IOLO IOLO IOLO IOLO IOLO IOLO IOLO IOLO IOLO IOLO IOLO IOLO IOLO IOLO IOLO IOLO IOLO IOLO IOLO IOLO IOLO IOlo IOLO IOLO IOLO IOLO IOLO IOLO IOLO IOLO IOLO IOLO IOLO IOLO IOLO IOLO IOLO IOLO IOLO IOLO IOLO IOLO IOLO IOLO IOLO IOLO IOLO IOLO IOLO IOLO IOLO IOLO IOLO IOLO IOLO IOLO IOLO IOLO IOLO IOLO IOLO IOLO IOLO IOLO IOLO IOLO IOLO IOLO IOLO IOLO IOLO IOLo IOLO IOLO IOLO IOLO IOLO IOLO IOLO IOLO IOLO IOLO IOLO IOLO IOLO IOLO IOLO IOLO IOLO IOLO IOLO IOLO IOLO IOLO IOLO IOLO IOLO IOLO IOLO IOLO IOLO IOLO IOLO IOLO IOLO IOLO IOLO IOLO IOLO IOLO IOLO IOLO IOLO IOLO IOLO IOLO IOLO IOLO IOLO IOLO IOLO IOLIO IOLO IOLO IOLO IOLO IOLO IOLO IOLO IOLO IOLO IOLO IOLO IOLO IOLO IOLO IOLO IOLO IOLO IOLO IOLO IOLO IOLO IOLO IOLO IOLO IOLO IOLO IOLO IOLO IOLO IOLO IOLO IOLO IOLO IOLO IOLO IOLO IOLO IOLO IOLO IOLO IOLO IOLO IOLO IOLO IOLO IOLO IOLO IOLO IOLO IQOIO IOLO IOLO IOLO IOLO IOLO IOLO IOLO IOLO IOLO IOLO IOLO IOLO IOLO IOLO IOLO IOLO IOLO IOLO IOLO IOLO IOLO IOLO IOLO IOLO IOLO IOLO IOLO IOLO IOLO IOLO IOLO IOLO IOLO IOLO IOLO IOLO IOLO IOLO IOLO IOLO IOLO IOLO IOLO IOLO IOLO IOLO IOLO IOLO IOLO IIOLO IOLO IOLO IOLO IOLO IOLO IOLO IOLO IOLO IOLO IOLO IOLO IOLO IOLO IOLO IOLO IOLO IOLO IOLO IOLO IOLO IOLO IOLO IOLO IOLO IOLO IOLO IOLO IOLO IOLO IOLO IOLO IOLO IOLO IOLO IOLO IOLO IOLO IOLO IOLO IOLO IOLO IOLO IOLO IOLO IOLO IOLO IOLO IOLO IOLO IQOOIO IOLO IOLO IOLO IOLO IOLO IOLO IOLO IOLO IOLO IOLO IOLO IOLO IOLO IOLO IOLO IOLO IOLO IOLO IOLO IOLO IOLO IOLO IOLO IOLO IOLO IOLO IOLO IOLO IOLO IOLO IOLO IOLO IOLO IOLO IOLO IOLO IOLO IOLO IOLO IOLO IOLO IOLO IOLO IOLO IOLO IOLO IOLO IOLO IOLO(IOLOIOIOIOIOIOIOIOIOIOIOIOIOIOIOIOIOIOIOIOIOIOIOIOIOIOIOIOIOIOIOIOIOIOIOIOIOIOIOIOIOIOIOIOIOIOIOIOIOIOIOIOIOIOIOIOIOIOIOIOIOIOIOIOIOIOIOIOIOIOIOIOIOIOIOIOIOIOIOIOIOIOIOIOIOIOIOIOIOIOIOIOIOIOIOIOIOIOIOIOIOOOIOIOIOIOIOIOIOIOIOIOIOIOIOIOIOIOIOIOIOIOIOIOIOIOIOIOIOIOIOIOIOIOIOIOIOIOIOIOIOIOIOIOIOIOIOIOIOIOIOIOIOIOIOIOIOIOIOIOIOIOIOIOIOIOIOIOIOIOIOIOIOIOIOIOIOIOIOIOIOIOIOIOIOIOIOIOIOIOIOIOIOIOIOIOIOIOIOIOIOio | (,) | (,) |
TR: Isbu belgede; VESTEL Elektronik Sanayi ve Ticaret A.Ş., telsiz ekipmani tipi TFT IDTV 'nin 2014/53/AB sayili direktife uygun olduğunu belyan eder. AB uygünlik beyanin tam metni internet adresinde mevcuttur: doc.vosshub.com
EN: Hereby, VESTEL Elektronik Sanayi ve Ticaret A.S., declares that the radio equipment type TFT IDTV is in compliance with Directive 2014/53/EU. The full text of the EU declaration of conformity is available at the following internet address: doc.vosshub.com
BG: C HactoTo VESTEL Elektronik Sanayi ve Ticaret A.S. DeKnapipa, Ye To3n TnnpaDIOscBOpBXeHne TFT IDTV e B CbOTBeTCTBnE C DInpeKTnBa 2014/53/EC. LJIIOCTTHnT TeKCT Ha EC DeKnapaunrTa 3a CbOTBeTCTBnE MOKe Da ce Hamepn Ha CneDNHn INHTepHET aDpec: doc.vosshub.com
CZ: Timto VESTEL Elektronik Sanayi ve Ticaret A.S., prohlasejue, ze typ radiosvho zaifizeni TFT IDTV je v souladu se smernici 2014/53/EU. Üplne zneni EU prohlaseni o shode je k dispozici na tefo internetové adrese: doc.vosshub.com
DA: Hermed erklærer VESTEL Elektronik Sanayi ve Ticaret A.S., at radioudstyristypen TFT IDTV er i overensstemmelse med direktiv 2014/53/EU. EU-overensstemmelseserklæringens fulde tekst kan findes på følgende internetadresse: doc.vosshub.com
DE: Hiermit erklart VESTEL Elektronik Sanayi ve Ticaret A.Ş., dass der Funkanlagentyp TFT IDTV der Richtlinie 2014/53/EU entspricht. Der vollständige Text der EU-Konformitätserklärung ist unter der folgenden Internetadresse verfügbar: doc.vosshub.com
EL: Me tny npouo a o/n VESTEL Elektronik Sanayi ve Ticaret A.S., 8nawvei o npaoioeog TFT IDTV nnpoi tv odnyia 2014/53/EE.To nnpes Kiejevo ts n6 dwnong oumuoppwong EE biatthetai otyn akolouon iooteAia OTo diaiktu: doc.vosshub.com
ES: Por la presente, VESTEL Elektronik Sanayi ve Ticaret A.Ş., declara que el tipo de equipo radioeléctrico TFT IDTV es conforme con la Directiva 2014/53/UE. El texto Completo de la交代ación UE de conformidad está disponible en la direction Internet信箱: doc.vosshub.com
ET: Käesolevaga deklareerib VESTEL Elektronik Sanayi ve Ticaret A.Ş., et käesolev raadioseadme tuupp TFT IDTV vastab direktiivi 2014/53/EL nouetele. ELi vastavusdeklaratsiooni täielik tekst on kattesaadamjärgmisel internetiaadressil: doc.vosshub.com
FI: VESTEL Elektronik Sanayi ve Ticaret A.Ş., vakuuttaa, etta radiolaitetyppi TFT IDTV on direktivin 2014/53/EU mukainen. EU-vaatimustemukaisuusvakuutuksen tāysimittainen teksti on saatavilla seuraavassa internetosoitteessa: doc.vosshub.com
FR: Le soussigné, VESTEL Elektronik Sanayi ve Ticaret A.S., déclare que l'equipement radioélectrique du type TFT IDTV est conforme à la directive 2014/53/UE. Le texte complet de la déclaration UE de conformité est disponible à l'adresse internet suivante: doc.vosshub.com
HR: VESTEL Elektronik Sanayi ve Ticaret A.S., ovime izjavluje da je radija oprema tipa TFT IDTV u skladu s Direktivom 2014/53/EU. Cjeloviti tekst EU izjave o sukladnosti dostupan je na sljedećoj internetskoj adresi: doc.vosshub.com
HU: VESTEL Elektronik Sanayi ve Ticaret A.Ş., igazolja, hogy a TFT IDTV típusu radioberendezés megfelel a 2014/53/EU irányelvnek. Az EU-megfeleloségi nyilatkozat teljes szövege elerhető a kovetkező internetes cimen: doc.vosshub.com
IT: Il fabbricante, VESTEL Elektronik Sanayi ve Ticaret A.Ş., dichiara che il tipo di apparecchiatura radio TFT IDTV è conforme alla direttiva 2014/53/UE. Il testo Completo della dichiarazione di conformità UE è disponibile al seguente indirizzo Internet: doc.vosshub.com
LT: Aš, VESTEL Elektronik Sanayi ve TicaretA.S., patvirtinu, kad radijo jrenginiu tipas TFT IDTV atitinka Direktyva 2014/53/ES. Visas ES atitikties deklaracijos tekstas prieinamas šiuo interneto adresu: doc.vosshub.com
LV: Ar šo VESTEL Elektronik Sanayi ve TicaretA.S., deklare, ka radioiekárta TFT IDTV atbilst Direktivai 2014/53/ES. Pilns ES atbilstibas deklarácijas teksts ir pieejams šādā interneta vietne: doc.vosshub.com
MT: B'dan, VESTEL Elektronik Sanayi ve Ticaret A.S., niddikjara li dan it-tip ta' taghmir tar-radju TFT IDTV huwa konformi mad-Direttva 2014/53/UE. It-test kollu tad-dikjarazzjoni ta' konformita tal-UE huwa disponibbli f'dan l-indirizz tal-Internet li gej: doc.vosshub.com
NL: Hierbij verklaar ik, VESTEL Elektronik Sanayi ve Ticaret A.S., dat het type radioapparatuur TFT IDTV conform is met Richtlijn 2014/53/EU. De volledige tekst van de EU-conformiteitsverklaring kan worden geraadpleegd op het volgende internetadres: doc.vosshub.com
PL: VESTEL Elektronik Sanayi ve Ticaret A.S., niniejszym oswiadcza, ze typ urzadzenia radiowego TFT IDTV jest zgodny z dyrektywa 2014/53/UE. Pelny tekst deklarazioni zgodnosci UE jest dostepny pod nastepujacym adresem internetowym: doc.vosshub.com
PT: O(a) abaixo assinado(a) VESTEL Elektronik Sanayi ve Ticaret A.Ş., declara que o presente tipo de equipoamento de rádio TFT IDTV está em conformidade com a Diretiva 2014/53/UE. O texto integral da declaração de conformidade está disponible no segunte endereço de Internet: doc.vosshub.com
RO: Prin prezenta, VESTEL Elektronik Sanayi ve Ticaret A.S., declară că tipul de echipamente radio TFT IDTV este în conformitate cu Direcîva 2014/53/UE. Textul integral al declarației UE de conformitate este disponibil la următoarea adresă internet: doc.vosshub.com
SK: VESTEL Elektronik Sanayi ve Ticaret A.S., tymto vyhlasuje, ze radiové zariadenie typu TFT IDTV je v sulade so smernicou 2014/53/EU. Üplné EU vyhlasenie o zhode je k disposicii na tejto internetovej adrese: doc.vosshub.com
SL: VESTEL Elektronik Sanayi ve Ticaret A.Ş., potruje, da je tip radijske opreme TFT IDTV skladen z Direktivo 2014/53/EU. Celotno besedilo izjave EU o skladnosti je na voljo na naslednjem splenetm naslovu: doc.vosshub.com
SV: Harmed forsakrar VESTEL Elektronik Sanayi ve Ticaret A.Ş., attenna typ av radioutrustning TFT IDTV overensstämmer med direktiv 2014/53/EU. Den fullständiga texten till EU-forsakran om overensstammelse finns på foljande webbadress: doc.vosshub.com
TELEFUNKEN
EasyManual