GVW845KOR - Dishwasher Pelgrim - Free user manual and instructions
Find the device manual for free GVW845KOR Pelgrim in PDF.
User questions about GVW845KOR Pelgrim
0 question about this device. Answer the ones you know or ask your own.
Ask a new question about this device
Download the instructions for your Dishwasher in PDF format for free! Find your manual GVW845KOR - Pelgrim and take your electronic device back in hand. On this page are published all the documents necessary for the use of your device. GVW845KOR by Pelgrim.
USER MANUAL GVW845KOR Pelgrim
Manual Dishwasher integrated
A-upper basket
B-upper spray arm
C - lower basket
D-lower spray arm
E - water-softening salt container
F - filter
G - containers for detergent and rinse-aid
Display (fig. 2)
A - programme selection buttons
B-end of washing cycle indicator
C-on/off indicator
D-salt level indicator
E-on/off button
F-start button
Introduction
When you have read these instructions for use, you will quickly be aware of all the facilities the appliance can offer you. You can read about safety and how you should look after the appliance. In addition you will find environmental tips and instructions that can help to save energy.
Keep the instructions for use and the installation instructions. Any later user of this appliance could benefit from them.
Table of contents GB
Appliance Information 20
Introduction 21
Safety 22-24
Before using the appliance 22
Things to watch out for 23
Controls 25-26
Programme overview 25
Explanation of programme 26
Use 27-32
Salt. rinse-aid and detergent 27
Baskets 30
The first cycle 32
End of programme 32
Faults 33
Trouble shooting 33
Cleaning 34-35
Installation 35-36
Mounting 37-38
Disposal of packaging and appliance 39
Before using the appliance
The appliance should only be connected by a qualified fitter (see electrical connection).
- Do not use the appliance if it has been damaged during transport. Contact your dealer.
This appliance is designed for household use only.
Do not use the appliance if you have wet hands or if you are standing on bare feet.
- Keep packaging material, such as plastic bags, polystyrene and wood out of the reach of children.
- Keep detergents out of the reach of children. Keep children away from the appliance: it is not a toy.
- Disconnect the appliance before starting to clean or repair it, preferably, by taking the plug out of the socket or by turning off the mains switch.
- Do not use an extension cable.
- Never clean electrical appliances (mixer, food processor etc.) in the dishwasher.
- Do not place any plastic utensils on the heating element. Plastic objects could melt.
- Never use detergents containing phosphates or bleaches.
- Avoid limescale by regularly refilling the regenerative salts. Use only the special salt intended for dishwashers (do not use iodized salt).
- Never fill the rinse-aid-, detergent- or salt compartments with solvents such as benzine, turpentine or alcohol. This could cause an explosion.
Regularly check that the sprinklers and the filter element are clean. - Never use the dishwasher without the filters.
Do not stand or sit on the open door of your dishwasher. The appliance may topple over. - Do not touch the heating element, either during or immediately after the end of the washing programme.
Things to watch out for
Before you place kitchenware in the machine
- First remove food remains. You thereby avoid blockages.
First soak any pots/pans that are very dirty.
Environmental tips
Save your dirty dishes up and only wash them when both baskets are completely full.
Always select the most suitable programme, depending on how dirty your dishes are.
Make no use, or as little use as possible, of the pre-rinse programme.
If possible, connect the machine to a hotwater plant with a maximum temperature of 60^ .
China ware
Not suitable:
All sorts of china ware with an onglaze decoration or edge which you can see and feel. Also consider the shape of the china ware. Bell-shaped cups break more easily than straight-sided cups. Under no circumstances should you put porous earthenware in your dishwasher.
Suitable: China ware fired at a temperature of 700/800 °C. Do not use too much rinse-aid in this case, to avoid any damage. Only white or single-colour
china ware which is fired at a temperature of 1200/1300 ^ C is completely dishwasher proof.
Glass
Not suitable:
Crystal or hand-blown glassware; glass on which the decoration has been burnt in; glassware with a gold edging.
Suitable:
All other glass.
Cutlery
Not suitable:
Cutlery with a wooden, earthenware or chinaware handle. There is a big risk of cracks. In fact, there is a big risk of cracks for all wooden objects washed in a dishwasher. Cutlery made of chromium steel is not very suitable for washing in the dishwasher. In the case of this cutlery, there is a risk of corrosion (rust).
Suitable
Cutlery made of chromium nickel steel 18/10. This high-quality cutlery is rustproof and acid-resistant. However, the blade of a knife may be made of a different material. Watch out for this. Silver or silver-plated cutlery is also dishwasher proof. But in this case the rinse-aid used must not contain any citric acid, since this damages the silver. Moreover, regular washing in the dishwasher may result in the silver becoming scratched.
Attention:
You will get longer-lasting pleasure from your cutlery and dishwasher if you follow these tips:
After using the cutlery - especially knives - rinse it under the tap. You hereby prevent it being damaged by food remains containing salt and acid.
Always place knives, forks and spoons in the dishwasher with the handle downwards.
- Do not put chromium nickel steel cutlery and chromium steel cutlery together in the dishwasher. Otherwise, you run the risk of rust contamination.
Take the cutlery out of the dishwasher immediately after the rinsing programme and dry it with a cloth. Never leave damp cutlery in the dishwasher.
- Never put silver and stainless steel cutlery in one basket together.
Silver cutlery should never be allowed to come into contact with aluminium, since this can damage the silver.
- Plastic pan handles can become dull.
Furthermore...
- Plastic objects must be heat-resistant.
Aluminium pans, kitchenware and various types of glassware may become discoloured after being washed several times in the dishwasher. Certain sorts of decoration may lose their colour.
Watch out for the indication 'Suitable for the dishwasher' in the case of glazed pottery.
When you buy new tableware, look for forms which are suitable for the dishwasher: such as straight, smooth sides, large openings, cavities which are not too deep, dishwasher-proof decoration, cutlery and earthenware.
Controls
| 1 5 4 3 2 | |||||||
| R 55°C ☐ ☐ ☐ | |||||||
| Programme overview | |||||||
| programm selection pre-wash switch rinse rinse rinse aid | |||||||
| Pre-rinse 1 yes no no no no | no | no | |||||
| Intensive 2 yes 55 °C yes yes | 55 °C yes | ||||||
| Normal 3 yes 65 °C yes | no | 65 °C yes | |||||
| Economy* 4 | no | 55 °C | yes | no | 65 °C | yes | |
| Short 5 | no | 45 °C | yes | yes | 65 °C | yes | |
- Recommended programme for use with new generation of enzyme-containing detergents.
NB: Only select pre-rinse with partial loads. You will then prevent food remnants drying on the dishes and pans, if you let the dirty dishes stand until the following day.
Programme explanation
Symbol Suitable for... Course of the programme
Dishes ready for the next Short, cold rinse to prevent leftover food from washing programme. drying.
Very dirty pans and Warm prewash at 45^ ; washing programme plates (no glassware). at 65^ ; 2 cold rinses and a warm rinse at 67^ ; drying.
Normally dirty pans and plates. Rinse at 45^ washing programme at 65^ 1 cold rinse and a warm rinse at 67^ drying
Washing normally dirty dishes Cold rinse; washing programme at 55^ ; immediately after use. 1 cold rinse and a warm rinse at 55^ ; drying.
R Washing slightly dirty dishes Short washing programme at 45^ 2 cold rinses immediately after use and a warm rinse at 67^ drying. max.6 couverts.
Salt, rinse-aid and detergent

fig.3
Topping-up the salt
Use only salt that is suitable for dishwashing machines for household use. If you make use of salt pellets, you must not fill the reservoir completely.
Under no circumstances should you make use of kitchen salt or industrial salt, since these contain non-soluble constituents which, over the course of time, can have a negative influence on the functioning of the water-softening device.
Add salt when the indicator light (fig. 2-D) on the display comes on.
Water softener
The dishwasher is equipped with an automatic water softener which, if used with salt which is suitable for dishwashing machines, extracts hard constituents from the water.
Hard water leaves behind white spots on the dry washing-up; moreover, the dishes and utensils will become dull in the course of time, losing their shine. The appliance can be adjusted in accordance with the degree of hardness of the tap water in your home and the related salt consumption.
At the time of leaving the factory, the machine is adjusted to an average degree of hardness.
After you have topped it up with salt, make care that you close the salt reservoir properly again. It is important that neither the detergent nor the washing water can flow over into the reservoir, since that could have a negative influence on the functioning of the regeneration device. The guarantee does not cover such a malfunction.
The salt reservoir is located at the bottom of the dishwashing machine. After having first removed the lower rack, unscrew the reservoir cap in an anti-clockwise direction, and pour in the salt, using the funnel (which is supplied with the dishwashing machine) (fig. 3).
- Remove any salt residue from the edge of the reservoir opening before you screw the cap closed again. The water-softener can contain approximately 1.7kg of salt.
During the first washing programme, also pour 1 litre of water into the reservoir, along with the salt.
The salt reservoir must always be filled immediately before a washing programme. In this way, the overflowing salt solution is always removed simultaneously by the washing-up water. The long-term presence of salt solutions can cause corrosion of the housing.
Adjustment of the water-softener
The dishwashing machine is equipped with a device which can be adjusted to the degree of hardness of the tap water. After having opened the door, you will find the device located in the interior on the right, and it can be adjusted with the aid of a coin (see fig. 4). This model can be set to one of five settings. Before adjusting the water-softener, please consult the table below and set the number of the chosen level (1,2,...) to the reference symbol.

fig.4
Model with 5 settings
| water hardness settingsGerman Frenchdegrees degrees | ||
| 0 - 9 °dH 0 - 15 °dF setting 110 - 15 °dH 0 - 25 °dF setting 116 - 23 °dH 26 - 40 °dF setting 224 - 34 °dH 41 - 60 °dF setting 335 - 46 °dH 61 - 80 °dF setting 447 - 58 °dH 81 - 100 °dF setting 5 | (no salt) | |
Rinse-aid

Open the rinsing agent reservoir (see fig. 5) on the inside of the door, next to the detergent reservoir.
The means of operation will depend on the type of dishwasher: the containers all work on the basis of the same principle.
Unscrew the lid of the rinse-aid reservoir in an anti-clockwise direction.
Pour rinse-aid into the container and then close it again.
The container has a capacity of 140 cc.
Every now and again check the level of the rinse-aid.
The level gauge (A) is located to the upper left of the lid.
Reservoir empty: O
Reservoir full:
The correct quantity of rinse-aid per washing cycle is adjustable.
Turn the knob (B) in the container to the desired setting (C). The amount of rinse-aid is in proportion to the numbers on the knob.
- Increase the amount (choose a higher number):
Washed kitchenware is dull or flecked as a result of dried drops of water.
- Reduce the amount (choose a lower number):
Washed kitchenware is sticky or has whitish streaks.
Remark:
As standard, the rinse-aid reservoir is set to an average dose.

Detergent
1g.6a
In the door, next to the rinsing agent reservoir, there is also a reservoir for the detergent (see fig. 6a).
- Open the lid of the reservoir by pressing button (A).
Fill the reservoir (B) with approx. 25 grams of detergent. Follow the detergent manufacturer's guidelines.
If you select the 'intensive' programme, please take the following steps: Fill the reservoir (B) with approximately 20 grammes of detergent, and fill the prewash detergent reservoir (C) with approximately 10 grammes of detergent. Close the lid. Depending on the model concerned, the reservoir (C) may be on the top of the lid in the form of a recessed area (see fig. 6b).
Remark:
The container lid is opened automatically during the washing cycle in order to add the detergent to the water. If washing tablets are used - in a holder attached to the cutlery basket - the container should be closed.
Contact the Water Company to make enquiries about the hardness of the mains water.
Baskets
The dishwasher has a capacity of twelve covers. The lower rack is intended for washing-up which is extra dirty. The upper rack is intended for small and medium-sized washing-up, such as glasses, small plates, tea- and coffee cups and shallow dishes.
Adjustment of the height of the upper basket
The top basket can be placed at two different levels depending on the height of the dishes to be washed.
Pull the rack all the way forwards and turn the cover caps on the left and right outwards (see fig. 7). Remove the basket. Place the other set of wheels in the rails (see fig. 8). Push the rack back into the machine and replace the cover caps.

fig.7

fig.8
Upper basket in the high position
In this setting, the basket is suitable for small and medium kitchenware, such as glasses, small plates, cups, basins and light plastic objects which are heat-resistant.
Upper basket in the low position
In this setting, the basket is suitable for large plates (which are not too dirty).
Loading the top basket
- Stack the plates with the top side facing forwards.
- Stack cups and bowls or dishes with the opening down.
On the left-hand side of the basket - at two levels - you can place cups and glasses. You can flip the upper draining racks upwards.
Loading the lower basket
- Like the upper basket, the lower basket can be completely pulled out by first fully opening the door.
Place soup, flat and dessert plates, pans, lids and saucers in the lower basket.
Place plates with their top side facing forwards, or towards the middle. Make sure that there is always space remaining between the plates, so that the water can flow freely over them. - Place bowls and pans with the opening down.
Cutlery container
The cutlery container is suitable for all types of cutlery.
In the cutlery container, place the knives, forks and spoons with their handles downwards. Always check whether or not the spray arms can rotate freely.
The first cycle (see fig. 2)
Turn the tap on fully.
- Open the door so that you can access the control knobs.
Switch on the appliance with button The indicator lamps and are now on (if the indicator lamp does not come on, keep button -pressed).
Select a programme with the knobs 1-5. See table on page 25.
Press until the indicator light goes out.
- Close the door. The programme will begin after a short while.
End of programme
The indicator lamp comes on.
- Open the door so that you can access the control knobs. Switch the appliance off with the button. The indicator lamps go out.
If you have selected a programme with a drying cycle, you can empty the machine after about 30 minutes. Keep the door closed for that period.
- Unload the dishwasher. Be careful:
- The kitchenware could be hot.
- Unload the lower basket first. If you unload the upper basket first, drops of water could fall on the kitchenware in the lower basket.
To interrupt a programme which is running, open the door and then select the 'pre-rinse programme' (回 + 回) . Next, close the door. After a few minutes, the dishwasher will move to the setting 'end of cycle' (回) . You can now take the tableware out of the dishwasher.
Interruption In a running program
Open the door carefully, so that there is no water squiring out of the machine.
When the water is already heated up, close the door completely only after some minutes resting in leaned position. Add eventuelle extra loading. Caution: -the tablewear inside can be very hot.
Trouble shooting
If the machine does not work properly, first check if you can solve the problem yourself with the help of the accompanying table. Often the cause of the problem is something very small.
The programme does not start
cause remedy
The plug is not in the Put the plug in the socket. socket.
The door is not closed Close the door properly.
Defective fuse in Check the fuse-box. the fuse-box.
No water in the appliance
cause remedy
The water tap is not on. Tum the water tap on.
There is a kink in Make sure the water inlet the water inlet hose is hanging freely.
There is another cap Remove the cap.
located in the discharge
hose, or in the discharge
hose connection on the
siphon.
Programme interrupted
cause remedy
The water tap is not on Turn the water tap on fully.
The tap filter is dirty. Clean the tap filter.
The trap cap of the siphon Place the trap cap in the is not in place. siphon.
The kitchenware is not clean
cause remedy
Wrong programme. Select the correct washing programme.
Spray arms blocked. Make sure that the spray arms can rotate freely. Check that the kitchenware has been loaded properly. Clean the filters.
Incorrect amount of Adjust the amount of
detergent.detergent. Check that there
is still some salt in the salt container. Make sure that the salt container is correctly adjusted to the hardness of the water.
Kitchenware not dry and not gleaming
cause remedy
Wrong detergent used.
Use a good detergent.
Incorrect amount of Use more detergent. detergent.
Whitish spots or streaks on the kitchenware
cause remedy
Incorrect amount of Use less rinse-ald. rinse-ald.
Dried drops of water on the kitchenware
cause remedy
Incorrect amount of Use more rinse-aid. rinse- aid.
Cleaning
First disconnect the appliance from the power supply (see also page 22).
Spray arms (see fig.9)
Take out the upper spray arm by pulling it with a turning movement - vertically downwards.

ng.9
Take out the lower spray arm by pulling it vertically upwards (see fig. 10). Rinse the spray arms clean under the tap.
Microfilter (see fig. 10)

Fig. 10
Remove the filter unit by turning the clips (A) a quarter of a turn to the left and lifting them straight out.
Remove the microfilter (B) by unscrewing the bayonet catch.
Press on the clips (C) and remove the filter mesh.
Clean the filter mesh with a brush under running water.
Reassemble the filter unit in reverse order.
Course filter (see fig. 11)

fig.11
Remove the spray-arm mounting (A) by turning it anticlockwise.
Remove the course filter (C).
Clean the course filter under running water using a brush.
Fit the course filter. spray-arm mounting and cap in reverse order.
Installation
Electrical connection
230V-50Hz
General
If the appliance does not have a connecting cable and plug, then it may only be connected to the mains by an approved installer.
Note:
The power rating and required mains voltage are shown on the rating plate. Connection should take place according to national and local regulations.
If the input of the appliance exceeds 3kW the appliance has to be connected to an outlet with a rated current exceeding 13 Amps.
Technical information
Connected load kW see identification plate
Dimensions:
Max. height mm 870
Min. height mm 820
Width mm 446
Depth mm 550
Door panel:
Max. height mm 720
Min. height mm 448
Depth mm 598
Max. height mm 170
Min. height mm 100
What else you should watch out for
Always fit tap, drainage and earthed plug/wall socket within reach.
Make sure that the skirting-board can be removed. It must be possible to take the dishwasher out of its recess for maintenance or repair work.
Connect water inlet hose/aquastop to a self-venting water tap with a 3/4'' screw connection. Make sure that no dirt remains in a newly installed water pipe.
The dishwasher may be connected either to a cold-water tap or to a hot-water tap (maximum 60^ ). If you connect the dishwasher to a hot-water tap, the washing time will be reduced by about twenty minutes. However, the dishwasher will wash less efficiently.
Do not drill holes in the door or walls. The dishwasher could be damaged beyond repair.
Adjusting the height
The height of the dishwasher may be adjusted from 820 to 870mm by means of the adjustable feet. Before you do this, measure the height of the recess.
- It is advisable to place the appliance on a so-called dishwasher platform. Ask your kitchen dealer for information.
Mounting
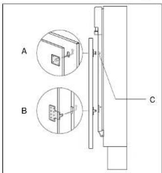
Installing door panel (see fig. 12a/12b)

0g.12a

69.12b
Place the template on the inside of the door panel.
The top of the template is the top of the door panel.
The top of the template must be placed level with the top of the door panel. Centre the template on the right and left sides with the aid of the measuring marks.
Transfer the markings of the drill holes on the template onto the door.
If the door panel is made of solid wood, predrill the holes with a 2 mm drill (12 mm deep).
Note
Allow for possible differences in the thickness of the panel (milled hollows or bevelled edges).
Fit the attachment material to the door, as indicated on the template. Be careful of the position of the flat sides for the upper attachment pins: these must point outwards.
- Attach the panel to the door of the dishwasher by pressing the upper pins (A) into the slots of the plastic section. Hang the lower hooks in the slots on the left and right at the front.
- Faster the bottom hooks from the front with M5 screws (B).
Disassembling door panel
Remove the screws (B).
Pull the pins in the left and right side of the panel outwards with the aid of the plastic tool provided (C).

Adjusting the spring tension (see fig. 13)
As standard setting, the door is adjusted to the lowest spring tension.
Increase the tension of the spring by turning the two adjusting screws (A) in a clockwise direction with a screwdriver. The tension of the spring is correct if the door is in a state of equilibrium when open.

Positioning (see fig. 14)
What else you should watch out for
Do not make the free space around the appliance larger than three millimetres. If there is more free space, there is the risk of contact with electrical components of the appliance.
Note:
You should not allow the hoses to develop kinks or get flattened during the installation of the dishwasher in the recess.
Secure the adhesive film supplied to the underneath of the work top.
Adjust the dishwasher so that it is level.
Mount the dishwasher to the unit top.
Mount the plinth in place.
Carefully open the dishwasher to check whether or not the door hits the plinth.
If this is the case, mark the part of the skirting-board to be removed. Leave a free space of three millimetres between the door and the skirting-board so that the door can open and close freely.
Make the sawn-off piece of skirting-board waterproof -with paint,for example-and replace the skirting-board.
Disposal of packaging and appliances
The packaging of the appliance is recyclable. It consists of:
-cardboard
polyethylene
CFC free polystyrene (PS rigid foam)
polypropylene straps around the box
Please dispose of these materials in a responsible way in accordance with the regulations of your local authority.
Your local authority will also be able to give you information about disposing of used household appliances in a responsible way.
Description de I'appareil (fig.1)
connectee:didentification
Dimensions:
Hauteur max. mm 870
Hauteur min.mm 820
Largeur mm 446
Profondeur mm 550
Panneau de porte:
Hauteur max. mm 720
Hauteur min. mm 650
Largeur mm 448
Socle:
Hauteur max. mm 170
Hauteur min.mm 100
EasyManual