BHG 750C - Heating AEG - Free user manual and instructions
Find the device manual for free BHG 750C AEG in PDF.
Questions des utilisateurs sur BHG 750C AEG
0 question sur cet appareil. Repondez a celles que vous connaissez ou posez la votre.
Poser une nouvelle question sur cet appareil
Download the instructions for your Heating in PDF format for free! Find your manual BHG 750C - AEG and take your electronic device back in hand. On this page are published all the documents necessary for the use of your device. BHG 750C by AEG.
USER MANUAL BHG 750C AEG
Operation and installation 10
- General information 11
- Safety 11
- Appliance description 12
- Operation 12
- Cleaning, care and maintenance 13
- Troubleshooting 13
INSTALLATION
- Safety 13
- Appliance description.. 13
- Installation 13
- Power supply. 14
- Troubleshooting 14
- Appliance handover 14
- Specification 15
GUARANTEE
ENVIRONMENT AND RECYCLING
SPECIAL INFORMATION
- Keep children under the age of 3 away from the appliance if constant supervision cannot be guaranteed.
Children from the age of 3 to 7 may switch the appliance on and off, provided they are supervised or have been instructed in the safe operation of the appliance and understand any risks that may result there from. This is subject to the appliance having been installed as described.
Children from the age of 3 to 7 must not plug the power cable into its socket nor regulate the appliance.
The appliance may be used by children aged 8 and up and persons with reduced physical, sensory or mental capabilities or a lack of experience and know-how, provided that they are supervised or they have been instructed on how to use the appliance safely and have understood the resulting risks.
Children must never play with the appliance. Children must never clean the appliance or perform user maintenance unless they are supervised.
- Parts of the appliance can get very hot and may cause burns.
Particular caution is advised when children or vulnerable persons are present.
- Never install the appliance directly below a wall socket.
In the case of a permanent connection, the appliance must be able to be separated from the power supply by an isolator that disconnects all poles with at least 3mm contact separation.
In the event of damage to the power cable this must always be replaced by a qualified electrician authorised by the manufacturer, using original spare parts.
- Secure the appliance as described in chapter "Installation / Installation".
OPERATION
1. General information
The chapter "Operation" is intended for appliance users and qualified contractors.
The chapter "Installation" is intended for qualified contractors.

Note Read these instructions carefully before using the appliance and retain them for future reference. Pass on the instructions to a new user if required.
1.1 Safety instructions
1.1.1 Structure of safety instructions

KEYWORD Type of risk Here, possible consequences are listed that may result from failure to observe the safety instructions. Steps to prevent the risk are listed.
1.1.2 Symbols, type of risk
| Symbol Type of risk | |
| ! | Injury |
| Electrocution | |
| Burns (burns, scalding) | |
1.1.3 Keywords
| KEYWORD | Meaning |
| DANGER | Failure to observe this information will result in serious injury or death. |
| WARNING | Failure to observe this information may result in serious injury or death. |
| CAUTION | Failure to observe this information may result in non-serious or minor injury. |
1.2 Other symbols in this documentation

Note General information is identified by the symbol shown on the left.
» Read these texts carefully.
| Symbol Meaning | |
| ! | Material losses (appliance damage, consequential losses and environ- mental pollution) |
| Appliance disposal | |
» This symbol indicates that you have to do something. The action you need to take is described step by step.
1.3 Units of measurement

Note
All measurements are given in mm unless stated otherwise.
2. Safety
2.1 Intended use
The appliance is an electric direct heater for installation on a wall.
This appliance has been designed as a booster heater for use between seasons. It is particularly suitable for bathrooms and drying bathrobes and towels.
This appliance is intended for domestic use. It can be used safely by untrained persons. The appliance can also be used in a non-domestic environment, e.g. in a small business, as long as it is used in the same way.
Any other use beyond that described shall be deemed inappropriate. Observation of these instructions and of instructions for any accessories used is also part of the correct use of this appliance.
2.2 General safety instructions

WARNING Injury
- Keep children under the age of 3 away from the appliance if constant supervision cannot be guaranteed.
Children from the age of 3 to 7 may switch the appliance on and off, provided they are supervised or have been instructed in the safe operation of the appliance and understand any risks that may result there from. This is subject to the appliance having been installed as described. Children from the age of 3 to 7 must not plug the power cable into its socket nor regulate the appliance.
The appliance may be used by children aged 8 and up and persons with reduced physical, sensory or mental capabilities or a lack of experience and know-how, provided that they are supervised or they have been instructed on how to use the appliance safely and have understood the resulting risks.
Children must never play with the appliance. Children must never clean the appliance or perform user maintenance unless they are supervised.

CAUTION Burns
Parts of the appliance can get very hot and may cause burns. Particular caution is advised when children or vulnerable persons are present.

Note
Operate the appliance only when fully installed and with all safety equipment fitted.
3. Appliance description
This appliance has been designed as a booster heater and is particularly suitable for bathrooms, as well as drying and warming bathrobes and towels. You can place your towels at various heights.
The appliance heats the room through natural convection and radiated warmth. The integral room thermostat keeps the room at the set temperature. For this, it is important that the appliance's heating output matches the room's heat demand. This only applies if no towels or bathrobes are hung on the appliance.
The boost function enables the appliance to be operated at full heating output without temperature control for a limited period of 2 hours. You can program the time at which the appliance starts automatically every day.
The appliance is ready for operation when it has been fixed to the wall and plugged into the mains.
4. Operation
4.1 User interface description
You operate the appliance by means of its user interface.

1 ON/OFF indicator
2 Heat indicator
3 Temperature selector
4 "24h auto" setting range
5 Rotary selector
4.2 Switching the appliance on
» Set the mode selector to "ON".
Set the required room temperature with the temperature selector. You can choose between 10^ and 30^ .
The heat indicator lights up when the appliance starts to heat. The heat indicator goes off when the temperature set at the temperature selector is reached.

Note
If several appliances are installed in one room, a different temperature can be set at each one.

Note
To avoid excessive power consumption when windows are open, stop the appliance while venting.
4.3 2 h boost function
Enable
Switch the appliance on.
» Press the mode selector for about a second.
The ON/OFF indicator and the heat indicator illuminate. The appliance heats for 2 hours at full output.
At the end of the 2 hours, the appliance returns to standard operation with the temperature selector. The heat indicator and ON/OFF indicator extinguish.
Disable
Press the mode selector for about a second.
The heat indicator and ON/OFF indicator extinguish. The appliance returns to normal operation controlled by the temperature selector.
4.4 24 h automatic function
The 24 h automatic function repeats the 2 h boost function automatically every 24 hours.
Enable
Turn the mode selector fully clockwise to "24 h auto".
The ON/OFF indicator and the heat indicator illuminate. The appliance heats for 2 hours at full output.
At the end of the 2 hours, the appliance returns to standard operation with the temperature selector. The heat indicator and ON/OFF indicator extinguish.
The 2h boost function starts the following day 45 minutes before the time when the appliance was set to "24h auto".
Example:
You would like your bathroom to be at the required temperature at 07:00 h in the morning.
» On the first day at 07:00 h in the morning, set the rotary selector to "24h auto".
The appliance immediately starts heating as per the 2 h boost function. The next day, the 2h boost function automatically starts at 06:15 h in the morning, in order to heat up the bathroom for 07:00 h.
Interruption
You can interrupt the 2 h boost function at any time without changing the start time.
» Press the mode selector for about a second.
The heat indicator and ON/OFF indicator extinguish. The appliance returns to normal operation controlled by the temperature selector.
On the following day the 2 h boost function will resume from the usual start time.
Disable
Turn the mode selector fully anti-clockwise to "ON". The heat indicator and ON/OFF indicator extinguish. The appliance returns to normal operation controlled by the temperature selector.
4.5 Childproofing
This function prevents the temperature setting from being changed unintentionally.
If the childproof setting is active, the temperature and mode selectors are not operational. The ON/OFF indicator flashes if you adjust the mode selector/temperature selector.
Enable
Press and hold the mode selector for more than three seconds.
The ON/OFF indicator flashes consecutively five times. This tells you that the childproof setting is active.
You can also use the 2 h boost function as usual when childproofing has been enabled.
Disable
Press and hold the mode selector for more than three seconds.
The ON/OFF indicator flashes consecutively five times. This tells you that the childproof setting is disabled.
4.6 Shutting down the system
Stop the appliance by turning the rotary selector to "OFF".
The ON indicator goes off.
Pull the mains plug out of the wall socket.
5. Cleaning, care and maintenance
Clean the surfaces when cold with a soft cloth and ordinary cleaning products.

Note
Avoid abrasive or corrosive cleaning products.
6. Troubleshooting
6.1 Fault table
| Fault Cause Remedy | ||
| The heated air smells unpleasant. | This can be caused by dust during com-missioning. | The smell will dissipate within a few minutes. |
| The appliance does not heat up. | The MCB/fuse has responded/blown. | Replace the fuse/reset the MCB. |
| The appliance heats continuously. | The appliance is subject to a continuous draught. | Remedy the cause of the draught. |
| The temperature setting was changed. | Set the required room temperature at the temper- ature selector. | |
| There is a fault with the power supply. | Disconnect the appliance from the power supply for 10 minutes and then switch it back on. If the problem occurs regularly, arrange for your power supply utility to check the power supply. | |
| The 24 h automatic function is not per-formed. | There was a power failure. | Set the 24 h automatic function again. |
| The setting at the oper-ating mode selec-tor was changed. | Set the 24 h automatic function again. | |
| The clocks have changed to summer/wintertime. | Set the 24 h automatic function again. | |
| The elements at the very top and bottom don't get as warm as the rest of the appliance. | The elements at the top have not completely filled. | The heating medium ex-pands when it gets warm. It takes a little longer for these elements to heat up. |
| Dirty marks appear on the wall around the appliance. | Dirty marks are caused by contam-inated air from the interior (candles, cig-arette smoke, poor ventilation etc.). | Remedy the cause of any air contamination. |
If you cannot remedy the fault, notify your qualified contractor. To facilitate and speed up your request, provide the number from the type plate (000000-0000-000000).
The type plate is located underneath the appliance on the right hand side.
INSTALLATION
7. Safety
Only a qualified contractor should carry out installation, commissioning, maintenance and repair of the appliance.
7.1 General safety instructions
We guarantee trouble-free function and operational reliability only if original accessories and spare parts intended for the appliance are used.
72 Instructions, standards and regulations

Note
Observe all applicable national and regional regulations and instructions.
8. Appliance description
8.1 Standard delivery
- Wall mounting bracket with fixing materials
2 bathrobe hooks
The appliance is delivered fully wired.
9. Installation
9.1 Installation site

Material losses
Observe the minimum clearances in chapter "Specification".

Material losses
Fit the appliance to a vertical wall that is temperature-resistant to at least 80^ .

Material losses
Never install the appliance directly below a wall socket.
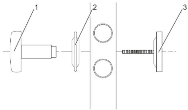
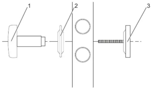
9.2 Wall mounting

Note
Observe the dimensions and minimum clearances in chapter "Specification".

1 Retainer screw
2 Wall sleeve
3 Lock screw
4 Retainer
5 Cap

26.07.80.0054

Note
Note the alignment of the wall sleeves.
» Use screws to secure the wall sleeves.
» Secure the retainers to the rungs. Do not yet tighten the retainers.

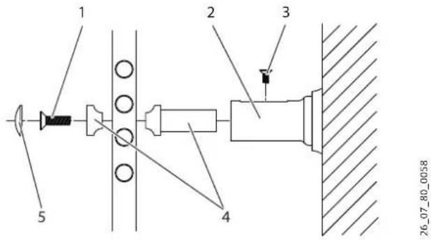
26-07-80-0058
Fit the wall mounting bracket. For this, observe the slot position. The slot must point respectively up or down.

» Assemble the appliance and wall mounting bracket.
» Insert and tighten the screws to secure the appliance.
9.3 Fitting the bathrobe hooks

26 07 80 0055
1 Bathrobe hook
2 Washer
3 Bathrobe hook backplate
» Fit the bathrobe hooks as shown.
10. Power supply

WARNING Electrocution
In wet rooms such as shower rooms and kitchens, install the flush box at least 25cm above the floor.

WARNING Electrocution
Never operate the appliance with an extension cable or a multiple socket.

Material losses
Ensure the appliance can be separated from the power supply by an isolator that disconnects all poles with at least 3mm contact separation. For this, use contactors, mains isolators, fuses, etc. Installation with a permanent power cable is not permitted.

Material losses
Observe the type plate. The specified voltage must match the mains voltage.

Note
Carry out all electrical connection and installation work in accordance with national and regional regulations.

Note
Ensure a standard socket or junction box for a permanent power supply is installed at a distance of at least 10cm from the side of the appliance.
11. Troubleshooting
The power cable must only be replaced by a qualified contractor using original spare parts.
12. Appliance handover
» Explain the functions of the appliance to the user.
» Draw special attention to the safety instructions.
Pass on the operating and installation instructions to the user.
13. Specification
13.1 Dimensions

D0000026162
| BHG | 500 W | BHG 750 W | BHG 750 C | BHG 1000 W | |||
| a10 | Appliance | Height | mm | 998 | 1453 | 1658 | 1781 |
| a20 | Appliance | Width | mm | 480 | 480 | 600 | 550 |
| a30 | Appliance | Depth | mm | 100 | 115 | 110 | 115 |
| i13 | Wall mounting bracket | Hole spacing vertical | mm | 779 | 1230 | 1435 | 1599 |
| Hole spacing horizontal | mm | 350 | 350 | 450 | 400 | ||
13.2 Minimum clearances

D000026163
13.3 Data table
| BHG 500 W | BHG 750 W | BHG 750 C | BHG 1000 W | ||
| 236572 | 231950 | 231951 | 233861 | ||
| Electrical details | |||||
| Power supply | 1/N ~ 230/240 V | 1/N ~ 230/240 V | 1/N ~ 230/240 V | 1/N ~ 230/240 V | |
| Connected load | kW | 0,5 | 0,75 | 0,75 | 1,0 |
| Dimensions | |||||
| Height | mm | 998 | 1453 | 1658 | 1781 |
| Width | mm | 480 | 480 | 600 | 550 |
| Depth | mm | 100 | 115 | 110 | 115 |
| Weights | |||||
| Weight | kg | 12 | 16 | 24 | 30 |
| Versions | |||||
| Frost protection setting | °C | 6 | 6 | 6 | 6 |
| IP-Rating | IP24 | IP24 | IP24 | IP24 | |
| Protection class | II | II | II | II | |
| Colour | com-mercial white, RAL 9016 | com-mercial white, RAL 9016 | Chrome | com-mercial white, RAL 9016 | |
| Values | |||||
| Setting range | °C | 6-30 | 6-30 | 6-30 | 6-30 |
Guarantee
The guarantee conditions of our German companies do not apply to appliances acquired outside of Germany. In countries where our subsidiaries sell our products a guarantee can only be issued by those subsidiaries. Such guarantee is only granted if the subsidiary has issued its own terms of guarantee. No other guarantee will be granted.
We shall not provide any guarantee for appliances acquired in countries where we have no subsidiary to sell our products. This will not affect warranties issued by any importers.
Environment and recycling
We would ask you to help protect the environment. After use, dispose of the various materials in accordance with national regulations.
REMARQUESPARTICULIERES
UTILISATION
9.3 Montage badjashoulders

26 07 80 0055
1.3 EdnHnCbIn3MepeHna

Yka3aHne
EcnH He yka3aHO Hoe, Bce pa3MepbI npBedeHb B MnI NmMeTpax.
2. TexHnka 6e3OnacHoCTn
2.1 VcnoB3ObaHne no Ha3HaueHmIO
Pnp6op npedctabnreT c0bO 3neKtpnueckn o6orpeBaTeB npAmoro HarpBa DnHaCTeHHOro MOHTaxa.
Pnp6op npedHa3NaueH nna 06orpeBa aHHbIX KOMHaT B Mekce3oHbe, nna nnonHnTeBHoro 06orpeBa aTKke nna cywn 6aHHbx xanaTOB nnonoteHeu.
Pp6op npedha3aueH d7 6b10BOrO nCnOlb3oBaHna. Ieraero6e3oNaChoro 6ocnykBaHna NOb3oBaTeH He Tpe6yetc npoxoAnTb uHCTpykTaK. Bo3moXHO nCnOlb3oBaHne np60pa He ToIbKO B 6bIy, Ho H, HApnPmep, Ha npEepnPaTnxMaIoro 6n3HeCa Pn yCNOBn Co6NIOeHn Tex Xe YcNoBn EKcnNyataun.
JIIO6oe INHOe INH He yKa3aHHoe B HAcToIeM pyKOBOCTBe IcNOb3OBAHme DaHHOro YcTPOIcTBa CHTaTeTCNcNOb3OBAHNEM He No Ha3HaueHNI. NcNoB3OBAHne NO Ha3HaueHNI IOpa3yMeBaET co6JIooHeHne Tpe6OBAHn HAcTOIeRpyKOBOCTBa, a TaKKe pyKOBOCTB K NcNOb3YeMbIM npHaJdJIEXHOCTAM.
2.2 06uye yka3aHnno TeXnke 6e3onacHOCTn

IPEDYIPEXDEHNE TpaBma
DeTAMBBO3pacteDo3netanpeueho nObn30BaTcnp6opom,ecnOnHHe HaxoJrTcnoNocToaHHbIMPncmOTpOMB3pocblx.
O DeTAM B Bo3pacte ot 3 do 7 neT pa3peweHo BKnIO- TaTb N BBkIIOuATb npn6op TOnbKO nOg npncMoTpOM B3pocNbIX nnn NOcNE COOTBeCTBcyIOeero HnCTpyKtaxa O npabnax 6e30nachoro noB3OBaHn NnoTeHnnaBHO ONACHOCTB Cnyae HecO6NIoDEHn 3TNx npabIN. HenPemehHBm ycNOBnEM ABJareTC MoTAtk np60pa, BblONHeHHb B COOTBeCTBnC yKa3aHnMn HAcToIe pyKOBODCTBa. DeTAM B Bo3pacte ot 3 do 7 neT zanpeueHO BKnIOu- TaTb WTEkePHyU Bnky Bpo3eTKy N BblONHrTa b perynipobAHne np60pa.
O DeTAM CTAPWE 8NET, a TAKKEn NnUaM cOrpaHnueHbIMNΦm3uYeCKMN, CEHCOPHBIMN UyMCTBeHHbIMN CNOcO6HOCTAMN, He IMeOuMM ONbTA u Hne Bla-DeIOuMM INHOFOpMaunE O np6ope, pa3peuHo NCNoJIb3OBaTB np6Op TOBko NOd npNCMOtpOM dpyrNX NnI NnOncE COOTBeCTBYIOUeO NHCTpykTxA O npabnax 6eONacHoro NOnb3oBaHN nNOTEHnJALbHO nAnchocTn B cnYae HecO6NJdoH HnA 3TNX npABIN.
He donyckatb wanocte Detet c npu6opom. Detm Moryr BblnoHnTb uNCTky npu6opa n Te BuDbl Texnueckoro 06cnykBaHn, KOTOpBie 06bUHO npOn3BOaTcNoB3OBeTeNeM, TOnbKO nOd npu-CMOTPOM B3Pocnbix.

OCTOPOXHO oxor
3nementb np6opa Moryt HarpeBaTbca Do BbICOKX TemnepaTp N Bbl3bBAbTa bokr. Oco6aocTopoKHOCTb Heo6xOma Ta, rde ectb dTeN, HhBaHnDb n nnua noKmnoro Bo3pacta.

Yka3aHHe
UcnoB3OBaTb np6Op cneJyET TOnbKO B NOnHocTbIO co6paHHOM BuDe CO BCEMN yCTaHOBJIeHHbIMN ppeOxaHHTenbHbIMN yCTpOCTBaMn.
2.3 3HaK TexHnueckoro KOHTpOJa
Pn HnHnN B NomeeHn HecKoBKnx Pnp6opOB Ha KaXdOM N3 HNX MoXHO HAcTpOb pa3HyIO TempepaTypy.

yKa3aHne
Bo n36eKaHHe Upe3MepHOro pacxOda 3neKtpo3Heprnn npn OTkpbItbIX OKhAX BO Bpemn npOBetpmbAHm cneDy-et BBkIIOuAtb npn6op.
-acyoBoI pexnM Boost (ntHeCNBHorO harpeBa)
AKTUBaun
BkIIOuHTb npu6Op.
HaxKaTb HnpeKIOuATEnb peXIMOB uYepXNBaT b erOpnpMepHO Ondy CekyHy.
INHdkaTOp pexkma pa60bI u INHdkaTOp HaraepBa 3aropTcB. B TeueHne 2 YacOB npu6Op 6ydet pa60TaTb C noJHO MOUHOCTbIO HarpeBa.
No nCTeueHm 2 acob np6op Bo3Bpaaaetc B O6bHbI pexM pa60t b cornacho HacTpoKe peyraTopa Temnepa-tpyb. INdkatop pexMa pa60t b INdkatop HarpeBa BblIOuHaTcR.
DeakTnBaun
HaxaTb HnpeKIOuAteIb peKIMOB uYepXnBaTb erOpnpmePnoOndycekyHy.
HINIKaTOp pexima pa6oTbI INHINKaTOp HArpeBa BbIKIOuATcR.Pn6Op BepHeTcB O6bUHbI peXIM pa6oTbI cOrlaHo HAcToPeKe peryJrTopa TempepaTypbl.
4.3 24-часов Таймер ИнтунCBHORO HarpeBa
24-yacobara ABOMatuecka yHKnI npednonaraet ATOmatueckoe BKIOueHne 2-yacoboro pexkma Boost oIN pa3B CYTKN.
AkrnBaunr
IpeekuaytepbekmOB HxHo yCTaHOBtB KpaHHe npabo neoKeHne Ha «24h auto».
INHdkaTOppeKIma pa60bI INHdkaTOp HaraepBa 3aropTcB. B TeueHne 2 Yacob npn6Op 6ydet pa6oTaB c noJHO MOUHOCTbIO HarpeBa.
No nCTeueHn 2 yacob np6op BO3Bpaaaetc B O6bHybI pexm pa60tbl cornacho hactpoike peryraTopa temepaTpybl. INdikatop pexmapa60tbl INdikatop HarpeBa BbIKIOUaTcR.
Ha cIeNyIoun IeHb 2-uaCobOpeKIM INHTeHCNBHO HaIrpeBa 6yIeT BKNIOueH 3a 45 MNHyT Do BpEmH NIKIOueHnpeKIMMa «24h auto>.
Ppumep:
BbXOTnTe, YTO6bIK 7:00 yTpa BaHb 6bIa nporpeta do Ke- Iaemoro TEMnepaTyphoro ypOBHa.
》B7:00 nepBoro DnH Heo6xOJIMo yCTaHOBntb nepeKNIou-ateNb peKIMOB B nIoXeHne «24h auto».
Pnp6op cpa3y Je HaHHeT HarpeB 2-ycaOBom pexKIMe nHTeHCNBHOrHarpeBa.Ha CnedyuoumI DeHb 2-ycaOBoR peKIMnHTeHCNBHOrHarpeBa ABTomAtuueckn BkNIOHTcB 6:15, TTo6bl Harpetb BaHcy K7:00.
BbIXoN3peXmMa
BbIITN32-ycACBOrOpeXIMaHHTeHCNBHOrHarpeBaMOxHO BJIIO60mOMeHT,IPn 3TOMBpEMreroABTomuHeCKOROBKIIIOHEHNEI3MEHNTCA.
»HaxKaTbHa npeKnIouaTeIb peKIMoB u yepKuBaT b erO npMepHO OndHy cekyHny.
HndkaToppeKIMpa6ObTbI HndkaTopHarpeBaBbIKIOuATc. Pnp6Op BepHeTcB OobHyhIpeKIMpa6ObTbICorNaCHoHaCTpOKepeyJrToPAtempePaTypbI.
Ha CnEduoIeHb BkIIOueHne 2-YacOBOrO pexIMa HHTehCINBHORO HArpeBa Ipon3oienTeB O6bUHOe Bpemr.
DeaktnBaun
» UctahOBtB npeKIOuATEIb peKIMoB B KpaHHee neBoe IonoJKeHne Ha «BKJI.
HndkaToppeKMa pa6OtBu HndkaTopHarpeBa BbIKNoUaTc. Pnp6OpBepHeTcB O6bUHbIpeKMMpa6OtBcOrNaCHoHaCTpOKepeyIaTopaTeMnepaTypbl.
4.4 3aunTa ot TeTei
3Ta yHKUINpeoTbpaTNT BO3MOXHOCTb CnyaHORO N3MeHeHnHaCTpoEe TEMpeApTypbl.
PnakTbAUcnyHKnIN《3aUHTaOTDeTeN》peyIaTOpTem- nepaTpybI nepeKIOuATEbpeKIMpa6oTbI DeAKTNBpyIOTc. Ppun3MeHEnnNOLOXeHNNEpeKIOuATEpexIMpa6oTbI /peYJATopatempePATyb INDnKaTOppeKIMpa6oTbIMraet.
AKTINBaUNA
》PepeknOuateIb pexmMa pa6oTbI cneNyetyepeKnBaTb HaaTbIM He MeHee Tpex cekyHd.
HnKAtoppeKmpa6OtblMNHTIbpa3noDpRBDnD- TBePKeHneaTbauuNfHKUINN<3aunTAOTTeN
2-chaobon peXMM INTEHCNBHO HArpeBa MOxHO NcNoB3OBAb B O6bHOM NOPaKe DaXe Pn aKTNBHO 3auntTe OT deTei.
DeakTnBaun
》PepeknoateIb pexma pa6oTbI cneyetyepKnBaTb HkaTbIM He MeHee Tpex cekyHd.
HnKAtoppeKmpa6OtbMnHETnTbpa3noPraBnOaTBePKeHeNe DeaKaBaUN 3aUNTBoT OTeN.
4.5 BbIOB n3 3KcNpyaTuIN
» BbIKIOUHTb np6Op, nobepHyB nepeKIOUaTeIb peKIMOB B noJIOXeHne OFF (BbIKJI.).
INHdkaTOppeKIMpa60tbnoracHeT.
N3BneybTeNCeBHyIO BUNIKy N3 cTeHHoI PO3eTKN.
6. YcTpaHHeHHeNCnPaBHOCTeI
6.1 Ta6nua HencnpaBHOCTeI
YcTaHabnBaTb np6Op cneyet Ha BeptnKaIbHoCTeHe CTePmOToKoCTbO He HnKe 80°C.

MATEPnabHbIyuep6
3anpeeHOn yctahabnBaT np6Op HENOCpeCTBeHHo nOHaCTeHHo po3eKo.
9.2 KpenneHne Ha cTeHe

yKa3aHne
PnTOM yuNTbIaTb ra6apuTHbIe pa3Mepbl nco6JIO DaTb MUNHMaJIbHbIe pacCTOHNr DO npyRnx npEpmTOB, npNBedeHHbIe B rnaBe «TexHueckne xapaKtepncTNKn」.
》PncBepnTb OTBepCTnI KpeNexa n yctahOBnTB B Hx DIO6eH.

1 BnHT KpeHneHn
2 MyΦa KpenneHn
3 CTOnOpHbI BnHT
4 KpenenneHne
53arnyuka

8005
200000000000000000000000000000

yKa3aHHe
Cneyety6euntbcra,TO MyfkbkpenneHn yctahOB- nehbl npabunbHO.
PnBnHTntb MyfTbKpeHnHa.
》3akpenntb kpenneHna ha paanatope. Noka yTO He 3aTnBaTb NX.

0000
UctahOBnTb HacteHHyIO MOHTaxHyIO nnAky. PpN 3OM CneIITb 3a NIOXKeHNEM ZeEN. ZeIb DOJIxHa 6bITb Ha-NpaBHeHa CTporo BnH3 nnn BBepx.

Pn60p coeHHTb c HacteHHo MoTHaHHOI NaHKOJ.
》ⅡIⅡIⅡIⅡIⅡIⅡIⅡIⅡIⅡIⅡIⅡIⅡIⅡIⅡIⅡIⅡIⅡIⅡIⅡIⅡIⅡIⅡIⅡIⅡIⅡIⅡIⅡIⅡIⅡIⅡIⅡIⅡIⅡIⅡI
9.3 MoNTaX DePkaTeIЯ 6aHbIx XaIaTOB

1 TOnOBKa DepKataTnI 6aHHbIX xanaTOB
2 PoiKlaHaHaaa6a
3 OchobAHne depXaTeTn 4aHHbIX xanaTOB
MOnTak depkatae nIg 6aHbIX xanatoB bInonHnTb cornaCHO NIOCTpaun.
10. эльектуескоюкlioочиeme

IPEyIPEKDEHNE! NopaxKeHne 3NeKtpueckm TOKOM!
B NOMEUENHIXC NOBbIeHHo BlnaXHOCTbIO, HAnpIMep,B dyueBBIX KxHAX,yCTaHOBky po3eTKn CneDyET npON3BOIDNTb MeTOOM CKpbITORO MOHTaKa Ha BBICOTHe MeHee 25 CM OT nona.

PPEyPPEKDEHNE! NopaxKeHne 3NeKtpnueckm TOKOM!
3anpeaetcnoKIOuOb np6Op uee3 ynnHnTeB HbK6ebnn KOnOky po3eTOK.

MaTePmaIbHbIyuεp6
Pp6opdoJXeHOTKIOUaTbCraOCTcHcpa3MbikAHnEM BCex KOHTAKTOB He MeHee 3 MM Ha BceX nonIocax. CToT OenbIO MOxHO NcNoJIb3oBaTb KOHTAKTOBbl, NmHeHbIe 3aunTHbIe aBtOMaTbI, npedoxpaHntEnu Tomy noD6Hoe.Montax co ctaunOHApHoi npoknaKo Ka6en nTahnHe donyckaetca.

MaTePnAaBbHbIyueep6
Cnejyeetco6nIogatb daHHbe Ha 3aBOcKoT a6nUyKe. HanpXeHHe cTe duXHo COBnaTa b cyKa3aHHbIM Ha ta6nUyKe.

Yka3aHne
BbINOHnTaIbIO6bIe pa60TbI NO 3NeKTPoNIOKnIOueHnIO N3NeKTPoMOnHTaXy HxHNO B COOTBeTCTBN C HauNoHaJIbHbIMn pERHOHaJIbHbIMn PpaBUNAMn.

Yka3aHne
Baxho, qto6bipo3eTKa c 3aunTHbIM KOHTAKTOMnn pa3bem nna ctauHapHoro noKnloueHn HaxoynLncb c60ky ot npnbopaHa pacctOAHm He Mehee 10 cm.
11. YctpaHHe HeNCnPaBHOCTe
3aMeHrTa Ka6eBcTeBOro NHTAHn pa3peSeHo TOnbKO KBAHmNpUPOBaHHbIM CneuHaNCtAm; Dnla 3aMeHb IcNoIb-3OBaTb TohkoOpunHaBbHk Ka6eB.
12.передача пибopa
»O6bAChNTb NOnb3OBaTeJIo yHKnI npN60pa.
Oc6o 6paNTb erO BHIMaHne Ha yka3aHnNo TExHnke 6e30nachocntn.
»BpyuNb nonb3OBaTeHIO pyKOBOcTBO NO 3Kcnnyataun MOHTaKy.
13. Texhnueckne xapaKTepeNtIKN
13.1 Pa3Mepbl

D0000026162
| BHG | 500 W | BHG 750 W | BHG 750 C | BHG 1000 W | |||
| a10 | Прибор | Высota | MM | 998 | 1453 | 1658 | 1781 |
| a20 | Прибор | ШирINA | MM | 480 | 480 | 600 | 550 |
| a30 | Прибор | ГльбаHA | MM | 100 | 115 | 110 | 115 |
| i13 | Стetedая поodecka | Шаг оТberстий по verтимали | MM | 779 | 1230 | 1435 | 1599 |
| Шаг оТberстий по горозонтailing | MM | 350 | 350 | 450 | 400 | ||
13.2 MHHMaJIbHbIe paCCTOaHnA

D0000026163
13.3 Ta6nua npaMeTPOB
Urzhumskaya street 4,
building 2
129343 Moscow
Tel. 0495 7753889
Fax 04957753887
Switzerland
STIEBEL ELTRON AG
Industrie West
Gass 8
5242 Lupfig
Tel. 056 4640-500
Fax 0564640-501
EasyManual