BHG 750C - Ogrzewanie AEG - Bezpłatna instrukcja obsługi
Znajdź bezpłatnie instrukcję urządzenia BHG 750C AEG w formacie PDF.
Pobierz instrukcję dla swojego Ogrzewanie w formacie PDF za darmo! Znajdź swoją instrukcję BHG 750C - AEG i weź swoje urządzenie elektroniczne z powrotem w ręce. Na tej stronie opublikowane są wszystkie dokumenty niezbędne do korzystania z urządzenia. BHG 750C marki AEG.
INSTRUKCJA OBSŁUGI BHG 750C AEG
Obstuga i instalacja 41
BESONDERE HINWEISE
BEDIENUNG
- Wskazówki ogolne 42
- Bezpieczenstwo 42
3.Opis urzadzenia 43 - Obstuga 43
- Czyszczenie, pielegnacja i konserwacja 44
- Usuwanie problemow 44
INSTALACJA
- Bezpieczenstwo 44
- Opis urzadzenia 44
- Montaz 44
- Podlącenie elektryczne 45
- Usuwanie usterek 46
- Przekazanie urzadzenia 46
- Dane techniczne 46
GWARANCJA
OCHRONA SRODOWISKA I RECYCLING
WSKAZÓWKI SPECIAL
- Trzymać daneci poniȩjej 3. rokuźycia z dala od urzadzenia, jestli ciągly nadźornie jest moziłowy.
- Urzadzenia są boć wączane i wȩćzane przy częwymi od 3 do 7 lat, są zęli odbywa są to pod nadzorem lub czȩte zostaly poinstruowane w zakresie bezpiecznych bezozniary zagrożenia zw)i z uzytkowaniem urzadzenia.
Warunkiem jest wczesniejsze zamontowanie urzadzenia zgodnie z opisem. Dzieciom w wieku od lat 3 do 7 nie wolno wyjmownik wtyczki z gniazdka sieciowego ani dokonywać regulaggi urzadzenia.
Urzadzenie maybe obstrugiwane przydzieci w wieku od 8 lat, a takze osoby z ograniczonymi zdolnosciami ruchyymi, sensoryczonymi lub z ograniczona poczytalnoscią, lub też przyez osoby bezdoswiadczenia i wiedzy, jestli obstuga odbywac sie bedzie pod nadzorem lub jesti uzytkownicy dostali pouczeni odnosnie bezpiecznego korzystania z urzadzenia i zapoznali sie z ewentualnymi groźacymie niebezpiecieznstwami.
Dzieciom nie wolno bawic sie urzadzeniem. Czyszczenie oraz konserwacja wykonywane przy ustkownika są czynnosciami, ktorych;dzieciom nie wolno wykonywać bez nadzoru.
Częsci urzadzenia mogą sie mocno nagrzejność i prowadzić do oparzen. W obecnosci przyciei lub osob wymagajcych opiekiNSEZy zachowac szczególna OSTROZNOSC.
- Nie montować urzadzenia bezposrednio pod sciennym gniazdkiem elektrycznym.
- W przypadku podłaczenia na state sąȩzy zapewnicMZoWiwośc odłączenia wszystkich biegunów urzadzenia od sieci za pomocamy wyłącznika z rozwarciem stykolw Wynoszcym co najmiej 3 mm.
Czynnosci zwiazane z wymiana sieciowego przewodu przyłączeniowej, np. w razie uszkodzenia, moga byc wykonywane wy)—cznie przy czemstige posiadajacego uprawnienia wydane przy producenta, przy uzyciu oryginalnej cz)—zamiennej.
Zamocawa urzadzenie w sposob opisany w rozdzia "Instalacja / Montaz".
OBSŁUGA
1. Wskazówki ogólne
Rozdziel „Obługa" przyznaczenia jest dla uzytkownikiarzadzenia i spezialisty.
Rozdzial „Instalacja" przyznaczony jest dla SPECIALISTY.

Wskazowka
Przed przystapieniem do obstugi urzadzenia nalezy dokladnie zapoznać sie z niniejsza instrukcj i za-chować ja do poźniejszego wykorzystania.
W przypadku przykazania produktu osobom trzechim niniejsza instrukcje nalezy rowniez dołaczyc.
1.1 Wskazówki dotyczne bezpiecznychstwa
1.1.1 Struktura wskazowej dotycznych bezpieczność

HASLO OSTRZEGAWCZE - rodzaj zagrozenia W tym.), wskazówki dotyczzej bezpiecznych.
» W tym mistręscu są okreslone srodki zapobiegajcie zagrożeni.
1.1.2 Symbole irodzaje zagrozenia
| Symbol Rodzaj | zagrożenia |
| ! | Obrażeniaciała |
| Porażenie prȩdom elektrycznym | |
| Poparzenie(Poparzenie) |
1.1.3 Hasla ostrzegawcze
| HASŁO OSTRZEGAW-CZE | Znaczenia |
| ZAGROZNIE | Wskazówki, ktorych nieprzestrzeganie prowadzi do噤kich obrało ciała lub smierci. |
| OSTRZEZE-NIE | Wskazówki, ktorych nieprzestrzeganie sąwa-dzic do噤kich obrało ciała lub smierci. |
| OSTROZNIE | Wskazówki, ktorych nieprzestrzeganie sąwa-dzic do srechnich lub lekkich obrało ciała. |
1.2 Inne oznaczenia stosowane w niniejszej dokumentaci

Wskazówka
Ogólne wskazówki są oznaczone symbolem umieszczonym obok.
» Nalezy dokladnie zapoznać są trescią wskazowejk.
| Symbol Znaczenia | |
| ! | Szkody materialne (uzskodzenia urzadzenia, szkody następcze, szkody ekologiczne) |
| Utylizacja urzadzenia | |
» Ten symbol informuje o koniecznosci wykonania jakiejś czynnosci. Wymagane czynnosci opisane są krok po kroku.
1.3 Jednostki miar

Wskazówka
Jesli nie okreslono innych Jednostek, wszystkie wymiary podane sq w milimetrach.
2. Bezpieczenstwo
21 Uzytkowanie zgodne z przyznaczeniem
Urzadzenie jest nasciennym elektrycznymogrzewaczem bezposrednim.
Urzadzenie nada sie do uzytku comoogrzewanie przyechosciowe oraz uzupelniajaçé przydede wszystkim w lazien-kach, a také do suszenia szlafroków i ręczników.
Urzadzenie przyznaczone jest do uzytku domowego. Nieprzeszkolone osoby moga bezpiecznie z niego korzysta. Urzadzenie要去buczytkowane rownie poza domem, np.w malych przydsiebiorstwach, pod warunkiem uzytkOWANIA zgodnego z przyznaczeniem.
Inne lub wykraczajce poza obowiazujuce utalenia zastosowanie traktowane jest jako niedgne z przyznaczenia. Do uzytkowania zgodnego z przyznaczenia daneź rowniesz przyestrzeganie ninijszej instrukcji obstugi oraz instrukcji obstugi uzytego wyposañenia dodatkowego.
2.2 Ogólne wskazówki dotyczace bezpieczeniastwa

OSTRZEZENIE obrażenia ciala
Trzymać dwieci ponijej 3. roku zycia z dala od urzadzenia, jesti ciagly nadźor nie jest myliwy.
Urzadzenie maybewczanei wylaczane przez Dzieciwiwuokud3do7latjesliodbywaisop nadzorem lub Dziectozastalypoinstruowane w zakresie bezpiecznego korzystania z urzadzenia i zrozumialy zagrozeniazwiazanezuzytkowaniernurzadzenia. Warunkiem jestwczesniejszzmontowanierurzadzenia zgodnia z opisem.Dzeciom w wieuk odlat 3 do 7 nie wolno wyjmawcwtyczki z gniazdka sieciwogo ani dokonywaac regulacci urzadzenia.
Urzadzenie maybe obstugiwane przez daneci w wieku od 8 lat, a takze osoby z ograniczonymi zdolnosciami ruchowymi, sensoryczynmi lub z ograniczona poczytalnoscia, lub tez przyez osoby bezdoswiadczenia i wiedzy, jestli obstuga odybwac sie bedzie pod nadzorem lub jesti uzytkownicy zostali pouczeni odnosnie bezpieczneo korzystania z urzadzenia i zapoznali sie z ewentualnymi grozacymi niebepezcienstwami.
Dzieciom nie wolno bawic sie urzadzeniem. Czyszczenie oraz konserwacja wykonywane przyez uzytkownikka są czynnosciami, ktorych;dzieciom nie wolno wykonywać bez nadzoru.

OSTROZNIE Poparzenie
Czeci urzadzenia moga sie mocno nagrzewac i prowadzić do oparzen. W obecnosci daneci lub osob wymagajych opieki nalezy zachowac szczególny ostroznosć.

Wskazówka
Urzadzenie uzytkowac wyłucznie w stanie calkowicie zmontowanym i ze wzystkimi urzadzeniami zabezpieczajacymi.
3. Opis urzadzenia
Urzadzenie rzeznaczone jest do uzytkowania jakoogrzewanie uzupelniajace przydede wszystkim w tazienkach, a takze do suszenia iogrzewania szlafrokow i recznikow. Reczniki maybe wieszać na kilku poziomach.
Urzadzenieogrzewa pomieszczenie poprzej konwekcje naturaln i ciepto promieniowania. Wbudowany regulator temperature utrzyzmuje temperature pomieszczenia na sta tym poziomie wedlug nastawionej wartosci. Moc grzewcza urzadzenia musi odpowiadc przy tym zapotrzebowaniu ciepla pomieszczenia. Dotyczy to tylko sytuaci, gdy na urzadzeniu nie wisza szlafroki ani reczniki.
Funkcja boost pozwala na prace z pehnaj mocagrzewcza bez regulacji temperatury przye ograniczony czas wynoszacy 2 godziny. Istnieje mozliwość zaprogramania godziny, o ktorej urzadzenia bedzie sie codziennie automatycznia wączać.
Urzadzenie jest gotowe do pracy po zamontowani na scianie i podlaczeniu do sieci elektrycznej za pomocag wtyczki.
4. Obsługa
4.1 Opis panelu obstrugowego
Urzadzenie obsluguje sie za pomocă panelu obslugo-wego.

26 07 80 0050
1 Wskaznik pracy
2 Wskaznik grzania
3 Pokretlo regulaci temperature
4 Zakres nastaw 24h auto
5 Pokretto wyboru trybu
4.2 Włacznie urzadzenia
UstawicPokretto wyboru trybu w poTozeniu "ON".
Ustawic zadana temperature pomieszczenia po-kretlem regulacji temperatury. Mozliwość wyboru temperatury w zakresie od 10^ do 30^ .
Wskaznik grzania swieci sie, gdy urzadzenie grzeje. Gdy osiagnieta dostanie temperatura nastawiona za pomocajPokretla regulacji temperatury, wskaznik grzania gašnie

Wskazowka
Jesli w Jednym pomieszczeniu wykorzystwyanych jest kilka urzadzen, na kaźdym z nich można natawić inną temperaturé.

Wskazowka
Aby uniknac zbyt duzego zuzycia pradu przy otwartych oknach, przy Rozpoczeciem wietrzenia pomieszczenia nalezy wyliczyc urzadzenia.
4.3 Funkcja „2h boost"
Aktywacja
Wiatczyc urzadzenie.
» Nacisnac i przytrzymacPokretlo wyboru trybu przyez okolo jeder sekunde.
Wskaznik pracy oraz wskaznik grzania swieca sie. Urzadzenia grzeje przyez 2 godziny z pełna mocā.
Po uplywie 2 godzin urzadzenie powraca do trybu normalneo,czyli do pracy wedlug temperaturenastawionej naPokretle regulacji temperatury.Wskaznik grzania i wskaznik pracy gasna.
Deaktywacja
» Nacisnaci przytrzymacPokretto wyboru trybu przyez okolo jeder sekunde.
Wskaznik grzania i wskaznik pracy gasna. Urzadzenie powrosci do trybu normalnégo z temperatura nastawion naPokretle regulaci temperature.
4.4 Funkcja „24h auto"
Funkcja 24h auto automatycznie powtarza funkcję 2h boost co 24 godziny.
Aktywacja
PrzestawicPokretto wyboru trybu do oporu w sprawo w po- lozenie,24h auto".
Wskaznik pracy oraz wskaznik grzania swieca sie. Urzadzenia grzeje przyez 2 godziny z pełna mocaj.
Po uplywie 2 godzin urzadzenie powraca do trybu normalneo,czyli do pracy wedlug temperature nastawionej naPokretle regulacji temperatury.Wskaznik grzania i wskaznik pracy gasna.
Funkcja „2h boost" uruchomi sie kolejnégo dnia 45 minut przygodzina, o kotrej urzadzenie zostalo przyęlaczone na tryb „24h auto".
Przyklad:
Lazienka ma byc nagrzana o godzinie 7:00 rano do za-danego poziomu temperature.
Pierwszego dnia o godzinie 7:00 ranoPokretlo wyboru trybu nalezy przystawic w połozenia „24h auto".
Urzadzenie od razu zaczyna grzac w funkci „2h boost". Nastepnégo dnia funkcja „2h boost" wlaczy sie automatycznie o godzinie 6:15 rano, aby do godziny 7:00 lazienka bya nagrzana.
Przerywanie
Funkcje "2h boost" bzw. w kazdej chwili przerwać bez rzyka zmiany godziny wączenia funkci.
» Nacisnac i przytrzymacPokretlo wyboru trybu przyez okolo jeder sekunde.
Wskaznik grzania i wskaznik pracy gasna. Urzadzenie powrosci do trybu normalneo z temperatura nastawion naPokretle regulaci temperature.
Nastepnego dnia funkcja 2h boost uruchomi sie ponownie o wyznaczonej godzinie.
Deaktywacja
» PrzestawicPokretto wyboru trybu w lewo w połozenia "ON".
Wskaznik grzania i wskaznik pracy gasna. Urzadzenie powrci do trybu normalneo z temperatura nastawion naPokretle regulaci temperature.
4.5 Zabepieczenie przydzieymi
Ta funkcja zapobiega przypadkowej zmieanie nastawy temperatury.
Po wączeniu zabezmieczenia przy dęjeść połękroty regulações temperatury i połęketlo wyboru trybu nie dzialaja. Przy(PCbie przestawienia połęketla wyboru trybu / połękrotta regulações temperatury miga wskaznik pracy.
Aktywacja
» Nacisnac i przytrzymacPokretio wyboru trybu dluzej niż przyez trzy sekundy.
Wskaznik pracy zawieci sie na krtoko pić razy z kolei – swiadczy to o wączeniu zabezpieczenia przyxDzieymi.
Z funckji 2h boost"这其中 zozystac w normalny sposob..., takze przy aktywnym zabezpieczeniu przy这部分 mi.
Deaktywacja
» Nacisnac i przytrzymaćPokretlo wyboru trybu dluzej niż przyez trzy sekundy.
Wskaznik pracy zawieci sie na krtoko pięc razy co oznacza wączenia zabezpieczenia przyDEXMI.
4.6 Wyęlaczenia z eksploatacji
» Wylaczy urzadzenie, przystawiajacPokretlo wyboru trybu w połowienie „OFF".
Wskaznik pracy zgašnie.
» Wyjać wtyczné z gniażdka sieciowego.
5. Czyszczenie,pielegnacja i konserwacja
Do pielegnaci powierzchni zewnetrznych wystarczy miękka sciereczka i dostepne w sklepachŚrodki czystość.

Wskazowka
Unika zracych srodkow czyszczacych o wsiwo-sciach sciernych.
6. Usuwanie problemów
6.1 Tabela usterek
| Usterka Przyczyna Rozwiatanie | ||
| Ogrzane powietrze ma nieprzyjemny zapach | Podczas pierwsze- go uruchomienia przyczyna要去 ✍ Kurz. | Zapach znika po kilku mi- nutach. |
| Ur曹操zie nie grzeje. | Zadzialal bezpiecz- nik. | Ponownik z空气质量 bez- piecznik. |
| Ur曹操zie grzeje bez przerwy. | Ur曹操zie wysta- wione jest na ciagle przechiagi. | Zlikwidować przyciag. |
| Zmieionno nastawę temperatury. | Ustawić ządano tempe- rature pomieszczeniaPokreptem regulacci tem- peratory. | |
| Wystapila awaria sieci elektrycznej. | Odlaczenia ur曹操zie na 10 minut od sieci elektrycznej i sączyć je ponownie. Jeśli problem regularnie są powtarza, zlecić zagladowi ener- tycznemu kontrôle zasil- nia energia. | |
| Funkcja „24h auto"Nie uruchamia są. | Nastapała awaria za- silania. | Ponownik ustawić funkcję 24h auto. |
| Zmieionno nastawę sukrotła wyboru trybu. | Ponownik ustawić funkcję 24h auto. | |
| Przestawiono czas letniki/zymowy. | Ponownik ustawić funkcję 24h auto. | |
| Ostatnie elementy na górze i na dole Nie są tak ciepte jak resztza urza- dzenia. | Elementy na goźneNie są calkowicie na- pelnione. | Pod wplywem ciepla czyn- nik termodynamiczny roz- szerza są. Musi uplynȩc niecoość czasi, aby elementy te nagrzaly są. |
| Na scianie dodkoła ur曹操zie tworza sie Ślady brudu. | Ślady brudu powstaja wskutek zanieczysz- czenia powietrza po- mieszczenia (Świece, dym papierosowy, zwa wentylacja itd.). | Unikać zanieczyszczania powietrza pomieszczenia. |
Jesli nie:noza usunac przyczyny usterki, nalezy wezwac serwis. W celu usprawnienia i przyspieszenia pomocny nalezy podac numer urzadzenia z tabliczki znamionowej (000000-0000-000000).
Tabliczka znamionowa znajduje sie w sprawym dolnym rogu urzadzenia.
INSTALLACJA
7. Bezpiecznebstwo
Instalacja, uruchomienie, jak równie zkonserwacja i naprawa urzadzenia moga byc wykonane wylącznie przy bezpecialiste.
7.1 Ogólne wskazówki dotyczębezpieczeniastwa
Producent zapewnia prawidlowe dzialanie i bezpieczenstwo eksploatacji tylko w przypadku stosowania oryginalego wyposazenia dodatkowego przyznaczonego do tego urzadzenia oraz oryginalnych czeci zamiennych.
7.2 Przepisy, normy i wymogi

Wskazówka
Nalezy przyestręgac wszystkich krajowych i mistręscowych przyepam oder wymogów.
8. Opis urzadzenia
8.1 Zakres dostawy
Montaż na scianie za pomocą materiałow mocujczych
2uchwytnaszlafroki
Dostarczone urzadzenie jest gotowe do podłaczenia.
9. Montaz
9.1 Miejsce montazu

Szkody materialne
Zwrocic uwage na odstepy minimalne podane w rozdziele „Dane techniczne".

Szkody materialne
Urzadzenia montowac tylko na pionowej scianie od-pornej na temperature co najmiej 80^

Szkody materialne
Nie montowac urzadzenia bezposrednio pod gniazkiem elektrycznym.
Przestręgać wymiarów i odstepów minimnych podanych w rozdziecie „Dane techniczne".
Wywiercie otwory i wlozyc w nie kolki.

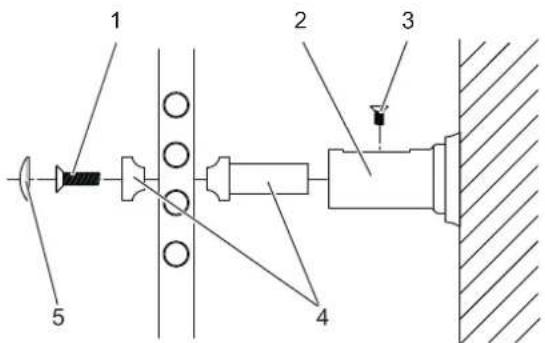
26.07.80.0058
1 Sruba mocowania
2 Tulejka scienna
3 Sruba kontrujaca
4 Uchwyt
5 Zašlepka

26 07 80 0054

Hinweis
Nalezy zapewnic prawidowej ustawienie tulejek sciennych.
Przykrecić tulejki scienne.
Przykrecić mocowanía do drabinki. Jeszcze niedokrecac mocowan.

» Zamontowac uchwyt scienny. Uwazac przy tym na pozycje rowka. Rowek musi byc skierowy odpo-wiednio w dof lub w gore.

0000
» Polaczyc urzadzenie z uchwytem sciennym.
Dokrecic s Ruby,aby zamocowac urzadzenie.
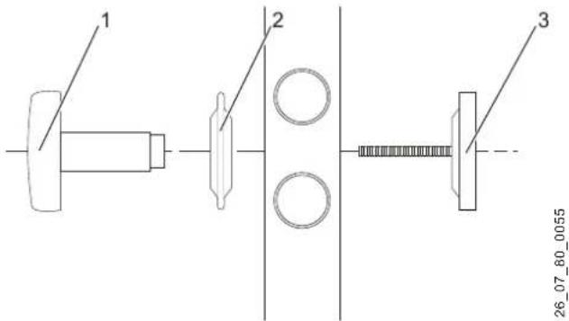
9.3 Montaz uchwytów na szlafrok

1 Uchwyt na szlafrok
2 Podkladka
3 Pityka uchwytu na szlafrok
» Zamontowac uchwyt na szlafrok w sposob przyedstawiony na rysunku.
10. Podłaczenia elektryczne

OSTRZEZENIE porazenie pradem elektrycznym W pomieszczeniach wilgotnych z natryskiem i kuchniach, puszek podtynkowa zamontowac nalezy w odlegosci co najmiej 25 cm nad podloga.

OSTRZEZENIE porazenie pradem elektrycznym Do uzytkowania urzadzenia nie wykorztystwać przyȩzacja ani Rozgaleziaczy.

Szkody materialne
Urzadzenie musi byc oddzielone od sieci elektrycznej za pomocag wielobiegunowej wylacznika z rozwarciem stykowwynoszynam min. 3 mm. Do tego celu moza zastosowac styczniki, wylaczniki nadmiarowo-pradowe, bezpieczniki itd. Instalacja za pomocag przygewodu elektrycznego ulożonego na state jest niedopuszczalna.

Szkody materialne
Zwróci uwage na tresc tabliczki znamionowej. Podane napiecie musi byc zgodne z napięciem sieciojowym.

Wskazowska
Wszystkie elektryczne prace przyłączeniowe i instalacyjne wykonywać zgodnia z przyepsami krajowymi i lokalnymi.

Wskazowska
Zwroci uwage na to, aby w odlegosto co najmiej 10 cm z boku urzadzenia zaintalowane byo gniazdo wtykowe z zestykiem ochronnym lub gniazdo przylaczeniowe urzadzenia do przylacza staiego.
Sieciowy przywośd przyłączeniowy są zostac wymiemiany wyłączenia przy bez serwis na oryginalna czȩć za mienna.
12. Przekazanie urzadzenia
» Objasnic uzytkownikowski spośob dzialania urzadzenia.
» Zwrócić是我的 uwage szczególnie na wskazówki dotycznébe bezpieczność.
Przekazać uzytkowników instrukcje obstugi i instalacji.
13. Dane technicznne
13.1 Wymiary

D0000026162
| BHG | 500 W | BHG 750 W | BHG 750 C | BHG 1000 W | |||
| a10 | Urzejdenie | Wysokość | mm | 998 | 1453 | 1658 | 1781 |
| a20 | Urzejdenie | Szerokość | mm | 480 | 480 | 600 | 550 |
| a30 | Urzejdenie | Głowobokość | mm | 100 | 115 | 110 | 115 |
| i13 | Zawieszenie na scianie Rozstaw otwo- | Rozstaw otwo-rów w pionie | mm | 779 | 1230 | 1435 | 1599 |
| rów w poziomie | mm | 350 | 350 | 450 | 400 | ||
13.2 Ostepy minimalne

D0000026163
13.3 Tabela danych
| BHG500 W | BHG750 W | BHG750 C | BHG1000 W | ||
| 236572 | 231950 | 231951 | 233861 | ||
| Dane elektryczne | |||||
| Przyȩcze sieciowe | 1/N ~230/240V | 1/N ~230/240V | 1/N ~230/240V | 1/N ~230/240V | |
| moc przyȩczeniowa | kW | 0,5 | 0,75 | 0,75 | 1,0 |
| Wymiary | |||||
| Wysokość | mm | 998 | 1453 | 1658 | 1781 |
| Szerokość | mm | 480 | 480 | 600 | 550 |
| Głowobokość | mm | 100 | 115 | 110 | 115 |
| Masz | |||||
| Ciezar | kg | 12 | 16 | 24 | 30 |
| Wykonanie | |||||
| Połozenia zabeziepiecie-nia przyciewrozwogo | °C | 6 | 6 | 6 | 6 |
| Rodzaj ochry (IP) | IP24 | IP24 | IP24 | IP24 | |
| klasa ochry | II | II | II | II | |
| kolor | Biały beskidz-ki, RAL9016 | Biały beskidz-ki, RAL9016 | chrom | Biały beskidz-ki, RAL9016 | |
| Wartosci | |||||
| zakres nastaw | °C | 6-30 | 6-30 | 6-30 | 6-30 |
Gwarancja
Urzadzen zakupionych poza granicami Niemiec nie obejmujā warunki gwarancji naszych niemieckich społek. Ponadto w krajach, w którchaddresses z naszych społek COREK jest dystrybutorem naszych produktów, gwarancji besoin udzielić wylącznie ta społka. Taka gwarancja obowiaźute tylko wówczas, gdy społka-córksa sformulowała wlasne warunki gwarancji. W innych przypadkach gwarancja nie jest udzielana.
Nie udzielamy gwarancji na urzadzenia zakupione w krajach, w ktorych zadna z naszych społek COREK nie jest dystrybutorem naszych produktów. Ewentualne gwarancje udzielone przy importera zachowuja wąznosc.
Ochronaśrodowiska i recycling
Pomóz chronicé srodowisko naturale. Materiały po wykorzystaniu na三点у utylizowac zgodnie z krajowymi przypepisami.
ProstaInstrukcja