BHG 750C - Vytápění AEG - Bezplatný návod k obsluze
Najděte návod k zařízení zdarma BHG 750C AEG ve formátu PDF.
Stáhněte si návod pro váš Vytápění ve formátu PDF zdarma! Najděte svůj návod BHG 750C - AEG a vezměte svůj elektronický přístroj zpět do rukou. Na této stránce jsou zveřejněny všechny dokumenty potřebné k používání vašeho zařízení. BHG 750C značky AEG.
NÁVOD K OBSLUZE BHG 750C AEG
Koupelnové topné t'éloso
Obsluha a instalace 28
PaɪnATopДЯВaHNoI
34
Grzejnik Iazienkowy
- Obecné poukyny 29
- Bezpečnost. 29
- Popis pristroje 30
- Obsluha 30
- Čišění, peče a udržba 31
- Odstraneni problemu 31
INSTALACE
Deti do 3 let udrzujte v dostatecné vzdale-nosti od pristroje,Pokud neni zajisten stalydohled.
Děti ve věku 3 až 7 let směji prístroj zapínat a vypínat, jsou-li pod dohledem nebo byly poučeny o bezpečném použiti prístroje a pochopily z neho vyplývajici rizika. Predpokladem k tomu je, aby montáž prístroje byla provedena podle popisu.
Deti ve veku 3 a7 let nesmeji zasouvat zastrcku dozasuvky a pristroj regulovat.
- Pristroj smí používat déti od 8 let a osoby se sníženými fyzickými, senzorickými nebo mentalními schopnostmi nebo s nedostatkem zkušeností a znalosti pouze pod dozorem nebo po poučeni o bezpečnémpoužívání pristroje, a poté, co porozuměly nebezpecí, které z jeho používání plyne.
Nenechávejte déti, aby si s pristrojem hrály. Čistěné a udžbu, kterou má provadět uživatel, nesmí provadět samotné déti bez dozoru.
Casti pristroje mohou byt velmi horké a zpu-sobit popaleniny.
Jsou -li pritomny deti a osoby vyzadujific ochranu, je nutna zvlastni opatnost.
Neinstalujte prístroj prímo pod zásvuku.
- Prístroj musí byt v pripadé pevného pripojeni:no né odpojit od site na vsech polech na vzdálenost nejmné 3 mm.
- Elektrické privodni vedení smí pri poskození nebo pri yvmene nahradit originánlím nahradním dilem pouze specializovaný elektrotechnik s opravnéím vyrobce.
Upevněte prístroj způsobem popsaným v kapitole „Instalace / Montáž".
OBSLUHA
1. ObecnéPokyny
Kapitola „Obsluha“ je určena uživotelüm pristroje a instalacnim technikum.
Kapitola,Instalace"je urcena instalačním technikum.

Upozornéni
DriVe, nez zahajite provoz, si pozorné prectete tento navod a peclive jej uschovejte.
Pripadne predeje navod dalsimu uzivatieli.
1.1 BezpečnostníPokyny
1.1.1 Struktura bezpečnostnichPokynu

UVOZUJICI SLOVO - Druh nebezpeci
Zde jsou uvedeny mozné nasledky nedodrzeni bezpečnostnichPokynu.
» Zde jsou uvedena opatreni k odvraceni nebezpeci.
1.1.2 Symboly, druh nebezpeci
| Symbol Druh nebezpeči | |
| ! | Uraz |
| Uraz elektrickým proudem | |
| Popálení (popálení, opařeni) | |
1.1.3 Uvozujici slova
| UVOZUJÍCISLOVO | Význam |
| NEBEZPEČI Pokyny, jejichž nedodrženi má za následek váznénebo smrtelné úrazy. | |
| VYSTRAHA Pokyny, jejichž nedodrženi műze mít za následek vázné nebo smrtelné úrazy. | |
| POZOR Pokyny, jejichž nedodrženi műze mít za následek středné vázné nebo lehké úrazy. |
1.2 Jiné symboly použité v tétodokumentaci

Upozornéni
Obecné pouky jsou označeny symbolem zobra-zenym vedle.
» Texty upozorneni Čte pečlive.
| Symbol Význám | |
| ! | Věcné škody (poškození prístroje, následné škody, poškození životniho prostředí) |
| Likvidace prístroje | |
Tento symbol vás vyzývá k určitěmu Jednámí. Potrebné úkony jsou popsány po jejednotlivych krocích.
1.3 Mérné Jednotky

Upozorneni
Pokud není uvedeno jinak, jsou všechny rozměry uvedeny v milimetrech.
2. Bezpečnost
2.1 Použití v souladu s učelem
Pristoj je elektrické prímotopné těleso určene k montáži na stěnu.
Přístroj je vhodný predevšim k prechodnému a podpūr-nému vyтapěni koupelen a k vysoušeni koupacích plastú a ručnikú.
Přistroj je určen k použití v domácnostech. Mohou jej tedy bezpečné obsluhovat neškolene osoby. Lze jej použivat i mimo domácnosti, napr. v drobném prùmyslu,Pokud zpúsob použiti v takovych oblastech odpovída určeni prístroje.
Jiné pouziti nebo pouziti nad ramec daného rozsahu je považovano za pouziti v Rozporu s urcenim. K pouziti v souladu s urcenim patr takodrzovani tohoto navodu a navodu k pouzivanemu prisluşenstvi.
2.2 Vseobecné bezpečnostníPokyny

VYSTRAHA uraz
Deti do 3 let udrzujte v dostatecné vzdalenosti od pristroje,Pokud neni zajisten stalydohled.
Deti ve veku 3 a7 let smej pristroj zapinat a ypinat, jsou-li pod dohledem nebo byly pouceny o bezpecnem pouziti pristroje a pochopily z neho vyplvajici rizika. Predpokladem k tomu je, aby montaz pristroje byla provedena podle popisu. Deti ve veku 3 a7 let nesmejizasouvat zastrku dozasuvky a pristroj regulovat.
Pristroj smi pouzivat deti od 8 let a osoby se snizenymi fyzickymi, senzorickymi nebo mentalimi schopnostmi nebo s nedostatkem zkuşenosti a znalosti pouze pod dozorem nebo po poučeni o bezpečnémpouživani pristroje, a poté, co porozuměy nebezpečí, které z jeho použivani plyne.
Nenechávejte déti, aby si s pristrojem hrály. Čistění a udžbu, kterou má povádet uzivatel, nesmi povádet samotné déti bez dozoru.

POZOR popaleni
Casti pristroje mohou byt velmi horke a zpusobit popaleniny. Jsou -li pritomny deti a osoby vyzadujici ochranu, je nutna zvlastni opatrnost.

Upozorneni
Použivejte prístroj pouze v plné instalovaném stavu a se všemi bezpečnostními zařizeními.
3. Popis pristroje
Přístroi je vhdný predevím k podpurnénu vytapiéni koupelen a k vysouěné i nahřivány koupacich plastu a ručnikú. Múžete pověsit několik ručnikú do vizć urovní.
Přistroj vyhříva mistnost pirozenou konvekci a salavym teplem. Instalovaný prostorový termostat udžuje teplotu v mistnosti na konstantní urovni podle nastavené hodnoty. Predpokladem k tomu je, aby topny vykon pristroje odpopvidal spotřebe tepla v mistnosti. To platí pouze za prédpokladu, ze na pristroji nevisi zádně ručníky nebo koupaci plastě.
Funkce Boost dovoluje casové omezený 2hodinovy pro-voz na plny vykon bez regulace teploy. Vychozi dobu, kdy se ma pristroj denen automatickzy zapnout, muzete naprogramovat.
Přístroj je připraven k použit, jakmile jej upevnítne na stěnu a připojte do elektrické zásvúky.
4. Obsluha
4.1 Popis ovladaciho panelu
K oblsuze pristroje slouží ovladaci panel.

26-07-80-0050
1 Indikace provozu
2 kontrolka topeni
3 Tlacftko regulatoru teploty
4 rozsah nastaveni,24h auto"
5 prépinač provoznich režimu
4.2 Zapnuti pristroje
Nastavte prepinac provoznich rezimdo polohy ON
Nastavte pomoci prvku k nastaveni teploy pozadovanou teplotu mistnosti. Muzete nastavit teploy v rozsahu 10^ až 30^ .
Kontrolka topeni sviti, jakmile pristroj topi. Kontrolka topeni zhasne, jakmile je dosazeno teploty nastavené knoflikem regulatoru teploty.

Upozorneni
Pokud je v mistnosti instalovano nekolik pristroju, mužete na každem z pristroju nastavit ruznou teplotu.

Upozorneni
Z duvodu zabraneni prilisné spotreby el. energia pri otevrenych oknech vypněte pristroj bēhem větrání.
4.3 Funkce 2hod. Boost
Aktivovat
» Zapněte prístroj.
» Stiskněte prepínač provoznich režimů a podržte jej cca{jednu vterinu.
Provoznikontrolkaakontrolka topeni sviti.Pristroj topi 2 hodiny na pIny vykon.
Po uplynuti 2 hodin se pristroj (^) prepne zpet do normalnf ho rezimu podle nastaveni knoflikem regulatoru teploty. Kontrolka topeni a provozni kontrolka zhasnou.
Deaktivovat
» Stiskněte prepinač provoznich režimu a podržte jej cca{jednu vterinu.
Kontrolka topeni a provozní kontrolka zhasnou. Prístoj prépnete do obvyklého režimu prvkem k nastavení teploty.
4.4 Funkce 24hod. automaticky provoz
Funkce 24hod. automatický provoz opakuje funkci 2hod. Boost automatický po celých 24 hodin.
Aktivovat
Prepnete prepinae provoznich rezimu zcela doprava do polohy,24h auto".
Provozní kontrlka a kontrlka topení svítí. Prístroj topí 2 hodiny na plný vykon.
Po uplynuti 2 hodin se pristroj (^) prepne zpet do normalnio ho rezimu podle nastaveni knoflikem regulatoru teploty. Kontrolka topeni a provozni kontrolka zhasnou.
Funkce 2hod. Boost se zapne nasledujicho dne 45 minut pred okamzikem, kdy byl pristroj nastaven na ,24h auto".
Příklad:
Přejete si, aby koupelna byla vždy ráno v 7:00 hodin vytopena na požadovanou teplotu.
» Nastavte prvního dne v 7:00 hodin rán o přepínač provoznich režimu do polohy „24h auto".
Přistroj okamžitě topi podle funkce 2hod. Boost. Následujího dne se zapne funkce 2hod. Boost automatický v 6:15 hodin rano tak, aby byla koupelna do 7:00 hodin vytopená.
Pruuseni
Funkci 2hod.Boost muzete kdykoliv prerusit, aniz by dosloke zmene vychozho casu.
» Stiskněte prepinač provoznich režimů a podržte jej cca{jednu vterinu.
Kontrolka topeni a provoznif kontrlka zhasnou. Pristoj prepnete do obvykleho rezimu prvkem k nastaveni teploty.
Následujicího dne bud funkce 2hod. Boost opét aktivována v obvyklou vychozí dobu.
Deaktivovat
» Přepněte prépínac provoznich režimů dopo-lohy „ON".
Kontrolka topeni a provozni kontrolka zhasnou. Prístoj prépnete do obvkylého režimu prvkem k nastaveni teploty.
4.5 Dětská pojistka
Použitím títo funkce zabránite k nechtěné změné nastaveni teploty.
Pokud je aktivní dětská pojistka, nejsou funkčí prvyký k nastavení teploty a prepinač provoznich režimů. Pri prestavení prepinače provoznich režimů/prvku k nastavení teploty bliká provozní kontrlka.
Aktivovat
» Stiskněte a podržte prépinač provoznich režimů déle než tři vteriny.
Provoznikontrolka petkrat kratae blikne a informuje tak, ze je aktivni detská pojistka.
Funkci 2h Boost muzete pouzivat obvyklym zpusobem i pri aktivované detske pojistce.
Deaktivovat
» Stisknéte a podržte prépinač provozních režimů déle než tri vteriny.
Provozní kontrolka petkrát krátce blikne a informuje tak,Že byla deaktivována dětská pojistka.
4.6 Uvedeni mimo provoz
» Vypněte prístroj otočením prépínace provoznich režimù do polohy „OFF".
Provozní kontrolka zhasne.
» Vytáhněte zástrčku ze zásuvky.
5. Čišění, peče a udžržba
Povrch cistete po vychladnuti mekkou uterkou a beznymi cisticimi prostfedky.

Upozorneni
Nepouzivejte cistici pisky a leptavé prostředky.
6. Odstraněni problemü
6.1 Tabulka poruch
| Zăvada Přićina Odastráněni | ||
| Zahřátý vžduch ne- prijemné zapacha. | Duvodem můze být pri prvním uvedeni do provozu prac. | Za několík minut zápach vyvane. |
| Přístroj netopí. Vypr | uly pojistky. Opět zapihěte pojistku. | |
| Přístroj neustále topí. | Přístroj je trvale vy-staven prúvanu. | Odastranje príćinu prúvanu. |
| Byla provedenazměněna nastavení teploty. | Nastavte pomoci prvku k nastavení teploty požá-dovanou teplotu v mist-nosti. | |
| Došlo k závadévelektrické sítí. | Odpojte prístroj na 10 minut od elektrické sítě a opět jej zapojte. Pokud se problém opakuje prvi-delně, nechte zkontrolovat elektrické napajení pracovnikem elektrorozvod-nych zámody. | |
| Funkce 24hod. au-tomatický provoz nefunguje. | Došlo k výpadku proudu. | Znovu nestavte funkci 24hod. automatický pro-voz. |
| Došlo ke zmrěněnastavení prěpinačevprovoznich režimù. | Znovu nestavte funkci 24hod. automatický pro-voz. | |
| Došlo ke zmrěně let-ního/žimniochecku. | Znovu nestavte funkci 24hod. automatický pro-voz. | |
| Poslední prvy na-hoře a dole nejsou tak teplé jak zbytek prístroje. | Prvy nahoře nejsou dostatečné napus-těné. | Za tepla dochází k dilataci termodynamického média. Chvilí trva, než se tyto pryvä zahrěji. |
| Kolem prístroje je znečištěná stěna. | Nečiustóty na stěnéjsou zpúsobenéznečištěním vžduchu v mistnosti (svíčky, kouř z cigarret, špatné větrání apod.). | Zabraṇě znečištování vžduchu v mistnosti. |
Pokud nelze prfcinu odstranit, kontaktujte odbornika.
K ziskani lepsi a rychlejsi pomoci sdeltce cislo z typovho stifiku (000000-0000-000000).
Typov Štěk je umistěn vpravo dole na prístroji.
INSTALLACE
7. Bezpečnost
Instalaci, uvedeni do provozu, udrzbu a opravy pristroje smi provadet pouze odbornik.
7.1 Vseobecné bezpečnostníPokyny
Rădnou funkci a spolehlivy provoz lze zarucit pouze v pripadé pouziti puvodniho prisluşenstvi a originánnich nahradnich dl'u urcenych pro tento pristroj.
7.2 Predpisy, normy a ustanoveni

Upozorneni
Dodržujte minimálni vzdálenosti uvedene v kapitole „Technické udaje".

Vécné skody
Instalujte pristroj na svislou stenu, odolnou proti pusobeni teploty minimale 80°C.

Vécné skody
Neinstalujte pristroj primo pod zasuvku.
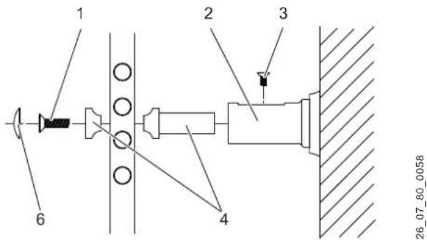
9.2 Montáz na stenu

Upozorneni
Dodržujte rozměry a minimálné vzdálenosti uvedené v kapitole „Technické udaje".
» Vyvrtejte otvory a vlozte do nich hmozdinky.

1 sroub drzaku
2 nastenná distancni objimka
3 zajistovaci sroub
4 drzak
5 odnimatelne viko

26.07.80.0054

Upozorneni Pozor na spravne vyrovnani natrubku ve stene.
» Príšroubujte nástenné distancnf objímky.
» Upevněte držáky na Žebrík. Držáky zatím pevně neutahujte.

26.07.80.0056
» Namontujte nastěnný držák. Dávejte pritom pozor na polohu vyřezù. Vyřez musí vždy směrovat dolū nebo nahoru.

» Smontujte prístroj a nástenny držák.
» Utáhněte šrouby k upevněnístroje.
» Namontujte držák koupacího plástě dlte obrázku.
Veskeré elektröinstalačni práce a pripojovani elektrických prípojek provadějte vyhradné v souladus národnimi a mistrimi predpisy.

Upozorneni
12. Předání pristroje
» Vysvětlete uživateli funkce prístroje.
» Upozorněte jej prědevím na bezpečnostníPokyny.
» Prédejte uživateli námod k obsluze a instalaci.
13. Technické udaje
13.1 Rozměry

D0000026162
| BHG | 500 W | BHG 750 W | BHG 750 C | BHG 1000 W | |||
| a10 | Přistroj | Výška | mm | 998 | 1453 | 1658 | 1781 |
| a20 | Přistroj | Šířka | mm | 480 | 480 | 600 | 550 |
| a30 | Přistroj | Hloubka | mm | 100 | 115 | 110 | 115 |
| i13 | Zavěšeni na zed | Vzdálenost otv. vertíkálné | mm | 779 | 1230 | 1435 | 1599 |
| Vzdálenost otv. horizontálné | mm | 350 | 350 | 450 | 400 | ||
13.2 Minimálny vzdálenosti

D000026163
13.3 Tabulka udajù
| BHG500 W | BHG750 W | BHG750 C | BHG1000 W | ||
| 236572 | 231950 | 231951 | 233861 | ||
| Elektrotechnické udaje | |||||
| Sítová prípojka | 1/N ~230/240V | 1/N ~230/240V | 1/N ~230/240V | 1/N ~230/240V | |
| Přikon | kW | 0,5 | 0,75 | 0,75 | 1,0 |
| Rozměry | |||||
| Výška | mm | 998 | 1453 | 1658 | 1781 |
| Šířka | mm | 480 | 480 | 600 | 550 |
| Hloubka | mm | 100 | 115 | 110 | 115 |
| Hmotnosti | |||||
| Hmotnost | kg | 12 | 16 | 24 | 30 |
| Provedení | |||||
| Režim ochrany před mrazem | °C | 6 | 6 | 6 | 6 |
| Kryti (IP) | IP24 | IP24 | IP24 | IP24 | |
| Třida ochrany | II | II | II | II | |
| Barva | bilá,RAL9016 | bilá,RAL9016 | Chrom | bilá,RAL9016 | |
| Hodnoty | |||||
| Rozsaḥ nastavení | °C | 6-30 | 6-30 | 6-30 | 6-30 |
Záruka
Pro pristroje nabyte mimo uzemi Nemecka neplatzi zaručni podmíky poskytované našimi firmami v Nemecko. V zemich, ve kterych některá z nasich dceřiních společnosti distribuujne naše vyrobky, poskytuje zaruku jenom tato dceřina společnost. Takovou zaruku lze poskytnout pouze tehdy,Pokud dceřina společnost vydala vlastné zaručni podmíky. Jinak nelze zaruku poskytnout.
Na prístroje zakoupene v zemich, ve kterych nejsou nase yrobky distribuovány zádnou z dceirinych spolecnosti, neposkytujeme zádnou záruku. Pripadne zárky závizně prislibene dovozcem zustavaji proto nedotcené.
Zivotni prostředí a recyklace
Pomozte nám chránit nase zivotní prostředí. Materialy po použítí zlikvidujte v souladu s platnými narodními prédpisy.
CNEUNAJIbHbIeYKA3AHNIA
3KCIUYATALIM
- 06uyeyka3aHn.. 34
- TexHnka 6e30nacHoCTn 35
- Onicahne yctpojCTBa 35
- 3Kcnnyataa.. 36
- 甲ctka,yxOITexHnueeckoeo6cnyXnBaHne...37
- YctpaHHe HncnpaBHOcteI 37
MOHTAK
- TexHnka 6e3oNaChocTn 37
- Onncanue yctpoNCTBa 37
- MoHTax 37
- 38
- YcTpaHHe HEnCnpaBHOcteI 39
12.перета пибopa.. 39 - TexHHueckne xapaKTepeNCTnKn 39
TAPAHTR
3AUHTAOKPYXIAOUECPEbIUYTUNI3AUIN
CNEUJIbHbIE YKA3AHNA
DeTAM B BO3pacte Do 3 neT 3aPpeuEHO NOB3OBaTbCn Pn6OpOM, eCNn OHn He HaxoJrTcN IOI NOCTOHHbIM PnICMOTpOM B3POCJIbIX.
DeTAM B BO3pacte ot 3 do 7 neT pa3peweHO BKNIOUaTB N BbIKIOUaTB np6Op TOnbKO NOI npNCMOTPOM B3POCJIbIX INN NOcNE COOTBeCTBYIOUeO IHCTpyKtJxA O npabUNax 6e3ONACHO IOB3OBAHn I NOTEHuaJIbHOINOCHTN B CNYae HecO6JIIODeHnN 3TNX npABNJ. HenpemeHHbIM YcIOBnEM AIBJeTCMOHTAX np6Opa, BblONHeHHbIM B COOTBeCTBUN C yKa3aHnMI HaCToJzero pyKOBOdCTBa. DeTAM B BO3pacte ot 3 do 7 neT 3appeueHO BKNIOUaTB WTeKePHyIO BUnKy B pO3eTKy IN BblIOHNrTb perynipOBAHne np6Opa.
DeTAM CTAPwe 8 neT, a TaKKe IuCama C orpaHnueHHbIMN fI3NUeCKIMN, CEHCOPHBIMN UymCTBeHHbIMN cNOcO6HOCTaMn, He IMeIOUIM OnbTa N He BNaJeIOUIM INHOFOpMaUnei O npIbope, pa3peSeHo NCNoJIb3OBaTb pnp6Op TOnbKO NOd pncmOTpOM dpyrNX NUC NIN NocLe COOTBETCTByIOUeRO INHCTpykTaJa o npabInax 6e3ONACHORo NOLb3OBAHN I NOTeHuaNB-HOI ONaCHOCTN B Clyuae HecO6JIoDEHNRA 3TNX npabNJ.
He donyckaT wanocteI deteI c np6opom. DeTN MOryT BbINONHATb YnCTKy np6opa n Te BuDbI TexHNueCKoO 6cLJXnBaHn, KOtOpbl e 06bUHO pON3BOaTc NOnb3OBaTeIeM, TOnbKO NOI pNcMOTpOM B3PocNbIX.
3JemeHbI np60pa MoryT HargBaTbcra Do BblCOKNX TemnepaTyp N Bbl3bIBaTb OXKOrN. Oco6a octopoxKHOCTb Heo6xOIma TaM, rDe eCTb DeTN, INHbaINDbI N IInca NOxNIORO BO3pacta.
He yctaHaBnBaTb np6Op HenocpeCTBeHHo NOd HacteHHo PO3eTKoI.
IpnKcnpOBaHOM CoeHHeHN yCTPOCTBO DOnXHO OTKIOUaTbC8 OTeN C paCTBOPOM BCEX KOHTAKTOB MNHMym 3 MM.
O Pn NOBpeXeHn Ka6eI NITaHn IIN Heo6XODIMOCTN erO 3aMeHb BblONHrTb 3TN pa60-Tbl DOJKeH TOJIbKO CNEUHaNtC, yNOHOMOueHbI INPON3BOIDNTeIeM, IN TOJIbKO C NcNoJIb3O-BAHNEM OPUNHAnbHorO Ka6eI.
3aKpeNTb np6Op, KaK OINcaHO B rnaBe «YCTaHOBka/MoHTaJk
SnadnýManuál