S4000 - Oven Foster - Free user manual and instructions
Find the device manual for free S4000 Foster in PDF.
Download the instructions for your Oven in PDF format for free! Find your manual S4000 - Foster and take your electronic device back in hand. On this page are published all the documents necessary for the use of your device. S4000 by Foster.
USER MANUAL S4000 Foster
natural_image
Isometric technical diagram of a multi-chamber electrical enclosure with mounting holes and a base plate (no text or symbols)natural_image
Technical diagram of a mechanical component with labeled dimensions A and B (no text or symbols beyond labels)natural_image
Line drawing of hands performing a finger pressing on a curved surface (no text or symbols)natural_image
Line drawing of two hands performing a work on a wall corner, no text or symbols presentnatural_image
Technical diagram of a mechanical clamp or bracket assembly with a magnified inset showing the component detail (no text or symbols present)

natural_image
Pure technical diagram of a mechanical or fluidic component inside a circular boundary, without any text, numbers, or symbols.Bordo Q4 (4 mm)

natural_image
Technical illustration of a mechanical assembly with a magnified inset showing a bracket and spring (no text or symbols)

natural_image
Pure technical diagram of a mechanical device inside a circular frame, without any text, numbers, or symbols.natural_image
Technical illustration of a mechanical clamp assembly with an inset showing the mounting bracket detail (no text or symbols present)

natural_image
Pure technical diagram of a mechanical assembly inside a circular frame, without any text, numbers, or symbols.Bordo filotop

natural_image
Technical diagram showing a structural connection with an inset magnified view of a mechanical component (no text or symbols present)

natural_image
Technical line drawing of a mechanical assembly inside a circular frame, showing internal components and wavy lines (no text or symbols)
natural_image
Technical line drawing of a wooden beam joint with a magnified inset showing the detail (no text or symbols)

text_image
A B Cnatural_image
Technical diagram showing a mechanical component inserted into a structural beam, with an inset close-up highlighting the detail (no text or symbols present)
text_image
A Bnatural_image
Line drawing of a hand holding a tool with a base, no text or symbols presentnatural_image
Diagram showing two mechanical assembly steps with rotating components and base plates (no text or symbols)text_image
L N 20 mm
marrone

blu

giallo-verde
text_image
OFF MAX MINnatural_image
Illustration of various cooking pots and heating elements with no text or symbolsWe thank you for having chosen a Foster cooker hob.
Your preference is our pride and satisfaction.
In this document are the recommendations and instructions that will enable you to make the best use of the purchased cooker hob and guarantee its best preservation in time. We ask that you take a few minutes to protect the efficiency of the product and for your satisfaction.
With kind regards
Foster spa
Table of Contents

GENERAL WARNINGS
General recommendation to be consulted before installation and use of the purchased cooker hob.
- Usage warnings 22
- Safety warnings.... 23
- Warnings for disposal....23
- Know your appliance....24

INSTALLER INSTRUCTIONS
They are intended for the qualified technician that will complete appliance installation, commissioning and initial testing.
- First installation....25
- Positioning in the work top 25
- Fastening the cooker hob to the cabinet....27
- Connecting the cooker hob to the gas network.... 30
- Room ventilation 31
- Discharging combustion products (exhaust) 32
- Adapting to different types of gasses.... 32
- Adjustment of the minimum....34
- Electrical connection of the cooker hob.... 34

USER INSTRUCTIONS
The indicate usage recommendations, a description of controls and the correct cleaning and maintenance operations for the appliance.
-
Cooker hob use....35
-
Cleaning and maintenance.... 38
Gas cooker hobs summary....213
1. Usage warnings

This manual is and integral part of this appliance. It is necessary to keep it undamaged and on hand for the entire life cycle of the hob. We recommend carefully reading this document and all instructions contained within before using the appliance.
Installation must be completed by qualified personnel according to current standards. This appliance is intended for domestic type use, and is conform with CE Directives currently in force: 2009/142/EC (appliances burning gaseous fuels), 2006/95/EC, 2004/108/EC.

The appliance has been manufactured to carry out the following function: COOKING AND HEATING FOOD, ANY OTHER USE MUST BE CONSIDERED IMPROPER.
The manufacturer declines any responsibility for uses that are different from those indicated.
- Never use this appliance for heating environments.
- Do not leave packaging material waste unguarded in the household environment.
- Separate the various packaging waste materials and deliver them to the closest selective waste collection centres.

This appliance has a mark pursuant to European Directive 2002/96/EC with regard to waste, electric and electronic appliances (waste electrical and electronic equipment - WEEE). This Directive defines the Standards for the collection and recycling of dismissed appliances valid throughout the territory of the European Union.

The identification plate, with technical data, serial number and marking, is positioned in view under the housing [Fig. 1].
THE PLATE MUST NEVER BE RE-MOVED.

natural_image
Isometric technical diagram of a mechanical assembly with four circular components and a curved arrow indicating rotation (no text or symbols)Fig. 1: position of the identification plate
The regulations settings of the appliance are specified in the rating label.
2. Safety warnings

In your interest and for your safety, by law it has been established that installation and service for all electric or gas appliances must be carried out by qualified personnel, according to current regulations and the requirements of local companies supplying gas and electric power.
• Gas or electric appliances must always be disengaged by competent persons.
- The plug to be connected to the power supply cable and the related socket must be of the same kind and conform to regulations in force.
- The socket must be accessible once the appliance is installed.
- Never detach the plug by pulling on the cord.
- It is mandatory to have an earth connection as per modes foreseen in the electrical system safety standards.
- Do not block the openings and ventilation and heat dispersion slots.

Immediately after installation complete a short test on the appliance following the instructions contained in subsequent pages in this manual. If it does not operate correctly, disconnect the appliance from the power mains and contact the closest technical assistance centre: NEVER ATTEMPT TO REPAIR THE APPLIANCE.
During use the appliance becomes very hot. The use of proper thermal gloves is recommended for any type of operation. This appliance is not intended to be used by persons (including children) with reduced physical, sensory or mental capabilities, or lacking experience and knowledge, unless supervised or instructed concerning the use of the appliance by a person responsible for their safety. CHILDREN MUST BE SUPERVISED TO MAKE SURE THEY DO NOT PLAY WITH THE APPLIANCE.

The manufacturer declines any liability for damages to persons or property, caused by the non observance of the following regulations or resulting from tampering with even a single part of the appliance and using non original spare parts.
3. Warnings for disposal
OUR CARE FOR THE ENVIRONMENT
Our products are packaged using non polluting materials, that are therefore compatible with the environment and recyclable. We request your cooperation in making sure that packaging materials are
disposed of correctly. Contact your reseller or competent organizations in your area for information about waste collection centres, recycling and disposal.

DO NOT ABBANDON THE PACKAGING MATERIAL OR PARTS OF IT. THEY MAY CREATE A SUFFOCATION DANGER FOR CHILDREN, ESPECIALLY PLASTIC BAGS.
Even your old appliance must be disposed of properly, this will contribute to avoiding negative environmental and health consequences, that would occur as a result of improper disposal.

IMPORTANT: this appliance cannot be treated as household waste. Deliver the old appliance to the local company that is authorised to collect appliances that are no longer in use. A proper disposal makes an intelligent recovery of precious materials. It is also necessary to cut the cable connecting to the power mains and remove it along with the plug.
4. Know your appliance
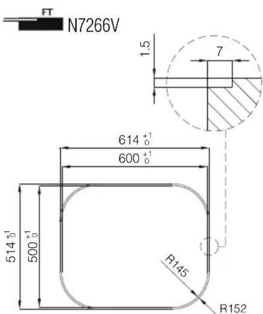
All drawings relating to the Foster cooker hobs manufactured today, are at the end of this manual, Gas cooker hobs summary [Page 213].
We ask that you recognise the drawing of the cooker hob you have purchased to familiarise with the main technical-functional features.
For research practicality the cooker hobs are distinguished in two macro-families:
- Traditional built-in cooker hobs: "8 mm edge", "Q4 edge" and "semi-flush edge";
- Flush built-in cooker hobs: "flush-mount" edge.
Regardless of the type of edge, the first group has a simple traditional built-in hole. The cooker hobs with "flush-mount" edge have a more detailed drawing to enable realisation of the "made to measure" hole, or having a step necessary to house the edge of the cooker hub so it is "flush" with the worktop.
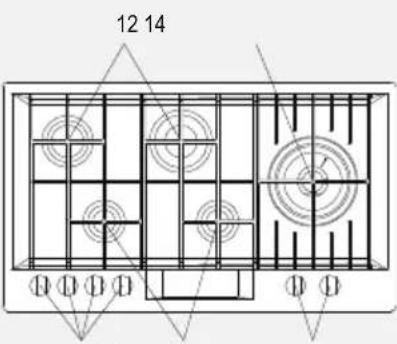
Numbers in correspondence with the burners are present in all drawings. Such numbers identify the type of burner. To know the powers of the burners of the gas cooker hub you purchased, refer to reading the powers table depending on the type of gas used [Page 213].
5. First installation

Do not leave packaging material waste unguarded in the household environment. Separate the various packaging waste materials and deliver them to the closest selective waste collection centres.
In order to remove all manufacturing residues, we recommend cleaning the appliance.
For further information on cleaning see Chapter 15 [Page 38].
6. Positioning in the work top
This built-in cooker hob is of Class 3.

The following interventions require masonry and/or carpentry work and must therefore be completed by a competent technician. Installation can be completed on different materials, such as masonry, metal, solid wood and plastic laminated wood, as long as it is heat resistant (T 100°C).
6.1 Installation on the support structure (worktop) of a traditional built-in cooker hob (8 mm edge, Q4 edge, semi-flush edge)

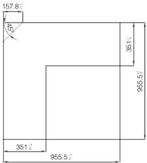
Cut an opening on the top surface of the cabinet with the dimensions and position indicated here below and represented in the drawing [Fig. 2].
The dimensions of the built-in hole are shown in the Gas cooker hobs summary - models with traditional built-in [Page 213], in correspondence of the drawing of the purchased cooker hob.

natural_image
Technical diagram of a mechanical component with labeled dimensions A and B (no text or symbols beyond labels)Fig. 2: cutting the hole for the built-in

- The distance of the cooker hob from the back edge must be at least 50 mm;
- The distance of the cooker hob from the walls that exceed worktop height must be at least 100 mm;
- Should a hood be installed above the hob, see the hood assembly instructions which provide the correct distance to be respected.

text_image
min.650 50 100Fig. 3: cooker hob distances

- Carefully position the supplied insulating gasket along the external perimeter of the hole created on the worktop, trying to make it adhere along the entire surface by slightly pressing it by hand [Fig. 4].
- Once these operations have been completed, use the supplied brackets to fasten the hob to the structure. Refer to the "Fastening the cooker hob to the cabinet" paragraph [Page 27].

natural_image
Line drawing of two hands performing a curved tool or bracketing operation (no text or symbols)Fig. 4: positioning the insulating gasket
6.2 Installation on the support structure (worktop) of a flush built-in cooker hob (flush-mount edge)

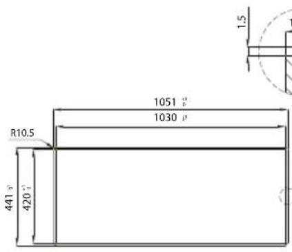
This type of appliance requires milling on the 1.5 mm deep worktop, which measurements are indicated in the top drawing, identifiable in the section Gas cooker hobs summary - models with "flush" built-in [Page 213]. The step is necessary to house the cooker hub edge so that it is "flush" with the worktop.

- Accurately clean milling.
- Before positioning the top, lay the sealer gasket provided on the entire milling surface [Fig. 5].
- Once these operations have been completed, use the supplied brackets to fasten the hob to the structure. Refer to the "Fastening the cooker hob to the cabinet" paragraph [Page 27].

natural_image
Line drawing of two hands performing a rope or tape on a wooden bracket (no text or symbols)Fig. 5: positioning the insulating gasket

A constant light of at least 0.5 mm is envisioned between the external dimensions of the stainless steel platform and the internal dimensions of the lowering that must be respected during assembly. The temperatures that develop during use of the cooker hub induce a slight elongation on the stainless steel platform, therefore, the envisioned light enables avoiding any interferences. With regard to the kitchen worktop, the temperatures induced by the cooker hub - whether in the section and on the contact top - are very contained. We recommend assembling the cooker hubs with flush-mount edge on water-repellent materials.
7. Fastening the cooker hob to the cabinet

Fasten the supplied hooks to the brackets under the appliance, as shown here below. The supplied hooks make it possible to fasten to a top whose thickness is between 30 and 40 mm.

IMPORTANT:
- For fastening this product to the support structure, the use of mechanical or electric screwdrivers is not recommended and only moderate pressure must be exerted by hands to the clamping parts.
- The surface under the appliance must be at least 5 mm from the bottom of it and must have an opening for passing gas and electric conduit that is at least 50x50 mm.
- If this product is installed above an oven, it must be equipped with a cooling fan.
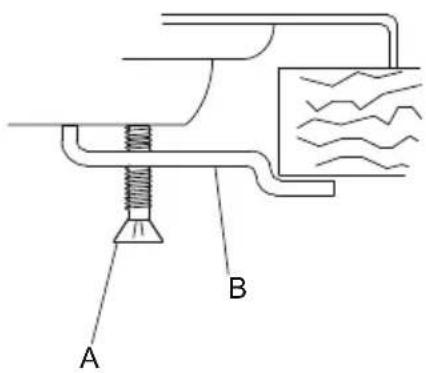
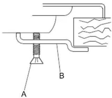
7.1 Fixed hooks
They make it possible to fasten the cooker hob using fixing frames pre-set along specific points.

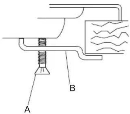
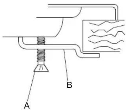
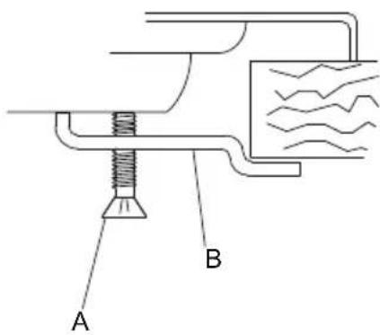
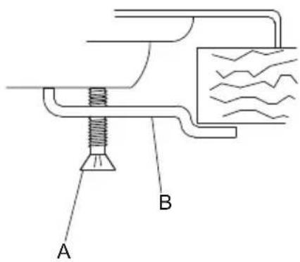
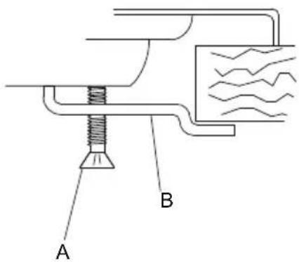
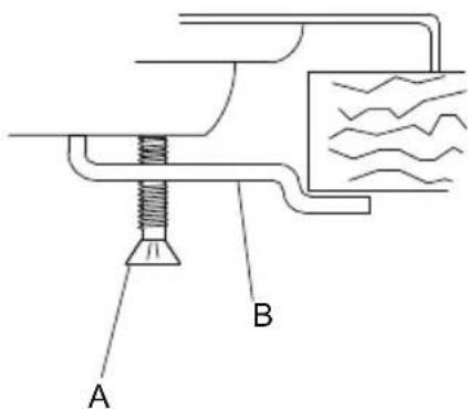
Standard edge (8 mm)

natural_image
Technical illustration of a mechanical clamp or bracket assembly with a magnified inset showing the hook detail (no text or symbols present)

natural_image
Diagram of a mechanical or fluid system with wavy lines and a central pipe, enclosed in a circle (no text or symbols)Q4 edge (4 mm)

natural_image
Technical diagram showing a structural connection with a magnified inset of a spring-loaded bracket (no text or symbols present)

natural_image
Pure technical diagram of a mechanical device inside a circular frame, without any text, numbers, or symbols.Semi-flush edge (3 mm)

natural_image
Technical illustration of a structural bracket with an inset showing a mechanical clamp component (no text or symbols present)

natural_image
Technical line drawing of a mechanical assembly inside a circular frame (no text or symbols)Flush-mount edge

natural_image
Technical diagram showing a structural connection with an inset magnified detail of a mechanical component (no text or symbols present)

natural_image
Technical line drawing of a mechanical assembly inside a circular frame, showing internal components and motion lines (no text or symbols)
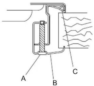
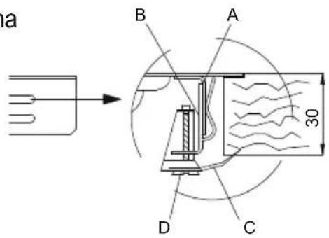
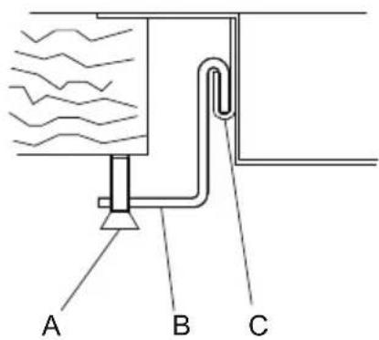
Set hook B in frame A welded to the hob, making sure that it is blocked in the specific holes based on top thickness (for a 30 mm thick top, lock the hook in the the highest hole in the frame; for a 40 mm thick top, block the hook in the lowest hole of the frame).
Rotate tongue CA until it is positioned above the top, then tighten screw D.

text_image
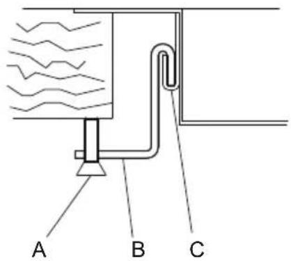
B A 30 D C B A 40 D C7.2 Sliding hooks
Make it possible to fasten the cooker hob without pre-set fastening points.

Standard edge (8 mm)

natural_image
Technical line drawing of a wooden beam joint with an inset showing a bracket detail (no text or symbols)
text_image
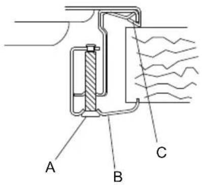
A B CFlush-mount edge - Q4 (only for S4000 series)

text_image
FT Q4
text_image
A B CInsert hook B in the sliding guide CA. Manually lock the hook using screw A.
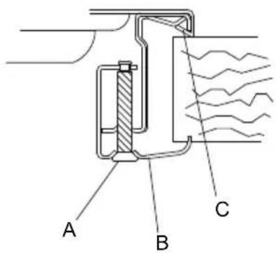
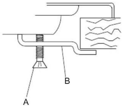
7.3 Fixed brackets
Make it possible to fasten the cooker hob in pre-set fastening points.

Standard edge (8 mm)

natural_image
Technical diagram showing a mechanical component inserted into a structural beam, with an inset magnified view of the detail (no text or symbols present)

text_image
A BIntroduce the bracket B in appropriate top seat.
Manually lock the bracket using screw A.
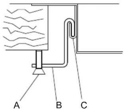
8. Connecting the cooker hob to the gas network

It is necessary for the gas supply system to conform to local regulations in force.
It is necessary to verify that local distribution conditions (gas nature and pressure) and the appliance adjustment status are compatible.
IMPORTANT: If the appliance is installed above an oven, it is necessary to avoid passing the gas tube behind the oven in order to avoid overheating.

The connection to the gas supply network can be completed using rigid copper piping or with a continuous flexible steel pipe on the wall, according to established regulations that are parts of the regulations in force [Fig. 6]. In any case every pipe connected to the gas supply network must be equipped with a safety interception valve.

text_image
cooker hob fitting gasket stainless steel flexible pipe copper rigid pipeFig. 6: connection to the gas supply network

IMPORTANT: Always place the gasket between the hob fitting and the connection pipe.

- If using a stainless steel flexible pipe, it must be installed so that it does not come in contact with any part of the cabinet, but passes through an unoccupied area where its entire length can be inspected. Maximum extension of the flexible pipe must be less than 2 metres.
- The gas fitting is the type with a 1/2" gas ISO R7 tapered thread.

After connecting the appliance to the gas supply network always verify fittings seal using a soapy solution. VERIFYING THE SEAL USING NAKED FLAMES IS ABSOLUTELY PROHIBITED.

The cooker hob is tested for methane gas G20 (2H) at a pressure of 20 mbar. For supplying with other types of gas, see the Adapting to the different types of gas table [Page 32]
8.1 Connection to liquid gas

Use a pressure regulator and realise connection on cylinder in compliance with the prescriptions established by the current Standards.
Ensure the supply pressure respects the values indicated in the table. Adapting to different types of gasses [Page 32]. In this case also, connection must be carried out with copper rigid pipe or with stainless steel flexible pipe with continuous wall.
9. Room ventilation

IMPORTANT: The appliance can only be installed in rooms that are permanently ventilated, as required by standards in force.
10. Discharging combustion products (exhaust)

This appliance is not connected to a combustion-by-product evacuation system. It must be installed in accordance with the existent regulations. Please pay particular attention to the regulations concerning ventilation.

Discharge of combustion products must be ensured through hoods connected to an efficient natural draught flue, or through a forced exhaust.
An efficient exhaust system requires an accurate design by a specialist that is approved for this work, following positions and distances contained in regulations.

IMPORTANT: At the end of the intervention the installer must issue a conformity certificate.
- Adapting to different types of gasses
| Gas type | Burner | Nominal power (KW) | Rated consumption (g/h) | Injector (ø mm) | Min. nominal power (KW) | ||
| Series | No. Ref. | ||||||
| LPG GAS G30/G31 28-30/37 mbar | II | 2 Auxiliary 1,00 73 | 0,50 0,52 | ||||
| 3 Semi-quick 1,75 | 127 0,65 0,52 | ||||||
| 4 Quick 2,70 196 0 | 80 0,90 | ||||||
| 5 Triple crown | 3,50 254 0 | 95 1,80 | |||||
| 10 | Dual | 4,50 | 328 | i 0.46 / and 0.66 | i 0,30 / and 1,40 | ||
| III | 6 Auxiliary 1,10 80 | 0,52 0,52 | |||||
| 7 Semi-quick 1,75 | 127 0,65 0,52 | ||||||
| 8 Quick 3,00 218 0 | 85 0,90 | ||||||
| 9 Triple crown | 3,80 276 0 | 98 1,80 | |||||
| AE | 11 | Auxiliary 1,00 73 0,50 0,52 | |||||
| 12 | Semi-quick 1,75 127 0,65 0,52 | ||||||
| 13 | Quick 3,00 218 0,85 0,90 | ||||||
| 14 | Dual gear | 5,00 | 364 | i 0.46 / and 0.95 | i 0,40 / and 1,70 | ||
| Series | No. Ref. | ||||||
| METHANE GAS G20 20 mbar | II | 2 Auxiliary 1,00 95 | 0,72 0,52 | ||||
| 3 Semi-quick 1,75 | 167 0,97 0,52 | ||||||
| 4 Quick 2,70 257 1 | 08 0,90 | ||||||
| 5 Triple crown 3,50 | 333 1,35 1,80 | ||||||
| 10 | Dual | 4,50 | 429 | i 0.72 / and 1.02 | i 0,30 / and 1,40 | ||
| III | 6 Auxiliary 1,10 105 | 0,73 0,52 | |||||
| 7 Semi-quick 1,75 | 167 0,98 0,52 | ||||||
| 8 Quick 3,00 285 1 | 26 0,90 | ||||||
| 9 Triple crown 3,80 | 362 1,35 1,80 | ||||||
| AE | 11 Auxiliary 1,00 | 95 0,72 0,52 | |||||
| 12 | Semi-quick 1,75 167 0,97 0,52 | ||||||
| 13 | Quick 3,00 285 1,32 0,90 | ||||||
| 14 | Dual gear | 5,00 | 476 | i 0.75 / and 1.51 | i 0,40 / and 1,70 | ||

The appliance is tested for methane gas G20 (2H) at a pressure of 20 mbar. When using with other types of gas it is necessary to replace the burner nozzles, and adjust the minimum flame on the gas taps. For nozzle replacement, proceed as described in the following paragraphs.
11.1 Cooker hob nozzle replacement

IMPORTANT: Before completing the following operations, always make sure that the appliance is disconnected from the power mains.

- Remove the grids, remove all flame spreading caps and crowns.
- Using a 7 mm tube spanner, unscrew the burner nozzles [Fig.7].
- Proceed with burner nozzle replacement based on the type of gas to be used (table "Adapting to different types of gasses" [Page 32]).
- Correctly reposition the burner in its seat.

natural_image
Line drawing of a hand holding a test tube with a clamp, mounted on a base (no text or symbols)Fig. 7: nozzle replacement

IMPORTANT: After adjusting for use with a gas that is different from the initial testing one, replace the label on appliance housing with the one that corresponds to the new gas type.
12. Adjustment of the minimum

Instructions for urban and methane gas
- Light the burner and bring it to the minimum position.
- Remove the gas tap knob and turn the adjustment screw [Fig. 8] inside or on the side of the tap rod (depending on the model), until a regular minimum flame is obtained. When a two-way gas tap is present [see Fig. 12-13] there are two screws for minimum gas flow adjustment.
- Re-assemble the knob and verify burner flame stability (when quickly rotating the hand from maximum to minimum position the flame must not shut off).
- Repeat the operation on all gas taps.

natural_image
Diagram showing two mechanical assembly steps with rotating components and base plates (no text or symbols)Fig. 8: adjustment of the minimum

Instructions for liquid gas (LPG)
Tighten the screw inside, or on the side of the tap (depending on the mode), rod clockwise completely.
13. Electrical connection of the cooker hob

IMPORTANT: Before completing the following operation, always make sure that the voltage and sizing of the power supply line correspond to the characteristics indicated on the place located under the housing of the appliance. This plate must never be removed.

It is mandatory to have an earth connection as per modes foreseen in the electrical system safety standards.
- For direct connection to the electric mains, a device must be applied which guarantees disconnection from the mains with a contact opening distance which allows complete disconnection in overvoltage category III conditions in compliance with installation rules.
- If using a connection with a plug and socket, verify that they are of the same type. Avoid using reducers, adaptors or diverters because they may cause overheating or burns.

IMPORTANT: The manufacturer declines any liability for damages to persons or property, caused by the non observance of the following regulations or resulting from tampering with even a single part of the appliance.

When replacing the power cable, a H05RR-F type cable must be used with a 3x0.75 mm ^2 cross-section.


text_image
L N 20 mmL brown
N blue
yellow-green
14. Cooker hob use
14.1 Lighting the burners

Before lighting hob burners, make sure that the flame spreading crowns are positioned in their seat with the respective caps.

text_image
✓ parallel and centred
text_image
tilted

Fig. 9: crown position

The new burners called "Series III" are assembled on certain cooker hobs. The lock system between cover (B) and flame spreading (A) guarantees perfect positioning and large cleaning ability.

text_image
A B CFig. 10: positioning of the series III burner
The upper cover (B) of the burners must be placed in opposite seat with the two introductions notches in correspondence of the two cylinders below (C) and tighten clockwise.

The associated burner is indicated near each knob. The appliance is equipped with an electric ignition device. It is sufficient to press the knob and rotate it anti-clockwise to the maximum flame symbol, until it is lit. If it does not ignite within the first 15 seconds, bring the knob on ●chiuso] (closed) and do not try to re-ignite for 60 seconds.
Once it is lit, keep the knob pressed for a few seconds in order for thermocouple to heat up. It is possible that the burner shuts off when the knob is released: this means that the thermocouple was not sufficiently heated. Wait a few seconds and repeat the operation, keeping the knob pressed for a little longer. Once the burner is lit, it is possible to adjust the flame based on need.

After every use of the hob, always verify that the control knobs are in ● [chiuso] (closed) position.
If the burners were to shut off accidentally, after about 20 seconds a safety device intervenes and blocks gas output, even when the tap is open. In this case bring the knob to ● [chiuso] (closed) position and do not try to light the burner for at least 60 seconds.

text_image
OFF MAX MINFig. 11: standard burner knob

text_image
CHIUSO 1 INSIDE BURNER 2 EXTERNAL CROWNS MAX 1 MAX 2 MIN 1 CHIUSO 2 MAX 1 MIN 2 MAX 1 CHIUSO 2Fig. 12: burner knob dual (S4000)/dual gear

text_image
CHIUSO 1 INSIDE BURNER 2 EXTERNAL CROWNS 1 MAX 2 CHIUSO 1 MIN 2 CHIUSO 1 MIN 2 MIN 1 MAX 2 MAXFig. 13: burner knob dual (GIOTTO/VULCANO)
14.2 Practical recommendations for burner use

For better burner yield, and minimum gas consumption, it is necessary to use flat and regular bottom pots, equipped with a cover and proportioned to the burner, in order to avoid that the flame goes up their sides (see the "Pots diameter" paragraph [Page 37]). When boiling, reduce the flame as much as needed to make sure that the liquid does not overflow.

natural_image
Illustration of cooking pots with crossed-out flames and no text or symbolsFig. 14: pots use

During cooking, all containers or steak pans, also to avoid burns or damage to the hob, must not exceed the measurements indicated in the paragraph "Pot diameter" [Page 37]). Do not heat empty pots or pans, because they may overheat.

When using greases or oils, pay careful attention because, when overheating, they may catch on fire. If a pan containing greases or oil catches on fire, do not pour water on it because it may cause burns; extinguish the fire by covering the pan with a wet cloth and disconnect the appliance from the power mains.
14.3 Pot diameter
• Auxiliary burner: from 6 to 14 cm
• Semi-quick burner: from 15 to 20 cm
• Quick burner: from 21 to 26 cm
• Double crown, triple crown, dual burners: from 24 to 28 cm

During operation, the cooker hob generates heat and humidity in the room it is installed in. Make sure that the kitchen is well ventilated. A prolonged used of the appliance with some or all burners may require additional ventilation such as opening a window and/or a greater suction power from the exhaust hood.
15. Cleaning and maintenance

Do not use a steam jet to clean the appliance.
Before any intervention it is necessary to disengage the appliance power supply.
Avoid leaving acid or alkaline (vinegar, lemon juice, salt, tomato juice,...) substances on the steel, grids and other parts of the appliance.
15.1 Cleaning the stainless steel
In order to properly preserve the stainless steel, it is necessary to regularly clean it after each use, once it has cooled down.
15.1.1 Daily ordinary cleaning
In order to clean and preserve stainless steel surfaces, only use specific products that do not contain abrasives or chlorine based acid substances.
Mode of use: pour the product on a damp cloth and pass on the surface. Take off the product thoroughly with a clean damp cloth.
15.1.2 Food stains or residue

Absolutely avoid using metal sponges and sharp scrapers to avoid damaging the surfaces. Use normal products for steel, non abrasives, using wood or plastic material tools if needed. Carefully rinse and dry using a soft cloth or a deerskin.
We recommend using Foster Steel Clean to clean the steel; for information on where it can be obtained, contact the after-sales technical assistance centre.
Do not use chemical detergents such as oven sprays or stain removers.
15.2 Cleaning gas components
The grids, caps and flame spreading crowns are removable in order to simplify cleaning: wash then in hot water with non abrasive detergent, making sure that any crud is removed and dry them immediately using a cloth. Re-assemble the caps on their crowns. The cast iron components, like the grids and the burners, must never be washed in dishwashers.
For the ignition glow plugs to work correctly, the thermocouples must always be clean. Frequently check them and, if necessary, clean using a wet cloth and then dry them. Any dry residue must be removed using a wood toothpick or a needle.
The flame-diffusers and burner caps must be cleaned regularly at the end of each use. For normal dirt and to shine the flame-diffuser use Foster Steel Clean crème with a microfiber cloth. Apply following the direction of the aluminium brushing.
15.3 Cleaning of enameled top-sheets
In order to properly maintain the enameled top-sheets it is necessary to clean them regularly at the end of each use, after having waited for it to cool down.
To clean the enamel always use only a damp microfiber cloth and neutral soap.
Do not use products containing abrasives or acid substances based on chlorine.
Imperatively avoid to use metallic sponges or sharp objects, so as not to damage the surface.
15.4 Cleaning of knobs
The knobs should be cleaned with a soft cloth dampened with water, and dried carefully.
In order to facilitate the cleaning it is possible to extract the knobs by pulling them upwards.
Do not use aggressive cleaning products containing alcohol, chlorides or abrasive products.
15.5 Markings of the top-sheet
Please take special care not to use any abrasive or chemical product on the markings (serigraphy) of the top-sheet. Use only a damp microfiber cloth.

Foster S.P.A. will not answer for the possible inaccuracies contained in this manual attributable to printing or transcription errors. The right is reserved to make amendments to own products considered necessary or useful, also in the interest of the utility, without jeopardising its functional and safety features.
Cher client,
natural_image
Isometric technical diagram of a multi-chamber electrical enclosure with no visible text or symbolsnatural_image
Technical line drawing of a mechanical component with labeled dimensions A and B (no text or symbols beyond labels)natural_image
Line drawing of two hands adjusting a curved metal component (no text or symbols)natural_image
Line drawing of hands performing a tool on a wall corner (no text or symbols)natural_image
Technical diagram of a mechanical clamp or bracket assembly with a magnified inset showing the component detail (no text or symbols present)

natural_image
Diagram of a mechanical device inside a circular frame, showing internal components and wave patterns (no text or symbols)Bord Q4 (4 mm)

natural_image
Technical illustration of a structural connection detail showing a magnified inset of a bracket assembly (no text or symbols)

natural_image
Pure technical diagram of a mechanical device inside a circle, without any text, numbers, or symbols.Bord semi-affleurant (3 mm)

natural_image
Technical illustration of a mechanical assembly with an inset showing a bracket component (no text or symbols present)

natural_image
Pure technical diagram of a mechanical assembly inside a circular frame, without any text, numbers, or symbols.Bord filotop

natural_image
Technical diagram showing a mechanical assembly with an inset close-up of a bracket component (no text or symbols present)

natural_image
Technical line drawing of a mechanical assembly inside a circular frame, showing internal components and wavy lines (no text or symbols)
natural_image
Technical diagram showing a mechanical component inserted into a structural beam, with an inset close-up highlighting the detail (no text or symbols present)
text_image
A Bnatural_image
Line drawing of a hand holding a tool above a mechanical component (no text or symbols)natural_image
Diagram showing two mechanical assembly steps with rotating components and base plates (no text or symbols)text_image
L N 20 mmL marron
N bleu
jaune-vert
text_image
OFF MAX MINnatural_image
Illustration of cooking pots with crossed-out flames and no text or symbolsnatural_image
Isometric technical diagram of a multi-chamber gas stove or vent system (no text or labels)natural_image
Technical diagram of a mechanical component with labeled dimensions A and B (no text or symbols beyond labels)natural_image
Line drawing of two hands adjusting a curved metal component on a 3D surface (no text or symbols)natural_image
Line drawing of two hands performing a rope or tape on a wooden bracket (no text or symbols)natural_image
Technical line drawing of a mechanical bracket with a magnified inset showing a spring mechanism (no text or symbols)

natural_image
Diagram of a mechanical or fluid system with wavy lines and a central pipe, enclosed in a circle (no text or symbols)Rand Q4 (4 mm)

natural_image
Technical diagram showing a structural connection with a magnified inset of a spring-loaded bracket (no text or symbols present)

natural_image
Pure technical diagram of a mechanical device inside a circle, without any text, numbers, or symbols.natural_image
Technical line drawing of a structural bracket with an inset showing a mechanical clamp component (no text or symbols)

natural_image
Pure technical diagram of a mechanical assembly inside a circular frame, without any text, numbers, or symbols.„Filotop“-Rand

natural_image
Technical diagram showing a structural connection with an inset magnified detail of a mechanical component (no text or symbols present)

natural_image
Technical line drawing of a mechanical assembly inside a circular frame (no text or symbols)
natural_image
Technical diagram showing a wooden beam joint with an inset close-up of a bracket detail (no text or symbols)
text_image
A B Cnatural_image
Technical diagram showing a mechanical assembly with a magnified inset of a bracket detail (no text or symbols)

text_image
A Bnatural_image
Line drawing of a hand holding a test tube with a clamp, mounted on a base (no text or symbols)natural_image
Diagram showing two mechanical assembly steps with rotating components and base plates (no text or symbols)Abb. 8: Regulieren des Minimums

text_image
L N 20 mmtext_image
OFF MAX MINnatural_image
Illustration of cooking pots with crossed x-marks, no text or symbols presentnatural_image
Isometric technical diagram of a multi-chamber electrical enclosure with mounting holes and a base plate (no text or symbols)natural_image
Technical diagram of a mechanical component with labeled dimensions A and B (no text or symbols beyond labels)natural_image
Line drawing of two hands securing a curved metal object on a 3D surface (no text or symbols)natural_image
Line drawing of hands performing a tool on a wall corner (no text or symbols)natural_image
Technical diagram of a mechanical clamp or bracket assembly with a magnified inset showing the component detail (no text or symbols present)

natural_image
Simple line drawing of a mechanical device inside a circular frame, showing internal components and wave patterns (no text or symbols)Borde Q4 (4 mm)

natural_image
Technical illustration of a mechanical assembly with a magnified inset showing a spring-loaded component (no text or symbols present)

natural_image
Pure technical diagram of a mechanical device inside a circle, no text or symbols presentBorde semifilo (3 mm)

natural_image
Technical illustration of a mechanical clamp assembly with an inset showing the mounting bracket detail (no text or symbols present)

natural_image
Pure technical diagram of a mechanical assembly inside a circular frame, without any text, numbers, or symbols.Borde filotop

natural_image
Technical diagram showing a structural connection with an inset magnified view of a mechanical component (no text or symbols present)

natural_image
Technical line drawing of a mechanical assembly inside a circular frame, showing internal components and wavy lines (no text or symbols)
natural_image
Technical diagram showing a wooden beam joint with a magnified inset of the structural detail (no text or symbols)

text_image
A B Cnatural_image
Technical diagram showing a mechanical component inserted into a structural beam, with an inset close-up highlighting the detail (no text or symbols present)
text_image
A Bnatural_image
Line drawing of a hand holding a tool with a flame, mounted on a base (no text or symbols)natural_image
Diagram showing two mechanical assembly steps with rotating components and base plates (no text or symbols)text_image
L N 20 mmL marrón
N azul
amarillo-verde
text_image
OFF MAX MINnatural_image
Illustration of cooking pots and a stove with crossed-out electrical lines (no text or symbols)ALGEMENE WAARSCHUWINGEN
natural_image
Isometric technical diagram of a multi-chamber gas stove or vent system (no text or labels)text_image
Technical diagram showing a 3D mechanical assembly with labeled dimensions A and B, including internal components and a wavy base.natural_image
Line drawing of two hands adjusting a curved metal component (no text or symbols)natural_image
Line drawing of two hands performing a surface repair or cleaning operation (no text or symbols)natural_image
Technical line drawing of a mechanical bracket with a magnified inset showing a spring mechanism (no text or symbols)

natural_image
Diagram of a mechanical or fluid system with wavy lines and a central vertical component, enclosed in a circular frame (no text or symbols)Rand Q4 (4 mm)

natural_image
Technical diagram showing a structural connection with a magnified inset of a spring-loaded component (no text or symbols present)

natural_image
Pure technical diagram of a mechanical device inside a circle, without any text, numbers, or symbols.natural_image
Technical illustration of a structural bracket with an inset showing a mechanical clamp assembly (no text or symbols present)

natural_image
Pure technical diagram of a mechanical assembly inside a circular frame, without any text, numbers, or symbols.natural_image
Technical diagram showing a structural connection with an inset magnified detail of a mechanical component (no text or symbols present)

natural_image
Technical line drawing of a mechanical assembly inside a circular frame (no text or symbols)
natural_image
Technical diagram showing a wooden beam joint with an inset close-up of a bracket detail (no text or symbols)
text_image
A B Cnatural_image
Technical diagram showing a mechanical component inserted into a structural beam, with an inset magnified view of the detail (no text or symbols present)

text_image
A Bnatural_image
Line drawing of a hand using a tool to lift a cylindrical object on a base (no text or symbols)natural_image
Diagram showing two mechanical assembly steps with rotating components and base plates (no text or symbols)text_image
L N 20 mmtext_image
OFF MAX MINnatural_image
Illustration of cooking pots and a stove with crossed-out electrical lines (no text or symbols)natural_image
Isometric technical diagram of a multi-chamber electrical enclosure with mounting holes and a base plate (no text or symbols)natural_image
Line drawing of hands performing a massage or grip technique on a curved surface (no text or symbols)natural_image
Line drawing of hands performing a manual task on a curved surface (no text or symbols)natural_image
Technical illustration of a mechanical component with a magnified inset showing a spring attached to a base (no text or symbols)

natural_image
Diagram of a mechanical or fluid system with wavy lines and a central pipe, enclosed in a circular boundary (no text or symbols)Кромка Q4 (4 мм)

natural_image
Technical illustration of a mechanical assembly with a magnified inset showing a spring-loaded component (no text or symbols present)

natural_image
Pure technical diagram of a mechanical device inside a circle, without any text, numbers, or symbols.natural_image
Technical illustration of a mechanical assembly with an inset showing a bracket component (no text or symbols)

natural_image
Pure technical diagram of a mechanical assembly inside a circular frame, without any text, numbers, or symbols.natural_image
Technical diagram showing a structural assembly with an inset magnified view of a mechanical component (no text or symbols present)

natural_image
Technical line drawing of a mechanical assembly inside a circular frame (no text or symbols)
natural_image
Technical diagram showing a mechanical bracket assembly with a magnified inset view (no text or symbols)

text_image
A Bnatural_image
Line drawing of a hand holding a tool over a base with a small object, no text or symbols presentnatural_image
Diagram showing two mechanical assembly steps with rotating components and mounting base (no text or symbols)text_image
L N 20 mmL коричневый
N синий
желто-зеленый
text_image
Diagram showing heating and cooling methods with crossed-out electrical outlets and a fire pit, likely illustrating electric induction or thermal resistance.natural_image
Isometric technical diagram of a multi-chamber electrical socket or circuit board layout (no text or symbols)text_image
y- dely B Anatural_image
Line drawing of two hands performing a massage or grip technique on a curved surface (no text or symbols)natural_image
Illustration of hands performing a manual task on a curved surface, labeled with partial text (no technical symbols or numbers present)natural_image
Technical diagram showing a mechanical clamp or bracket assembly with a magnified inset (no text or symbols)

natural_image
Diagram of a mechanical or hydraulic system with wavy lines and a central pipe, enclosed in a circle (no text or symbols)Okraj Q4 (4 mm)

natural_image
Technical diagram showing a mechanical assembly with a magnified inset of a spring-loaded component (no text or symbols present)

natural_image
Pure technical diagram of a mechanical device inside a circle, without any text, numbers, or symbols.natural_image
Technical illustration of a mechanical assembly with an inset showing a bracket component (no text or symbols present)

natural_image
Pure technical diagram of a mechanical assembly inside a circular frame, without any text, numbers, or symbols.natural_image
Technical diagram showing a structural assembly with an inset close-up of a mechanical component (no text or symbols present)

natural_image
Technical line drawing of a mechanical assembly inside a circular frame, showing internal components and motion lines (no text or symbols)
natural_image
Technical diagram showing a mechanical component inserted into a structural beam, with an inset magnified view of the internal structure (no text or symbols present)
text_image
A Bnatural_image
Line drawing of a hand holding a tool with a base mount (no text or symbols)natural_image
Diagram showing two mechanical components with rotating parts and base plates, no text or symbols presenttext_image
L N 20 mm
hnědý

modrý

žluto-zelený
natural_image
Isometric technical diagram of a multi-chamber gas stove or vent (no text or labels)natural_image
Line drawing of hands performing a finger manipulation on a curved surface (no text or symbols)natural_image
Line drawing of hands performing a surface repair or cleaning task on a wall (no text or symbols)natural_image
Technical line drawing of a mechanical bracket with a magnified inset showing a spring attached to a base (no text or symbols)

natural_image
Diagram of a mechanical or hydraulic system inside a circular boundary, showing fluid flow around a vertical structure (no text or symbols)Krawędź Q4 (4 mm)

natural_image
Technical diagram showing a structural component with an inset magnified view of its connection to a wooden beam (no text or symbols present)

natural_image
Pure technical diagram of a mechanical device inside a circle, without any text, numbers, or symbols.natural_image
Technical illustration of a mechanical bracket assembly with an inset showing a close-up of the component (no text or symbols present)

natural_image
Pure technical diagram of a mechanical assembly inside a circular frame, without any text, numbers, or symbols.Krawędź „na równi”

natural_image
Technical diagram showing a structural connection with an inset magnified detail of a mechanical component (no text or symbols present)

natural_image
Technical line drawing of a mechanical assembly inside a circular frame (no text or symbols)
natural_image
Technical diagram showing a wooden beam joint with an inset close-up of the structural detail (no text or symbols)

text_image
A B Cnatural_image
Technical diagram showing a structural connection with a magnified detail of a bracket and base (no text or symbols)

text_image
A B Cnatural_image
Technical diagram showing a mechanical component inserted into a structural beam, with an inset magnified view of the detail (no text or symbols present)

text_image
A Bnatural_image
Line drawing of a hand using a tool to lift a component (no text or symbols)text_image
L N 20 mmnatural_image
Illustration of cooking pots with crossed x-marks, no text or symbols presentnatural_image
Isometric technical diagram of a multi-chamber electrical enclosure with mounting holes and a base plate (no text or symbols)natural_image
Technical diagram of a mechanical component with labeled dimensions A and B (no text or symbols beyond labels)natural_image
Line drawing of two hands adjusting a curved object on a 3D surface (no text or symbols)natural_image
Line drawing of hands performing a surface repair or cleaning task on a wooden beam (no text or symbols)natural_image
Technical diagram of a mechanical clamp or bracket assembly with a magnified inset showing the component detail (no text or symbols present)

natural_image
Pure technical diagram of a mechanical or fluidic component inside a circular boundary, without any text, numbers, or symbols.Borda Q4 (4 mm)

natural_image
Technical diagram showing a mechanical assembly with a magnified inset of a bracket component (no text or symbols present)

natural_image
Pure technical diagram of a mechanical device inside a circular frame, without any text, numbers, or symbols.Borda semi-rente (3 mm)

natural_image
Technical illustration of a mechanical assembly with an inset showing a bracket component (no text or symbols present)

natural_image
Pure technical diagram of a mechanical assembly inside a circular frame, without any text, numbers, or symbols.Borda rente ao top

natural_image
Technical diagram showing a mechanical assembly with a magnified inset of a bracket detail (no text or symbols present)

natural_image
Technical line drawing of a mechanical assembly inside a circular frame, showing internal components and wavy lines (no text or symbols)
natural_image
Technical diagram showing a mechanical component inserted into a structural beam, with an inset close-up highlighting the detail (no text or symbols present)
text_image
A Bnatural_image
Line drawing of a hand holding a tool with a base, no text or symbols presentnatural_image
Diagram showing two mechanical assembly steps with rotating components and base plates (no text or symbols)text_image
L N 20 mmL marromn
N azul
amarelo-verde
text_image
OFF MAX MINnatural_image
Six illustrated cooking pots with crossed-out black-and-white lines, no text or symbols presentnatural_image
Isometric technical diagram of a multi-chamber electrical enclosure with no visible text or symbolsnatural_image
Line drawing of hands holding a curved object on a 3D surface (no text or symbols)Sl.4: postavljanje izolacijske brtve
6.2 Instalacija na podlogu (radnu površinu) ploče za kuhanje ugrađivanjem na istu razinu (rub u istoj razini)

Ova vrsta aparata ima potrebu za struganjem radne površine u dubini od 1,5 mm a dimenzije su navedene u odjeljku “Rezime Plinske ploče za kuhanje” - modeli s ugrađivanjem na istoj “razini” [Str.218]. Udubljenje je potrebno kako bi se rub ploče za kuhanje smjestio na način da bude poravnat s radnom površinom.

• Dobro očistite strugotine.
- Prije nego što postavite ploču, trebate nanijeti po cijeloj ostruganoj površini brtvilo, kojim ste opremljeni [Sl.5].
- Nakon što obavite ove operacije, koristite držače, kojima ste opremljeni kako biste pričvrstili ploču na strukturu. Konzultirajte odjeljak "Pričvršćivanje ploče za kuhanje na namještaj" [Str.199]

natural_image
Line drawing of two hands performing a gentle bandage on a wooden beam (no text or symbols)SI.5: postavljanje brtve za izolaciju

natural_image
Technical illustration of a mechanical assembly with a magnified inset showing a spring-loaded component (no text or symbols)

natural_image
Diagram of a mechanical or hydraulic system inside a circular boundary, showing fluid flow around a water body (no text or symbols)Rub Q4 (4 mm)

natural_image
Technical diagram showing a structural component with an inset magnified view of its connection to a wall (no text or symbols present)

natural_image
Pure technical diagram of a mechanical device inside a circular frame, without any text, numbers, or symbols.Rub u polurazini (3mm)

natural_image
Technical line drawing of a mechanical bracket assembly with an inset showing a spring-loaded component (no text or symbols)

natural_image
Technical line drawing of a mechanical assembly inside a circular frame (no text or symbols)Rub na istoj razini

natural_image
Technical diagram showing a structural connection with an inset magnified detail of a mechanical component (no text or symbols present)

natural_image
Technical line drawing of a mechanical assembly inside a circular frame (no text or symbols)
Zakačite kuku B u nosač zavaren na površinu i blokirajte ga u prikladne rupice s obzirom na debljinu površine (kada je riječ o površini debljine 30 mm, blokirajte kuku u najviši otvor nosača; kada je riječ o površini debljine 40 mm, blokirajte kuku u najniži otvor nosača).
Okrenite jezičak C sve dok ga ne postavite ispod površine, potom stegnite vijak D.

text_image
a B A 30 D C
text_image
B A 40 D C7.2 Klizne kuke
natural_image
Technical diagram showing a wooden beam joint with an inset close-up of the structural detail (no text or symbols)

text_image
A B CRub na istoj razini - Q4 (samo za seriju S4000)

natural_image
Technical diagram showing a structural connection with a magnified inset of a bracket detail (no text or symbols)

text_image
A B CUmetnite kuku B u kliznu vodilju C.
Ručno blokirajte kuku uz pomoć vijka A.
7.3 Fiksne kvačice
natural_image
Technical diagram showing a mechanical bracket assembly with a magnified inset view (no text or symbols)

text_image
A Bnatural_image
Line drawing of a hand using a tool to lift a mechanical component (no text or symbols)natural_image
Diagram showing two mechanical assembly steps with rotating components and base plates (no text or symbols)Sl.8: prilagodba minimuma

Upute za tekući plin (LPG)
text_image
L N 20 mmL smeđa
N plava
žuto-zelena
Reference to the methods of measurement and calculation used to establish the compliance to the limits of performance and energy efficiency
The energy efficiency of the gas cooker hob for domestic use is calculated on the basis of the UE regulation n° 66/2014: the values for the individual burner are determined with test according to the EN 30-2-1 norm. The auxiliary burners are exempted, as they have a nominal power inferior to 1,16 kW.
N7279V-AEO
A = 800 mm
B = 500 mm
N7286V
N7285VL
N7284VL
1.2 QUADRA
EEgas hob = 58,2 % | N7215VA = 1162 mmB = 351 mm | N7214V![]() ![]() |
EEgas hob = 58,2 % | N7211VA = 862 mmB = 351 mm | N7211V![]() ![]() |

text_image
1 2 3 4 5 2EE_gas hob = 58,2%


text_image
157.8 45° 351° 955.5° 351° 955.5°

text_image
157.8⁺¹₀ R10.5 45° R9.5 1.5 9 955.5⁺¹₀ 973.5⁺¹₀ R10.5 351⁺¹₀ 369⁺¹₀ 9 91.3 KE
[' N7603VKE | N7600VKE | |
[' ![]() | ||
[. ![]() | ||
![]() | ![]() ![]() | |
EEgas hob = 59,1 %![]() | N7621V | ![]() |
![]() | N7622V | |
| EE_gas hob = 60,7 % | ||
![]() | N7623V | |
| EE_gas hob = 62,8 % | ||
![]() | N7624V | |
| EE_gas hob = 53,9 % | ||
1.4 KS
EEgas hob = 59,2 % | A = 770 mmB = 480 mm | |
EEgas hob = 61,6 % | A = 560 mmB = 480 mm | |
![]() | A = 270 mmB = 480 mm | |
EEgas hob = 60,7 % | A = 270 mmB = 480 mm | |
EEgas hob = 62,8 % | A = 270 mmB = 480 mm | |
EEgas hob = 53,9 % | STD N7634VA = 270 mmB = 480 mm |
1.5 PROFESSIONALE
EEgas hob = 55,6 % | N7055V-10N7055V-10A = 840 mmB = 480 mm | N7055V-10![]() ![]() |
EEgas hob = 55,1 % | N7053V-10A = 560 mmB = 480 mm | N7053V-10![]() ![]() |
EEgas hob = 58,2 % | A = 270 mmB = 480 mm | |
EEgas hob = 56,4 % | A = 270 mmB = 480 mm |
1.6 FL
N7202V-AEO
1 111EEgas hob = 57,2 % | A = 840 mmB = 480 mm | ![]() |
EEgas hob = 55,8 % | N7202V-AEOA = 840 mmB = 480 mm | |
EEgas hob = 53,0 % | N7203V-AEOA = 740 mmB = 480 mm | |
EEgas hob = 53,0 % | N7204V-AEOA = 320 mmB = 480 mm | | N7204V-AEO![]() ![]() |
N7203V-AEO
N7204V-AEO
N7204V-AEO
EEgas hob = 58,7 % | N7208V-AEOA = 320 mmB = 480 mm | ![]() |
1.7 MARINE
EEgas hob = 54,4 % | N7058VA = 770 mmB = 480 mm |
1.8 VULCANO
EEgas hob = 55,1 % | N7097VA = 950 mmB = 480 mm | N7297V![]() ![]() |
1.9 VERONIKA
EEgas hob = 57,8 % | N7067V-AA = 560 mmB = 480 mm | |
EEgas hob = 58,3 % | N7066V-AA = 560 mmB = 480 mm | |
EEgas hob = 58,5 % | N7063VA = 420 mmB = 480 mm | |
EEgas hob = 63,0 % | ![]() | |
EEgas hob = 63,5 % | ![]() |
1.10 ELETTRA
![]() | A = 560 mmB = 480 mm | |
EEgas hob = 55,9 % | A = 560 mmB = 480 mm |
1.11 ANGOLARE
EEgas hob = 57,2 % | ![]() |
1.12 F2000
EEgas hob = 53,0 % | N7053000VA = 560 mmB = 480 mm | |
EEgas hob = 53,4 % | N7055000VA = 840 mmB = 480 mm |
1.13 RONDÒ - GIOTTO
EEgas hob = 55,5 % | ∅ 500 mm |
1.14 ALFA
EEgas hob = 60,4 % | A = 840 mmB = 480 mm | ![]() |
1.15 GK
EEgas hob = 54,0 % | A = 1030 mmB = 450 mm | ![]() ![]() |
EEgas hob = 54,8 % | A = 1274 mmB = 450 mm | ![]() ![]() |
via M.S. Ottone, 18/20
42041 Brescello (RE) - Italy
tel. +39.0522.687425
fax +39.0522.686019
e-mail: info@fosterspa.com
www.fosterspa.com
EasyManual
EEgas hob = 58,2 %
N7215VA = 1162 mmB = 351 mm
N7214V

EEgas hob = 58,2 %
N7211VA = 862 mmB = 351 mm
N7211V

N7603VKE
N7600VKE

[.









EEgas hob = 59,2 %
A = 770 mmB = 480 mm
EEgas hob = 61,6 %
A = 560 mmB = 480 mm
A = 270 mmB = 480 mm
EEgas hob = 60,7 %
A = 270 mmB = 480 mm
EEgas hob = 62,8 %
A = 270 mmB = 480 mm
EEgas hob = 53,9 %
EEgas hob = 55,6 %
N7055V-10N7055V-10A = 840 mmB = 480 mm
N7055V-10

EEgas hob = 55,1 %
N7053V-10A = 560 mmB = 480 mm
N7053V-10

EEgas hob = 58,2 %
A = 270 mmB = 480 mm
EEgas hob = 56,4 %
A = 270 mmB = 480 mm
1 111EEgas hob = 57,2 %
A = 840 mmB = 480 mm
EEgas hob = 55,8 %
N7202V-AEOA = 840 mmB = 480 mm
EEgas hob = 53,0 %
N7203V-AEOA = 740 mmB = 480 mm
EEgas hob = 53,0 %
N7204V-AEOA = 320 mmB = 480 mm
| N7204V-AEO

EEgas hob = 58,7 %
N7208V-AEOA = 320 mmB = 480 mm
EEgas hob = 54,4 %
N7058VA = 770 mmB = 480 mm
EEgas hob = 55,1 %
N7097VA = 950 mmB = 480 mm
N7297V

EEgas hob = 57,8 %
N7067V-AA = 560 mmB = 480 mm
EEgas hob = 58,3 %
N7066V-AA = 560 mmB = 480 mm
EEgas hob = 58,5 %
N7063VA = 420 mmB = 480 mm
EEgas hob = 63,0 %
EEgas hob = 63,5 %

A = 560 mmB = 480 mm
EEgas hob = 55,9 %
A = 560 mmB = 480 mm
EEgas hob = 57,2 %
EEgas hob = 53,0 %
N7053000VA = 560 mmB = 480 mm
EEgas hob = 53,4 %
N7055000VA = 840 mmB = 480 mm
EEgas hob = 55,5 %
∅ 500 mm
EEgas hob = 60,4 %
A = 840 mmB = 480 mm
EEgas hob = 54,0 %
A = 1030 mmB = 450 mm


EEgas hob = 54,8 %
A = 1274 mmB = 450 mm

