S4000 - Horno Foster - Manual de uso y guía de instrucciones gratis
Encuentra gratis el manual del aparato S4000 Foster en formato PDF.
Descarga las instrucciones para tu Horno en formato PDF gratis! Encuentra tus instrucciones S4000 - Foster y toma tu dispositivo electrónico nuevamente en la mano. En esta página están publicados todos los documentos necesarios para el uso de su dispositivo. S4000 de la marca Foster.
MANUAL DE USUARIO S4000 Foster
manual de instrucciones
gebruikshandleiding
Le agradecemos haber elegido una placa de cocción Foster.
Su preferencia es para nosotros motivo de orgullo y de satisfacción.
En el presente documento hemos reunido los consejos y las instrucciones gracias a los cuales podrá utilizar de la mejor manera la placa de cocción adquirida y garantizar su mejor conservación en el tiempo. Le solicitamos pocos minutos de atención para salvaguardar la eficiencia del producto y asegurar su satisfacción.
Atentamente
Foster spa
Índice

ADVERTENCIAS GENERALES
Los consejos generales para consultar antes de la instalación y del uso de la placa de cocción adquirido.
- Advertencias para el uso 79
- Advertencias de seguridad....80
- Advertencias para la eliminación....80
- Conozca su aparato....81

INSTRUCCIONES PARA EL INSTALADOR
Están destinadas al técnico calificado que debe realizar la instalación, la puesta en servicio y el control del aparato.
- Antes de la instalación 82
- Posicionamiento en el plano de trabajo 82
- Fijación de la placa de cocción al mueble.... 84
- Conexión de la placa de cocción a la red de gas.... 87
- Ventilación de los locales 88
- Descarga de los productos de la combustión (aspiración).... 89
- Adaptación a los distintos tipos de gas....89
- Regulación del mínimo 91
- Conexión eléctrica de la placa de cocción....91

INSTRUCCIONES PARA EL USUARIO
Indican los consejos de uso, la descripción de los mandos y las correctas operaciones de limpieza y mantenimiento del aparato.
- Uso de la placa de cocción 92
- Limpieza y mantenimiento 95
Síntesis del manual placas de cocción a gas.... 215
1. Advertencias para el uso

Este manual es parte integrante del aparato. Es necesario conservarlo íntegro y a mano por todo el ciclo de vida de la placa. Aconsejamos una lectura atenta del documento y de todas las indicaciones contenidas en el mismo antes de utilizar el aparato.
La instalación deberá ser realizada por personal calificado y respetando las normas vigentes. Este aparato está previsto para un uso de tipo doméstico, y ha sido realizado en conformidad con las directivas CE actualmente en vigor: 2009/142/CE (aparatos de gas), 2006/95/CE, 2004/108/CE.

La función para la cual el aparato ha sido fabricado es: COCCIÓN Y CALENTAMIENTO DE ALIMENTOS; CUALQUIER OTRO USO SE CONSIDERA IMPROPIO.
El fabricante declina cualquier responsabilidad cuando se utilice con fines distintos de los que aquí se indican.
- No utilice nunca este aparato para calefaccionar ambientes.
- No deje los residuos del embalaje sin vigilancia en el ambiente doméstico.
- Separe los distintos materiales de descarte provenientes del embalaje y entreguellos a los centros de recolección diferenciada más cercanos.

Este aparato está incluido en la directiva europea 2002/96/CE en materia de residuos, de aparatos eléctricos y electrónicos (waste electrical and electronic equipment - WEEE). Esta directiva define las normas para la recolección y el reciclaje de los aparatos fuera de uso, válidas en todo el territorio de la Unión Europea.

La placa de identificación, con los datos técnicos, número de matrícula y la marcación está visiblemente ubicada debajo de la placa metálica de protección [Fig. 1].
LA PLACA DE IDENTIFICACIÓN NUNCA DEBE SER RETIRADA.

Fig. 1: posición de la placa de identificación
Las condiciones de regulación del aparato están indicadas en la placa de datos.
2. Advertencias de seguridad

En su propio interés y por su propia seguridad, la ley establece que la instalación y el mantenimiento de todos los aparatos eléctricos o a gas sean efectuados por personal calificado y en el respeto de las normas vigentes y de los requisitos de las empresas locales que suministran el gas y la energía eléctrica.
- Los aparatos a gas o eléctricos deben ser siempre desconectados por personas competentes.
- El enchufe que se conecta al cable de alimentación y la toma correspondiente deberán ser del mismo tipo y en conformidad con las normas en vigor.
- La toma deberá ser accesible una vez que el aparato esté instalado.
- Nunca intente desenchufar el aparato tirando del cable.
- Es obligatoria la conexión a tierra según las modalidades previstas por las normas de seguridad de la instalación eléctrica.
- No obstruya las aberturas de ventilación y de eliminación del calor.

Inmediatamente después de la instalación efectúe un breve control del aparato siguiendo las instrucciones descritas más adelante. En caso de fallas de funcionamiento, desconecte el aparato de la red eléctrica y consulte en el centro de asistencia técnica más cercano: NUNCA INTENTE REPARAR EL APARATO.
Durante su utilización el aparato se calienta mucho. Para cualquier operación se aconseja el uso de guantes térmicos adecuados. Este aparato no está destinado a ser usado por personas (incluso niños) con capacidades psíquicas o motrices reducidas, o con falta de experiencia y conocimientos, a menos que una persona responsable por su seguridad las supervise o las instruya acerca del uso del aparato. LOS NIÑOS DEBEN SER SUPERVISADOS PARA GARANTIZAR QUE NO JUEGUEN CON EL APARATO.

El fabricante declina cualquier responsabilidad por daños sufridos por personas y cosas, causados por la falta de cumplimiento de las prescripciones aquí indicadas o como consecuencia de la alteración de una parte del aparato y de la utilización de piezas de repuesto no originales.
3. Advertencias para la eliminación
CUIDAMOS EL AMBIENTE
Para el embalaje de nuestros productos se utilizan materiales no contaminantes, por lo tanto compatibles
con el ambiente y reciclables. Solicitamos su colaboración con el objetivo de eliminar el embalaje cuidadosamente y de manera correcta. Solicite a su revendedor o a las organizaciones competentes, información sobre las direcciones de los centros de recolección, de reciclaje, de eliminación.

NO DEJE ABANDONADO EL EMBALAJE O PARTE DEL MISMO. ESTOS PUEDEN REPRESENTAR UN PELIGRO DE SOFOCAMIENTO PARA LOS NIÑOS, EN PARTICULAR MODO LAS BOLSAS DE PLÁSTICO.
También con su viejo aparato es necesario realizar una correcta eliminación, contribuyendo a evitar consecuencias negativas para el ambiente y la salud, que se verificarían en el caso de una eliminación inadecuada.

IMPORTANTE: este aparato no puede ser tratado como residuo doméstico. Entregue el aparato viejo a la empresa de la zona, autorizada a realizar la recolección de los electrodomésticos en desuso. Una eliminación correcta permite recuperar inteligentemente los materiales valiosos. Es necesario también cortar el cable de conexión a la red eléctrica y retirarlo junto con el enchufe.
4. Conozca su aparato
En la parte final del presente manual, Síntesis del manual placa de cocción a gas [Pág. 215], se incluyen todos los dibujos relativos a las placas de cocción Foster actualmente en producción.
Le solicitamos que reconozca el dibujo de la placa de cocción adquirida por usted, para familiarizarse con las principales características técnicas y funcionales.
Por practicidad de búsqueda, las placas de cocción se distinguen en dos macro-familias:
- Placas de cocción con encastre tradicional: "borde 8 mm", "borde Q4" y "borde semifilo";
- Placas de cocción con encastre al filo: borde "filotop".
El primer grupo independientemente del tipo di borde tiene un simple agujero para encastrar tradicional. Las placas de cocción con borde “filotop” tienen un diseño más preciso para permitir la realización de un agujero “a medida”, es decir, el perímetro del agujero posee una rebaja necesaria para contener el borde de la placa de cocción de manera que esta resulte “al filo” con el plano de trabajo.
En todos los dibujos se encuentran presentes los números en correspondencia con los quemadores. Estos números identifican el tipo di quemador. Para conocer las potencias de los quemadores de la placa de cocción adquirida por usted, remítase a la lectura de la tabla de las potencias en función del tipo de gas utilizado [Pág. 215].
5. Antes de la instalación

No deje los residuos del embalaje sin vigilancia en el ambiente doméstico. Separe los distintos materiales de descarte del embalaje y depositelos en el centro de recolección diferenciada más cercano.
Con el objetivo de remover todos los residuos de fabricación, se aconseja limpiar el aparato.
Para mayores informaciones sobre la limpieza vea el Capítulo 15 [Pág. 95].
6. Posicionamiento en el plano de trabajo
Este placa de cocción empotrada es de clase 3.

Las intervenciones siguientes exigen un trabajo de albañilería y/o de carpintería y deben ser realizadas por lo tanto por un técnico competente. La instalación se puede realizar sobre materiales distintos, mampostería, metal, madera maciza y madera revestida de laminados plásticos, siempre que sean resistentes al calor (T 100°C).
6.1 Instalación a la estructura de sostén (plano de trabajo) de una placa de cocción de encastre tradicional (borde 8 mm, borde Q4, borde semifilo)

Realice una apertura en el plano de trabajo del mueble con las dimensiones y en la posición indicadas y representadas en el dibujo [Fig. 2].
Las dimensiones del agujero para encastrar están descritas en la sección Síntesis del manual placa de cocción a gas - modelos con encastre tradicional [Pág. 215], en correspondencia con el dibujo de la placa de cocción adquirida por usted.

Fig. 2: realización del agujero para encastrar

- La distancia de la placa de cocción desde el borde posterior debe ser de 50 mm como mínimo;
- La distancia de la placa de cocción desde las paredes que superan en altura el plano de trabajo debe ser de 100 mm como mínimo;
- Cuando se instale una campana sobre la superficie de cocción, consulte las instrucciones de montaje de la campana, en las que figuran la distancia correcta que se debe respetar.

text_image
min. 650 50 100Fig. 3: distancias de la placa de cocción

- Posicione cuidadosamente el burlete aislante suministrado, sobre el perímetro externo del agujero realizado en el plano de trabajo, tratando de adherirlo sobre toda la superficie con una leve presión de las manos [Fig. 4].
- Una vez realizadas estas operaciones, utilice las abrazaderas de sujeción suministradas para fijar la placa a la estructura. Consulte el apartado "Fijación de la placa de cocción al mueble" [Pág. 84].

Fig. 4: ubicación del burlete aislante
6.2 Instalación en la estructura de sostén (plano de trabajo) de una placa de cocción con encastre al filo (borde filotop)

Este tipo de aparato necesita una rebaja sobre el plano de trabajo de 1,5 mm de profundidad cuyas medidas se indican en el dibujo de la placa identificable en la sección Síntesis del manual Placas de cocción a gas - modelos con encastre al “filo” [Pág. 215]. La rebaja es necesaria para contener el borde de la placa de cocción de manera que esta resulte "al filo" con el plano de trabajo.

• Limpie cuidadosamente la rebaja.
- Antes de ubicar la placa es necesario extender sobre toda la superficie de la rebaja el burlete aislante que se suministra [Fig. 5].
- Una vez realizadas estas operaciones, utilice las abrazaderas de sujeción suministradas para fijar la placa a la estructura. Consulte el apartado "Fijación de la placa de cocción al mueble" [Pág. 84].

Fig. 5: ubicación del burlete aislante

Entre las dimensiones externas de la bandeja de acero inoxidable y las dimensiones internas de la rebaja se prevé una luz constante de mínimo 0,5 mm que debe ser respetada durante el montaje. Las temperaturas que se alcanzan durante la utilización de la placa de cocción inducen sobre la bandeja de acero inoxidable un leve alargamiento y por lo tanto la luz prevista evita eventuales interferencias. En lo que respecta al plano de trabajo de la cocina, las temperaturas inducidas desde la placa de cocción - ya sea en la sección como sobre el plano de contacto - son moderadas. Se aconseja montar las placas de cocción con borde filotop sobre materiales completamente hidrófugos.
7. Fijación del plano de cocción al mueble

Fijar los ganchos suministrados sobre las abrazaderas de sujeción debajo del aparato como se ilustra a continuación. Los ganchos suministrados permiten la fijación a planos de trabajo con un espesor comprendido entre los 30 y los 40 mm.

IMPORTANTE:
- Para la fijación de este producto a la estructura de sostén, se aconseja no utilizar atornilladores mecánicos o eléctricos y ejercitar una presión manual moderada sobre los elementos de fijación.
- El plano ubicado debajo del aparato debe encontrarse a por lo menos 5 mm desde el fondo del mismo y debe poseer una apertura de pasaje para los conductos del gas y eléctricos de 50x50 mm como mínimo.
- Si este producto se instala encima de un horno, este debe poseer un ventilador de enfriamiento.
7.1 Ganchos fijos
Permiten la fijación de placas de cocción con mensulitas de fijación ubicadas en puntos fijos.

Borde estándar (8 mm)

Encastre el gancho B en la mensulita A fijada sobre el plano, cuidando de sujetarla en los agujeros adecuados en función del espesor del plano de trabajo (con un espesor de 30 mm, sujete el gancho en el agujero superior de la mensulita; con un espesor de 40 mm, sujete el gancho en el agujero inferior de la mensulita).
Gire la lengüeta C hasta posicionarla debajo del plano, a continuación ajuste el torni- Ilo D.

text_image
B A 30 D C B A 40 D C7.2 Ganchos corredizos
Permiten la fijación de placas de cocción sin puntos de fijación preparados.

Borde estándar (8 mm)

Borde filotop - Q4 (sólo para la serie S4000)

text_image
FT Q4
text_image
A B CIntroduzca el gancho B en la guía corrediza C.
Bloquee manualmente el gancho mediante el tornillo A.
7.3 Abrazaderas fijas
Permiten la fijación de placas de cocción sin puntos de fijación preparados.

Borde estándar (8 mm)

Introduzca la abrazadera B en la sede correspondiente de la placa. Bloquee manualmente la abrazadera mediante el tornillo A.
8. Conexión de la placa de cocción a la red de gas

Es necesario que la instalación de gas se ajuste a las normas locales en vigor.
Es necesario verificar que las condiciones locales de distribución (naturaleza y presión del gas) y el tipo de regulación del aparato sean compatibles.
IMPORTANTE: Si el aparato se instala sobre un horno es necesario evitar que el tubo de gas pase por detrás del horno con el objetivo de prevenir sobrecalentamientos.

La conexión a la red de gas puede ser efectuada con un tubo rígido de cobre o con un tubo flexible de acero a la pared continua y respetando las prescripciones establecidas por la norma en vigor [Fig. 6]. En todos los casos cada tubo que se conecta a la red de gas debe poseer una llave de paso de seguridad.

text_image
conexión de la placa de cocción junta tubo flexible de acero tubo rígido de cobreFig. 6: conexión a la red de gas

IMPORTANTE: Interponer siempre la junta entre la conexión presente en la placa y el tubo de conexión.

- Si se utiliza un tubo flexible de acero inoxidable, este deberá ser instalado de manera tal que no pueda entrar en contacto con una parte del mueble, sino que pase por un punto libre de obstáculos y pueda ser inspeccionado a todo lo largo. El tubo flexible deberá tener un largo inferior a los 2 metros de extensión máxima.
- La conexión al gas es del tipo roscada 1/2" gas ISO R7 cónica.

Luego de haber conectado el aparato a la red del gas verifique siempre la estanquidad de las conexiones utilizando una solución jabonosa. ESTÁ ABSOLUTAMENTE PROHIBIDO VERIFICAR LA ESTANQUIDAD UTILIZANDO LLAMA LIBRE.

La placa de cocción está controlada con gas metano G20 (2H) con una presión de 20 mbar. Para la alimentación con otros tipos de gas, consulte la tabla Adaptación a los distintos tipos de gas [Pág. 89].
8.1 Conexión a gas líquido

Utilice un regulador de presión y realice la conexión sobre la bombona siguiendo las prescripciones establecidas por las normas vigentes.
Asegúrese que la presión de alimentación respete los valores indicados en la tabla Adaptación a los distintos tipos de gas [Pág. 89]. También en este caso la conexión debe ser efectuada con un tubo rígido de cobre o con un tubo flexible de acero a la pared continua.
9. Ventilación de los locales

IMPORTANTE: El aparato debe ser instalado sólo en locales permanentemente ventilados, como se prevé en las normas en vigor.
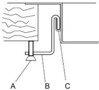
10. Descarga de los productos de la combustión (aspiración)

Este aparato no está conectado a un sistema de evacuación de los productos de la combustión. Se debe instalar respetando las normas en vigor. Preste una atención especial a los requisitos sobre la ventilación.

La descarga de los productos de la combustión debe ser asegurada mediante campanas conectadas a una chimenea con tiraje natural de segura eficiencia o mediante aspiración forzada.
Un sistema eficiente de aspiración requiere un cuidadoso diseño por parte de un especialista habilitado para realizarlo, respetando las posiciones y las distancias indicadas por las normas.

IMPORTANTE: A conclusión de la intervención, el instalador deberá entregar el certificado de conformidad.
- Adaptación a los distintos tipos de gas
| Tipo de gas | Quemador | Potencia nominal (KW) | Consumo nominal (g/h) | Inyector (ø mm) | Potencia nominal mín. (KW) | ||
| Serie N. Ref. | |||||||
| GAS GPL G30/G31 28:30/37 mbar | II | 2 Auxiliar 1,00 73 0,50 0,52 | |||||
| 3 Semirrápido 1,75 127 0,65 0,52 | |||||||
| 4 Rápido 2,70 196 0,80 0,90 | |||||||
| 5 Triple corona | 3,50 254 0,95 1,80 | ||||||
| 10 Dual | 4,50 | 328 | 0,46 / 0,66 | i 0,30 / 1,40 | |||
| III | 6 Auxiliar 1,10 80 0,52 0,52 | ||||||
| 7 Semirrápido 1,75 127 0,65 0,52 | |||||||
| 8 Rápido 3,00 218 0,85 0,90 | |||||||
| 9 Triple corona | 3,80 276 0,98 1,80 | ||||||
| AE | 11 Auxiliar 1,00 73 0,50 0,52 | ||||||
| 12 Semirrápido 1,75 127 0,65 0,52 | |||||||
| 13 Rápido 3,00 218 0,85 0,90 | |||||||
| 14 Doble corona | 5,00 | 364 | 0,46 / 0,95 | i 0,40 / 1,70 | |||
| Serie N. Ref | |||||||
| GAS METANO G20 20 mbar | II | 2 Auxiliar 1,00 95 0,72 0,52 | |||||
| 3 Semirrápido 1,75 167 0,97 0,52 | |||||||
| 4 Rápido 2,70 257 1,08 0,90 | |||||||
| 5 Triple corona 3,50 333 1,35 1,80 | |||||||
| 10 Dual | 4,50 | 429 | 0,72 / 1,02 | i 0,30 / 1,40 | |||
| III | 6 Auxiliar 1,10 105 0,73 0,52 | ||||||
| 7 Semirrápido 1,75 167 0,98 0,52 | |||||||
| 8 Rápido 3,00 285 1,26 0,90 | |||||||
| 9 Triple corona 3,80 362 1,35 1,80 | |||||||
| AE | 11 Auxiliar 1,00 95 0,72 0,52 | ||||||
| 12 Semirrápido 1,75 167 0,97 0,52 | |||||||
| 13 Rápido 3,00 285 1,32 0,90 | |||||||
| 14 Doble corona | 5,00 | 476 | 0,75 / 1,51 | i 0,40 / 1,70 | |||

La placa de cocción está controlada con gas metano G20 (2H) con una presión de 20 mbar. En el caso de funcionamiento con otros tipos de gas es necesario sustituir las boquillas sobre los quemadores y regular la llama mínima en las llaves de gas. Para la sustitución de las boquillas, es necesario proceder como se describe en los apartados siguientes.
11.1 Sustitución boquillas de la placa de cocción

IMPORTANTE: Antes de realizar las siguientes operaciones asegúrese siempre que el aparato esté desconectado de la red eléctrica.

- Extraiga las parrillas de apoyo, retire todas las tapas y las bases de los quemadores.
- Con una llave de tubo de 7 mm desatornille las boquillas de los quemadores [Fig. 7].
- Proceda a la sustitución de las boquillas según el gas que se deba utilizar (tabla "Adaptación a los distintos tipos de gas" [Pág. 89]).
- Ubique correctamente los quemadores en los lugares adecuados.

Fig. 7: sustitución de las bo-quillas

IMPORTANTE: Luego de la regulación con un gas distinto del original verificado, sustituya la etiqueta puesta en la placa de protección del aparato con una correspondiente al nuevo gas.
12. Regulación del mínimo

Instrucciones para gas ciudad y metano
- Encienda el quemador y llévelo a la posición mínima.
- Extraiga la manilla de mando de la llave del gas y ajuste el tornillo de regulación [Fig. 8] que se encuentra en el interior o al lado de la varilla de la llave (según los modelos) hasta obtener una llama mínima regular. Si incluye llave del gas de 2 vías [Fig. 12-13] hay 2 tornillos de regulación del nivel mínimo.
- Monte nuevamente la manilla y verifique la estabilidad de la llama del quemador (girando rápidamente la manilla desde el máximo al mínimo la llama no debe apagarse).
- Repetir la operación en todas las llaves de gas.

Fig. 8: regulación del mínimo

Instrucciones para gas líquido (GPL)
Atornille completamente en sentido de las agujas del reloj el tornillo alojado en el interior o al lado de la varilla de la llave (según los modelos).
13. Conexión eléctrica de la placa de cocción

IMPORTANTE: Antes de realizar las siguientes operaciones asegúrese siempre que el voltaje y el dimensionamiento de la línea de alimentación correspondan a las características indicadas en la placa puesta debajo de la placa metálica del aparato. Esta placa nunca debe ser retirada.

Es obligatoria la conexión a tierra según las modalidades previstas por las normas de seguridad de la instalación eléctrica.
- Para la conexión directa a la red, es necesario prever un dispositivo que garantice la desconexión de la red, con una distancia de apertura de los contactos que permita la desconexión completa en las condiciones de la categoría de sobretensión III, según las reglas de instalación.
- Si se utiliza una conexión con enchufe y toma, verifique que estos sean del mismo tipo. Evite la utilización de reducciones, adaptadores o derivadores que podrían provocar calentamiento o quemaduras.

IMPORTANTE: El fabricante declina cualquier responsabilidad por daños sufridos por personas y cosas, causados por la falta de cumplimiento de las prescripciones aquí indicadas o como consecuencia de la alteración de una parte del aparato.

En caso de sustitución del cable de alimentación, se deberá utilizar un cable de tipo H05RR-F de sección 3x0,75 mm².


14. Uso de la placa de cocción
14.1 Encendido de los quemadores

Antes de encender los quemadores de la placa asegúrese que las coronas estén montadas de manera correcta y bien posicionadas, con las respectivas tapas.

text_image
paralela y centrada inclinada inclinada no centradaFig. 9: posición de las coronas

En algunas placas de cocción han sido montados quemadores nuevos denominados "III serie". El sistema bloqueante entre la tapa (B) y la corona (A) garantiza un posicionamiento perfecto y gran practicidad en la limpieza.

text_image
A B CFig. 10: posicionamiento del quemador III serie
La tapa superior (B) de los quemadores debe ser colocada en la posición correcta con dos mueccas de inserción en correspondencia de los dos cilindros ubicados debajo (C) y atornillada en el sentido de las agujas del reloj.

En correspondencia con cada manilla está indicado el quemador asociado. El aparato posee un dispositivo de encendido eléctrico. Es suficiente presionar y girar en sentido contrario a las agujas del reloj la manilla sobre el símbolo de llama máxima, hasta que tenga lugar el encendido. Si no se enciende durante los primeros 15 segundos, lleve la manilla a ● [chiuso] (cerrado) y no intente encenderlo nuevamente por 60 segundos.
Cuando el encendido haya tenido lugar, mantenga presionada la manilla por algunos segundos para permitirle al termopar calentarse. Puede suceder que los quemadores se apaguen en el momento de liberar la manilla: significa que el termopar no se calentó suficientemente. Espere unos instantes y repita la operación manteniendo presionada la manilla por más tiempo. Una vez encendido el quemador se puede regular la llama según las necesidades.

Al finalizar cada utilización de la placa, verifique siempre que las manillas de mando se encuentren en posición ●chiuso] (cerrado).
Si los quemadores se apagasen accidentalmente, luego de un intervalo de aproximadamente 20 segundos intervendrá un dispositivo de seguridad para blocar la salida de gas, inclusive con la llave abierta. En este caso lleve la manilla a la posición de ● [chiuso] (cerrado) y no intente encender el quemador por al menos 60 segundos.

Fig. 11: manilla quemador estándar

text_image
CHIUSO 1 QUEMADOR INTERNO 2 CORONAS EXTERNAS MAX 1 MAX 2 MIN 1 CHIUSO 2 MAX 1 MIN 2 MAX 1 CHIUSO 2Fig. 12: manilla quemador dual (S4000) / doble corona

text_image
1 QUEMADOR INTERNO 2 CORONAS EXTERNAS CHIUSO 1 MAX 2 CHIUSO 1 MIN 2 CHIUSO 1 MIN 2 MIN 1 MAX 2 MAXFig. 13: manilla quemador dual (GIOTTO/VULCANO)
14.2 Consejos prácticos para el uso de los quemadores

Para un mejor rendimiento de los que-madores y un consumo mínimo de gas es necesario usar recipientes con fondo plano y regular, provistos de tapa y proporcionados al tamaño del quemador, con el objetivo de evitar que la llama entre en contacto con los lados de los mismos (vea apartado "Diámetro de los recipientes" [Pág. 94]). Cuando se llegue al punto de ebullición reduzca la llama lo suficiente para impedir el derramamiento del líquido.

Fig. 14: uso de los recipientes

Durante la cocción, inclusive para evitar quemaduras o daños a la placa por el calor excesivo, todos los recipientes o las planchas deben tener medidas que no superen aquellas indicadas en el apartado “Diámetro de los recipientes” [Pág. 94]). No caliente ollas o sartenes vacías, ya que podrían sobrecalentarse.

Utilizando grasas o aceites, preste la máxima atención ya que estos, recalentándose, pueden arder. Si una olla con grasas o aceite arde, no le vuelque encima agua porque podría causar quemaduras; apague el fuego cubriendo la olla con un trapo mojado y desconecte el aparato de la red eléctrica.
14.3 Diámetro de los recipientes
• Quemador auxiliar: de 6 a 14 cm
• Quemador semirrápido: de 15 a 20 cm
• Quemador rápido de 21 a 26 cm
• Quemador doble corona, triple corona, dual de 24 a 28 cm

Durante el funcionamiento, la placa de cocción genera calor y humedad en la habitación donde está instalada. Asegúrese que la cocina esté bien ventilada. La utilización prolongada del aparato con algunos o todos los quemadores puede requerir una ventilación complementaria como la apertura de una ventana y/o una mayor potencia de aspiración por parte de la campana extractora.
15. Limpieza y mantenimiento

No utilice un chorro de vapor para limpiar el aparato.
Antes de cada intervención es necesario desenchufar la alimentación eléctrica al aparato.
Evite dejar sobre el acero, sobre las parrillas y sobre otras partes del aparato, sustancias ácidas o alcalinas (vinagre, jugo de limón, sal, jugo de tomate, ...)
15.1 Limpieza del acero inoxidable
Para una buena conservación del acero inoxidable es necesario limpiarlo regularmente al finalizar cada uso, luego de haberlo dejado enfriar.
15.1.1 Limpieza ordinaria diaria
Para limpiar y conservar las superficies de acero inoxidable use sólo productos específicos que no contengan abrasivos o sustancias ácidas a base de cloro.
Modo de uso: Vierta el producto sobre un paño húmedo y páselo por la superficie. Para finalizar quite el producto con un paño húmedo limpio.
15.1.2 Manchas de alimentos o residuos

Evite siempre el uso de esponjas metálicas y raspadores cortantes para no dañar las superficies. Use los productos normales para acero, no abrasivos, utilizando eventualmente utensilios de madera o material plástico. Enjuague cuidadosamente y seque con un paño suave o con una gamuza.
Como producto para la limpieza del acero se aconseja Foster Steel Clean; para informaciones sobre su localización diríjase al centro de asistencia técnica.
No utilice detergentes químicos como spray para horno o quitamanchas.
15.2 Limpieza de los componentes de gas
Las parrillas, las tapas, las coronas, se extraen para facilitar la limpieza: se lavan con agua caliente y detergente no abrasivo teniendo cuidado de retirar cualquier incrustación y secándolos inmediatamente con un paño. Monte nuevamente las tapas sobre las correspondientes coronas. Los componentes de fundición, como las parrillas y los quemadores, no deben ponerse en el lavavajilla.
Para un buen funcionamiento las bujías de encendido y el termopar deben estar siempre bien limpios. Contrólelos frecuentemente y si es necesario límpielos con un paño húmedo y luego séquelos. Eventuales residuos secos deben ser retirados con una varillita de madera o con una aguja.
Limpie regularmente las tapas y las coronas de los quemadores al final de cada uso. Para eliminar la suciedad más fácil de quitar y para el pulido del quemador, use crema Foster Steel Clean con un paño de microfibra a lo largo de la dirección del acabado.
15.3 Limpieza de las bandejas esmaltadas
Para una buena conservación de la bandeja esmaltada es necesario limpiarla regularmente al final de cada uso, luego de haberla dejado enfriar.
Para limpiar y conservar el esmalte use siempre un paño en microfibra humedecido y con jabón neutro.
No use productos que contengan abrasivos o sustancias ácidas a base de cloro.
Evite siempre el uso de esponjas metálicas y raspadores cortantes para no dañar las superficies.
15.4 Limpieza de los mandos
Hay que limpiar los mandos con un paño suave, humedecido con agua tibia y secarlos bien.
Para facilitar la limpieza se pueden extraer los mandos tirándolos hacia arriba.
No use productos agresivos que contengan alcohol, cloruros o productos abrasivos.
15.5 Serigrafía de las bandejas
Preste especial atención a no usar ningún producto abrasivo o químico encima de la serigrafía de la bandeja. Use solo un paño de microfibra humedecido.

Foster S.P.A. no responde por las posibles inexactitudes imputables a errores de impresión o de trascipción, contenidos en el presente folleto. Se reserva el derecho de aportar a sus productos modificaciones que considere necesarias o útiles, incluso en el interés de los usuarios, sin prejuzgar las características de funcionalidad y seguridad.
Geachte klant,
• Queimador auxiliar: de 6 a 14 cm
- Queimador semi-rápido: de 15 a 20 cm
- Queimador rápido: de 21 a 26 cm
- Queimadores com dupla e tripla coroa, dual: de 24 a 28 cm

15.3 Limpeza das plataformas esmaltadas
Síntesis del manual placas de cocción a gas
| Leyenda | |||
| Serie N. Quemador Potencia (W) | |||
| 1 Manilla de mando | |||
| II | 2 Auxiliar 1.000 | ||
| 3 Semirrápido 1.750 | |||
| 4 Rápido 2.700 | |||
| 5 Triple corona 3.500 | |||
| 10 Dual 4.500 | |||
| III | 6 Auxiliar 1.100 | ||
| 7 Semirrápido 1.750 | |||
| 8 Rápido 3.000 | |||
| 9 Triple corona 3.800 | |||
| AE | 11 Auxiliar 1.000 | ||
| 12 Semirrápido 1.750 | |||
| 13 Rápido 3.000 | |||
| 14 | Doble corona 5.000 | ||
| Tipo de borde | |
| Borde estándar (8 mm) | STD |
| Borde Q4 (4 mm) | Q4 |
| Borde semifilo (3 mm) | SF |
| Borde filotop | FT |

text_image
Agujeros para encastrar STD Q4 SF B A A = ancho- B = profundidadReferencia a los métodos de medición y de cálculo usados para establecer la conformidad con respecto a los límites de prestación de eficiencia energética
La eficiencia energética de la placa de cocción de gas para uso doméstico se calcula en base al reglamento UE n. 66/2014: los valores para cada quemador se determinan mediante la prueba establecida por la norma EN 30-2-1. Se excluyen los quemadores auxiliares, porque tienen una potencia nominal inferior a 1,16 kW.
ManualFácil