S4000 - Oven Foster - Gratis gebruiksaanwijzing en handleiding
Vind de handleiding van het apparaat gratis S4000 Foster in PDF-formaat.
Download de handleiding voor uw Oven in PDF-formaat gratis! Vind uw handleiding S4000 - Foster en neem uw elektronisch apparaat weer in handen. Op deze pagina staan alle documenten die nodig zijn voor het gebruik van uw apparaat. S4000 van het merk Foster.
GEBRUIKSAANWIJZING S4000 Foster
Wij danken u omdat u een kookplaat van Foster hebt gekozen.
Wij zijn bijzonder trots en tevreden over deze voorkeur die u betoont.
In dit document hebben we alle tips en instructies samengebracht, waarmee u de aangekochte kookplaat zo goed mogelijk kan benutten en kan zorgen voor een goede staat na verloop van tijd. Wij vragen u enkele minuten aandacht te besteden, zodat de efficiëntie wordt behouden en u tevreden blijft over het product.
Met beleefde groeten
Foster spa
Index

Algemene tips, te raadplegen vóór de installatie en het gebruik van de aangekochte kookplaat.
- Waarschuwingen voor het gebruik....98
- Waarschuwingen voor de veiligheid....99
- Waarschuwingen voor de verwijdering....99
- Ken uw toestel.... 100

INSTRUCTIES VOOR DE INSTALLATEUR
Ze zijn bestemd voor de gekwalificeerde technicus die de installatie, de inwerkingstelling en de test van het toestel moet uitvoeren.
- Vóór de installatie....101
- Plaatsing in de werktop.... 101
- Bevestiging van de kookplaat op het meubel.... 103
- Aansluiting van de kookplaat op de gasdistributie 106
- Ventilatie van de lokalen 107
- Afvoer van de verbrandingsproducten (afzuiging) 108
- Aanpassing aan andere gastypes 108
- Afstelling van het minimum 110
- Elektrische aansluiting van de kookplaat.... 110

INSTRUCTIES VOOR DE GEBRUIKER
Ze geven gebruikstips, een beschrijving van de commando's en de correcte handelingen voor schoonmaak en onderhoud van het toestel.
-
Gebruik van de kookplaat.... 111
-
Schoonmaak en onderhoud 114
Samenvatting gaskookplaten....215
1. Waarschuwingen voor het gebruik

Deze handleiding maakt integraal deel uit van het toestel. Het moet in zijn geheel worden bewaard en tijdens de hele levenscyclus van de plaat binnen handbereik zijn. Wij raden u aan om het document en alle aanwijzingen erin aandachtig te lezen vooraleer het toestel te gebruiken.
De installatie moet door gekwalificeerd personeel worden uitgevoerd, in naleving van de geldende normen. Dit toestel is voorzien voor huishoudelijk gebruik, en is conform met de EG-richtlijnen die momenteel van kracht zijn: 2009/142/EG (gastoestellen), 2006/95/EG, 2004/108/EG.

Het toestel werd gebouwd om de volgende functie uit te voeren: GERECHTEN KLAARMAKEN EN OPWARMEN; IEDER ANDER GEBRUIK WORDT ALS ON-EIGENLIJK BESCHOUWD.
De fabrikant wijst elke verantwoordelijkheid af voor andere toepassingen dan deze die worden aangegeven.
- Gebruik dit toestel nooit voor de verwarming van kamers.
- Laat geen verpakkingsresten onbewaakt achter in de huiskamer.
- Scheid de verschillende afvalmaterialen van de verpakking en breng die naar het dichtstbijzijnde centrum voor gescheiden inzameling.

Dit toestel is voorzien van het symbool krachtens de Europese richtlijn 2002/96/EG betreffende afvalmaterialen van elektrische en elektronische apparaten (waste electrical and electronic equipment - WEEE). Deze richtlijn bepaalt de normen voor de inzameling en recyclage van afgedankte apparaten, geldig in de hele Europese Unie.

Het identificatielabel, met de technische gegevens, het registratienummer en het merk is zichtbaar aangebracht onder de behuizing [Fig. 1].
HET LABEL MAG NOOIT WORDEN WEGGENOMEN.

Fig. 1: plaats van het identificatielabel
De condities voor afstelling van het toestel staan op het gegevensplaatje vermeld.
2. Waarschuwingen voor de veiligheid

In uw eigen belang en voor uw veiligheid werd bij wet bepaald dat de installatie en de service van alle elektrische apparaten of gastoestellen uitgevoerd moeten worden door gekwalificeerd personeel, in naleving van de geldende normen en van de vereisten opgelegd door de plaatselijke leveranciers van gas en elektriciteit.
- De gastoestellen of elektrische apparaten moeten altijd dor vakkundige personen worden uitgeschakeld.
- De stekker die op de voedingskabel moet aangesloten worden en het bijhorende stop-contact moeten van hetzelfde type zijn, en conform met de normen die van kracht zijn.
- Het stopcontact moet toegankelijk zijn wanneer het toestel ingebouwd is.
- Trek de stekker nooit uit door aan de kabel te trekken.
- De aardingsaansluiting is verplicht volgens de bepalingen voorzien door de veiligheidsnormen van de elektrische installatie.
- Openingen, ventilatiespleten en openingen voor afvoer van warmte mogen niet worden afgedekt.

Voer onmiddellijk na de installatie een korte test van het apparaat uit, volgens de instructies verderop. Wanneer het toestel niet goed werkt, moet men het loskoppelen van het elektrische net en het dichtstbijzijnde centrum voor technische dienst contacteren: PROBEER NOOIT OM HET TOESTEL ZELF TE MAKEN.
Tijdens het gebruik wordt het toestel erg heet. Bij elke handeling is het gebruik van speciale thermische handsschoenen aanbevolen. Dit apparaat is niet bestemd om gebruikt te worden door personen (inclusief kinderen) met beperkt psychisch of motorisch vermogen of met gebrek aan ervaring en kennis, tenzij onder toezicht of begeleiding van een persoon verantwoordelijk voor hun veiligheid. HOUD TOEZICHT OVER KINDEREN ZODAT ZE NIET MET HET APPARAAT SPELEN.

De fabrikant wijst iedere verantwoordelijkheid af voor schade aan personen of voorwerpen, veroorzaakt door het niet naleven van deze voorschriften, of voortvloeiend uit het openbreken van een onderdeel van het toestel of door aanwending van niet-originele wisselstukken.
3. Waarschuwingen voor de verwijdering
ONZE ZORG VOOR HET MILIEU
Voor de verpakking van onze producten worden materialen gebruikt die niet vervuilend zijn, bijgevolg belasten ze het milieu niet en zijn ze recycleerbaar. Wij verzoeken u om hieraan mee te werken, en te zor-
gen voor een correcte verwijdering van het verpakkingsmateriaal. Raadpleeg uw verkoper of de bevoegde instanties van de regio voor de adressen van de centra voor inzameling, recyclage, en verwerking.

LAAT DE VERPAKKING OF DELEN ERVAN NIET RONDSLINGEREN. VOORAL DE PLASTIEKZAKKEN KUNNEN EEN BRON VAN VERSTIKKINGSGEVAAR VOOR KINDEREN VORMEN.
Ook voor uw oude toestel moet gezorgd worden voor een correcte verwijdering, waardoor men bijdraagt om negatieve gevolgen voor het milieu en de gezondheid te voorkomen, die zich anders zouden voordoen in geval van een onjuiste verwerking.

BELANGRIJK: dit toestel mag niet als huishoudelijk afval worden behandeld. Stuur het oude toestel naar het plaatselijke centrum dat bevoegd is voor het inzamelen van afgedankte huishoudtoestellen. Een correcte verwijdering zorgt voor een intelligente recuperatie van kostbare materialen. Men moet de kabel van het elektrische net losmaken en deze samen met de stekker wegnemen.
4. Ken uw toestel
In het overzichtsgedeelte van deze handleiding, Samenvatting gaskookplaten [Pag. 215], worden alle schetsen samengebracht met betrekking van de Foster-kookplaten die op vandaag in productie zijn.
Wij verzoeken u om de schets van de kookplaat die u hebt aangekocht te bestuderen, om vertrouwd te worden met de belangrijkste technische werkingskenmerken.
Om het opzoeken van de kookplaten te vereenvoudigen, werden ze onderverdeeld in twee hoofdgroepen:
- Kookplaten met traditionele inbouw: "rand 8 mm", "rand Q4" en "halfaansluitende rand";
- Kookplaten met aansluitende inbouw: rand "aansluitende top".
De eerste groep heeft onafhankelijk van het type rand een eenvoudig gat voor traditionele inbouw. De kookplaten met "aansluitende top" rand hebben een meer gedetailleerd ontwerp om de uitvoering van het gat "op maat" mogelijk te maken, dit betekent met een traprandje, nodig voor de plaatsing van de rand van de kookplaat zodat deze naadloos "aansluit" op het werkblad.
Op alle schetsen staan nummers vermeld, die overeenkomen met branders. Deze nummers bepalen het type brander. Om het vermogen te kennen van de branders van de kookplaat die u hebt aangekocht, raadpleegt men de tabel met de vermogens in functie van het gebruikte type gas [Pag. 215].
5. Vóór de installatie

Laat geen verpakkingsresten onbewaakt achter in de huiskamer. Scheid de verschillende afvalmaterialen van de verpakking en breng die naar het dichtstbijzijnde centrum voor gescheiden inzameling.
Teneinde alle productieresten te verwijderen, is het aanbevolen om het toestel schoon te maken.
Voor meer informatie omtrent de schoonmaak, zie Hoofdstuk 15 [Pag. 114].
6. Plaatsing in de werktop
Deze inbouwkookplaat is een klasse 3.

De volgende interventies vereisen metselwerk en/of schrijnwerk, en moeten daarom door een vakbekwame technicus worden uitgevoerd. De installatie kan op verschillende materialen gebeuren, zoals metselwerk, metaal, vol hout of hout bekleed met plastic laminaat, indien deze hittebestendig zijn (T 100°C).
6.1 Installatie op de steunstructuur (werkblad) van een traditionele inbouw-kookplaat (rand 8 mm, rand Q4, halfaansluitende rand)

Maak een opening in het topblad van het meubel volgens de afmetingen en de positie zoals hierna aangegeven en voorgesteld in de schets [Fig.2].
De afmetingen van het inbouwgat staan vermeld in het hoofdstuk Samenvatting gaskookplaten - modellen met traditioneleinbouw [Pag.114], bij deschets van de kookplaat die u hebt aangekocht.

Fig. 2: uitvoering van het inbouwgat

- De afstand van de kookplaat tot de achterrand moet minstens 50 mm zijn;
- De afstand van de kookplaat tot de wanden die in de hoogte boven het werkblad komen moet minstens 100 mm zijn;
- Indien een zuigkap boven de kookplaten wordt geïnstalleerd, moeten de instructies voor de montage van de kap geraadpleegd worden waarin de correcte afstand is vermeld die moet in acht genomen worden.

text_image
min.650 50 100Fig. 3: afstanden van de kookplaat

- Breng de isolerende dichting die meegeleverd werd zorgvuldig aan op de buitenomtrek van het gat dat men in het topblad heeft gemaakt, laat die op het volledige oppervlak aanhechten met een lichte druk van de handen [Fig. 4].
- Eenmaal deze handelingen zijn uitgevoerd, moet men de meege-leverde beugels gebruiken om het blad aan de structuur vast te maken. Raadpleeg de paragraaf "Bevesti-ging van de kookplaat op het meubel" [Pag. 103].

Fig. 4: plaatsing van de isolerende dichting
6.2 Installatie op de steunstructuur (werkblad) van een kookplaat met aan-sluitende inbouw (aansluitende top rand)

Dit type toestel vereist het uitfrezen op het werkblad met een diepte van 1,5 mm, de maten worden aangegeven in de schets van de plaat, en is te vinden in het hoofdstuk Samenvatting gaskookplaten - modellen met "aansluitende" inbouw [Pag. 215]. Het traprandje is nodig om er de rand van de kookplaat in te leggen, zodat die naadloos "aansluit" met het werkblad.

• Maak de freesrand zorgvuldig schoon.
- Vooraleer de plaat te plaatsen, moet men over het hele oppervlak van de freesrand de meegeleverde sluitdichting aanbrengen [Fig. 5].
- Als deze handelingen zijn uitgevoerd, moet men de meegeleverde beugels gebruiken om het blad aan de structuur vast te maken. Raadpleeg de paragraaf "Bevestiging van de kookplaat op het meubel" [Pag. 103].

Fig. 5: plaatsing van de isolerende dichting

Tussen de buitenafmetingen van het inoxplaatje en de binnenafmetingen van de uitsparing is een constante ruimte voorzien van minstens 0,5 mm, dit moet tijdens het monteren gerespecteerd worden. De temperaturen die zich tijdens het gebruik van de kookplaat ontwikkelen, zorgen voor een minieme uitzetting van het inoxplaatje, daardoor vangt de voorziene tussenruimte eventuele interferenties op. Wat betreft het werkblad van de keuken, zijn de temperaturen die door de kookplaat worden opgewekt - zowel in de doorsnede als op het contactvlak - zeer beperkt. Het is sterk aanbevolen om de kookplaten met aansluitende toprand op materialen te monteren die absoluut waterafstotend zijn.
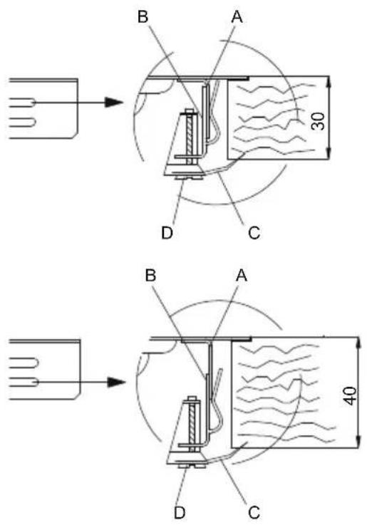
7. Bevestiging van de kookplaat op het meubel

Maak de meegeleverde haken vast aan de beugels onder het toestel zoals hierna aangetoond. De meegeleverde haken laten een bevestiging toe op een top met een dikte begrepen tussen 30 en 40 mm.

BELANGRIJK:
- Voor de bevestiging van dit product op de steunstructuur is het aanbevolen om geen mechanische of elektrische schroevendraaiers te gebruiken en met de hand een matige druk uit te oefenen op de bevestigingselementen.
- Het blad onder het toestel moet zich op minstens 5 mm van de bodem ervan bevinden, en moet een opening hebben om de gasleidingen en elektrische kabels door te laten van minstens 50x50 mm.
- Als dit product boven een oven wordt geïnstalleerd, moet die voorzien zijn van een koelventilator.
7.1 Vaste haken
Laten toe om de kookplaten met voorziene hoekhaken voor bevestiging vast te zetten op vaste punten.

Standaardrand (8 mm)

Halfaansluitende rand (3 mm)

Aansluitende top rand

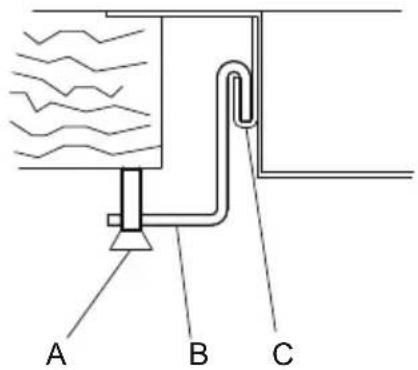
Steek de haak B in de hoekhaak A die op het blad vastzit, zorg ervoor die te blokkeren in de speciaal voorziene gaten in functie van de dikte van de top (voor top met een dikte van 30 mm, blokkeer de haak in het hoogste gat boven de hoekhaak; voor top met een dikte van 40 mm, blokkeer de haak in het laagste gat van de hoekhaak).
Draai het lipje C tot die onder de top komt te zitten, daarna de schroef D vastdraaien.

text_image
B A 30 D C B A 40 D C7.2 Schuifhaken
Laten toe om de kookplaten vast te zetten zonder vooraf voorziene bevestigingspunten.

Standaardrand (8 mm)

Aansluitende top rand - Q4 (enkel voor serie S4000)

text_image
FT Q4
text_image
A B CBreng de haak B in de schuifgeleider C.
Blokkeer de haak manueel met behulp van de schroef A.
7.3 Vaste beugels
Laten toe om de kookplaten vast te zetten op vooraf voorziene bevestigingspunten.

Standaardrand (8 mm)

Breng de beugel B in de speciaal voorziene zitting van de plaat.
Blokkeer de beugel manueel met behulp van de schroef A.
8. Aansluiting van de kookplaat op de gasdistributie

Het is noodzakelijk dat de installatie voor gastoevoer conform is met de lokale normen die van kracht zijn.
Men moet controleren of de lokale distributievoorwaarden (aard en druk van het gas) en de staat van afstelling van het toestel compatibel zijn.
BELANGRIJK: Als het toestel boven een oven wordt geïnstalleerd, moet men vermijden op de gasleiding aan de achterkant van de oven te laten passeren, om oververhitting te vermijden.

De aansluiting op de gasdistributie kan gebeuren met een vaste koperen buis of met een flexibele buis in staal met doorlopende wand, volgens de voorschriften die bepaald zijn door de geldende norm [Fig. 6]. In ieder geval moet iedere buis die men op de gasdistributie aansluit voorzien zijn van een veiligheidsafsluiter.

text_image
koppeling van de kookplaat dichting flexibele buis in inox vaste buis in koperFig. 6: aansluiting op de gasdistributie

BELANGRIJK: Plaats steeds de dichting tussen de koppeling op de plaat en de aansluitingsbuis.

- Als men een flexibele inox buis gebruikt, moet die zo geïnstalleerd worden dat die niet in contact kan komen met een onderdeel van het meubel, maar op een vrij punt passeert en over de hele lengte geïnspecteerd kan worden. De flexibele buis moet een lengte hebben van minder dan 2 meter bij maximaal uitstrekken.
- De gaskoppeling is een type met conische schroefdraad 1/2" gas ISO R7.

Na de aansluiting van het toestel op de gasdistributie moet men altijd de dichting van de koppelingen controleren met een zeepoplossing. HET IS ABSOLUUT VERBODEN OM DE DICHTING TE CONTROLEREN MET GEBRUIK VAN VRIJE VLAMMEN.

De kookplaats werd getest met methaangas G25 (2H) op een druk van 25 mbar. Voor voeding met andere gastypes, raadpleeg de tabel Aanpassing aan andere gastypes [Pag. 108].
8.1 Aansluiting op vloeibaar gas

Gebruik een drukregelaar en voer de aansluiting op de gasfles uit volgens de voorschriften die door de geldende normen worden bepaald.
Zorg ervoor dat de voedingsdruk de waarden respecteert vermeld in de tabel Aan-passing aan andere gastypes [Pag. 108]. Ook in dit geval moet de aansluiting worden uitgevoerd met een vaste koperen buis of met een flexibele buis in staal met een doorlopende wand.
9. Ventilatie van de lokalen

BELANGRIJK: Het toestel mag enkel in permanent geventileerde lokalen geïnstalleerd worden, zoals voorzien door de geldende normen.
10. Afvoer van de verbrandingsproducten (afzuiging)

Dit toestel is niet aangesloten op een systeem voor evacuatie van de verbrandingsproducten. Het moet geïnstalleerd worden in overeenstemming met de geldende voorschriften. Besteed bijzondere aandacht aan de betreffende vereisten inzake ventilatie.

De afvoer van de verbrandingsproducten moet verzekerd worden via dampkappen die op een schoorsteen met natuurlijke trek zijn aangesloten die goed werken, ofwel via geforceerde afzuiging.
Een efficiënt afzuigsysteem vereist een zorgvuldig ontwerp door een specialist die deze komt installeren in naleving van de posities en de afstanden die door de normen worden opgelegd.

BELANGRIJK: Op het einde van de interventie moet de installateur een conformiteit-verklaring bezorgen.
11. Aanpassing aan andere gastypes
| Gas-type | Brander | Nominaal vermogen (KW) | Nominaal verbruik (g/u) | Injector (ø mm) | Min. nominaal ver-mogen (KW) | ||
| Serie N. Ref | |||||||
| METHAANGAS G25 25 mbar | II | 2 Hulp 1,00 111 0,72 0,52 | |||||
| 3 Halfsnel 1,75 194 0,94 0,52 | |||||||
| 4 Snel 2,70 299 1,16 0,90 | |||||||
| 5 Driedubbele kroon 3,50 388 1,38 1,80 | |||||||
| 10 Dual 4,50 499 i 0,69 / e 1,05 i 0,30 / e 1,40 | |||||||
| III | 6 Hulp 1,10 122 0,73 0,52 | ||||||
| 7 Halfsnel 1,75 194 0,95 0,52 | |||||||
| 8 Snel 3,00 333 1,20 0,90 | |||||||
| 9 Driedubbele kroon 3,80 421 1,43 1,80 | |||||||
| AE | 11 Hulp 1,00 | 0,72 0,52 | |||||
| 12 | Halfsnel 1,75 | 0,94 0,52 | |||||
| 13 | Snel 3,00 | 0,90 | |||||
| 14 | Dubbele kroon | 5,00 | i 0,68 / e 1,48 | i 0,40 / e 1,70 | |||
| Serie N. Ref | |||||||
| LPG - VLOEIBAAR GAS G30/G31 28 ÷ 30/37 mbar | II | 2 Hulp 1,00 73 0,50 0,52 | |||||
| 3 Halfsnel 1,75 127 0,65 0,52 | |||||||
| 4 Snel 2,70 196 0,80 0,90 | |||||||
| 5 Driedubbele kroon 3,50 254 0,95 1,80 | |||||||
| 10 Dual | 4,50 | 328 | i 0,46 / e 0,66 | i 0,30 / e 1,40 | |||
| III | 6 Hulp 1,10 80 0,52 0,52 | ||||||
| 7 Halfsnel 1,75 127 0,65 0,52 | |||||||
| 8 Snel 3,00 218 0,85 0,90 | |||||||
| 9 Driedubbele kroon 3,80 276 0,98 1,80 | |||||||
| AE | 11 Hulp 1,00 73 0,50 0,52 | ||||||
| 12 Halfsnel 1,75 127 0,65 0,52 | |||||||
| 13 Snel 3,00 218 0,85 0,90 | |||||||
| 14 Dubbele kroon | 5,00 | 364 | i 0,46 / e 0,95 | i 0,40 / e 1,70 | |||

Het toestel werd getest met methaangas G25 (2H) op een druk van 25 mbar. In geval van werking met andere gastypes moet men de straalpijpen van de branders vervangen en de minimumvlam op de gasfittingen bijregelen. Voor het vervangen van de straalpijpen moet men tewerk gaan zoals beschreven in de volgende paragrafen.
11.1 Vervanging straalpijpen kookplaat

BELANGRIJK: Vooraleer de volgende handelingen uit te voeren moet men er altijd eerst voor zorgen dat het toestel niet op het elektrische stroomnet is aangesloten.

- Neem de roosters weg, verwijder alle afdekhoedjes en de vlamverdeelkronen.
- Met een pijpsleutel van 7 mm de straalpijpen van de branders losschroeven [Fig. 7].
- Vervolgens de straalpijpen van de branders vervangen volgens het te gebruiken gas (tabel "Aan-passing aan andere gastypes" [Pag. 108]).
- Plaats de branders correct terug in de speciaal voorziene zittingen.

Fig. 7: vervanging van de straal-pijpen

BELANGRIJK: Na de afstelling met een ander type gas dan dewelke gebruikt werd tijdens de test, moet men het etiket op de behuizing van het apparaat vervangen door het etiket dat overeenkomt met het nieuwe type gas.
12. Afstelling van het minimum

Instructies voor stadsgas en methaangas
- Steek de brander aan en zet die op de minimumstand.
- Haal de handgreep van de gaskraan eruit en draai aan de regelschroef [Fig. 8] vanbinnen of naast de as van de kraan (naargelang het model), tot men een normale minimumvlam bekomt. Wanneer een 2-wegsgaskraan aanwezig is [Fig. 12-13], zijn er 2 stelschroeven voor het minimum.
- Hermonteer de handgreep en controleer de stabiliteit van de vlam van de brander (als de handgreep snel van maximumstand naar minimumstand wordt gedraaid, mag de vlam niet uitgaan).
- Herhaal dit voor alle gaskranen.

Fig. 8: afstelling van het minimum

Instructies voor vloeibaar gas (LPG)
Draai de schroef die zich vanbinnen of naast de as van de kraan bevindt (naargelang het model) helemaal aan in wijzerzin.
13. Elektrische aansluiting van de kookplaat

BELANGRIJK: Vooraleer de volgende handelingen uit te voeren, controleer altijd of voltage en dimensionering van de voedingslijn overeenkomen met de kenmerken die op het label onder de behuizing van het label van het toestel vermeld staan. Dit label mag nooit worden weggenomen.

De aardingsaansluiting is verplicht volgens de bepalingen voorzien door de veiligheidsnormen van de elektrische installatie.
- Voor rechtstreekse aansluiting met het net moet een inrichting worden voorzien waarmee een afsluiting kan gegarandeerd worden, met een openingsafstand tussen de contacten die bij overspanning, toestand van de categorie III, de volledige afsluiting mogelijk maakt, conform met de installatienormen.
- Als men een aansluiting met stekker en stopcontact gebruikt, moet men controleren of die van hetzelfde type zijn. Vermijd het gebruik van omzetters, adapters of aftakdozen omdat die oververhitting of doorbranden kunnen veroorzaken.

BELANGRIJK: De fabrikant wijst iedere verantwoordelijkheid af voor schade aan personen of voorwerpen, veroorzaakt door het niet naleven van deze voorschriften, of voortvloeiend uit het openbreken van een onderdeel van het toestel.

In geval van vervanging van de voedingskabel zal een kabel moeten gebruikt worden van het type H05RR-F met een sectie van 3x0,75 mm ^2 .


L bruin
N blauw
geelgroen
14. Gebruik van de kookplaat
14.1 De branders aanzetten

Vooraleer de branders van de plaat aan te zetten, moet men er zich van verzekeren dat de vlamverdeelkronen in hun zittingen zitten met de bijhorende afdekhoedjes erop.

text_image
parallel en gecentreerd schuin schuin niet gecentreerdFig. 9: positie van de kronen

Op sommige kookplaten zijn de nieuwe branders gemonteerd, die "III serie" worden genoemd. Het blokkeersysteem tussen afdekking (B) en vlamverdeler (A) garandeert de perfecte positionering en groot gemak bij de schoonmaak.

text_image
A B CFig. 10: positionering van de brander III serie
De afdekking bovenaan (B) van de branders moet in de speciale zitting komen met de twee inkeping voor plaatsing in overeenstemming met de twee cilinderstaafjes eronder (C) en in wijzerzin worden aangeschroefd.

In overeenstemming met elke draaiknop wordt de betreffende brander aangeduid. Het toestel is uitgerust met een voorziening voor elektrische ontsteking. Het volstaat om de draaiknop in te drukken en in tegenwijzerzin naar het symbool voor maximale vlam te draaien, tot de vlam aan is. Als de vlam niet binnen 15 seconden aan is, zet dan de draaiknop op [chiuso] (gesloten) en wacht 60 seconden vooraleer opnieuw te proberen.
Als de vlam aan is, moet men de draaiknop enkele seconden ingedrukt houden om het thermokoppel tijd te geven om op te warmen. Het kan gebeuren dat de brander uitgaat wanneer de draaiknop wordt losgelaten: dit betekent dat het thermokoppel nog niet voldoende is opgewarmd. Wacht een ogenblik en herhaal de handeling, houdt de draaiknop deze keer iets langer ingedrukt. Eenmaal de brander aan is, kan men de vlam naar behoefte regelen.

Op het einde van elk gebruik van de plaat, moet men altijd controleren of de draaiknoppen op de stand ●chiuso] (gesloten) staan.
Als de branders toevallig zouden uitgaan, treedt een beveiligingsvoorziening na een interval van ongeveer 20 seconden op om de gasaanvoer af te sluiten, zelfs als de kraan open staat. Zet in dit geval de draaiknop opnieuw op de stand ● [chiuso] (gesloten) en wacht minstens 60 seconden vooraleer opnieuw te proberen om de brander aan te zetten.

Fig. 11: draaiknop standaard brander

text_image
CHIUSO 1 INTERNE BRANDER 2 EXTERNE KRONEN MAX 1 MAX 2 MIN 1 CHIUSO 2 MAX 1 MIN 2 MAX 1 CHIUSO 2Fig. 12: draaiknop brander dual (S4000) / dubbele kroon

text_image
CHIUSO 1 INTERNE BRANDER 2 EXTERNE KRONEN 1 MAX 2 CHIUSO 1 MIN 2 CHIUSO 1 MIN 2 MIN 1 MAX 2 MAXFig. 13: draaiknop brander dual (GIOTTO/VULCANO)
14.2 Praktische tips voor het gebruik van de branders

Voor een beter rendement van de branders en een minimaal gasverbruik moet men potten met een effen, platte bodem gebruiken, voorzien van een deksel en aangepast aan de brander, om te vermijden dat de vlam aan de zijkanten gaat likken (zie paragraaf "Diameter van depotten" [Pag.113]). Verminderde vlam voldoende als de inhoud begint te koken, om te verhinderen dat de vloeistof overloopt.

Fig. 14: gebruik van potten

Om brandwonden of schade aan de kookplaat door overmatige hitte te vermijden, mogen de gebruikte potten en vleespannen geen maten hebben die groter zijn dan de maten die in de paragraaf “Diameter van de potten” [Pag. 113] staan vermeld. Geen lege potten of pannen verwarmen, omdat die kunnen oververhitten.

Wanneer men vetten of oliën gebruikt, moet men zeer aandachtig blijven omdat die vlam kunnen vatten als ze oververhit raken. Als een pot met vet of olie in brand vliegt; mag men geen water erop gieten, omdat dit brandwonden kan veroorzaken; doe het vuur uit en bedek de pot met een vochtige doek, koppel het toestel los van het elektrische stroomnet.
14.3 Diameter van de recipienten
• Hulpbrander: van 6 tot 14 cm
• Halfsnelle brander: van 15 tot 20 cm
• Snelbrander: van 21 tot 26 cm
- Branders met dubbele kroon, driedubbele kroon, dual: van 24 tot 28 cm

Tijdens de werking genereert de kookplaat warmte en vochtigheid in de kamer waar de plaat geïnstalleerd is. Zorg ervoor dat de keuken goed verlucht is. Langdurig gebruik van het toestel met enkele of alle branders kan een bijkomende ventilatie nodig maken, zoals het openen van een raam en/of een hoger afzuigvermogen van de afzuigkap.
15. Schoonmaak en onderhoud

Gebruik geen stoomstraal om het toestel schoon te maken.
Vóór iedere interventie moet men de elektrische voeding van het toestel uitschakelen.
Vermijd om op het staal, op de roosters en op de andere delen van het toestel sporen van zure of alkalische stoffen te laten (azijn, citroensap, zout, tomatensap, ...)
15.1 Schoonmaak van het inoxstaal
Om het inoxstaal in goede staat te behouden, moet die regelmatig worden schoongemaakt na elk gebruik, na afkoelen van de plaat.
15.1.1 Dagelijkse gewone schoonmaak
Gebruik enkel specifieke producten die geen schuurmiddelen of stoffen op basis van chloor bevatten om de oppervlakken in inoxstaal schoon te maken.
Gebruiksaanwijzing: Giet het product op een vochtige doek en strijk over het oppervlak. Neem het product daarna volledig weg met een schone, vochtige doek.
15.1.2 Vlekken of voedingsresten

Vermijd absoluut het gebruik van metalen schuursponsen en snijdende schrapers om de oppervlakken niet te beschadigen. Gebruik normale producten voor staal die niet schuren, gebruik eventueel gereedschap in hout of plastic materiaal. Goed naspoelen en afdrogen met een zachte doek of met een zeemlap.
Het gebruik van het schoonmaakproduct Foster Steel Clean is aanbevolen voor de schoonmaak van staal; wendt u tot de technische dienst voor inlichtingen waar dit product te verkrijgen is.
Gebruik geen chemische detergenten zoals ovensprays of ontvlekkers.
15.2 Schoonmaak van de gascomponenten
De roosters, afdekhoedjes en vlamverdeelkronen kunnen weggenomen worden om de schoonmaak te vergemakkelijken: was ze in warm water en mild detergent dat niet schuurt, zorg ervoor dat alle korstvorming weggnomen wordt en droog ze onmiddellijk af met een doek. Hermonteer de afdekhoedjes op hun kronen. Componenten in gietijzer zoals de roosters en de branders mogen niet in de vaatwasser.
Voor een goede werking moeten de ontstekingsbougies en de thermokoppels altijd goed schoon zijn. Controleer ze regelmatig en maak ze indien nodig schoon met een vochtige doek, daarna afdrogen. Eventueel opgedroogde resten worden met een houten tandenstokertje of met een naald verwijderd.
Maak de kapjes en de vlamverdeelkronen regelmatig schoon na ieder gebruik. Gebruik het schoonmaakproduct Foster Steel Clean, dat men aanbrengt met een microvezeldoek in de richting van de afwerking, om minder hardnekkig vuil te verwijderen en om de vlamverdeler te laten glanzen.
15.3 Reiniging van de geëmailleerde platen
Om de geëmailleerde plaat in goede staat te behouden, moet men die na ieder gebruik en na afkoeling regelmatig schoonmaken.
Om de email schoon te maken en in goede staat te behouden, mag men uitsluitend een vochtige microvezeldoek gebruiken die met neutraal zeepsop is doordrenkt.
Gebruik geen producten die schurende stoffen bevatten of zure stoffen op basis van chloor.
Vermijd absoluut om metalen schuursponsjes of scherpe schrapers te gebruiken om de oppervlakken niet te beschadigen.
15.4 Reiniging van de draaiknoppen
De draaiknoppen moeten met een zachte doek worden schoongemaakt, die met lauw water is bevochtigd en zorgvuldig worden afgedroogd.
Om de reiniging te vergemakkelijken kunnen de draaiknoppen worden uitgetrokken door ze naar boven te trekken.
Gebruik geen agressieve producten die alcohol, chlorides of schurende producten bevatten.
15.5 Serigrafie op de plaat
Let zeer goed op om geen schurende of chemische producten op de serigrafie van de plaat te gebruiken. Gebruik uitsluitend een vochtige microvezeldoek.

Foster S.P.A. kan niet aansprakelijk worden gesteld voor mogelijke onjuistheden te wijten aan drukfouten of vertaalfouten in deze bijlage. Zij behoudt zich het recht voor om wijzigingen aan de eigen producten aan te brengen die ze nodig of nuttig acht, ook in het belang van de gebruiker, zonder de kenmerken van de werking en de veiligheid te veranderen.
Уважаемый Клиент,
Samenvatting gaskookplaten
| Legende | |||
| Serie N. | Brander Vermogen (W) | ||
| 1 | Bedieningsdraaiknop | ||
| II | 2 | Hulp 1.000 | |
| 3 | Halfsnel | 1.750 | |
| 4 | Snel | 2.700 | |
| 5 | Driedubbele kroon | 3.500 | |
| 10 Dual 4.500 | |||
| III | 6 | Hulp 1.100 | |
| 7 | Halfsnel | 1.750 | |
| 8 | Snel | 3.000 | |
| 9 | Driedubbele kroon | 3.800 | |
| AE | 11 Hulp 1.000 | ||
| 12 | Halfsnel | 1.750 | |
| 13 | Snel | 3.000 | |
| 14 | Dubbele kroon | 5.000 | |
| Type rand | |
| Standaardrand (8 mm) | STD |
| Rand Q4 (4 mm) | Q4 |
| Halfaansluitende rand (3 mm) | SF |
| Aansluitende top rand | FT |

text_image
Inbouwgaten STD Q4 SF B A A = breedte - B = diepteVerwijzing naar de meet- en berekenmethodes, gebruikt om de overeenstemming met de prestatiegrenzen van de energie-efficiëntie vast te stellen
De energie-efficiëntie van de gaskookplaten voor huishoudelijk gebruik op basis van de EU-regelgeving 66/2014: de waarden van elke brander worden bepaald door testen, in overeenstemming met de norm EN 30-2-1. De hulpbranders zijn uitgesloten, daar hun nominaal vermogen kleiner is dan a 1,16 kW.
SimpelGids