S4000 - Ofen Foster - Kostenlose Bedienungsanleitung
Finden Sie kostenlos die Bedienungsanleitung des Geräts S4000 Foster als PDF.
Laden Sie die Anleitung für Ihr Ofen kostenlos im PDF-Format! Finden Sie Ihr Handbuch S4000 - Foster und nehmen Sie Ihr elektronisches Gerät wieder in die Hand. Auf dieser Seite sind alle Dokumente veröffentlicht, die für die Verwendung Ihres Geräts notwendig sind. S4000 von der Marke Foster.
BEDIENUNGSANLEITUNG S4000 Foster
Sehr geehrter Kunde, Sehr geehrte Kundin
Wir danken Ihnen, das Sie ein Foster-Kochfeld gewählt haben.
Ihr Vorzug ist für uns ein Grund auf Stolz und Zufriedenheit.
In der vorliegenden Anleitung sind die Empfehlungen und Anweisungen enthalten, damit Sie das gekaufte Kochfeld am besten bedienen können und die Erhaltung in der Zeit zu garantieren.
Wir bitten um Ihre Aufmerksamkeit für wenige Minuten, damit die Leistung des Produkts und Ihrer Zufriedenheit auf lange Zeit erhalten bleiben.
Mit freundlichen Grüßen,
Foster Spa
Inhalt

ALLGEMEINE HINWEISE
Die allgemeinen Empfehlungen, die vor der Installation und der Benutzung des Kochfelds zu lesen sind.
- Hinweise für die Benutzung....60
- Sicherheitsinformationen 61
- Hinweise für die Entsorgung 61
- Machen Sie mit Ihrem Gerät Bekanntschaft....62

ANLEITUNGEN FÜR DEN INSTALLATEUR
Sie sind für den technischen Fachmann bestimmt, der die Installation, die Inbetriebnahme und den Testlauf des Geräts ausführt.
- Vor der Installation....63
- Auflegen auf die Arbeitsflächenöffnung.... 63
- Befestigen des Kochfelds in das Möbel....65
- Anschluss des Kochfelds an die Gasversorgung.... 68
- Belüftung der Räume....69
- Ablassen der Verbrennungserzeugnisse (Dampfabzug) 70
- Anpassung an die verschiedenen Gastypen. 70
- Regulieren des Minimums....72
- Das Kochfeld an dei Stromversorgung anschließen 72

ANLEITUNGEN FÜR DEN BENUTZER
Sie beinhalten Ratschläge für die Benutzung und die Beschreibung der Bedienung und die korrekten Reinigungs- und Wartungsweise des Geräts.
-
Gebrauch des Kochfelds 73
-
Reinigung und Wartung 76
Übersicht der Gaskochfelder 214
1. Hinweise für die Benutzung

Diese Anleitung ist ein Bestandteil des Apparats. Sie soll komplett aufbewahrt werden und während der ganzen Lebensdauer des Kochfelds dem Benutzer zur Verfügung stehen. Wir empfehlen Ihnen, dieses Dokument mit seinen Anweisungen sorgfältig durchzulesen, bevor Sie das Gerät in Betrieb nehmen.
Die Installation muß von qualifiziertem Personal und mit Beachtung der geltenden Bestimmungen durchgeführt werden. Dieses Gerät ist für den Privathaushalt vorgesehen und ist konform mit den geltenden, aktuellen CE-Richtlinien: 2009/142/EG (Gasverbrauchseinrichtungen), 2006/95/EG, 2004/108/EG.

Das Gerät ist für den folgenden Zweck konstruiert worden: KOCHEN UND AUFWÄRMEN VON SPEISEN, JEDER ANDERE BENUTZUNG WIRD ALS UNSACHGEMÄSS ERACHTET.
Der Hersteller lehnt, bei irgend einer anderen Benutzung als der beschriebenen, jede Verantwortung ab.
- Gebrauchen Sie dieses Gerät nie als Raumheizung.
- Lassen Sie keine Verpackungsreste unaufbesichtigt in der Wohnung herumliegen.
- Trennen Sie die verschiedenen Verpackungsmateriale und entsorgen Sie sie in die nächstgelegenen Sammelstelle.

Dieses Gerät ist gemäß der europäischen Richtlinie 2002/96/EG über Elektro-und Elektronikgeräten (- WEEE Elektro- und Elektronik-Altgeräte) beschildert worden. Diese Richtlinie definiert die Vorschriften für die Entsorgung und Wiederaufbereitung der stillgelegten Geräte im ganzen EU-Raum.

Das Identifikationsschild mit den technischen Angaben, der Seriennummer und Marke ist gut sichtbar unter der Abdeckung [Abb. 1] angebracht.
DAS SCHILD DARF NIE ABGENOMMEN WERDEN.

Abb. 1: Position des Identifikationsschilds
Die Bedingungen für die Einstellung des Geräts sind auf dem Kennschild angeführt.
2. Sicherheitsinformationen

Für Sie und Ihre Sicherheit, wird gesetzlich vorgeschrieben, dass die Installation und der Service für alle elektrische oder mit Gas betriebenen Geräte nur von qualifiziertem Personal, gemäß den geltenden Vorschriften und den Ansprüchen der lokalen Gas- und Stromversorungsunternehmen ausgeführt werden dürfen.
• Die Gas- oder elektrischen Geräte müssen von fachkundigem Personal abgetrennt werden.
- Der für das Versorgungskabel verwendete Steckertyp und die entsprechende Dose müssen gleich und konform mit den geltenden Vorschriften sein.
• Die Steckdose muss auch bei eingebautem Gerät zugänglich sein.
- Ziehen Sie nie am Kabel, um den Stecker aus der Dose zu ziehen.
- Der normengerechte Anschluss an die Erdableitung der elektrischen Versorgungsanlage ist obligatorisch.
- Die Öffnungen und die Luft- und Wärmeentsorgungsspälte dürfen auf keine Weise verstopft werden.

Nach abgeschlossener Installation muss ein kurzer Betriebstest des Geräts durchgeführt werden. Folgen Sie dabei den Anweisungen, die weiter hinten in dieser Anleitung beschrieben werden. Falls das Gerät nicht funktionieren sollte, ziehen Sie den Stecker aus der Versorgungsdose und wenden Sie sich an den nächstgelegenen Reparatur-Service. PROBIEREN SIE NIE, DAS GERÄT ZU REPARIEREN.
Das Gerät wird während seinem Einsatu sehr heiß. Wir raten deshalb bei jeder Arbeit Wärmeschutzhandschuhe oder Topflappen zu gebrauchen. Dieses Gerät ist nicht für die Verwendung durch Personen (einschließlich Kinder) mit eingeschränkten geistigen und motorischen Fähigkeiten bestimmt oder Mangel an Erfahrung und Wissen, es sei denn, unter Aufsicht oder ausführlicher Anleitung zur Benutzung durch eine Person, die für ihre Sicherheit verantwortlich ist. KINDER MÜSSEN BEAUFSICHTIGT WERDEN, DAMIT SIE NICHT MIT DEM GERÄT SPIELEN.

Der Hersteller lehnt jede Haftpflicht ab, wenn durch das Nichtbeachten der oben genann- ten Vorschriften oder durch Abänderungen auch nur von einem einzigen Bestandteil oder Verwenden von nicht Originalersatzteilen, Personen oder Sachen beschädigt worden sind.
3. Hinweise für die Entsorgung
UNSER UMWELTBEWUSSTSEIN
Beim Verpacken unserer Produkte werden nur umweltfreundliche und recyclebare Materiale verwen-
det. Wir bitten Sie deshalb, mit uns zusammen zu arbeiten, indem Sie das Material korrekt trennen und entsorgen. Ihr Wiederverkäufer oder bei den zuständigen Organisationen werden Ihnen gerne die Adressen der Sammel-, Recycle- und Entsorgungsstellen in Ihrer Nähe angeben.

LASSEN SIE DAS VERPACKUNGMATERIAL ODER TEILE DAVON, NICHT UNBESICHTIGT HERUMLIEGEN. SIE, UND VOR ALLEM DIE PLASTIKTÜTEN, KÖNNEN FÜR KINDER GEFÄHRLICH SEIN. ERSTICKUNGSGEFAHR!
Auch für ihr altes Gerät müssen dieselben Regeln für seine korrekte Entsorgung angewandt werden. Sie helfen damit bei, negative Folgen für die Umwelt und Ihre Gesundheit zu vermeiden, die im Falle einer unsachgemäßen Entsorgung entstehen würden.

WICHTIG: Dieses Gerät kann nicht mit dem Haushaltsabfall entsorgt werden. Geben sie das alte Gerät in eine autorisierte Sammelstelle für stillgelegte Elektrohaushaltsgeräte in Ihrer Nähe. Eine korrekte Entsorgung erlaubt ein kluges Recycling von wertvollen Materialen. Das Versorgungskabel muss weiterhin abgetrennt werden und mit dem Stecker entsorgt werden.
4. Machen Sie mit Ihrem Gerät Bekanntschaft
Am Ende dieser Anleitung, Übersicht der Gaskochfelder [Seite 214], finden Sie die Zeichnungen aller heute erhältlichen Kochfelder Foster.
Wir bitten Sie, die Zeichnung Ihres Kochfelds heraus zu suchen, damit sie sich mit den technischen und funktionalen Eigenschaften vertraut machen können.
Um die Suche zu erleichtern, sind die Kochfelder in zwei Großfamilien eingeteilt worden:
- Kochfelder für den traditionellen Einbau: „Kante 8 mm“, „Kante Q4“ e „halb flächenbündige Kante“;
- Flächenbündig eingebaute Kochfelder: „Filotop“ -Rand
Für die erste Gruppe braucht es unabhängig von der Art des Rands eine einfache, traditionelle Einbauöffnung. Die „Filotop“-Kochfelder haben ein detaillierteres Design, das die Realisation einer Öffnung „auf Maß“ gewährt, da diese Kochfelder dank des Absatzes am Kochfeldrand komplett in die Arbeitsfläche eingelegt werden können, damit das Kochfeld schließlich flächenbündig zur Arbeitsfläche zu liegen kommt.
Auf allen Zeichnungen befinden sich Zahlen die den Brennern entsprechen. Diese Ziffern bezeichnen den jeweiligen Brennertyp. Um die Leistung der Brenner des von Ihnen gekauften Gaskochfelds zu kennen, verweisen wir Sie auf die Leistungstabelle nach dem verwendeten Gastyps auf [Seite 214].
5. Vor der Installation

Lassen Sie keine Verpackungsreste unaufbesichtigt in der Wohnung herumliegen. Trennen Sie die verschiedenen Verpackungsmateriale und entsorgen Sie sie in die nächstgelegenen Sammelstelle.
Nach der Beseitigung aller Fabrikationsrückbeständen raten wir, das Gerät zu reinigen.
Weitere Informationen über die Reinigung finden Sie im Kapitel 15 [Seite 76].
6. Auflegen auf die Arbeitsflächenöffnung
Dieses Einbau- Gaskochfeld ist Klasse 3.

Die folgenden Arbeiten verlangen eine Maurer- und/oder Schreinerarbeit und werden deshalb von technischen Fachleuten ausgeführt. Die Installation ist auf verschiedenen hitzebeständigen (100°C) Materialen möglich wie: Mauern, Metall, massives und kunstofflaminiertes Holz.
6.1 Installation eines traditionellen Einbaukochfelds (8 mm-, Q4- und halb flächenbündige Kanten) in eine Halterungsstruktur (Arbeitsfläche)

Schneiden Sie eine Öffnung in die Oberseite des Möbels mit den Abmaßen und in der Position, die folgend angegeben und in der Zeichnung bebildert [Abb. 2] wird.
Die Abmaße der Einbauöffnung sind im Abschnitt Übersicht der Gaskochfelder - Modelle mit traditionellem Einbau [Seite 214], auf der Zeichnung des entsprechenden Kochfelds das Sie gekauft haben enthalten.

Abb. 2: Ausführen der Einbauöffnung

- Der Abstand des Kochfelds zum hinteren Rand der Arbeitsfläche muss mindestens 50 mm betragen;
- Der Abstand des Kochfelds zu den Wänden die die Arbeitsfläche überragen muss mindestens 100 mm betragen;
- Im Falle der Installation einer Dunstabzugshaube über dem Kochfeld, konsultieren Sie die Installationsanweisungen der Haube, in denen der korrekte Abstand aufgeführt wird.

text_image
min.650 50 100- Legen Sie die mitgelieferte Isolier-dichtung sorgfältig auf den äußeren Rand der Einbauöffnung und drücken Sie ihn auf seiner ganzen Oberfläche leicht von Hand [Abb. 4] an.
- Wenn diese Arbeiten abgeschlossen worden sind, nehmen sie die beiliegenden Befestigungsbügel und befestigen Sie damit das Kochfeld mit der Oberfläche der Einbaustruktur. Sehen Sie im Abschnitt „Befestigung des Kochfelds an der Einbaustruktur“ [Seite 65].

Abb. 4: Anbringen der Isolierdichtung
6.2 Installation eines flächenbündigen Kochfelds (Filotop) in eine Einbaustruktur (Arbeitsfläche)

Diese Modelle benötigen eine 1,5 mm tiefe Einfräsung in die Arbeitsfläche. Die Maße sind in der Zeichung auf dem Plan, im Abschnitt Übersicht der Gaskochfelder - Einlagemodelle „Filotop“ [Seite 214] angegeben. Der Absatz dient als Sitz für den Kochfeldrand damit sich die Kochfeldoberfläche auf die gleiche Ebene wie die Arbeitsfläche zu liegen kommt.

• Reinigen Sie die Ausfräsung sorgfältig.
- Bevor das Feld eingelegt werden kann, muss auf der ganzen Ausfrä- sung die beiliegende Isolierdichtung [Fig.5] angebracht werden.
- Wenn diese Arbeiten abgeschlossen worden sind, nehmen sie die beiliegenden Befestigungsbügel und befestigen Sie damit das Kochfeld mit der Oberfläche der Einbaustruktur. Sehen Sie im Abschnitt „Befestigung des Kochfelds an der Einbaustruktur“ [Seite 65].

Abb. 5: Anbringen der Isolierdichtung

Zwischen den äußeren und inneren des Absatzes ist ein konstanter Spielraum von mindestens 0,5 mm vorgesehen, der bei der Montage eingehalten werden muss. Die Temperaturen, die sich beim Benutzen des Kochfelds entwickeln, verursachen in der Stahlplatte eine leichte Dehnung. Der vorgesehene Spielraum vermeidet eventuelle Interferenzen. Was die Arbeitsfläche der Küche anbetrifft, so sind die vom Kochfeld abgegebenen Temperaturen sehr bescheiden, sei es an der Schnitt- oder auf der Oberfläche. Wir empfehlen jedoch, darauf zu achten, dass die Filotop-Einlegekochfelder nur in absolut wasserfeste Materiale eingebaut wird.
7. Befestigen des Kochfelds in die Einbaustruktur

Befestigen Sie die beiliegenden Haken auf den Bügeln unten am Gerät, wie folgend abgebildet ist:. Die Haken können Stärken zwischen 30 und 40 mm befestigen.

WICHTIG:
- Wir raten, für die Befestigung dieses Produkts keine mechanischen oder elektrischen Schraubenzieher zu benutzen, sondern einen mäßigen Druck von Hand auf die Befestigungsorgane auszuüben.
- Die unter dem Gerät liegende Fläche muss sich mindestens 5 mm unterhalb des Grund desselben befinden und muss eine Öffnung für die elektrische und die Gasleitung von mindestens 50x50 mm haben.
- Wenn das Produkt über einem Ofen installiert wird, muss der Ofen mit einem Abkühlventilator versehen sein.
7.1 Befestigte Haken
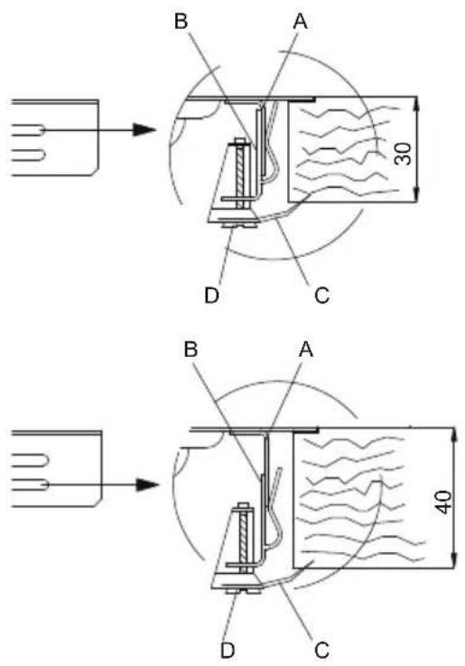
Erlauben die Befestigung der Kochfelder mit den Halbierungen an den vorgegebenen Stellen.

Standard Kante (mm)

Halb flächenbündige (3 mm) Kante

Haken Sie den Haken BA auf den am Feld angeschweißten Winkel A, der sich in den entsprechenden Bohrlöchern je nach der Stärke des Felds (für das 30 mm starke Kochfeld wird der Haken im oberen Bohrloch des Winkels, während beim 40 mm starken Feld der Haken im unteren Bohrloch befestigt wird).
Drehen Sie den Federkeil C bis er unter dem Feld positioniert ist und ziehen Sie nun die Schraube D an.

text_image
B A 30 D C B A 40 D C7.2 Gleithaken
Erlauben die Befestigung der Kochfelder ohne die Halterungen an den vorgegebenen Stellen.

Standard Kante (8mm)

Flächenbündige „Filotop“- Kante - Q4 (nur für die Serie S4000)

text_image
FT Q4
text_image
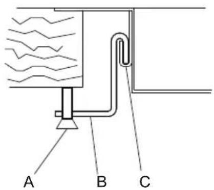
A B CFügen Sie den Haken B in die Gleitschiene C. Befestigen Sie den Haken mit der Schraube A von Hand.
7.3 Befestigte Bügel
Erlauben die Befestigung der Kochfelder an den vorgegebenen Befestigungstellen.

Standard Kante (8mm)

Fügen Sie den Bügel B in den entsprechenden Sitz unter dem Feld ein. Befestigen Sie den Bügel mit der Schraube A von Hand.
8. Anschluss des Kochfelds an die Gasversorgung

Die Gasversorgungsanlage muss mit den geltenden örtlichen Vorschriften konform sein.
Es ist notwendig, dass die örtlichen Verteilerbedingungen (Gasart und -Druck) und die Regulierung des Geräts auf ihre Kompatibilität geprüft werden.
WICHTIG: Falls das Gerät über einem Backofen montiert wird, muss darauf geachtet werden, dass der Gasschlauch nicht an der Hinterseite des Ofens gelegt wird, um dessen Überhitzung vorzubeugen.

Der Anschluss an die Gasversorgung kann mit einem Kupferrohr oder mit einem Stahlschlauch mit nahtloser Wand und gemäß den Vorschriften der geltenden Normen [Abb. 6] ausgeführt werden. Auf jeden Fall muss jedes Rohr, das an die Gasleitung angeschlossen wird, mit einem Sicherheitshahn versorgt werden.

text_image
Anschluss- stutzen des Kochfelds Dichtung Stahlschlauch KupferrohrAbb. 6: Anschluss an die Gasversorgung

WICHTIG: Legen Sie immer die Dichtung zwischen den Anschlussstutzen des Kochfelds und dem Anschlussrohr.

- Wenn sie einen rostfreien Stahlschlauch benutzen, muss dieser so montiert werden, dass er nicht mit der Einbaustruktur in Berührung kommt, sondern dass er in einem hindernisfreien Ort so ausgelegt wird, dass er auf seiner ganzen Länge inspektioniert werden kann. Der Schlauch darf ausgestreckt nicht länger als 2 m sein.
• Der Gasstutzen hat ein konisches ISO R7-Gewinde von 1/2" Durchmesser.

Nachdem Sie das Gerät an die Gasversorgung angeschlossen haben, prüfen Sie immer die Dichte der Anschlüsse mit einer Seifenlösung. ES IST ABSOLUT VERBOTEN, DIE DICHE MIT EINER FREIEN FLAMME ZU KONTROLLIEREN.

Das Kochfeld ist für Erdgas G20 (2H) mit einem Druck von 20 mbar ge-testet worden. Bei der Versorgung mit anderen Gastypen, sehen Sie auf der Tabelle Anpassung an die verschiedenen Gastypen [Seite 70] nach.
8.1 Anschluss an Flüssiggas

Wenden Sie einen Druckregler an und verbinden Sie die Leitung an der Gasflasche gemäß den verordneten Vorschriften der geltenden Normen.
Versichern Sie sich, dass der Versorgungsdruck den in der Tabelle Anpassung an die verschiedenen Gastypen [Seite 70] angegebenen Werten entspricht. Auch für diesen Fall muss der Anschluss mit einem Kupferrohr oder einem nahtlosen Stahlschlauch gemacht werden.
9. Belüftung der Räume

WICHTIG: Das Gerät darf nur in ständig belüfteten Räumen installiert werden, wie es von den geltenden Normen vorgeschrieben wird.
10. Ablassen der Verbrennungserzeugnissen (Dampfabzug)

Dieses Gerät ist nicht an ein Abführungssystem der Verbrennungsprodukte angeschlossen. Die Installation hat in Übereinstimmung mit den gültigen Vorschriften zu erfolgen. Die entsprechenden Anforderungen in Bezug auf die Belüftung sind besonders zu berücksichtigen.

Der Abzug der Verbrennungserzeugnissen muss durch eine Abzugskappe, die an einem Schacht mit natürlichem Abzug angeschlossen ist oder mit einer maschinellen Abzugsvorrichtung geschehen.
Ein wirksames Abzugssystem verlangt eine sorgfältige Planung eines befugten Spezialisten, wobei die Position und die Abstände gemäss den Angaben den geltenden Vorschriften eingehalten werden müssen.

WICHTIG: Der Installateur muss bei Abschluss der Installation ein Konformitätszeugnis ausstellen können.
- Anpassung an die verschiedenen Gastypen.
| Gasart | Brenner | Nennlei-stung (KW) | Nominal-verbrauch (g/h) | Injektor (ø mm) | Min. Nennleistung (KW) | ||
| Serie Nr. | Gegenstand | ||||||
| FLÜSSIGGAS (LPG) G30/G31 50 mBar | II | 2 | Hilfsbrenner | 1,00 77 | 0,43 0,52 | ||
| 3 | Halbschneller Brenner | 1,75 136 | 0,58 0,52 | ||||
| 4 | Schnellbrenner | 2,70 209 | 0,71 0,90 | ||||
| 5 | Dreikranzbrenner | 3,50 272 | 0,75 1,80 | ||||
| 10 | Dualbrenner | 4,50 349 | i 0,43 / e 0,6 | 1 i 0,30 / e 1,40 | |||
| III | 6 | Hilfsbrenner | 1,10 85 | 0,45 0,52 | |||
| 7 | Halbschneller Brenner | 1,75 136 | 0,57 0,52 | ||||
| 8 | Schnellbrenner | 3,00 233 | 0,73 0,90 | ||||
| 9 | Dreikranzbrenner | 3,80 295 | 0,77 1,80 | ||||
| AE | 11 | Hilfsbrenner | 1,00 0,43 | 0,52 | |||
| 12 | Halbschneller Brenner | 1,75 0,58 | 0,52 | ||||
| 13 | Schnellbrenner | 3,00 0,90 | |||||
| 14 | Doppelkranzbrenner | 5,00 i 0,40 / e 0,80 i 0,40 / e 1,70 | |||||
| Gasart | Brenner | Nenn-leistung (KW) | Nominal-verbrauch (g/h) | Injektor (ø mm) | Min. Nen-nleistung (KW) | ||
| Serie Nr. | Gegenstand | ||||||
| ERDGAS G20 20 mBar | II | 2 | Hilfsbrenner | 1,00 95 | 0,72 0,52 | ||
| 3 | Halbschneller Brenner | 1,75 167 | 0,97 0,52 | ||||
| 4 | Schnellbrenner | 2,70 257 | 1,08 0,90 | ||||
| 5 | Dreikranzbrenner | 3,50 333 | 1,35 1,80 | ||||
| 10 | Dualbrenner | 4,50 429 | i 0,72 / e 1,02 i 0,30 / e 1,40 | ||||
| III | 6 | Hilfsbrenner | 1,10 105 | 0,73 0,52 | |||
| 7 | Halbschneller Brenner | 1,75 167 | 0,98 0,52 | ||||
| 8 | Schnellbrenner | 3,00 285 | 1,26 0,90 | ||||
| 9 | Dreikranzbrenner | 3,80 362 | 1,35 1,80 | ||||
| AE | 11 | Hilfsbrenner | 1,00 95 | 0,72 0,52 | |||
| 12 | Halbschneller Brenner | 1,75 167 | 0,97 0,52 | ||||
| 13 | Schnellbrenner | 3,00 285 | 1,32 0,90 | ||||
| 14 | Doppelkranzbrenner | 5,00 476 | i 0,75 / e 1,51 i 0,40 / e 1,70 | ||||

Das Kochfeld ist für Erdgas G20 (2H) mit einem Druck von 20 mbar getestet vorden. Für den Betrieb mit anderen Gastypen müssen die Brennerdüsen ausgewechselt were- den und die Minimum-Flamme an den Gashähnen reguliert werden Für das Ersetzen der Düsen folgen sie den Anweisungen in den folgenden Abschnitten.
11.1 Auswechseln der Kochfelddüsen

WICHTIG: Bevor Sie die folgenden Eingriffe unternehmen, versichern Sie sich, dass das Gerät von Stromnetz abgetrennt worden ist.

- Entfernen Sie die Topfhalter, die Brennerdeckel und die Gasverteilerkränze.
- Mit einem 7 mm-Rohrschlüssel schrauben Sie nun die Düsen aus den Brennern [Abb. 7].
- Ersetzen Sie die Brennerdüsen je nach dem zu verwendenden Gas (siehe tabelle „Anpassung an die verschiedenen Gastypen“ [Seite 70]).
- Schrauben legen Sie die Brenner wieder korrekt auf ihren Sitz.

Abb. 7: Auswechseln der Düsen

WICHTIG: Nach der Regulierung mit einem verschiedenen Gas als dasjenige vom Test, ersetzen Sie bitte die Etikette auf der Abdeckung des Geräts mit der dem neuen Gas entsprechenden Etikette.
12. Regulieren des Minimums

Anleitungen für Stadt- oder Erdgas
- Zünden Sie den Brenner an und bringen Sie ihn auf die Minimumsposition.
- Ziehen Sie den Drehknopf des Gashahnen ab und drehen Sie an der Regulierschraube [Abb.8] im Innern oder an der Seite des Hahnenstifts (je nach Modell) bis eine regelmässige Minimusflamme erreicht wird. Wenn ein 2-Gänge Gashahn vorhanden ist [Abb. 12-13], es gibt zwei Reglungsschraube für die minimale Gasstromanpassung.
- Setzen Sie den Drehknopf wieder auf eine prüfen Sie nun die Stabilität der Flamme des Brenners (indem sie den Drehknopf schnell von der Maximums- auf die Minimumsposition, wobei die Flamme im Minimum nicht auslöschen sollte).
- Wiederholen Sie die Prozedur an allen Gashähnen.

Anleitungen für Flüsiggas (LPG)
Schrauben Sie die Regulierschraube im Innern oder an der Seite des Hahnenstifts (je nach Modell) im Uhrzeigersinn komplett an.
13. Das Kochfeld an dei Stromversorgung anschließen

WICHTIG: Bevor sie mit den folgenden Arbeiten beginnen, versichern Sie sich immer, dass die Spannung und die Dimensionierung der Versorgungsleitung den auf dem unter der Abdeckung angebrachten Identifikationsschild angegebenen Eigenschaften entsprechen. Dieses Schild darf nie abgenommen werden.

Der normengerechte Anschluss an die Erdableitung der elektrischen Versorgungsanlage ist obligatorisch.
- Zum direkten Anschluss an das Netz, ist eine Vorrichtung nötig, die die Trennung vom Netzwerk garantiert, mit einem Abstand der Kontaktöffnung, der die vollständige Abtrennung unter Bedingungen Überspannungskatheorie III ermöglicht, gemäß den Regeln der Montage.
- Wenn ein Aschluss mit einem Stecker vorgesehen worden ist, versichern Sie sich, dass der Stecker und die Dose vom selben Typ sind. Vermeiden sie die Anbringung von Reduktionen oder von Shunts, da diese Überhitzungen oder Verbrennungen verursachen könnten.

WICHTIG: Der Hersteller lehnt jede Haftpflicht ab, wenn durch das Nichtbeachten der oben genannten Vorschriften oder durch Abänderungen auch nur von einem einzigen Bestandteil, Personen oder Sachen beschädigt worden sind.

Im Falle eines Auswechselns des Versorgungskabels muss ein Kabel Typ H05RR-F Querschnitt 3x0,75 mm² verwendet werden.


L braun
N blau
gelb-grün
14. Gebrauch des Kochfelds
14.1 Zündung der Brenner

Bevor Sie die Brenner anzünden, vergewissern Sie sich, dass die Flammenverteilerkränze mit den Brennerdeckeln korrekt auf den entsprechenden Sitzen gelegt sind.

text_image
parallel und eingemittet schief schief nicht eingemittetAbb. 9: Position der Kränze

Auf einige Kochfelder werden die neuen Brenner der „Serie III“ montiert. Das Blockiersystem zwischen dem Brennerdeckel (B) und dem Flammenverteilkranz (A) garantiert eine perfekte Lage und die praktische Reinigung.

text_image
A B CAbb. 10: Positionieren des Brenners der Serie III
Der Brennerdeckel (B) muss auf den entsprechenden Sitz mit den zwei Einführungskerben, in Übereinstimmung mit den beiden untenstehenden Stiften (C), aufgesetzt und im Uhrzeigersinn angeschraubt werden.

In Übereinstimmung mit jeden Drehknopf ist der zugehörige Brenner angegeben. Das Gerät ist mit einer elektrischen Zündvorrichtung versehen. Es reicht den Drehknopf zu gedrückt zu halten und gleichzeitig im Gegenuhrzeigersinn auf das Symbol der Maximumsflamme zu drehen, bis die Zündung erfolgt ist. Erfolgt die Zündung nicht innerhalb von 15 Sekunden, bringen Sie den Drehknopf auf [chiuso] (ZU) und warten Sie 60 Sekunden, bevor Sie erneut anzünden.
Nach der Zündung behalten Sie den Drehknopf für einige Sekunden gedrückt, damit sich das Thermoelement erwärmen kann. Es kann vorkommen, dass der Brenner beim Loslassen des Drehknopfs erlischt: das bedeutet, dass sich das Thermoelement nicht genügend erwärmt hat. Warten Sie einen Moment und wiederholen Sie die Prozedur und behalten dabei den Drehknopf ein wenig länger gedrückt. Wenn der Brenner einmal gezündet worden ist, kann die Flamme je nach Bedarf geregelt werden.

Abb. 11: Drehknopf des Standard-brenners

text_image
CHIUSO 1 INNERER BRENNER 2 ÄÜBERE KRÄNZE MAX 1 MAX 2 MIN 1 CHIUSO 2 MAX 1 MIN 2 MAX 1 CHIUSO 2Abb. 12: Drehknopf Dual (S4000) / Doppelverteilerkranz

Nach jeder Benutzung des Kochfelds, kontollieren sie immer, dass sich alle Drehknöpfe in der Position ●chiuso] (ZU) befinden.
Falls sich die Brenner ungewollt auslöschen sollten, setzt sich die Sicherheitsvorrichtung nach einem Intervall von ca. 20 Sekunden ein und blockiert den Gasausgang auch wenn der hahn offen geblieben ist. Bei diesem Fall bringen Sie den Drehknopf auf die Position ● [chiuso] (ZU) und warten Sie mit dem Anzünden des Brenners mindestens 60 Sekunden.

text_image
CHIUSO 1 INNERER BRENNER 2 ÄÜGERE KRÄNZE 1 MAX 2 CHIUSO 1 MIN 2 CHIUSO 1 MIN 2 MIN 1 MAX 2 MAXAbb. 13: Drehknopf Dual (GIOTTO/VULCANO)
14.2 Praktische Ratschläge für den Gebrauch der Brenner

Für die bessere Leistung der Brenner und einen minimalen Gaskonsum sollten Kochöpfe mit ebenem Boden und Deckel, sowie mit einer proportionalen Größe zu den Brennern angewendet werden, damit die Flamm nicht an den Seitenwänden emporzüngelt (siehe abschnitt „Durchmesser des Kochgeschirrs“ [Seite 76]). Wenn der Siedepunkt erreicht ist, reduzieren Sie die Flamme soweit, dass das Überlaufen der Flüssigkeit vermieden wird.

Abb. 14: Verwendung der Kochtöpfe

Während dem Kochen sollten nur Töpfe oder Grillpfannen verwendet werden, die die angegebenen Abmaße im Abschnitt „Durchmesser des Kochgeschirrs“ [Seite 76]) entsprechen, um Hautverbrennungen oder Hitzschäden am Kochfeld zu vermeiden. Erhitzen Sie keine leeren Töpfe oder Pfannen, da sie sich überhitzen könnten.

Beim Kochen mit Fetten und Ölen muss besondere Vorsicht geboten werden, da diese sich entzünden können, wenn sie überhitzt werden. Falls ein fett- oder ölenthaltender Topf sich entzündet, leeren Sie auf keinen Fall Wasser darauf, da dies schwere Hautverbrennungen verursachen könnte. Löschen Sie das Feuer mit einem feuchten Tuch und trennen Sie die Stromversorgung ab.
14.3 Durchmesser des Kochgeschirrs
• Hilfsbrenner: von 6 bis 14 cm
• Halbschneller Brenner: von 6 bis 20 cm
• Schnell-Brenner: von 6 bis 26 cm
• Doppelkranz-, Dreikranz-, Dualbrenner: von 6 bis 28 cm

Während des Kochens produziert das Kochfeld Wärme und Feuchtigkeit im Raum, wo es installiert ist. Versichern Sie sich, dass die Küche gut belüftet ist. Bei längerem Betrieb des Geräts mit mehreren oder allen Brennern kann eine weitere Luftzufuhr wie, das Fenster öffnen und/oder den Ventilator des Abzugs auf eine höhere Stufe stellen.
15. Reinigung und Wartung

Keine Dampfjetgeräte für die Reinigung des Geräts verwenden.
Bevor sie mit irgendeiner Arbeit beginnen, trennen Sie die Stromzufuhr ab.
Vermeiden Sie auf den Stahlflächen, auf den Topfhaltern und auf den anderen Teilen des Geräts säurehaltige oder alkalische Flüssigkeiten (Essig, Zitronensaft, Salz, Tomatensaft).
15.1 Reinigung des rostfreien Stahls
Für die Erhaltung des Stahls in gutem Zustand sollte er nach jedem Gebrauch gereinigt werden, nachdem er sich abgekühlt hat.
15.1.1 Tägliche Reinigung
Zur Reinigung und Erhaltung der Stahloberflächen verwenden Sie nur spezifische, weder scheuerpulver- noch auf chlorenthaltende Säuren enthaltende Produkte.
Anwendung: Das Produkt auf ein feuchtes Tuch geben und auf der Oberfläche auftragen. Schließlich das Produkt mit einem sauberen, feuchten Tuch vollständig entfernen.
15.1.2 Lebensmittelflecken oder Rückstände

Es dürfen auf keinen Fall weder metallene Schwämme oder schneidende Gegenstände verwendet werden, damit die Oberflächen nicht beschädigt werden. Verwenden sie normale nicht scheuernde Produkte für die Reinigung von Stahl und helfen Sie sich ggf. mit Holz- oder Plastikgegenständen. Spülen Sie gründlich und trocknen Sie mit einem weichen, trockenen Lappen oder einem Stück Hirschleder.
Wir empfehlen für die Reinigung des Stahls „Foster Steel Clean“. Für Informationen, wo Sie das Produkt erhalten, wenden Sie sich bitte an den Kundendienst. Verwenden Sie keine chemischen Reinigungsmittel wie Ofenreinigungssprays oder Entfleckungsmittel.
15.2 Reinigung der Gasbestandteile
Die Topfhalter, die Brennerdeckel und Flammenverteilerkränze sind herausnehmbar, um deren Reinigung zu erleichtern. Waschen Sie sie mit heißem Wasser und nicht scheuerpulverhaltigem Spülmittel und entfernen Sie jede Kruste und trocknen Sie sie sofort mit einem Tuch. Legen Sie die Brennerdeckel wieder auf die entsprechenden Kränze. Die Gusseisenbestandteile wie die Topfhalter und die Brenner dürfen nicht in der Geschirrspülmaschine gewaschen werden.
Damit die Zündkerzen und die Thermoelemente gut funktionieen, müssen sie stets sauber sein. Kontrollieren Sie sie oft und reinigen Sie sie bei Bedarf mit einem feuchten Lappen und trocknen Sie sie anschließend. Trockene Resten können mit einem hölzernen Zahnstocher oder einer Nadel entfernt werden.
Regelmäßig die Kappen und die Flammenring-Kronen nach jeder Verwendung reinigen. Für weniger hartnäckige Verschmutzungen und zum Polieren des Flammenrings die Creme Steel Clean von Foster mit einem Mikrofasertuch entlang der Richtung des Finishes heranziehen.
15.3 Reinigung der emaillierten Ablagen
Für die langfristige Erhaltung der Eigenschaften der emaillierten Ablagen sind sie regelmäßig nach jeder Verwendung zu reinigen, sobald sie abgekühlt sind.
Um die Glasur zu reinigen und ihre Eigenschaften zu erhalten immer ein befeuchtetes Mikrofasertuch und einen Neutralreiniger verwenden.
Keinesfalls Produkte verwenden, die Scheuermittel oder Säuren auf Chlorbasis enthalten.
Unter keinen Umständen Scheuerspiralen aus Metall oder scharfe Schaber verwenden, um die Beschädigung der Oberflächen zu vermeiden.
15.4 Reinigung der Drehknöpfe
Die Drehknöpfe sind mit einem weichen, mit lauwarmem Wasser befeuchteten Tuch zu reinigen und sorgfältig abzutrocknen.
Zur Vereinfachung der Reinigung können die Drehknöpfe nach oben herausgezogen werden.
Keine aggressiven Produkte verwenden, die Alkohol, Chloride oder Scheuermittel enthalten.
15.5 Siebdruck auf Ablage
Besonders darauf achten, kein scheuerndes oder chemisches Produkt auf dem Siebdruck der Ablage zu verwenden. Nur ein feuchtes Mikrofasertuch verwenden.

Die Firma Foster S.P.A. übernimmt keine Haft für mögliche Ungenauigkeiten in der vorliegenden Anleitung, die durch Druck- oder Tippfehler entstanden sind Die Firma Foster S.P.A. behält es sich vor, an den eigenen Produkten jene Änderungen auszuführen, die Sie auch im Interesse der Verbraucher für nötig oder zweckgemäß hält, ohne dass die funktionalen oder Sicherheitseigenschaften beeinträchtigt werden.
Estimado Cliente:
Übersicht der Gaskochfelder
| Legende | |||
| Serie Nr. | Brenner Leistung (W) | ||
| 1 | Regulierdrehknopf | ||
| II | 2 | Hilfsbrenner | 1.000 |
| 3 | Halbschneller Brenner | 1.750 | |
| 4 | Schnellbrenner 2.700 | ||
| 5 Dreikranzbrenner | 3.500 | ||
| 10 Dualbrenner | 4.500 | ||
| III | 6 | Hilfsbrenner | 1.100 |
| 7 | Halbschneller Brenner | 1.750 | |
| 8 | Schnellbrenner 3.000 | ||
| 9 Dreikranzbrenner | 3.800 | ||
| AE | 11 Hilfsbrenner | 1.000 | |
| 12 | Halbschneller Brenner | 1.750 | |
| 13 | Schnellbrenner 3.000 | ||
| 14 | Doppelkranzbrenner | 5.000 | |
| Kantenart | |
| Standard Kante (8 mm) | STD |
| Kante Q4 (4 mm) | Q4 |
| Halb flächenbündige (3 mm) Kante | SF |
| Flächenbündige „Filotop“- Kante | FT |

text_image
Einbaubohrlöcher STD Q4 SF B A A = Breite - B = TiefeBezug auf die Mess- und Berechnungsmethoden, die für die Bestimmung der Einhaltung der Grenzwerte der Energieeffizienz verwendet werden
Die Energieeffizienz des Gas-Kochfeldes für den privaten Gebrauch wird nach der EU-Verordnung Nr. 66/2014 berechnet: die Werte für die einzelnen Brenner werden durch Prüfung nach EN 30-2-1 bestimmt. Davon ausgeschlossen sind die Hilfsbrenner, da sie eine Nennleistung von weniger als 1,16 kW haben.
Schweizerische Vorschriften
Bei der Aufstellung und Installation sind folgende Vorschriften zu beachten:
- SVGW-Gasleitsätze G1
- EKAS-Richtlinie Nr. 1942: Flüssiggas, Teil 2
(EKAS: Eidgenössische Koordinationskommission für Arbeitssicherheit)
- Vorschriften der Vereinigung Kantonaler Feuerversicherungen (VKF)
EinfachAnleitung