S4000 - Forno Foster - Manuale utente e istruzioni gratuiti
Trova gratuitamente il manuale del dispositivo S4000 Foster in formato PDF.
Scarica le istruzioni per il tuo Forno in formato PDF gratuitamente! Trova il tuo manuale S4000 - Foster e riprendi in mano il tuo dispositivo elettronico. In questa pagina sono pubblicati tutti i documenti necessari per l'utilizzo del tuo dispositivo. S4000 del marchio Foster.
MANUALE UTENTE S4000 Foster
La ringraziamo per aver scelto un piano cottura Foster.
La Sua preferenza è per noi motivo di orgoglio e di soddisfazione.
Nel presente documento abbiamo raccolto i consigli e le istruzioni grazie alle quali potrà utilizzare al meglio il piano cottura acquistato e garantirne la migliore conservazione nel tempo. Le chiediamo pochi minuti di attenzione per salvaguardare l'efficienza del prodotto e la Sua soddisfazione.
Distinti saluti
Foster spa
Indice

AVVERTENZE GENERALI
I consigli generali da consultare prima dell'installazione e dell'uso del piano cottura acquistato.
- Avvertenze per l'uso 3
- Avvertenze per la sicurezza....4
- Avvertenze per lo smaltimento 4
- Conoscete il vostro apparecchio 5

ISTRUZIONI PER L'INSTALLATORE
Sono destinate al tecnico qualificato che deve eseguire l'installazione, la messa in servizio ed il collaudo dell'apparecchio.
- Prima dell'installazione 6
- Posizionamento nel top di lavoro....6
- Fissaggio del piano cottura al mobile 8
- Collegamento del piano cottura alla rete gas.... 11
- Ventilazione dei locali 12
-
Scarico dei prodotti della combustione (aspirazione).... 13
-
Adattamento ai diversi tipi di gas....13
-
Regolazione del minimo.... 15
-
Collegamento elettrico del piano cottura.... 15

ISTRUZIONI PER L'UTENTE
Indicano i consigli d'uso, la descrizione dei comandi e le corrette operazioni di pulizia e manutenzione dell'apparecchio.
- Uso del piano cottura.... 16
- Pulizia e manutenzione 19
Riepilogo piani cottura a gas....213
1. Avvertenze per l'uso

Questo manuale costituisce parte integrante dell'apparecchio. Occorre conservarlo integro e a portata di mano per tutto il ciclo di vita del piano. Consigliamo una attenta lettura del documento e di tutte le indicazioni in esso contenute prima di utilizzare l'apparecchio.
L'installazione dovrà essere eseguita da personale qualificato e nel rispetto delle norme vigenti. Questo apparecchio è previsto per un impiego di tipo domestico, ed è conforme alle direttive CE attualmente in vigore:2009/142/CE (apparecchi a gas), 2006/95/CE (bassa tensione), 2004/108/CE (compatibilità elettromagnetica).

L'apparecchio è costruito per svolgere la seguente funzione: COTTURA E RISCAL-DAMENTO DI CIBI; OGNI ALTRO USO VA CONSIDERATO IMPROPRIO.
Il costruttore declina ogni responsabilità per utilizzi diversi da quelli indicati.
- Mai usare questo apparecchio per il riscaldamento di ambienti.
• Non lasciare i residui dell'imballo incustoditi nell'ambiente domestico. - Separare i vari materiali di scarto provenienti dall'imballo e consegnarli al più vicino centro di raccolta differenziata.

Questo apparecchio dispone di contrassegno ai sensi della direttiva europea 2002/96/CE in materia di rifiuti, di apparecchi elettrici ed elettronici (waste electrical and electronic equipment - WEEE). Questa direttiva definisce le norme per la raccolta e il riciclaggio degli apparecchi dismessi valide su tutto il territorio dell'Unione Europea.

La targhetta di identificazione, con i dati tecnici, il numero di matricola e la marcatura è visibilmente posizionata sotto il carter [Fig.1].
LA TARGHETTA NON DEVE MAI ES- SERE RIMOSSA.

Fig.1: posizione della targhetta di identificazione
Le condizioni di regolazione dell'apparecchio sono riportate nella targa dati.
2. Avvertenze per la sicurezza

Nel vostro interesse e per la vostra sicurezza, è stabilito per legge che l'installazione e l'assistenza di tutti gli apparecchi elettrici o a gas vengano effettuate da personale qualificato nel rispetto delle norme vigenti e dei requisiti delle aziende locali erogatrici del gas e dell'energia elettrica.
• Gli apparecchi a gas o elettrici devono sempre essere disinseriti da persone competenti.
- La spina da collegare al cavo di alimentazione e la relativa presa dovranno essere dello stesso tipo e in conformità alle norme in vigore.
• La presa dovrà essere accessibile ad apparecchio incassato.
• Non staccare mai la spina tirandone il cavo.
- E' obbligatorio il collegamento di terra secondo le modalità previste dalle norme di sicurezza dell'impianto elettrico.
• Non ostruire le aperture, le fessure di ventilazione e di smaltimento del calore.

Subito dopo l'installazione effettuare un breve collaudo dell'apparecchio seguendo le istruzioni riportate più avanti. In caso di mancato funzionamento, scollegare l'apparecchio dalla rete elettrica ed interpellare il più vicino centro di assistenza tecnica: NON TENTARE MAI DI RIPARARE L'APPARECCHIO.
Durante l'utilizzo l'apparecchio diventa molto caldo. Per qualsiasi operazione è consigliabile l'utilizzo di appositi guanti termici. Questo apparecchio non è destinato all'uso da parte di persone (inclusi i bambini) con ridotte capacità psichiche o motorie, o con mancanza di esperienza e conoscenza, a meno che ci sia una supervisione o istruzione sull'uso dell'apparecchio da parte di una persona responsabile per la loro sicurezza. I BAMBINI DEVONO ESSERE SORVEGLIATI PER ASSICURARSI CHE NON GIOCHINO CON L'APPARECCHIO.

Il costruttore declina ogni responsabilità per danni subiti da persone e cose, causati dall'inosservanza delle suddette prescrizioni o derivanti dalla manomissione anche di una singola parte dell'apparecchio e dall'utilizzo di ricambi non originali.
3. Avvertenze per lo smaltimento
NOSTRA CURA DELL'AMBIENTE
Per l'imballo dei nostri prodotti vengono utilizzati materiali non inquinanti, pertanto compatibili con l'ambiente e riciclabili. Vi preghiamo di collaborare provvedendo con un corretto smaltimento dell'imballaggio. Informatevi presso il vostro rivenditore o presso le organizzazioni competenti di zona in merito agli indirizzi dei centri di raccolta, riciclaggio, smaltimento.

NON ABBANDONATE L'IMBALLAGGIO O PARTI DI ESSO. QUESTI POSSO-NO RAPPRESENTARE UN PERICOLO DI SOFFOCAMENTO PER I BAMBINI, IN PARTICOLAR MODO I SACCHETTI DI PLASTICA.
Anche per il vostro vecchio apparecchio è necessario procedere attraverso un corretto smaltimento, contribuendo ad evitare conseguenze negative per l'ambiente e la salute, che altrimenti si verificerebbero in caso di smaltimento inappropriato.

IMPORTANTE: questo apparecchio non può essere trattato come rifiuto domestico. Consegnare il vecchio apparecchio all'azienda di zona, autorizzata per la raccolta degli elettrodomestici in disuso. Uno smaltimento corretto permette un intelligente recupero di materiali pregiati. È necessario inoltre tagliare il cavo di collegamento alla rete elettrica e rimuoverlo insieme alla spina.
4. Conoscete il vostro apparecchio
Nella parte conclusiva del presente manuale, Riepilogo piani cottura a gas [Pag.213], sono raccolti tutti i disegni relativi ai piani cottura Foster oggi in produzione.
Le chiediamo di riconoscere il disegno del piano cottura da Lei acquistato per familiarizzare con le principali caratteristiche tecnico-funzionali.
Per praticità di ricerca i piani cottura sono distinti in due macro-famiglie:
- Piani cottura con incasso tradizionale: "bordo 8 mm", "bordo Q4" e "bordo semifilo";
- Piani cottura con incasso a filo: bordo "filotop".
Il primo gruppo indipendentemente dal tipo di bordo ha un semplice foro da incasso tradizionale. I piani cottura con bordo “filotop” hanno un disegno più dettagliato per permettere la realizzazione del foro “su misura”, ovvero avente uno scalino necessario per l'alloggiamento del bordo del piano cottura in modo che questo risulti “a filo” con il piano di lavoro.
In tutti i disegni sono presenti dei numeri in corrispondenza dei bruciatori. Tali numeri identificano il tipo di bruciatore. Per conoscere le potenze dei bruciatori del piano cottura a gas da Lei acquistato, si rimanda alla lettura della tabella delle potenze in funzione del tipo di gas utilizzato [Pag.213].
5. Prima dell'installazione

Non lasciare i residui dell'imballo incustoditi nell'ambiente domestico. Separare i vari materiali di scarto dell'imballo e depositarli presso il centro di raccolta differenziata più vicino.
Al fine di rimuovere tutti i residui di fabbricazione è consigliabile pulire l'apparecchio.
Per maggiori informazioni sulla pulizia vedere il Capitolo 15 [Pag.19].
6. Posizionamento nel top di lavoro
Questo piano cottura da incasso è di classe 3.

I seguenti interventi richiedono un'opera muraria e/o di falegnameria e devono essere pertanto eseguiti da un tecnico competente. L'installazione è realizzabile su materiali diversi, quali muratura, metallo, legno di massello e legno rivestito di laminati plastici, purché resistenti al calore (T 100°C).
6.1 Installazione alla struttura di sostegno (piano di lavoro) di un piano cottura a incasso tradizionale (bordo 8 mm, bordo Q4, bordo semifilo)

Praticare un'apertura nel piano top del mobile con le dimensioni e nella posizione di seguito indicate e rappresentate nel disegno [Fig.2].
Le dimensioni del foro da incasso sono riportate nella sezione Riepilogo Piani cottura a gas - modelli con incasso tradizionale [Pag.213], incorrispondenza del disegno del piano cottura da Lei acquistato.

Fig.2: realizzazione del foro da incasso

- La distanza del piano cottura dal bordo posteriore deve essere di almeno 50 mm;
- La distanza del piano cottura dalle pareti che superano in altezza il piano di lavoro deve essere di almeno 100 mm;
- Qualora venga installata una cappa sopra il piano di cottura, consultare le istruzioni di montaggio della cap-pa nelle quali è riportata la distanza corretta da rispettare.

text_image
min.650 50 100Fig.3: distanze del piano di cottura

- Posizionare accuratamente la guarnizione isolante in dotazione sul perimetro esterno del foro praticato nel piano top, cercando di farla aderire su tutta la sua superficie con una leggera pressione delle mani [Fig.4].
- Una volta eseguite queste operazioni, utilizzate le staffette fornite in dotazione per fissare il piano alla struttura. Fare riferimento al paragrafo "Fissaggio del piano cottura al mobile" [Pag.8].

Fig.4: posizionamento della guarnizione isolante
6.2 Installazione alla struttura di sostegno (piano di lavoro) di un piano cottura con incasso a filo (bordo filotop)

Questo tipo di apparecchio necessita di una fresatura sul piano di lavoro di profondità 1,5 mm le cui misure sono indicate nel disegno del piano identificabile nella sezione Riepilogo Piani cottura a gas - modelli con incasso a “filo” [Pag.213]. Lo scalino è necessario per l'alloggiamento del bordo del piano di cottura in modo che questo risulti “a filo” con il piano di lavoro.

• Pulire accuratamente la fresatura.
- Prima di posizionare il piano occorre stendere su tutta la superficie della fresatura la guarnizione sigillante fornita in dotazione [Fig.5].
- Eseguite queste operazioni, utilizzare le staffette fornite in dotazione per fissare il piano alla struttura. Fare riferimento al paragrafo "Fissaggio del piano cottura al mobile" [Pag.8]

Fig.5: posizionamento della guarnizione isolante

Tra le dimensioni esterne del pianalino inox e quelle interne del ribasso è prevista una luce costante di almeno 0,5 mm che deve essere rispettata durante il montaggio. Le temperature che si sviluppano durante l'utilizzo del piano cottura inducono sul pianalino inox un lievissimo allungamento e pertanto la luce prevista consente di evitare eventuali interferenze. Per quanto concerne il piano di lavoro della cucina, le temperature indotte dal piano cottura - sia nella sezione che sul piano di contatto - sono molto contenute. Si consiglia vivamente di montare i piani cottura con bordo filotop su materiali asso-lutamente idrorepellenti.
7. Fissaggio del piano cottura al mobile

Fissare i ganci in dotazione sulle staffe sotto all'apparecchio come illustrato di seguito. I ganci in dotazione consentono il fissaggio a top di spessore compreso tra 30 e 40 mm.

IMPORTANTE:
- Per il fissaggio di questo prodotto alla struttura di sostegno, si consiglia di non utilizzare avvitatori meccanici o elettrici e di esercitare una moderata pressione a mano sugli organi di fissaggio.
- Il piano sottostante all'apparecchio deve trovarsi ad almeno 5 mm dal fondo del medesimo e deve aver un'apertura di passaggio per le condutture del gas ed elettriche di almeno 50x50 mm.
- Se questo prodotto viene installato sopra un forno, questo deve essere dotato di ventilatore di raffreddamento.
7.1 Ganci fissi
Permettono il fissaggio di piani cottura con squadrette di fissaggio predisposte in punti fissi.

Bordo standard (8 mm)

Bordo semifilo (3 mm)

Incastrare il gancio B nella squadretta A saldata sul piano, avendo cura di bloccarla negli appositi fori in funzione dello spessore del top (per top con spessore 30 mm, bloccare il gancio nel foro più in alto della squadretta; per top con spessore 40 mm, bloccare il gancio nel foro più in basso della squadretta).
Ruotare la linguetta C fino a posizionarla sotto il top, quindi serrare la vite D.

text_image
B A 30 D C B A 40 D C7.2 Ganci scorrevoli
Permettono il fissaggio di piani cottura senza punti di fissaggio predisposti.

Bordo standard (8 mm)

Bordo filotop - Q4 (solo per serie S4000)

text_image
FT Q4
text_image
A B CInserire il gancio B nella guida scorrevole C.
Bloccare manualmente il gancio mediante la vite A.
7.3 Staffette fisse
Permettono il fissaggio di piani cottura in punti di fissaggio predisposti.

Bordo standard (8 mm)

Inserire la staffetta B nell'apposita sede del piano.
Bloccare manualmente la staffetta mediante la vite A.
8. Collegamento del piano cottura alla rete gas

E' necessario che l'impianto di alimentazione a gas sia conforme alle norme locali in vigore.
E' necessario verificare che le condizioni locali di distribuzione (natura e pressione del gas) e lo stato di regolazione dell'apparecchio siano compatibili.
IMPORTANTE: Se l'apparecchio viene installato su un forno bisogna evitare di fare passare il tubo del gas sul retro del forno al fine di prevenire surriscaldamenti.

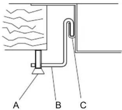
Il collegamento alla rete del gas può essere effettuato con un tubo rigido in rame o con un tubo flessibile in acciaio a parete continua e nel rispetto delle prescrizioni stabilite dalla norma in vigore [Fig.6]. In ogni caso ogni tubo che si collega alla rete gas deve essere dotato di un rubinetto di intercettazione di sicurezza.

text_image
raccordo del piano cottura guarnizione tubo flessibile in acciaio tubo rigido in rameFig.6: collegamento alla rete del gas

IMPORTANTE: Interporre sempre la guarnizione tra il raccordo presente sul piano ed il tubo di collegamento.

- Se si utilizza un tubo flessibile in acciaio inox, questo dovrà essere installato in maniera tale che non possa entrare in contatto con una parte del mobile, ma passi in un punto libero da ingombri e possa essere ispezionato su tutta la lunghezza. Il tubo flessibile dovrà avere una lunghezza inferiore ai 2 metri di estensione massima.
- Il raccordo gas è del tipo con filettatura 1/2" gas ISO R7 conica.

Dopo aver raccordato l'apparecchio alla rete del gas verificare sempre la tenuta dei raccordi utilizzando una soluzione saponosa.
E' ASSOLUTAMENTE VIETATO VERIFICARE LA TENUTA IMPIEGANDO FIAMME LIBERE.

Il piano di cottura è collaudato a gas metano G20 (2H) alla pressione di 20 mbar. Per l'alimentazione con altri tipi di gas, vedere la tabella Adattamento ai diversi tipi di gas [Pag.13].
8.1 Allacciamento al gas liquido

Utilizzare un regolatore di pressione e realizzare il collegamento sulla bombola nel rispetto delle prescrizioni stabilite dalle norme vigenti.
Assicurarsi che la pressione di alimentazione rispetti i valori indicati nella tabella Adattamento ai diversi tipi di gas [Pag.13]. Anche in questo caso l'allacciamento deve essere effettuato con un tubo rigido in rame o con un tubo flessibile in acciaio a parete continua.
9. Ventilazione dei locali

IMPORTANTE: L'apparecchio può essere installato solo in locali permanentemente ventilati, come previsto dalle norme in vigore.
10. Scarico dei prodotti della combustione (aspirazione)

Questo apparecchio non è collegato ad un sistema di evacuazione dei prodotti della combustione. Deve essere installato in accordo con i regolamenti vigenti. Prestare particolare attenzione ai relativi requisiti riguardo la ventilazione.

Lo scarico dei prodotti della combustione deve essere assicurato tramite cappe collegate ad un camino a tiraggio naturale di sicura efficienza, oppure, mediante aspirazione forzata. Un efficiente sistema di aspirazione richiede un'accurata progettazione da parte di uno specialista abilitato ad eseguirlo, rispettando le posizioni e le distanze indicate dalle norme.

IMPORTANTE: Al termine dell'intervento l'installatore dovrà rilasciare il certificato di conformità.
- Adattamento ai diversi tipi di gas
| Tipodi gas | Bruciatore | Potenzanominale(KW) | Consumonominale(g/h) | Iniettore(ø mm) | Potenzanominale min.(KW) | ||
| Serie N. Rif. | |||||||
| GAS GPLG30/G31 28-30/37 mbar | II | 2 Ausiliario 1,00 73 | 0,50 0,52 | ||||
| 3 Semirapido 1,75 1 | 27 0,65 0,52 | ||||||
| 4 Rapido 2,70 196 0,80 0,90 | |||||||
| 5 Tripla corona | 3,50 254 0,95 1,80 | ||||||
| 10 Dual | 4,50 | 328 | i 0,46 / e 0,66 | i 0,30 / e 1,40 | |||
| III | 6 Ausiliario 1,10 80 | 0,52 0,52 | |||||
| 7 Semirapido 1,75 1 | 27 0,65 0,52 | ||||||
| 8 Rapido 3,00 218 0,85 0,90 | |||||||
| 9 Tripla corona | 3,80 276 0,98 1,80 | ||||||
| AE | 11 Ausiliario 1,00 73 0,50 0,52 | ||||||
| 12 Semirapido 1,75 127 0,65 0,52 | |||||||
| 13 Rapido 3,00 218 0,85 0,90 | |||||||
| 14 Doppia corona | 5,00 | 364 | i 0,46 / e 0,95 | i 0,40 / e 1,70 | |||
| Tipodi gas | Bruciatore | Potenzanominale(KW) | Consumonominale(l/h) | Iniettore(ø mm) | Potenzanominale min.(KW) | ||
| Serie N. Rif. | |||||||
| GAS METANOG20 20 mbar | II | 2 Ausiliario 1,00 95 | 0,72 0,52 | ||||
| 3 Semirapido 1,75 1 | 67 0,97 0,52 | ||||||
| 4 Rapido 2,70 257 1 | ,08 0,90 | ||||||
| 5 Tripla corona | 3,50 333 1,35 1,80 | ||||||
| 10 | Dual | 4,50 | 429 | i 0,72 / e 1,02 | i 0,30 / e 1,40 | ||
| III | 6 Ausiliario 1,10 105 | 0,73 0,52 | |||||
| 7 Semirapido 1,75 1 | 67 0,98 0,52 | ||||||
| 8 Rapido 3,00 285 1 | ,26 0,90 | ||||||
| 9 Tripla corona | 3,80 362 1,35 1,80 | ||||||
| AE | 11 | Ausiliario 1,00 | 0 95 0,72 0,52 | ||||
| 12 | Semirapido 1,75 167 0,97 | 0,52 | |||||
| 13 | Rapido 3,00 | 285 1,32 0,90 | |||||
| 14 | Doppia corona | 5,00 | 476 | i 0,75 / e 1,51 | i 0,40 / e 1,70 | ||

L'apparecchio è collaudato a gas metano G20 (2H) alla pressione di 20 mbar. Nel caso di funzionamento con altri tipi di gas occorre sostituire gli ugelli sui bruciatori, e regolare la fiamma minima sui rubinetti gas. Per la sostituzione degli ugelli, occorre procedere come descritto nei paragrafi seguenti.
11.1 Sostituzione ugelli piano di cottura

IMPORTANTE: Prima di eseguire le seguenti operazioni assicurarsi sempre che l'apparecchio sia scollegato dalla rete elettrica.

- Estrarre le griglie, rimuovere tutti i cappellotti e le corone spartifiamma.
- Con una chiave a tubo da 7 mm svitare gli ugelli dei bruciatori [Fig.7].
- Procedere alla sostituzione degli ugelli dei bruciatori secondo il gas da impiegare (tabella "Adattamento ai diversi tipi di gas" [Pag.13]).
- Riposizionare correttamente i bruciatori nelle sedi appropriate.

Fig.7: sostituzione degli ugelli

IMPORTANTE: Dopo la regolazione con un gas diverso da quello di collaudo, sostituire l'etichetta posta sul carter dell'apparecchio con quella corrispondente al nuovo gas.
12. Regolazione del minimo

Istruzioni per gas città e metano
- Accendere il bruciatore e portarlo sulla posizione minima.
- Estrarre la manopola del rubinetto gas e agire sulla vite di regolazione [Fig.8] all'interno o a lato dell'astina del rubinetto (a seconda dei modelli), fino ad ottenere una fiamma minima regolare. In presenza di rubinetto gas a 2 vie [Fig. 12-13] vi sono 2 viti di regolazione del minimo.
- Rimontare la manopola e verificare la stabilità della fiamma del bruciatore (ruotando rapidamente la manopola dalla posizione di massimo a quella di minimo la fiamma non dovrà spegner-si).
- Ripetere l'operazione su tutti i rubinetti gas.

Fig.8: regolazione del minimo

Istruzioni per gas liquido (GPL)
Avvitare completamente in senso orario la vite alloggiata all'interno o a lato dell'astina del rubinetto (a seconda dei modelli).
13. Collegamento elettrico del piano cottura

IMPORTANTE: Prima di eseguire le seguenti operazioni assicurarsi sempre che il voltaggio e il dimensionamento della linea di alimentazione corrispondano alle caratteristiche indicate sulla targhetta posta sotto il carter dell'apparecchio. Questa targhetta non deve mai essere rimossa.

È obbligatorio il collegamento di terra secondo le modalità previste dalle norme di sicurezza dell'impianto elettrico.
- Per il collegamento diretto alla rete, è necessario prevedere un dispositivo che assicuri la disconnessione dalla rete, con una distanza di apertura dei contatti che consenta la disconnessione completa nelle condizioni della categoria di sovratensione III, conformemente alle regole di installazione.
- Se si utilizza un collegamento con spina e presa verificare che queste siano dello stesso tipo. Evitare l'utilizzo di riduzioni, adattatori o derivatori in quanto potrebbero provocare riscaldamenti o bruciature.

IMPORTANTE: Il costruttore declina ogni responsabilità per danni subiti da persone e cose, causati dall'inosservanza delle suddette prescrizioni o derivanti dalla mano-missione anche di una singola parte dell'apparecchio.

In caso di sostituzione del cavo di alimentazione si dovrà utilizzare un cavo del tipo H05RR-F di sezione 3x0,75 mm².


14. Uso del piano cottura
14.1 Accensione dei bruciatori

Prima di accendere i bruciatori del piano assicurarsi che le corone spartifiamma siano posizionate nelle proprie sedi con i rispettivi cappellotti.

text_image
parallelo e centrato inclinato inclinato non centratoFig.9: posizione delle corone

Su alcuni piani di cottura sono montati i nuovi bruciatori denominati "III serie". Il sistema bloccante tra coperchio (B) e spartifiamma (A) garantisce il perfetto posizionamento e grande praticità nella pulizia.

text_image
A B CFig.10: posizionamento del bruciatore III serie
Il coperchio superiore (B) dei bruciatori deve essere collocato nell'apposita sede con le due tacche di inserimento in corrispondenza dei due cilindretti sottostanti (C) ed avvitato in senso orario.

In corrispondenza di ogni manopola è indicato il bruciatore associato. L'apparecchio è dotato di un dispositivo di accensione elettrica. È sufficiente premere e ruotare in senso antiorario la manopola sul simbolo di fiamma massima, fino ad accensione avvenuta. Se non si accende nei primi 15 secondi, portare la manopola su [chiuso] e non tentare la riaccensione per 60 secondi.
Ad accensione avvenuta, mantenere premuta la manopola per qualche secondo per consentire alla termocoppia di riscaldarsi. Può accadere che il bruciatore si spenga al momento del rilascio della manopola: significa che la termocoppia non si è riscaldata a sufficienza. Attendere qualche istante e ripetere l'operazione mantenendo premuta la manopola più a lungo. Una volta acceso il bruciatore si può regolare la fiamma a seconda delle necessità.

Fig.11: manopola bruciatore standard

text_image
CHIUSO 1 BRUCIATORE INTERNO 2 CORONE ESTERNE MAX 1 MAX 2 MIN 1 CHIUSO 2 MAX 1 MIN 2 MAX 1 CHIUSO 2Fig.12: manopola bruciatore dual (S4000) / doppia corona

Al termine di ogni utilizzo del piano, verificare sempre che le manopole di comando siano in posizione •chiuso].
Se i bruciatori dovessero spegnersi accidentalmente, dopo un intervallo di circa 20 secondi interverrà un dispositivo di sicurezza a bloccare l'uscita del gas, anche a rubinetto aperto. In questo caso riportare la manopola in posizione di [chiuso] e non tentare la riaccensione del bruciatore per almeno 60 secondi.

text_image
CHIUSO 1 BRUCIATORE INTERNO 2 CORONE ESTERNE 1 MAX 2 CHIUSO 1 MIN 2 CHIUSO 1 MIN 2 MIN 1 MAX 2 MAXFig.13: manopola bruciatore dual (GIOTTO/VULCANO)
14.2 Consigli pratici per l'uso dei bruciatori

Per un miglior rendimento dei bruciatori e un consumo minimo di gas occorre usare recipienti a fondo piatto e regolare, provvisti di coperchio e proporzionati al bruciatore, onde evitare che la fiamma vada a lambirne i lati (vedere paragrafo "Diametro dei recipienti"
[ Pag.18]). Al momento dell'ebollizione ridurre la fiamma quanto basta ad impedire la tracimazione del liquido.

Fig.14: uso dei recipienti

Durante la cottura, anche per evitare scottature o danni al piano per eccessivo calore, tutti i recipienti o le bistecchiere non devono superare le misure indicate nel paragrafo "Diametro dei recipienti" [Pag.18]). Non riscaldare pentole o padelle vuote, in quanto si potrebbero surriscaldare.

Utilizzando grassi od olii, porre la massima attenzione in quanto gli stessi, surriscaldandosi, possono infiammarsi. Se una pentola contenente grassi o olio s'infiamma, non versarvi sopra acqua perché potrebbe causare ustioni; spegnere il fuoco coprendo la pentola con un panno bagnato e scollegare l'apparecchio dalla rete elettrica.
14.3 Diametro dei recipienti
• Bruciatore ausiliario: da 6 a 14 cm
• Bruciatore semirapido: da 15 a 20 cm
• Bruciatore rapido: da 21 a 26 cm
• Bruciatori doppia corona, tripla corona, dual: da 24 a 28 cm

Durante il funzionamento, il piano di cottura genera calore e umidità nella stanza in cui è installato. Assicurarsi che la cucina sia ben arieggiata. L' utilizzo prolungato dell'apparecchio con alcuni o tutti i bruciatori può richiedere una ventilazione aggiuntiva come l'apertura di una finestra e/o una maggiore potenza di aspirazione da parte della cappa aspirante.
15. Pulizia e manutenzione

Non utilizzare un getto di vapore per pulire l'apparecchio.
Prima di ogni intervento occorre disinserire l'alimentazione elettrica all'apparecchio.
Evitare di lasciare sull'acciaio, sulle griglie e sulle altre parti dell'apparecchio, sostanze acide o alcaline (aceto, succo di limone, sale, succo di pomodoro, ...)
15.1 Pulizia dell'acciaio inox
Per una buona conservazione dell'acciaio inox occorre pulirlo regolarmente al termine di ogni uso, dopo averlo lasciato raffreddare.
15.1.1 Pulizia ordinaria giornaliera
Per pulire e conservare le superfici d'acciaio inox usare solo prodotti specifici che non contengano abrasivi o sostanze acide a base di cloro.
Modo d'uso: versare il prodotto su un panno umido e passare sulla superficie. Asportare infine completamente il prodotto con un panno umido pulito.
15.1.2 Macchie di cibo o residui

Evitare nel modo più assoluto l'uso di spugne metalliche e raschietti taglienti per non danneggiare le superfici. Usare i normali prodotti per acciaio, non abrasivi, servendosi eventualmente di utensili di legno o materiale plastico. Risciacquare accuratamente e asciugare con uno straccio morbido o con una pelle di daino.
Come prodotto per la pulizia dell'acciaio si consiglia Foster Steel Clean; per informazioni sulla sua reperibilità rivolgersi al centro di assistenza tecnica.
Non servirsi di detergenti chimici come spray per forno o smacchiatori.
15.2 Pulizia dei componenti gas
Le griglie, i cappellotti, le corone spartifiamma sono estraibili per facilitare la pulizia: lavarli in acqua calda e detersivo non abrasivo avendo cura di togliere ogni incrostazione ed asciugarli immediata-mente con un panno. Rimontare i cappellotti sulle relative corone. I componenti in ghisa, come le griglie, e i bruciatori non vanno messi in lavastoviglie.
Per un buon funzionamento le candelette d'accensione e le termocoppie devono essere sempre ben pulite. Controllarle frequentemente e se necessario pulirle con uno straccio umido e poi asciugarle. Eventuali residui secchi vanno rimossi con uno stecchino di legno o un ago.
Pulire regolarmente i cappellotti e le corone spartifiamma al termine di ogni uso. Per lo sporco meno ostinato e per la lucidatura dello spartifiamma utilizzare crema Foster Steel Clean con panno in microfibra lungo la direzione della finitura.
15.3 Pulizia dei pianalini smaltati
Per una buona conservazione del pianalino smaltato è necessario pulirlo regolarmente al termine di ogni uso, dopo averlo lasciato raffreddare.
Per pulire e conservare lo smalto usare sempre e solo un panno in microfibra inumidito e con sapone neutro. Non usare prodotti che contengano abrasivi o sostanze acide a base di cloro.
Evitare nel modo più assoluto l'uso di spugne metalliche e raschietti taglienti per non danneggiare le superfici.
15.4 Pulizia delle manopole
Le manopole vanno pulite con un panno morbido, inumidito con acqua tiepida ed asciugate accurata-mente. Per facilitare la pulizia è possibile estrarre le manopole tirandole verso l'alto.
Non utilizzare prodotti aggressivi contenenti alcool, cloruri o prodotti abrasivi.
15.5 Serigrafia pianalino
Fare particolare attenzione a non usare alcun prodotto abrasivo o chimico sopra la serigrafia del pianalino. Usare solamente un panno in microfibra inumidito.

Foster S.P.A. non risponde delle possibili inesattezze imputabili a errori di stampa o di trascrizione, contenute nel presente opuscolo. Si riserva di apportare ai propri prodotti quelle modifiche che ritenesse necessarie o utili, anche nell'interesse dell'utenza, senza pregiudicare le caratteristiche di funzionalità e sicurezza.
Dear Customer,
Abb. 3: Distanze del piano cottura

Riepilogo piani cottura a gas
| Legenda | |||
| Serie N. Bruciatore Potenza (W) | |||
| 1 Manopola di comando | |||
| II | 2 Ausiliario 1.000 | ||
| 3 Semirapido 1.750 | |||
| 4 Rapido 2.700 | |||
| 5 Tripla corona 3.500 | |||
| 10 Dual 4.500 | |||
| III | 6 Ausiliario 1.100 | ||
| 7 Semirapido 1.750 | |||
| 8 Rapido 3.000 | |||
| 9 Tripla corona 3.800 | |||
| AE | 11 Ausiliario 1.000 | ||
| 12 Semirapido 1.750 | |||
| 13 | Rapido 3.000 | ||
| 14 | Doppia corona | 5.000 | |
| Tipo di bordo | |
| Bordo standard (8 mm) | STD |
| Bordo Q4 (4 mm) | Q4 |
| Bordo semifilo (3 mm) | SF |
| Bordo filotop | FT |
| Fori da incasso | ||
| STD | Q4 SF | |
| B | A | |
Gas cooker hobs summary
| Key | |||
| Series | No. | Burner Power (W) | |
| 1 Control knob | |||
| II | 2 | Auxiliary | 1.000 |
| 3 Semi-quick 1.750 | |||
| 4 | Quick | 2.700 | |
| 5 Triple crown | 3.500 | ||
| 10 Dual 4.500 | |||
| III | 6 | Auxiliary | 1.100 |
| 7 Semi-quick 1.750 | |||
| 8 | Quick | 3.000 | |
| 9 Triple crown | 3.800 | ||
| AE | 11 | Auxiliary | 1.000 |
| 12 Semi-quick 1.750 | |||
| 13 Quick | 3.000 | ||
| 14 Dual gear 5.000 | |||
| Edge type | |
| Standard edge (8 mm) | STD |
| Q4 edge (4 mm) | Q4 |
| Semi-flush edge (3 mm) | SF |
| Flush-mount edge | FT |
![]() |
| A = width - B = depth |
Riferimento ai metodi di misurazione e di calcolo utilizzati per stabilire la conformità ai limiti di prestazione di efficienza energetica
L'efficienza energetica del piano cottura gas per uso domestico è calcolata in base al regolamento UE n. 66/2014: i valori per i singoli bruciatori vengono determinati con test secondo la norma EN 30-2-1. Sono esclusi i bruciatori Ausiliari, in quanto hanno una potenza nominale inferiore a 1,16 kW.
Si deve considerare nel processo di montaggio e installazione le seguente prescrizione:
- Direttive gas della SSIGA G1
- guida CFSL N° 1942: Gas liquefatti, parte 2
(CFSL: Commissione Federale di coordinamento per la Sicurezza sul Lavoro)
- direttive dell'Associazione degli Istituti Cantonali di Assicurazione Antincendio (AICAA)
Foster spa
ManualeFacile
