CI633CBB/1 - Induction cooktop CANDY - Free user manual and instructions
Find the device manual for free CI633CBB/1 CANDY in PDF.
Download the instructions for your Induction cooktop in PDF format for free! Find your manual CI633CBB/1 - CANDY and take your electronic device back in hand. On this page are published all the documents necessary for the use of your device. CI633CBB/1 by CANDY.
USER MANUAL CI633CBB/1 CANDY
Instruction Manual For Induction Hob
ENGLISH
In the hOn App you'll have access to several recipes and extra contents

text_image
hOn
text_image
QR code image containing encoded data, no visible human-readable text
text_image
EXPLORE IT ON AppGallery
text_image
Available on the App Store
text_image
GET IT ON Google PlaySAFETY WARNINGS
PLEASE READ THE FOLLOWING INSTRUCTIONS CAREFULLY BEFORE USING THE APPLIANCE.
Installation
Electrical Shock Hazard
- Disconnect the appliance from the mains electricity supply before carrying out any work or maintenance on it.
- Connection to a good earth wiring system is essential and mandatory.
- Means for disconnection must be incorporated in the fixed wiring in accordance with the wiring rules.
- Alterations to the domestic wiring system must only be made by a qualified electrician.
- Failure to follow this advice may result in electrical shock or death.
Cut Hazard
• Take care - panel edges are sharp.
- Failure to use caution could result in injury or cuts.
Important safety instructions
- Read these instructions carefully before installing or using this appliance.
- No combustible material or products should be placed on this appliance at any time.
- Please make this information available to the person responsible for installing the appliance as it could reduce your installation costs.
-
In order to avoid a hazard, this appliance must be installed according to these instructions for installation.
-
This appliance is to be properly installed and earthed only by a suitably qualified person.
- This appliance should be connected to a circuit which incorporates an isolating switch providing full disconnection from the power supply.
- WARNING: Use only hob guards designed by the manufacturer of the cooking appliance or indicated by the manufacturer of the appliance in the instructions for use as suitable or hob guards incorporated in the appliance. The use of inappropriate guards can cause accidents.
- Failure to install the appliance correctly could invalidate any warranty or liability claims.
- Regarding the details of installation, thanks to refer to the section
.
Operation and maintenance
Electrical Shock Hazard
- Do not cook on a broken or cracked cooktop. If the cooktop surface is break or crack, switch the appliance off immediately at the mains power supply (wall switch) and contact a qualified technician.
- Switch the cooktop off at the wall before cleaning or maintenance.
- Failure to follow this advice may result in electrical shock or death.
Health Hazard
- This appliance complies with electromagnetic safety standards.
Hot Surface Hazard
- During use, accessible parts of this appliance will become hot enough to cause burns.
- Do not let your body, clothing or any item other than suitable cookware contact the ceramic glass until the surface is cool.
- Metallic objects such as knives, forks, spoons and lids should not be placed on the hob surface since they can get hot.4
- Children less than 8 years of age shall be kept away unless continuously supervised.
- Handles of saucepans may be hot to touch. Check saucepan handles do not overhang other cooking zones that are on. Keep handles out of reach of children.
- Failure to follow this advice could result in burns and scalds.
Cut Hazard
- The razor-sharp blade of a cooktop scraper is exposed when the safety cover is retracted. Use with extreme care and always store safely and out of reach of children.
- Failure to use caution could result in injury or cuts.
Important safety instructions
- Never leave the appliance unattended when in use. Boilover causes smoking and greasy spillovers that may ignite.
- Never use your appliance as a work or storage surface.
- Never leave any objects or utensils on the appliance.
- Never use your appliance for warming or heating the room.
-
After use, always turn off the cooking zones and the cooktop as described in this manual (i.e. by using the touch controls). Do not rely on the pan detection feature to turn off the cooking zones when You remove the pan.
-
Do not allow children to play with the appliance or sit, stand, or climb on it.
- Do not store items of interest to children in cabinets above the appliance. Children climbing on the cooktop could be seriously injured.
- Do not leave children alone or unattended in the area where the appliance is in use.
- Children or persons with a disability which limits their ability to use the appliance should have a responsible and competent person to instruct them in its use. The instructor should be satisfied that they can use the appliance without danger to themselves or their surroundings.
- Do not repair or replace any part of the appliance unless specifically recommended in the manual. All other servicing should be done by a qualified technician.
- Do not use a steam cleaner to clean your cooktop.
- Do not place or drop heavy objects on your cooktop.
- Do not stand on your cooktop.
- Do not use pans with jagged edges or drag pans across the glass surface as this can scratch the glass.
- Do not use scourers or any other harsh abrasive cleaning agents to clean your cooktop, as these can scratch the ceramic glass.
- If the supply cord is damaged, it must be replaced by the manufacturer, its service agent or similarly qualified persons in order to avoid a hazard.
-
This appliance is intended to be used in a domestic household environment only! Commercial use of any kind is not covered under the manufacturer's warranty!
-
WARNING: The appliance and its accessible parts become hot during use. Young children should be kept away.
- Care should be taken to avoid touching heating elements.
- Children less than 8 years of age shall be kept away unless continuously supervised.
- This appliance can be used by children aged from 8 years and above and persons with reduced physical, sensory or mental capabilities or lack of experience and knowledge if they have been given supervision or instruction concerning use of the appliance in a safe way and understand the hazards involved.
- Children shall not play with the appliance. Cleaning and user maintenance shall not be made by children without supervision.
- WARNING: Unattended cooking on a hob with fat or oil can be dangerous and may result in fire. NEVER try to extinguish a fire with water, but switch off the appliance and then cover flame e.g. with a lid or a fire blanket.
- WARNING: Danger of fire: do not store items on the cooking surfaces.
- WARNING: If the surface is cracked, switch off the appliance to avoid the possibility of electric shock, for hob surfaces of glass-ceramic or similar material which protect live parts.
• A steam cleaner is not to be used. - The appliance is not intended to be operated by means of an external timer or separate remote-control system.
- CAUTION: The cooking process has to be supervised. A
short term cooking process has to be supervised continuously.
- Power cord can’t accessible after installation.
Product Overview
Top View

text_image
2 b b 3 1 b b 4 5 CaserCI642CBB/1
- 2300 W zone, boost to 3000 W
- 1200 W zone, boost to 1500 W
- 1800 W zone, boost to 2100 W
- 1200 W zone, boost to 1500 W
- Control panel

text_image
2 h b 3 1 b Caser 4CI633CBB/1
- 1800 W zone, boost to 2100 W
- 1200 W zone, boost to 1500 W
- 3000 W zone, boost to 3600 W
- Control panel
The Control Panel

text_image
5 8 8 8 8 8 - + 4 2 3 2 1 5 5 8 8 8 +CI642CBB/1
- ON/OFF control
- Power/Timer regulating key
- Timer control
- Pause/Keylock control
- Heating zone selection controls

text_image
5 5 5 6 8 8 8 □ □ 88 □ ⓑ /⑪ - ✓ + Ⓘ 4 2 3 2 1CI633CBB/1
- ON/OFF control
- Power/Timer regulating key
- Timer control
- Pause/Keylock control
- Heating zone selection controls
- Boost control
Product Information
The ceramic/induction hob can meet different kinds of cuisine demands because of resistance wire heating, micro-computerized control and multi-power selection, really the optimal choice for modern families.
The hob centers on customers and adopts personalized design. The hob has safe and reliable performances, making your life comfortable and enabling to fully enjoy the pleasure from life.
A Word on Induction Cooking
Induction cooking is a safe, advanced, efficient, and economical cooking technology. It works by electromagnetic vibrations generating heat directly in the pan, rather than indirectly through heating the glass surface. The glass becomes hot only because the pan eventually warms it up.

natural_image
Simple line drawing of a steam heating machine with cooling unit and two control panels (no text or symbols)iron pot
magnetic circuit ceramic glass plate induction coil induced currents
Before using your New Induction Hob
- Read this guide, taking special note of the ‘Safety Warnings’ section.
- Remove any protective film that may still be on your Induction hob.
Using the Touch Controls
- The controls respond to touch, so you don’t need to apply any pressure.
• Use the ball of your finger, not its tip.
• You will hear a beep each time a touch is registered. - Make sure the controls are always clean, dry, and that there is no object (e.g. a utensil or a cloth) covering them. Even a thin film of water may make the controls difficult to operate.

text_image
cuit to operate. ✓ ×
- Only use cookware with a base suitable for induction cooking. Look for the induction symbol on the packaging or on the bottom of the pan.
-
You can check whether your cookware is suitable by carrying out a magnet test. Move a magnet towards the base of the pan. If it is attracted, the pan is suitable for induction.
• If you do not have a magnet: -
Put some water in the pan you want to check.
-
Follow the steps under 'To start cooking'.
-
If does not flash in the display and the water is heating, the pan is suitable.
- Cookware made by the following materials is not suitable: pure stainless steel, aluminum or copper without a magnetic base, glass, wood, porcelain, ceramic, and earthenware.

natural_image
Simple line drawing of a cooking pot with a U-shaped magnet attached (no text or symbols)| Size of burner (mm) | The minimum cookware (diameter /mm) |
| 160 | 120 |
| 180 | 140 |
| 210 | 160 |
| 280 | 180 |
Do not use cookware with jagged edges or a curved base.

natural_image
Simple line drawing of a cooking pot with crossed-out X marks (no text or symbols)
natural_image
Simple line drawing of a cooking pot with crossed-out X marks (no text or symbols)
Make sure that the base of your pan is smooth, sits flat against the glass, and is the same size as the cooking zone. Always centre your pan on the cooking zone.

natural_image
Simple line drawing of a cooking pot with crossed-out X marks (no text or symbols)

natural_image
Simple line drawing of a cooking pot with crossed-out X marks (no text or symbols)
Always lift pans off the ceramic hob – do not slide, or they may scratch the glass.

natural_image
Simple line drawing of a cooking pot with crossed arrows indicating pressure or resistance (no text or symbols)
- Use pans whose diameter of the ferromagnetic area (base of the pan) is in the range of dimensions in the table below. (Table 1)
- If you use smaller pots, performance could be affected
- If you use pot with a diameter smaller than the one indicated in the table above, pots may not be detected
According to the dimension of the zone you can use pots of different diameters as picture below:

text_image
Ø140 Ø180 Ø210- If the ferromagnetic part covers only partially the base of the pan, only the ferromagnetic area will heat up, the rest of the base may not heat up a sufficient temperature for cooking.

natural_image
Two kitchen utensils: a black pan with a handle and a rectangular plate with a lid, both shown with red measurement lines (no text or symbols)- If the ferromagnetic area is not homogeneous, but presents others material such as aluminum this may affect the heating up and the pan detection.
If the base of the pan is similar to the pictures below the pan could be not detected.

natural_image
Two kitchen utensils: a square pan with a side panel and a circular pot with a grid-patterned lid (no text or symbols)Using your Induction Hob
To start cooking
- After power on, the buzzer beeps once, all the indicators light up for 1 second then go out, indicating that the hob has entered the state of standby mode.
- Touch the ON/OFF ⏻ switch. all the indicators show “-”
- Place a suitable pan on the cooking zone that you wish to use. Make sure the bottom of the pan and the surface of the cooking zone are clean and dry.
- Touching the heating zone selection control, and an indicator next to the key will flash
-
Select a heat setting by touching the “-” or “+” control.
-
If you don't choose a heat setting within 1 minute, the Induction hob will automatically switch off. You will need to start again at step 1.
- You can modify the heat setting at any time during cooking.

natural_image
Simple line drawing of a cooking pot and a hand pointing at a circular icon (no text or symbols)
text_image
5
text_image
- +When you have finished cooking
- Touching the heating zone selection that you wish to switch off
- Turn the cooking zone off by scrolling down to "0". Make sure the display shows "0".
- Turn the whole cooktop off by touching the ON/OFF control.

text_image
8 + Power down I4. Beware of hot surfaces
“H” will show which means cooking zone is too hot to touch. It will disappear when the surface has cooled down to a safe temperature. It can also be used as an energy saving function if you want to heat further pans, use the hotplate that is still hot.

Using the Power Management
It is possible to set a maximum power absorption level for the induction hob, choosing up to different power ranges.
Induction hobs are able to limit themselves automatically in order to work at lower power level, to avoid the risk of overloading.
To enter the power management function
- Turn on the hob, then press at the same time the “+”(timer) and keylock. The time indicator will show “P5” which means power level 5. The default mode is on 7.2Kw.

text_image
Hand-drawn icons including lock, checkmark, plus sign, and hand gesture symbolsTo switch to another level
Press +/- from the timer. There are 5 power levels, from “P1” to “P5”. The timer indicator will show one of them.
“P1”: the maximum power is 2.5 Kw.
“P2”: the maximum power is 3.5 Kw.
“P3”: the maximum power is 4.5 Kw.
“P4”: the maximum power is 5.5 Kw.
“P5”: the maximum power is 7.2 Kw.

text_image
ORConfirmation and Exit Power Management Function
Press at the same time the “+”(timer) and keylock for confirmation, then the hob will be turned off.

text_image
Hand-drawn icons including lock, minus sign, checkmark, plus sign, and letter 1 with corresponding symbolsUsing Boost function
Activate the boost function
- Select the zone with boost function (front left zone).
- Touching the "plus" key+ until power level indication shows "P".
Cancel Boost function
- Select the zone with boost function (front left zone).
- Touching the "minus" key — to cancel the Boost function, and select the level you want to set.
- Boost function can only last for 5 minutes, after that the zone will go to level 9 automatically.

text_image
6 + P P -Using the Pause function
- Press the Pause control, ☐/☐ the heating zones stop working. All the zone indication show“||”

text_image
Hand-drawn diagram showing a lock icon pointing to a finger with an 'II' symbol, followed by an arrow pointing right.-
Press the Pause control 🔒/⑪ once again, all the heating zones will revert to its original setting.
-
The function is available when one or more heating zones are working.
- If you don't cancel the stop working mode within 30 minutes, the induction cooktop will automatically switch off.
Locking the Controls
- You can lock the controls to prevent unintended use (for example children accidentally turning the cooking zones on).
- When the controls are locked, all the controls except the ON/OFF control are disabled.
To lock the controls
Touch the keylock 🔒/⑪ control for 2 seconds. The timer indicator will show "Lo".
To unlock the controls
- Make sure the hob is turned on.
- Touch and hold the keylock control
- You can now start using your hob.
for 2 seconds.


When the hob is in lock mode, all the controls are disable except the ON/OFF, you can always turn the hob off with the ON/OFF control in an emergency, but you shall unlock the hob first in the next operation.
Residual Heat Warning
When the hob has been operating for some time, there will be some residual heat. The letter “H” appears to warn you to keep away from it.

Auto Shutdown
Safety feature of the hob is auto shut down. This occurs whenever you forget to switch off a cooking zone. The default shutdown times are shown in the table below:
| Power level | 1 | 2 | 3 | 4 | 5 | 6 | 7 | 8 | 9 |
| Default working timer (hour) | 8 | 8 | 8 | 4 | 4 | 4 | 2 | 2 | 2 |
Using the Timer
You can use the timer in two different ways:
- You can use it as a minute minder. In this case, the timer will not turn any cooking zone off when the set time is up.
- You can use it as cut-off timer to turn one or more cooking zones off after time is up.
• You can set the timer up to 99 minutes.
Using the Timer as a Minute Minder
- Make sure the cooktop is turned on. And zone selection key is not activated (zone indication ‘-’ is not blinking).
Note: you can set minute minder before or after cooking zone power setting finished.
- Touch timer key, "00" will show in the timer display and "0" will blink.
- Set the time for between 1 to 99 minutes by touching the”-” or”+” control of the timer (e.g. 5)
- Press the “+” once increases the time by one minute, Press the “-” once decrease the time by one minute. When the set time exceeds 99 minutes, it will automatically return to “00”, if the “-” and “+” keys are pressed simultaneously, the indicator will display “00”.
- When the time is set, it will begin to count down immediately. The display will show the remaining time.
- Buzzer will bips for 30 seconds and the timer indicator shows“--”when the setting time finished.
Timer Cancellation
After setting the time again, hold down the “Timer” key for 5 seconds, this will cancel the timer and the indicator will revert to “00”.
Using the timer to switch off one or more cooking zones
- Touching the heating zone selection control that you want to set the timer for.

-
Touch timer control, the “00” will show in the timer display. and the “0” fiashes.
-
Set the time for between 1 to 99 minutes by touching the”-” or”+” control of the timer (e.g. 5)

text_image
splay. - + → 0.5-
Press the “+” once increases the time by one minute, Press the “-” once decrease the time by one minute. When the set time exceeds 99 minutes, it will automatically return to “00”, if the “-” and “+” keys are pressed simultaneously, the indicator will display “00”.
-
When the time is set, it will begin to count down immediately. The display will show the remaining time.
NOTE: There will be a red dot in the right bottom corner of power level indication which indicating that zone is selected.
- When cooking timer expires, the corresponding cooking zone will switch off automatically.


Note: Other cooking zones will keep operating if they are turned on previously.
If the timer is set on more than one zone:
- When you set timer for several cooking zones, red dots of the relevant cooking zones are indicated. The timer display shows the min. timer. The dot of the corresponding zone blinks.

text_image
15 ✓ → 3. (set to 15 minutes) 6. (set to 45 minutes)- Once the countdown timer expires, the corresponding zone will switch off. Then it will show the new min. timer and the dot of corresponding zone will flash.

text_image
30 ✓ → 6_ ■Note: Touch the heating zone selection control, the corresponding timer will be shown
in the timer indicator.
Cooking Guidelines
Take care when frying as the oil and fat heat up very quickly, particularly if you're using Boost. At extremely high temperatures oil and fat will ignite spontaneously and this presents a serious fire risk.
Cooking Tips
- When food comes to the boil, reduce the power setting.
• Using a lid will reduce cooking times and save energy by retaining the heat. - Minimise the amount of liquid or fat to reduce cooking times.
- Start cooking on a high setting and reduce the setting when the food has heated through.
Simmering, cooking rice
- Simmering occurs below boiling point, at around 85^ C, when bubbles are just rising occasionally to the surface of the cooking liquid. It is the key to delicious soups and tender stews because the flavours develop without overcooking the food. You should also cook egg-based and flourthickened sauces below boiling point.
- Some tasks, including cooking rice by the absorption method, may require a setting higher than the lowest setting to ensure the food is cooked properly in the time recommended.
Searing steak
To cook juicy flavoursome steaks:
- Stand the meat at room temperature for about 20 minutes before cooking.
- Heat up a heavy-based frying pan.
- Brush both sides of the steak with oil. Drizzle a small amount of oil into the hot pan and then lower the meat onto the hot pan.
- Turn the steak only once during cooking. The exact cooking time will depend on the thickness of the steak and how cooked you want it. Times may vary from about 2 – 8 minutes per side. Press the steak to gauge how cooked it is – the firmer it feels the more ‘well done’ it will be.
- Leave the steak to rest on a warm plate for a few minutes to allow it to relax and become tender before serving.
For stir-frying
- Choose a ceramic compatible flat-based wok or a large frying pan.
- Have all the ingredients and equipment ready. Stir-frying should be quick. If cooking large quantities, cook the food in several smaller batches.
- Preheat the pan briefly and add two tablespoons of oil.
-
Cook any meat first, put it aside and keep warm.
-
Stir-fry the vegetables. When they are hot but still crisp, turn the cooking zone to a lower setting, return the meat to the pan and add your sauce.
- Stir the ingredients gently to make sure they are heated through.
- Serve immediately.
Heat Settings
| Heat setting | Suitability |
| 1 - 2 | ·delicate warming for small amounts of food·melting chocolate, butter, and foods that burn quickly·gentle simmering·slow warming |
| 3 - 4 | ·reheating·rapid simmering·cooking rice |
| 5 - 6 | ·pancakes |
| 7 - 8 | ·sauteing·cooking pasta |
| 9 | ·stir-frying·searing·bringing soup to the boil·boiling water |
Care and Cleaning
| What? | How? | Important! |
| Everyday soiling on glass (fingerprints, marks, stains left by food or non-sugary spillovers on the glass) | 1. Switch the power to the cooktop off.2. Apply a cooktop cleaner while the glass is still warm (but not hot!)3. Rinse and wipe dry with a clean cloth or paper towel.4. Switch the power to the cooktop back on. | ·When the power to the cooktop is switched off, there will be no ‘hot surface’ indication but the cooking zone may still be hot! Take extreme care.·Heavy-duty scourers, some nylon scourers and harsh/abrasive cleaning agents may scratch the glass. Always read the label to check if your cleaner or scourer is suitable.·Never leave cleaning residue on the cooktop: the glass may become stained. |
| Boilovers, melts, and hot sugary spills on the glass | Remove these immediately with a fish slice, palette knife or razor blade scraper suitable for ceramic glass cooktops, but beware of hot cooking zone surfaces:1. Switch the power to the cooktop off at the wall.2. Hold the blade or utensil at a 30° angle and scrape the soiling or spill to a cool area of the cooktop.3. Clean the soiling or spill up with a dish cloth or paper towel.4. Follow steps 2 to 4 for ‘Everyday soiling on glass’ above. | ·Remove stains left by melts and sugary food or spillovers as soon as possible. If left to cool on the glass, they may be difficult to remove or even permanently damage the glass surface.·Cut hazard: when the safety cover is retracted, the blade in a scraper is razor-sharp. Use with extreme care and always store safely and out of reach of children. |
| Spillovers on the touch controls | 1. Switch the power to the cooktop off.2. Soak up the spill3. Wipe the touch control area with a clean damp sponge or cloth.4. Wipe the area completely dry with a paper towel.5. Switch the power to the cooktop back on. | ·The cooktop may beep and turn itself off, and the touch controls may not function while there is liquid on them. Make sure you wipe the touch control area dry before turning the cooktop back on. |
Hints and Tips
| Problem | Possible causes | What to do |
| The cooktop cannot Be turned on. | No power. | Make sure the cooktop is connected to the power supply and that it is switched on.Check whether there is a power outage in your home or area. If you’ve checked everything and the problem persists, call a qualified technician. |
| The touch controls are unresponsive. | The controls are locked. | Unlock the controls. See section ‘Using your ceramic cooktop’ for instructions. |
| The touch controls are difficult to operate. | There may be a slight film of water over the controls or you may be using the tip of your finger when touching the controls. | Make sure the touch control area is dry and use the ball of your finger when touching the controls. |
| The glass is being scratched. | Rough-edged cookware.Unsuitable, abrasive scourer or cleaning products being used. | Use cookware with flat and smooth bases. See ‘Choosing the right cookware’.See ‘Care and cleaning’. |
| Some pans make crackling or clicking noises. | This may be caused by the construction of your cookware (layers of different metals vibrating differently). | This is normal for cookware and does not indicate a fault. |
| The induction hob makes a low humming noise when used on a high heat setting. | This is caused by the technology of induction cooking. | This is normal, but the noise should quieten down or disappear completely when you decrease the heat setting. |
| Fan noise coming from the induction hob. | A cooling fan built into your induction hob has come on to prevent the electronics from overheating. It may continue to run even after you’ve turned the induction hob off. | This is normal and needs no action.Do not switch the power to the induction hob off at the wall while the fan is running. |
| Pans do not become hot and appears in the display. | The induction hob cannot detect the pan because it is not suitable for induction cooking.The induction hob cannot detect the pan because it is too small for the cooking zone or not properly centered on it. | Use cookware suitable for induction cooking. See section ‘Choosing the right cookware’.Centre the pan and make sure that its base matches the size of the cooking zone. |
| The induction hob or a cooking zone has turned itself off unexpectedly, a tone sounds and an error code is displayed (typically alternating with one or two digits in the cooking timer display). | Technical fault. | Please note down the error letters and numbers, switch the power to the induction hob off at the wall, and contact a qualified technician. |
Failure Display and Inspection
If an abnormality comes up, the induction hob will enter the protective state automatically and display corresponding protective codes:
| Problem | Possible causes | What to do |
| E4/E5 | Temperature sensor failure | Please contact the supplier. |
| E7/E8 | Temperature sensor of the IGBT failure. | Please contact the supplier. |
| E2/E3 | Abnormal supply voltage | Please inspect whether power supply is normal. Power on after the power supply is normal. |
| E6/E9 | Bad induction hob heat radiation | Please restart after the induction hob cools down. |
The above are the judgment and inspection of common failures.
Please do not disassemble the unit by yourself to avoid any dangers and damages to the induction hob.
Technical Specification
| Induction Hob | CI642CBB/1 |
| Cooking Zones | 4 Zones |
| Supply Voltage | 220-240V~ 50/60Hz |
| Installed Electric Power | 7200W |
| Product Size D×W×H(mm) | 590×520×58 |
| Building-in Dimensions A×B (mm) | 560×490 |
| Induction Hob | CI633CBB/1 |
| Cooking Zones | 3 Zones |
| Supply Voltage | 220-240V~ 50/60Hz |
| Installed Electric Power | 7200W |
| Product Size D×W×H(mm) | 590×520×58 |
| Building-in Dimensions A×B (mm) | 560×490 |
Weight and Dimensions are approximate. Because we continually strive to improve our products we may change specifications and designs without prior notice.
Installation
Selection of installation equipment
- Cut out the work surface according to the sizes shown in the drawing.
- For the purpose of installation and use, a minimum of 50mm space shall be preserved around the hole.
- Be sure the thickness of the work surface is at least 30mm. Please select heat-resistant work surface material to avoid larger deformation caused by the heat radiation from the hotplate. As shown below:
Warning: The work surface material must use the impregnated wood or other insulation
material.

text_image
material. L W H' D X B X A X
text_image
SEAL| Model No. | L(mm) | W(mm) | H(mm) | D(mm) | A(mm) | B(mm) | X(mm) |
| CI642CBB/1 | 590 | 520 | 58 | 54 | 560 | 490 | 50 mini |
| CI633CBB/1 |
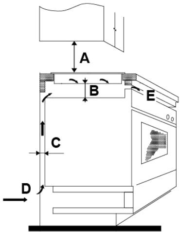
Under any circumstances, make sure the hob is well ventilated and the air inlet and outlet are not blocked. Ensure the hob is in good work state. As shown below
Note: The safety distance between the hotplate and the cupboard above the hotplate should be at least 760mm.

text_image
A B E C D
text_image
Diagram showing three steps of a mechanical or electrical component inspection with checkmarks and X marks indicating inspection points.Before you install the hob, make sure that
- the work surface is square and level, and no structural members interfere with space requirements.
• the work surface is made of a heat-resistant material. - if the hob is installed above an oven, the oven has a built-in cooling fan.
- the installation will comply with all clearance requirements and applicable standards and regulations.
- a suitable isolating switch providing full disconnection from the mains power supply is incorporated in the permanent wiring, mounted and positioned to comply with the local wiring rules and regulations.
- The isolating switch must be of an approved type and provide a 3mm air gap contact separation in all poles (or in all active [phase] conductors if the local wiring rules allow for this variation of the requirements).
- the isolating switch will be easily accessible to the customer with the hob installed
- you consult local building authorities and by-laws if in doubt regarding installation
- you use heat-resistant and easy-to-clean finishes (such as ceramic tiles) for the wall surfaces surrounding the hob.
When you have installed the hob, make sure that
- The power supply cable is not accessible through cupboard doors or drawers.
• There is adequate flow of air from outside the cabinetry to the base of the hob. - If the hob is installed above a drawer or cupboard space, a thermal protection barrier is installed below the base of the hob.
- The isolating switch is easily accessible by the customer.
Before locating the fixing brackets
The unit should be placed on a stable, smooth surface (use the packaging). Do not apply force onto the controls protruding from the hob.
Locating the fixing brackets
- The unit should be placed on a stable, smooth surface (use the packaging). Do not apply force onto the controls protruding from the hob.
- Fix the hob on the work surface by screw four brackets on the bottom of hob (see picture) after installation.
- Adjust the bracket position to suit for different work surface's thickness.

text_image
Hob Bracket Table
text_image
Hob Bracket Table
natural_image
Technical line drawing of a computer motherboard with fans and screw holes (no text or symbols)Cautions
- The hob must be installed by qualified personnel or technicians. We have professionals at your service. Please never conduct the operation by yourself.
- The hob shall not be mounted to cooling equipment, dishwashers and rotary dryers.
- The hob shall be installed such that better heat radiation can be ensured to enhance its reliability.
- The wall and induced heating zone above the work surface shall withstand heat.
- To avoid any damage, the sandwich layer and adhesive must be resistant to heat.
• A steam cleaner is not to be used. - This ceramic can be connected only to a supply with system impedance no more than 0.427 ohm. In case necessary, please consult your supply authority for system impedance information.
Connecting the hob to the mains power supply
The power supply should be connected in compliance with the relevant standard, or a single-pole circuit breaker. The method of connection is shown below.

text_image
L1 N1 N2 L2 L N PE L-N:220-240V ~
text_image
L1 N1 N2 L2 L1 N PE L2 L1-L2:380-415V ~- If the cable is damaged or needs replacing, this should be done by an after-sales technician using the proper tools, so as to avoid any accidents.
- If the appliance is being connected directly to the mains supply, an omnipolar circuit breaker must be installed with a minimum gap of 3mm between the contacts.
- The installer must ensure that the correct electrical connection has been made and that it complies with safety regulations.
- The cable must not be bent or compressed.
- The cable must be checked regularly and only replaced by a proper qualified person.

natural_image
Symbol of a trash bin crossed with no text or numbers, representing waste sorting or disposal (no text present)DISPOSAL: Do not dispose this product as unsorted municipal waste. Collection of such waste separately for special treatment is necessary.
This appliance is labeled in compliance with European directive 2012/19/EU for Waste Electrical and Electronic Equipment (WEEE). By ensuring that this appliance is disposed of correctly, you will help prevent any possible damage to the environment and to human health, which might otherwise be caused if it were disposed of in the wrong way.
The symbol on the product indicates that it may not be treated as normal household waste. It should be taken to a collection point for the recycling of electrical and electronic goods.
This appliance requires specialist waste disposal. For further information regarding the treatment, recover and recycling of this product please contact your local council, your household waste disposal service, or the shop where you purchased it.
For more detailed information about treatment, recovery and recycling of this product, please contact your local city office, your household waste disposal service or the shop where you purchased the product.
DESCĂRCAȚI APLICATȚIA hOn
text_image
QR code image containing encoded data, no visible human-readable text
text_image
EXPLORE IT ON AppGallery
text_image
Available on the App Store
text_image
GET IT ON Google PlayAVERTISMENTE DE SIGURANTĂ
CITIȚI CU ATENȚIE URMĂTOARELE INSTRUCTIUNI ÎNAINTE DE A UTILIZA ACEST APARAT.
Instalare
Pericol de electrocutare
natural_image
Simple line drawing of a steaming machine with heat dissipation, no text or symbols presentvas din fier
text_image
Diagram showing two hand positions with checkmark and cross symbols, likely illustrating correct and incorrect hand movement.
natural_image
Simple line drawing of a cooking pot with a U-shaped tube attached to its side (no text or symbols)natural_image
Simple line drawing of a cooking pot with crossed X marks (no text or symbols)
natural_image
Simple line drawing of a cooking pot with crossed-out X marks, no text or symbols present
natural_image
Simple line drawing of a cooking pot with crossed X marks (no text or symbols)

natural_image
Simple line drawing of a cooking pot with crossed-out X marks (no text or symbols)
natural_image
Symbolic illustration of a cooking pot with crossed arrows indicating pressure or heat (no text or labels)
natural_image
Two kitchen utensils: a pan with a side handle and a rectangular plate with a circular vent, both shown with red stand brackets (no text or symbols)natural_image
Two kitchen utensils: a square pan with a side fan and a circular pan with a mesh grille (no text or symbols)Folosirea plitei dvs. cu inductie
text_image
Hand-drawn diagram showing three steps: pointing at a pot, interacting with a light source, and adding a plus sign.text_image
8 + Reducere puteretext_image
Hand-drawn icons including a lock, minus sign, checkmark, plus sign, and letter I, likely representing a basic electrical hazard symbol.Pentru a comuta la alt nivel
text_image
Hand-drawn icons including a lock, minus sign, checkmark, plus sign, and letter I, likely representing a basic electrical or safety symbol.text_image
6 + P P -text_image
Hand-drawn diagram showing a lock icon with a double vertical bar and a right-pointing arrow, possibly indicating a process or transformation.text_image
L W H' D' X B X A X
text_image
GARNITURA| Numărul modelului | L (mm) | l (mm) | h (mm) | D (mm) | A (mm) | B (mm) | X (mm) |
| CI642CBB/1 | 590 | 520 | 58 | 54 | 560 | 490 | 50 minim |
| CI633CBB/1 |
text_image
Diagram showing three steps of a mechanical or electrical process with checkmark indicators and directional arrows| A (mm) | B (mm) | C (mm) | D | E |
| 760 | 50 minim | 20 minim | Admisie aer | Evacuare aer 5 mm |
natural_image
Technical line drawing of a computer motherboard with two fans and screw holes (no text or symbols)Atentie
natural_image
Symbol of a trash bin crossed with no text or labels, accompanied by a black rectangular block below (no readable text or symbols)text_image
QR code image containing encoded data, no visible human-readable text
text_image
EXPLORE IT ON AppGallery
text_image
Available on the App Store
text_image
GET IT ON Google Playnatural_image
Diagram of a steam heating machine with cooling unit and two motors, no text or symbols presentσιδερένια κατσαρόλα
μαγνητικό κύκλωμα
text_image
Diagram showing two hand positions with checkmark and cross symbols, likely illustrating correct and incorrect hand movement.
natural_image
Simple line drawing of a cooking pot with a U-shaped magnet nearby (no text or symbols)natural_image
Simple line drawing of a cooking pot with crossed X marks (no text or symbols)
natural_image
Simple line drawing of a cooking pot with crossed X marks, no text or symbols present
natural_image
Simple line drawing of a cooking pot with crossed-out X marks (no text or symbols)

natural_image
Simple line drawing of a cooking pot with crossed-out X marks (no text or symbols)
natural_image
Pure diagram of a container with crossed arrows indicating opposing directions (no text or symbols)
natural_image
Simple line drawing of a cooking pot and a hand pointing at a circular icon (no text or symbols)
text_image
-5
text_image
- +text_image
Hand-drawn icons including a lock, minus sign, checkmark, plus sign, and letter I, likely representing UI control or status indicators.chemical
Hand-drawn chemical structure showing two hand-like structures with a central H atom and a cross symboltext_image
Hand-drawn symbols including a lock, minus sign, checkmark, plus sign, and letter 1, likely indicating a warning or error message.text_image
6 + P P -text_image
Diagram showing a hand holding a lock icon with a double vertical symbol, followed by an arrow pointing to three vertical tick marks.text_image
30 ✓ → 6_* □text_image
L W H₁ D₁ X B X A X
text_image
Diagram showing three steps of a mechanical or electrical process with checkmark indicators and directional arrowsnatural_image
Technical line drawing of a computer motherboard with fans and screw holes (no text or symbols)natural_image
Symbol of a trash bin crossed with a diagonal line and a horizontal bar below (no text or labels)text_image
QR code image containing encoded data, no visible human-readable text
text_image
EXPLORE IT ON AppGallery
text_image
Available on the App Store
text_image
GET IT ON Google PlayCONSIGNES DE SÉCURITÉ
VEUILLEZ LIRE ATTENTIVEMENT CES INSTRUCTIONS AVANT D'UTILISER L'APPAREIL.
Installation
natural_image
Diagram of a steam heating machine with cooling unit and two control panels (no text or symbols)marmite en fer
text_image
Diagram showing two hand-drawn correct and incorrect states with checkmark and cross symbols
natural_image
Simple line drawing of a cooking pot with a U-shaped tube attached to its side (no text or symbols)natural_image
Simple line drawing of a cooking pot with crossed-out X marks, no text or symbols present
natural_image
Simple line drawing of a cooking pot with crossed X marks (no text or symbols)
natural_image
Simple line drawing of a cooking pot with crossed-out X marks (no text or symbols)

natural_image
Simple line drawing of a cooking pot with crossed-out X marks (no text or symbols)
natural_image
Simple line drawing of a cooking pot with crossed arrows indicating pressure or resistance (no text or symbols)
natural_image
Simple line drawing of a cooking pot and a hand pointing at a circular icon (no text or symbols)
text_image
-5
natural_image
Simple line drawing of a hand holding a plus sign (no text or symbols)
text_image
8
text_image
Diminuer I- Faites attention aux surfaces chaudes
text_image
Hand-drawn symbols including lock, minus sign, checkmark, plus sign, and letter I, likely representing a basic electrical circuit or logic diagram.text_image
Hand-drawn icons including lock, checkmark, plus sign, and letter I with corresponding symbolstext_image
6 + P P -text_image
Hand-drawn diagram showing a lock icon pointing to a minus sign and a right-pointing arrow, indicating a correct or incorrect action.text_image
L I N P X B X A X
text_image
JOINT| Modèle n° : | L(mm) | l(mm) | H(mm) | P(mm) | A(mm) | B(mm) | X(mm) |
| CI642CBB/1 | 590 | 520 | 58 | 54 | 560 | 490 | 50 mini |
natural_image
Technical line drawing of a computer motherboard with cooling fans and screw holes (no text or symbols)Mises en garde
text_image
L1 N1 N2 L2 L N PEL-N : 220-240 V \~

text_image
L1 N PE L2L1-L2 : 380-415 V \~
natural_image
Symbol of a trash bin crossed out by two diagonal lines (no text or numbers present)
text_image
QR code image containing encoded data, no visible human-readable text
text_image
EXPLORE IT ON AppGallery
text_image
Available on the App Store
text_image
GET IT ON Google Playnatural_image
Diagram of a steam machine with cooling unit and two control panels (no text or symbols)cacerola de hierro
text_image
Diagram showing two hand positions with checkmark and cross symbols, likely illustrating correct and incorrect hand movement.natural_image
Simple line drawing of a cooking pot with a U-shaped tube attached to its side (no text or symbols)natural_image
Simple line drawing of a cooking pot with crossed-out X marks (no text or symbols)
natural_image
Simple line drawing of a cooking pot with crossed-out X marks (no text or symbols)
natural_image
Simple line drawing of a cooking pot with crossed-out X mark (no text or symbols)

natural_image
Simple line drawing of a cooking pot with crossed-out X marks (no text or symbols)
natural_image
Simple line drawing of a cooking pot with crossed arrows indicating pressure or heat (no text or symbols)
natural_image
Simple line drawing of a cooking pot and a hand gesture (no text or symbols)
text_image
5
text_image
- +text_image
Hand-drawn icons including lock, checkmark, plus sign, and letter I with symbols like @, -, and +natural_image
Two abstract line drawings resembling stylized hands or curves, with no text or symbols present.text_image
Hand-drawn icons including lock, checkmark, plus sign, and letter I with symbols like @, -, and +text_image
Hand-drawn diagram showing a lock icon with a minus sign and a right-pointing arrow, possibly indicating a change or transformation.text_image
00 - + → 05 ✓
text_image
L W N D X B X A X
text_image
SELLADO| N.° de modelo | L (mm) | A(mm) | H (mm) | D (mm) | A (mm) | B (mm) | X (mm) |
| CI642CBB/1 | 590 | 520 | 58 | 54 | 560 | 490 | 50mini |
EasyManual