CI633CBB/1 - Plită cu inducție CANDY - Manual de utilizare gratuit
Găsiți gratuit manualul dispozitivului CI633CBB/1 CANDY în format PDF.
Descărcați instrucțiunile pentru Plită cu inducție în format PDF gratuit! Găsiți manualul dvs. CI633CBB/1 - CANDY și luați din nou în mână dispozitivul dvs. electronic. Pe această pagină sunt publicate toate documentele necesare pentru utilizarea dispozitivului dvs. CI633CBB/1 mărcii CANDY.
MANUAL DE UTILIZARE CI633CBB/1 CANDY
Manual de instrucțiuni pentru plita cu inductie
ROMÂNĂ
În aplicația hOn veți avea acces la câteva rețete și conținut suplimentar.

text_image
hOn
- Deconectați aparatul de la sursa de alimentare înainte de a efectua orice operațiune sau lucrare de întreținere asupra acestuia.
- Conexiunea la un sistem de cablare cu o împământare bună este esențială și obligatorie.
- Cablajul fix trebuie să includă mijloacele pentru deconectare, în conformitate cu normele de cablare.
- Modificările operate asupra sistemului de cablare trebuie efectuate numai de către un electrician calificat.
- Nerespectarea acestei recomandări poate duce la electrocutare sau deces.
Pericol de tăiere
- Atenție - marginile panoului sunt ascuțite.
- Utilizarea neatentă poate duce la vătămare sau tăieturi.
Instrucțiuni importante de siguranță
- Citiți aceste instrucțiuni cu atenție înainte de a instala sau utiliza acest aparat.
- Niciun material sau produse combustibile nu trebuie aşezate pe acest aparat în niciun moment.
- Vă rugăm să partajați aceste informații cu persoana responsabilă pentru instalarea aparatului, întrucât v-ar putea reduce costurile de instalare.
- Pentru a evita un pericol, acest aparat trebuie instalat în conformitate cu aceste instrucțiuni pentru instalare.
-
Acest aparat va fi instalat și împământat corespunzător numai de către o persoană calificată corespunzător.
-
Acest aparat trebuie conectat la un circuit care încorporează un comutator de izolare ce oferă deconectarea completă de la sursa de alimentare.
- AVERTIZARE: Folosiți doar protecții ale plitei concepute de producătorul aparatului de gătit sau indicate de producătorul aparatului în instrucțiunile de utilizare, după caz, sau protecții ale plitei încorporate în aparat. Utilizarea unor dispositive de protecție necorespunzătoare poate provoca accidente.
- Nereușita de a instala aparatul corect poate invalida orice pretenții de garanție sau răspundere.
- În ceea ce privește detaliile de instalare, consultați sectiunea
.
Operare și întreținere
Pericol de electrocutare
- Nu gătiți pe o plită defectă sau fisurată. În cazul în care suprafața plitei se sparge sau se fisurează, opriți imediat aparatul de la sursa de alimentare (comutatorul din perete) și contactați un tehnician calificat.
- Opriti plita de la comutatorul de pe perete înaintea curățării sau a întreținerii.
- Nerespectarea acestei recomandări poate duce la electrocutare sau deces.
Pericol pentru sănătate
- Acest aparat este conform cu standardele de siguranță electromagnetică.
Pericol de suprafață fierbinte
- În timpul utilizării, părțile accesibile ale acestui aparat se vor înfierbânta suficient încât să cauzeze arsuri.
-
Nu lăsați părți ale corpului, hainele sau are alt articol în afară de ustensilele de bucătărie adecvate să intre în contact cu sticla ceramică până când nu se răcește suprafața.
-
Obiectele metalice precum cuțitele, furculițele, lingurile și capacele nu trebuie așezate pe suprafața plitei, deoarece se pot încălzi.4
- Copiii cu vârsta mai mică de 8 ani vor fi ținuți la distanță, mai puțin când sunt supravegheati permanent.
- Mânerele tigăilor pot fi fierbinți la atingere. Verificați ca mânerele tigăii să nu fie suspendate deasupra altor zone de gătit care sunt aprinse. Nu lăsați mânerele la îndemâna copiilor.
- Nerespectarea acestei recomandări poate duce la arsuri și opărituri.
Pericol de tăiere
- Lama extrem de ascuțită a unei raclete pentru suprafețe de gătit este expusă când se retrage capacul de protecție. Folosiți cu multă atenție și depozitați întotdeauna în siguranță și nu lăsați la îndemâna copiilor.
- Utilizarea neatentă poate duce la vătămare sau tăieturi.
Instrucțiuni importante de siguranță
- Nu lăsați niciodată aparatul nesupravegheat în timpul utilizării. Fierberea în exces cauzează apariția fumului și scurgeri de grăsime care se pot aprinde.
- Nu utilizați niciodată aparatul drept suprafață de lucru sau depozitare.
- Nu lăsați niciodată obiecte sau ustensile pe aparat.
- Nu folositi niciodată aparatul pentru încălzirea camerei.
- După utilizare, opriți întotdeauna zonele de gătit și suprafața de gătit conform descrierii din acest manual (adică folosind comenzile tactile). Nu vă bazați pe opțiunea de detectare a tigăii pentru a opri zonele de gătit atunci când luați tigaia de pe plită.
- Nu lăsați copiii să se joace cu aparatul sau să se așeze sau să urce pe aceasta.
- Nu depozitati articole de interes pentru copii în dulapurile de
deasupra aparatului. Copiii care se urcă pe suprafața de gătit pot suferi vătămări grave.
- Nu lăsați copiii singuri sau nesupravegheați în zona unde aparatul este în funcțiune.
- Copiii sau persoanele cu dizabilități care le limitează capacitatea de a folosi aparatul trebuie să fie instruiti de o persoană responsabilă și competentă privind utilizarea acestuia. Instructorul trebuie să fie mulțumit că aceștia pot folosi aparatul fără a se pune în pericol pe ei înșiși sau mediul înconjurător.
- Nu reparați sau nu înlocuiti nicio piesă a aparatului mai puțin atunci când în manual există prevederi specifice în acest sens. Toate celelalte lucrări de service trebuie efectuate de un tehnician calificat.
- Nu folosiți un dispozitiv de curățare cu aburi pentru plita dvs. de gătit.
- Nu așezați și nu scăpați obiecte grele pe plita de gătit.
- Nu stați pe plita dvs. de gătit.
- Nu folosiți tigăi cu margini zimțate sau nu trageți de tigaie de-a lungul suprafeței din sticlă, întrucât acest lucru poate zgâria sticla.
- Nu folosiți bureți de sărmă sau agenți de curățare abrazivi pentru a vă curăța plita de gătit, întrucât acest lucru poate zgâria sticla ceramică.
- În cazul în care cablul de alimentare este deteriorat, acesta trebuie înlocuit de către producător, agentul său de service sau persoane calificate similare, pentru a evita orice pericol.
- Acest aparat este destinat utilizării numai în mediul casnic! Utilizarea comercială de orice fel nu este acoperită de garanția producătorului!
- AVERTIZARE: Aparatul și piesele sale accesibile se încing în timpul utilizării. Copiii mici trebuie ținuți la distanță.
- Trebuie să fiți atenți pentru a evita atingerea elementelor de încălzire.
- Copiii cu vârsta mai mică de 8 ani vor fi ținuți la distanță, mai puțin când sunt supravegheați permanent.
- Acest aparat poate fi utilizat de către copiii cu vârste de minim 8 ani și de către persoanele cu abilități fizice, senzoriale sau mentale reduse sau cu lipsă de experiență sau cunoștințe, cu condiția să fie supravegheate sau instruite corespunzător privind modul de utilizare a acestui aparat în siguranță și să înțeleagă pericolele implicate.
- Nu lăsați copiii să se joace cu aparatul. Curățarea și întreținerea de către utilizator nu vor fi efectuate de copii fără supraveghere.
- AVERTIZARE: Gătitul nesupravegheat pe o plită cu grăsime sau ulei poate fi periculos și poate duce la incendiu. Nu încercați NICIODATĂ să stingeți un incendiu cu apă, ci opriți aparatul și apoi acoperiți flacăra, de ex., cu un capac sau o pătură ignifugă.
- AVERTIZARE: Pericol de incendiu: nu depozitați articolele pe suprafețele de gătit.
- AVERTIZARE: Dacă suprafața este crăpată, opriți aparatul pentru a evita posibilitatea de electrocutare, pentru suprafețele plitei din sticlă-ceramică sau material similar care protejează părțile sub tensiune.
- Nu trebuie utilizat un dispozitiv de curățat cu aburi.
- Aparatul nu este destinat operării cu ajutorul unui cronometru extern sau un sistem de control la distanță separat.
- ATENTIE: Procesul de gătit trebuie supravegheat. Procesul de gătit scurt trebuie supravegheat permanent.
- Cablul de alimentare nu poate fi rămâne la vedere după instalare.
Prezentarea generală a produsului
Vedere de sus

text_image
2 h 3 1 b 4 b 5 B B B B □ □ □ □ □ #0 - ○ + ○CI642CBB/1
- zonă de 2300 W, măriți la 3000W
- zonă de 1200 W, măriți la 1500W
- zonă de 1800 W, măriți la 2100W
- zonă de 1200 W, măriți la 1500W
- Panou de comenzi

text_image
2 1 3 4 B B B □ □ □ □ 控制 - ⊕ + ①CI633CBB/1
- zonă de 1800 W, măriți la 2100W
- zonă de 1200 W, măriți la 1500W
- zonă de 3000 W, măriți la 3600W
- Panou de comenzi
Panou de comenzi

text_image
5 5 5 5 8 8 8 8 □ □ □ □ #/⑪ - ✓ + ⏻ 4 2 3 2 1CI642CBB/1

text_image
5 5 5 6 8 8 8 □ □ 88 □ ⓑ #/⑪ - ✓ + Ⓘ 4 2 3 2 1CI633CBB/1
- Comandă PORNIRE/OPRIRE
- Tastă de pornire/ajustare a cronometrului
- Comandă cronometru
- Control Pauză/Blocare taste
-
Comenzi de selectare a zonei de încălzire
-
Comandă PORNIRE/OPRIRE
- Tastă de pornire/ajustare a cronometrului
- Comandă cronometru
- Control Pauză/Blocare taste
- Comenzi de selectare a zonei de încălzire
- Comanda Boost
Informații despre produs
Plita ceramică/de inductie de gătit se pliază pe diverse cerințe în bucătărie, datorită rezistenței la încălzire a cablului, comenzilor prin intermediul unui microcomputer și posibilității de a selecta mai multe tipuri de putere și este alegerea optimă pentru familiile moderne.
Plita a fost proiectată având în vedere cerințele clienților și are un design personalizat. Plita oferă performanțe sigure și de încredere, asigurând un confort sporit și permitându-vă să vă bucurați din plin de viață.
Cuvânt înainte despre gătitul prin inductie
Gătitul prin inducție este o tehnologie de gătit sigură, avansată, eficientă și economică. Aceasta funcționează prin vibrații electromagnetice care generează direct căldură în vas, mai degrabă indirect prin încălzirea suprafeței din sticlă. Sticla devine fierbinte numai deoarece vasul o încălzește într-un final.

circuit magnetic placă din sticlă ceramică bobină de inducție curenți induși
Înainte de a vă utiliza noua plită cu inductie
- Citiți acest ghid, cu accent pe sectiunea de „Avertismente de siguranță”.
- Îndepărtați orice folie de protecție care ar putea fi încă prezentă pe plita cu inductie.
Utilizarea comenzilor tactile
- Comenzile răspund la atingere, astfel că nu trebuie să aplicați nicio presiune.
• Folosiți pernuța degetului, nu vârful. - Veți auzi un sunet de fiecare dată când se înregistrează o atingere.
- Asigurați-vă că comenzile sunt întotdeauna curate, uscate și că nu există niciun obiect (de ex., o ustensilă sau o lavetă) care să le acopere. Chiar și o peliculă fină de apă poate îngreuna operarea comenzilor.

- Folosiți numai vase de gătit cu o bază adecvată pentru gătirea prin inducție. Căutați simbolul de inducție pe ambalaj sau pe baza vasului de gătit.
-
Puteți verifica dacă vasele dvs. de gătit sunt adecvate prin efectuarea unui test magnetic. Mutați un magnet spre baza vasului. Dacă este atras, vasul este adecvat pentru inductie.
• Dacă nu aveți un magnet: -
Turnați puțină apă în vasul pe care doriți să îl verificați.
- Urmati paşii din „Pentru a începe să gătiți”.
- Dacă nu luminează intermitent pe ecran și apa se încălzește, vasul este adecvat.
- Vasele de gătit confectionate din următoarele materiale nu sunt adecvate: inox, aluminiu sau cupru fără o bază magnetică, sticlă, lemn, portelan, ceramică sau lut.

| Dimensiunea arzătorului (mm) | Dimensiunile minime ale vaselor de gătit (diametru/mm) |
| 160 | 120 |
| 180 | 140 |
| 210 | 160 |
| 280 | 180 |
Nu folosiți vase cu margini zimțate sau cu o bază curbată.

Asigurați-vă că baza vasului dvs. este netedă, stă drept pe sticlă și că are aceeași dimensiune cu zona de gătit. Centrați întotdeauna vasul pe zona de gătit.

Ridicați întotdeauna vasele de pe plita ceramică, nu le glisați. În caz contrar, puteți zgâria sticla.

- Folosiți vase al căror diametru al zonei feromagnetice (vaza vasului) este în intervalul de dimensiuni din tabelul de mai jos. (Tabelul 1)
- Dacă folosiți vase mai mici, performanța poate fi afectată
- Dacă utilizați un vas cu un diametru mai mic decât cel indicat în tabelul de mai sus, vasele pot să nu fie detectate
Conform dimensiunii zonei, puteți folosi vase cu diametre diferite, conform imaginii de mai jos:

text_image
Ø140 Ø180 Ø210- Dacă partea feromagnetică acoperă numai parțial baza vasului, numai zona feromagnetică se va încălzi, restul bazei este posibil să nu se încălzească la o temperatură suficientă pentru gătire.

- Dacă zona feromagnetică nu este omogenă, dar prezintă alte materiale, cum ar fi aluminiul, aceasta poate afecta încălzirea și detectarea vasului.
Dacă baza vasului este similară cu imaginile de mai jos, vasul poate să nu fie detectat.

Pentru a începe să gătiți
- După pornire, alarma emite un semnal sonor, toate indicatoarele se aprind timp de 1 secundă apoi se sting, indicând că plita a intrat în starea de așteptare.
- Atingeti comutatorul PORNIT/OPRIT ①.
Toți indicatorii vor arăta „-“
- Puneti un vas adecvat pe zona de gătit pe care doriți să o folosiți.
Asigurați-vă că fundul vasului și suprafața zonei de gătit sunt curate și uscate.
-
Dacă atingeți comanda de selectare a zonei de încălzire, un indicator situat lângă tastă va clipi intermitent
-
Selectați o zonă de încălzire atingând comanda „-” sau „+”.
- Dacă nu selectați o zonă de încălzire în decurs de 1 minut, plita cu inducție se va opri automat. Va trebui să începeți din nou de la pasul 1.
- Puteți modifica setarea de căldură oricând în timpul procesului de gătire.

Când ați terminat de gătit
-
Atingeți comanda de selectare a zonei de încălzire pe care doriți să o opriți
-
Opriti zona de gătit derulând în jos până la „0”. Asigurați-vă că pe afișaj apare cifra „0”.
-
Opriți întreaga plită atingând comanda Pornire/Oprire.

- Aveți grijă la suprafețele fierbinti
Se va afișa „H” ceea ce înseamnă că zona de gătit este prea fierbinte pentru a fi atinsă. Acesta va dispărea atunci când suprafața s-a răcit la o temperatură sigură. De asemenea, poate fi folosit drept funcție de economisire a energiei dacă doriți să încălziți mai departe vasele, folosiți ochiul care este încă fierbinte.

Folosirea funcției de gestionare a puterii
Este posibil să setați un nivel de absorbție a energiei maxim pentru plita cu inductie, alegând între intervalele de energie diferite.
Plitele cu inductie se pot limita automat pentru a funcționa la un nivel de putere mai redus, pentru a evita riscul de supraîncărcare.
Pentru a accesa funcția de gestionare a energiei
- Porniți plita, apoi apăsați în același timp „+” (cronometru) și tasta de blocare. Indicatorul cronometrului va arăta „P5”, ceea ce înseamnă nivel de putere 5. Modul implicit este pe 7,2 kW.

Apăsați +/- din cronometru. Există 5 niveluri de putere, de la „P1” la „P5”. Indicatorul cronometrului va indica unul dintre acestea.
„P1 ”: energia maximă este 2,5 kW.
„P2 ”: energia maximă este 3,5 kW.
„P3 ”: energia maximă este 4,5 kW.
„P4 ”: energia maximă este 5,5 kW.
„P5”: puterea maximă este de 7,2 kW.

text_image
SAUConfirmarea și ieşirea din funcția de gestionare a energiei
Apăsați în același timp „+” (cronometru) și blocarea tastelor pentru confirmare, apoi plita va fi oprită.

Folosirea funcției Boost
Activarea funcției Boost
- Selectați zona cu funcție Boost (zona din față, pe partea stângă).
- Atingeți tasta „plus”+ până când indicatorul nivelului de putere arată „P”.
Anularea funcției Boost
- Selectați zona cu funcție Boost (zona din față, pe partea stângă).
- Atingeți tasta „minus”— pentru a anula funcția Boost și selectați nivelul pe care doriți să-l setați.
- Functia Boost poate dura doar 5 minute, după care zona va trece automat la nivelul 9.

Folosirea funcției Pauză
- Apăsați butonul Pauză/☐. Zonele de încălzire nu vor mai funcționa. Indicațiile pentru fiecare zonă arată „||”

-
Apăsați din nou butonul Pauză/Ⅱ. Toate zonele de încălzire vor reveni la setarea inițială.
-
Functia este disponibilă atunci când una sau mai multe zone de încălzire funcționează.
- Dacă nu anulați modul de oprire a funcționării în decurs de 30 de minute, plita cu inductie se va opri automat.
Blocarea comenzilor
- Puteți bloca comenzile pentru a preveni utilizarea neintenționată (de ex. copii care pornesc accidental zona de gătit).
- Când comenzile sunt blocate toate comenzile cu excepția comenzii PORNIRE/OPRIRE sunt dezactivate.
Pentru a bloca comenzile
Atingeti tasta 📋/⑪ timp de 2 secunde. Indicatorul cronometrului va indica „Lo”.
Pentru a debloca comenzile
- Asigurați-vă că plita este pornită.
- Atingeți și țineți apăsat comanda de blocare a tastelor 📄/⑪ timp de 2 secunde.
- Acum puteți începe să utilizați plita.

Atunci când plita este în modul blocat, toate comenzile sunt dezactivate cu exceptia PORNIRII/OPRIRII. Puteți opri întotdeauna plita cu comanda PORNIRE/OPRIRE în stare de urgență, dar va trebui ca mai întâi să deblocați plita în următoarea operațiune.
Avertisment de încălzire reziduală
Când plita funcționează de ceva vreme, va exista o căldură reziduală. Litera „H” apare pentru a vă avertiza să stați la distanță de aceasta.

Oprire automată
Caracteristica de siguranță a plitei se oprește automat. Acest lucru apare ori de câte ori uitați să opriți o zonă de gătit. Timpii de oprire impliciți sunt prezentați în tabelul de mai jos:
| Nivel de putere | 1 | 2 | 3 | 4 | 5 | 6 | 7 | 8 | 9 |
| Cronometru functionare implicit (oră) | 8 | 8 | 8 | 4 | 4 | 4 | 2 | 2 | 2 |
Folosirea cronometrului
Puteți utiliza cronometrul în două moduri diferite:
- Îl puteți folosi ca memento minutar. În acest caz, atunci când este setat, cronometrul nu va opri nicio zonă de gătit.
- Îl puteți folosi drept cronometru pentru a opri una sau mai multe zone de gătit după expirarea timpului.
- Puteti seta cronometrul la până 99 de minute.
Folosirea cronometrului drept memento minutar
- Asigurați-vă că plita este pornită. Și tasta de selecție a zonei nu este activată (indicația zonei nu luminează intermitent).
Notă: puteți seta minutele înainte sau după finalizarea setării pentru puterea zonei de gătit.
- Atingeți tasta temporizatorului. Va apărea „00” pe afișajul temporizatorului și „0” va lumina intermitent.
- Setați durata între 1 și 99 de minute atingând butonul „-” sau „+” al cronometrului (de ex. 5)
- Apăsați „+” o dată pentru a crește durata cu un minut; apăsați „-” o dată pentru a reduce durata cu un minut. Când durata setată depășește 99 de minute, va reveni automat la „00”, iar dacă tastele „-” și „+” sunt apăsate simultan, indicatorul va afișa „00”.
- Atunci când este setată ora, aceasta va începe numărătoarea inversă imediat. Afisajul va indica timpul rămas.
- Alarma sonoră va emite un sunet timp de 30 de secunde, iar cronometrul va indica „-” când s-a încheiat durata setată.
Anularea cronometrului
După ce setați din nou ora, țineți apăsată tasta „Cronometru” timp de 5 secunde; acest lucru va anula cronometrul și indicatorul va reveni la „00”.
Utilizarea cronometrului pentru a opri una sau mai multe zone de gătit
- Atingeți comanda de selectare a zonei de încălzire pentru care doriți să setați cronometrul.

- Atingeți comanda cronometrului. Pe afișajul cronometrului va apărea „00”, iar „0” va lumina intermitent.
- Setați durata între 1 și 99 de minute atingând butonul „-” sau „+” al cronometrului (de ex. 5)
- Apăsați „+” o dată pentru a crește durata cu un minut; apăsați „-” o dată pentru a reduce durata cu un minut. Când durata setată depășește 99 de minute, va reveni automat la „00”, iar dacă tastele „-” și „+” sunt apăsate simultan, indicatorul va afișa „00”.
- Atunci când este setată ora, aceasta va începe numărătoarea inversă imediat. Afisajul va indica timpul rămas.
NOTĂ: Va exista un punct roșu în colțul din dreapta jos al indicației nivelului de putere care indică selectarea zonei respective.
- Când cronometrul pentru durata de gătit a ajuns la zero, zona de gătit corespunzătoare se va opri automat.

text_image
6 -Notă: Celelalte zone de gătit vor continua să funcționeze dacă erau pornite anterior.
Dacă setați cronometrul pentru mai multe zone:
- Când setați cronometrul pentru mai multe zone de gătit, zonele de gătit relevante au aprinse puncte roșii. Afișajul cronometrului arată valoarea min. a acestuia. Punctul zonei corespunzătoare luminează intermitent.

text_image
15 3. (setat la 15 minute) 6. (setat la 45 minute)- Odată ce cronometrul de numărătoare inversă expiră, zona corespunzătoare se va opri. Apoi va afișa noul cronometru al minutelor și punctul zonei corespunzătoare va lumina intermitent.

text_image
30 → 6_* □Notă: Atingeți butonul de selectare a zonei de încălzire. Cronometrul corespunzător va fi afişat în indicatorul cronometrului.
Recomandări pentru gătit
Aveți grijă atunci când prăjiți, deoarece uleiul și grăsimile se încălzesc foarte repede, mai ales dacă utilizați funcția Boost. La temperaturi extrem de ridicate, uleiul și grăsimile se pot aprinde spontan, iar acest lucru prezintă un risc grav de incendiu.
Sfaturi pentru gătit
- Când mâncarea începe să fiarbă, reduceți puterea setată.
- Folosind un capac, reduceți durata de gătire și economisiți energia prin menținerea căldurii.
- Minimizați cantitatea de lichid sau grăsime pentru a reduce timpii de gătit.
- Începeti procesul de gătire la o valoare înaltă și reduceți reglajul când alimentele s-au încălzit în interior.
Fierberea la foc mic, gătirea orezului
- Fierberea la foc mic se produce sub punctul de fierbere, la aproximativ 85 °C, atunci când bulele de aer se ridică doar ocazional la suprafața lichidului de gătit. Acesta este secretul supelor delicioase și al tocanelor fragede, deoarece aromele se dezvoltă fără ca mâncarea să fie excesiv de gătită. De asemenea, sosurile pe bază de ou și îngroșate cu făină ar trebui să fie gătite sub punctul de fierbere.
- Anumite tehnici de gătit, inclusiv gătitul orezului prin metoda de absorbție, pot necesita setarea unei temperaturi mai mari decât cea mai scăzută temperatură, pentru a vă asigura că mâncarea este gătită corect în intervalul de timp recomandat.
Prăjirea fripturii
Pentru a găti fripturi aromate și suculente:
- Tineți carnea la temperatura camerei timp de aproximativ 20 minute înainte de preparare.
- Încălziți o tigaie cu bază grea.
- Ungeți ambele părți ale fripturii cu ulei. Întindeți o cantitate mică de ulei în tava fierbinte și apoi așezați carnea pe tava fierbinte.
- Întoarceți friptura o singură dată în timpul gătitului. Timpul exact de gătit va depinde de cât de groasă este bucata de friptură și de cât de gătită o doriți. Timpii pot varia de la aproximativ 2-8 minute pe fiecare parte. Presați friptura pentru a verifica cât de mult este gătită - cu cât se simte mai fermă cu atât va fi mai „bine făcută”.
- Lăsați friptura pe o farfurie caldă timp de câteva minute pentru a-i permite să se înmoaie și să devină fragedă înainte de servire.
Pentru prăjire la foc iute cu amestecare continuă
- Alegeti un wok cu baza plată sau o tigaie mare, compatibile cu plita ceramică.
- Pregătiți toate ingredientele și echipamentele. Prăjirea la foc iute cu amestecare continuă trebuie să se realizeze repede. Dacă gătiți cantități mari, împărțiți alimentele în mai multe portii mai mici.
- Preîncălziți tava pentru scurt timp și adăugați două linguri de ulei.
-
Gătiți prima dată carnea, apoi lăsați-o deoparte și păstrați-o caldă.
-
Prăjiți legumele amestecând continuu. Când timp sunt fierbinți, dar încă crocante, setați zona de gătit la o temperatură inferioară, puneți carnea înapoi în tigaie și adăugați sosul.
- Amestecați ușor ingredientele pentru a vă asigura că sunt încălzite.
- Serviți imediat.
Setări de temperatură
| Setarea temperaturii | Potrivire |
| 1 - 2 | încălzirea delicată pentru cantități mici de alimentetopirea ciocolatei, a untului și a alimentelor care se ard repedefierbere ușoară la foc micîncălzire ușoară |
| 3 - 4 | reîncălzirefierbere rapidă la foc micgătirea orezului |
| 5 - 6 | clătite |
| 7 - 8 | sotaregătirea pastelor |
| 9 | prăjire rapidă prin amestecareprăjireaducerea supei la punctul de fierberefierberea apei |
Îngrijire și curățare
| Ce? | Cum? | Important! |
| Murdăria cotidiană de pe sticlă (amprente, urme lăsate de alimente sau scurgeri nezaharoase pe sticlă) | 1. Opriti alimentarea electrică pentru a opri plita.2. Aplicați un agent de curătare a plitei în timp ce sticla este încă caldă (dar nu fierbinte!)3. Clătiți și ștergeți cu o lavetă curată sau un prosop de hârtie.4. Porniți curentul pentru a porni plita. | Când opriti alimentarea cu curent a plitei, nu va exista o indicație de „suprafață fierbinte”, dar zona de gătit va fi în continuare fierbinte! Aveți grijă.Bureții de sărmă industriali, unii bureți din nailon și agenții de curătare duri/abrazivi pot zgâria sticla. Citiți întotdeauna eticheta pentru a verifica dacă agentul dvs. de curătare sau buretele este adecvat.Nu lăsați niciodată reziduuri de curătare pe plită: sticla se poate păta. |
| Spuma, substanțele topite și scurgerile zaharoase pe sticlă | Îndepărtați-le imediat cu o paletă pentru pește, spatulă sau racletă adecvată pentru plitele ceramice din sticlă, dar aveți grijă la suprafețele de gătit fierbinți:1. Opriti curentul de la priza din perete pentru a opri plita.2. Tineți lama sau ustensila la un unghi de 30° și răzuiți murdăria sau scurgerea spre o zonă curată a plitei.3. Curătați murdăria sau scurgerea cu o lavetă sau un prosop din hârtie.4. Urmați pașii de la 2 la 4 pentru „Murdăria cotidiană pe sticlă” de mai sus. | Îndepărtați petele lăsate de substanțe topite sau alimente zaharoase sau scurgeri cât mai curând posibil. Dacă sunt lăsate să se răcească pe sticlă, acestea pot fi dificil de îndepărtat sau chiar deteriora permanent suprafața din sticlă.Pericol de tăiere: când se retrage capacul de siguranță, lama din racletă este foarte ascuțită. Folosiți cu multă atenție și depozitați întotdeauna în siguranță și nu lăsați la îndemâna copiilor. |
| Scurgerile de pe comenzile tactile | 1. Opriti alimentarea electrică pentru a opri plita.2. Înmuiați pata lăsată de scurgere3. Ștergeți zona comenzilor tactile cu un burete sau o lavetă umedă curată.4. Ștergeți zona complet uscată cu un prosop din hârtie.5. Porniți curentul pentru a porni plita. | Plita poate emite un sunet de alarmă și se poate opri, iar comenzile tactile pot să nu funcționeze dacă este prezent lichid pe acestea. Asigurați- vă că ștergeți pentru a usca zona comenzilor tactile înainte de a porni plita. |
Indicii și recomandări
| Problemă | Cauze posibile | Ce să faceți |
| Plita de gătit nu poate fi pornită. | Nu există curent. | Asigurați-vă că blatul de gătit este conectat la sursa de alimentare și că este pornit.Verificați dacă există o pană de curent în casă sau în zonă. Dacă ați verificat totul și problema persistă, apelați un tehnician calificat. |
| Comenzile tactile nu răspund. | Comenzile sunt blocate. | Deblocați comenzile. Consultați secțiunea „Folosirea plitei ceramice” pentru instrucțiuni. |
| Comenzile tactile sunt dificil de operat. | Poate exista o peliculă subțire de apă peste comenzi sau este posibil să vă folosiți vârful degetului când atingeți comenzile. | Asigurați-vă că zona comenzilor tactile este uscată și folosiți pernuța degetului dvs. când atingeți comenzile. |
| Sticla este zgâriată. | Vase de gătit cu margini dure.Se folosesc bureți sau agenți de curățare necorespunzători, abrazivi. | Folosiți vase cu baza plată și netedă.Consultați „Alegerea vaselor de gătit corecte”.Consultați „Îngrijire și curățare”. |
| Unele vase emit zgomote de fisurare sau audibile. | Acestea pot fi cauzate de procesul de fabricare a vasului (straturi din diverse metale care vibrează diferit). | Acest lucru este normal pentru vasele de gătit și nu indică o eroare. |
| Plita de inducție scoate un zgomot zumzăit când este folosită la o setare de câldură crescută. | Acesta este cauzat de tehnologia gătitului cu inducție. | Acest lucru este normal, dar zgomotul trebuie să se liniștească sau dă dispară complet pe măsură de reduceți setarea de câldură. |
| Zgomotul ventilatorului care vine de la plita de inducție. | Un ventilator de răcire încorporat în plita dvs. cu inducție s-a activat pentru a preveni supraîncălzirea pieselor electronice. Acesta poate continua să funcționeze chiar și după ce ați oprit plita cu inducție. | Acest lucru este normal și nu necesită nicio măsură.Nu opriți plita cu inducție de la priza din perete în timp ventilatorul funcționează. |
| Vasele nu se înfierbântă și nu apar pe ecran. | Plita cu inducție nu poate detecta vasul, deoarece nu este adecvat pentru gătitul cu inducție.Plita cu inducție nu poate detecta vasul, deoarece este prea mic pentru zona de gătit sau nu este centrat corespunzător pe aceasta. | Folosiți vase de gătit adecvate pentru gătitul cu inducție. Consultați secțiunea „Alegerea vaselor de gătit corecte”.Centrați vasul și asigurați-vă că baza se potrivește cu dimensiunea zonei de gătit. |
| Plita cu inducție sau o zonă de gătit s-a oprit singură în mod neașteptat, un sunet de ton și un cod de eroare este afișat (de regulă, alternând una sau două cifre pe ecranul cronometrului de gătit). | Eroare tehnică. | Notați literele și cifrele de eroare, opriți curentul din plită de la priza de perete și contactați un tehnician calificat. |
Eroare de ecran și inspectie
Dacă intervine o anomalie, plita cu inducție va intra în stare de protecție automat și va afișa codurile de protecție corespunzătoare:
| Problemă | Cauze posibile | Ce să faceți |
| E4/E5 | Eroare senzor de temperatură | Contactați furnizorul. |
| E7/E8 | Eroare a senzorului de temperatură al IGBT. | Contactați furnizorul. |
| E2/E3 | Tensiune de alimentare anormală | Verificați dacă alimentarea este normală. Porniți după ce alimentarea revine la normal. |
| E6/E9 | Radiație termică necorespunzătoare a plitei cu inducție | Reporniți după ce plita cu inducție se răcește. |
Cele menționate mai sus reprezintă evaluarea și inspecția erorilor frecvente.
Nu dezasamblati unitatea pe cont propriu, pentru a evita orice pericole și deteriorări ale plitei cu inducție.
Specificații tehnice
| Plită cu inducție | CI642CBB/1 |
| Zone de gătit | 4 zone |
| Tensiune de alimentare | 220-240 V~ 50/60Hz |
| Putere electrică instalată | 7200 W |
| Dimensiune produs AxLxÎ (mm) | 590x520x58 |
| Dimensiuni de încorporare A× B (mm) | 560x490 |
| Plită cu inductie | CI633CBB/1 |
| Zone de gătit | 3 zone |
| Tensiune de alimentare | 220-240 V~ 50/60Hz |
| Putere electrică instalată | 7200 W |
| Dimensiune produs AxLxÎ (mm) | 590x520x58 |
| Dimensiuni de încorporare A× B (mm) | 560x490 |
Greutatea și dimensiunile sunt aproximative. Deoarece ne străduim în permanență să ne îmbunătățim produsele, este posibil să modificăm specificațiile și design-urile fără o notificare prealabilă.
Instalare
Selectarea echipamentului de instalare
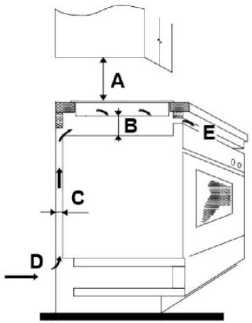
- Decupați suprafața de lucru în conformitate cu dimensiunile indicate în desen.
- În scopul instalării și utilizării, se va păstra un spațiu de minimum 50 mm în jurul orificiului.
- Asigurați-vă că grosimea suprafeței de lucru este de cel puțin 30 mm. Selectați materialul suprafeței de lucru rezistent la căldură pentru a evita deformarea mai mare cauzată de iradierea de căldură de la ochiul fierbinte. Conform celor de mai jos:
Avertizare: Materialul suprafeței de lucru trebuie să utilizeze lemn impregnat sau alt material de izolație.

Asigurați-vă că plita este bine ventilată și că admisia și evacuarea aerului nu sunt blocate. Asigurați-vă că plita este în stare bună de funcționare. După cum se arată mai jos. Notă: Distanța de siguranță dintre ochiul fierbinte și dulapul de deasupra trebuie să fie de cel puțin 760 mm.

text_image
A B E C D
Înainte de a instala plita, asigurați-vă că
- Suprafața de lucru este pătrată și plană și niciun element structural nu interferează cu cerințele de spațiu.
- suprafața de lucru este confectionată dintr-un material termorezistent.
- dacă plita este instalată deasupra unui cuptor, cuptorul are un ventilator de răcire încorporat.
- instalarea va respecta toate cerințele de spațiu și standardele și reglementările aplicabile.
- un comutator de izolare care oferă deconectarea completă de la sursa de alimentare este încorporat în cablajul permanent, montat și poziționat conform normelor și reglementărilor locale de cablare.
- Comutatorul de izolare trebuie să fie de tip omologat și să ofere o separare a contactului cu aerul de 3 mm la toți polii (sau în toți conductorii activi [fază] dacă normele de cablare locale permit această abatere de la cerințe).
- comutatorul de izolare va fi uşor accesibil pentru client după instalarea plitei
- consultați autoritățile de construcție locale și de aplicare a legii dacă aveți dubii privind instalarea
- folosiți finisaje rezistente la căldură și ușor de curățat (cum ar fi plăcile ceramice) pentru suprafețele pereților din jurul plitei.
După instalarea plitei, asigurați-vă că nu se poate ajunge la
- Cablul de alimentare nu este accesibil prin uşile dulapului sau prin sertare.
- Există un flux adecvat de aer din exteriorul dulapului către baza plitei.
- Dacă plita este instalată deasupra unui sertar sau a unui dulap, sub baza plitei este instalată o barieră de protectie termică.
- Comutatorul de izolare este uşor accesibil de către client.
Înainte de a localiza suporturile de fixare
Unitatea trebuie amplasată pe o suprafață stabilă, netedă (utilizați ambalajul). Nu aplicați forță pe comenzile care ies în relief.
Localizarea suporturilor de fixare
- Unitatea trebuie amplasată pe o suprafață stabilă, netedă (utilizați ambalajul). Nu aplicati forță pe comenzile care ies în relief.
- Fixați plita pe suprafața de lucru înșurubând cele patru suporturi pe partea inferioară a plitei (vedeți imaginea) după instalare.
- Reglați poziția suportului pentru a se potrivi la diferitele grosimi ale suprafeței de lucru.

text_image
Plită Tabel Suport
text_image
Plită Tabel Suport
- Plita trebuie instalată de personal sau tehnicieni calificați. Vă punem la dispoziție profesioniști. Nu efectuați niciodată o operațiune chiar dvs.
- Plita nu trebuie montată pe echipamente de răcire, mașini de spălat vase și uscătoare rotative.
- Plita trebuie instalată astfel încât să poată fi asigurată o mai bună iradiere a căldurii pentru a-i îmbunătăți fiabilitatea.
- Peretele și zona de încălzire de deasupra suprafeței blatului trebuie să fie rezistente la căldură.
- Pentru a evita orice daune, stratul sandvici și adezivul trebuie să fie rezistente la căldură.
- Nu trebuie utilizat un dispozitiv de curățat cu aburi.
- Această plită ceramică poate fi conectată numai la o sursă cu impedanța sistemului de cel mult 0,427 ohmi. În cazul în care este necesar, consultați furnizorul pentru informații despre impedanța sistemului.
Conectarea plitei la rețeaua de alimentare
Sursa de alimentare trebuie conectată în conformitate cu standardul relevant sau un disjunctor de circuit cu o singură bornă. Metoda de conectare este afişată mai jos.

text_image
L1 N1 N2 L2 L N PE L-N:220-240V ~
text_image
L1 L1 N1 N2 L2 L1 N PE L2 L1-L2:380-415V ~- În cazul în care cablul este deteriorat sau trebuie înlocuit, acest lucru trebuie efectuat de un tehnician post-vânzare folosind instrumentele adecvate, astfel încât să se evite orice accidente.
- Dacă aparatul este conectat direct la rețeaua principală de alimentare, trebuie instalat in disjuncor omnipolar cu un spațiu minim de 3 mm între contacte.
- Instalatorul trebuie să se asigure că s-a efectuat conexiunea electrică corectă și că este conformă cu regulamentele de siguranță.
• Cablul nu trebuie îndoit sau comprimat. - Cablul trebuie verificat periodic și trebuie înlocuit numai de către o persoană calificată corespunzător.

ELIMINARE: Nu eliminați acest produs ca deșeu municipal nesortat. Este necesară colectarea separată a acestor deșeuri pentru un tratament special.
Acest aparat este etichetat în conformitate cu Directiva europeană 2012/19/UE pentru deșeurile de echipamente electrice și electronice (DEEE). Asigurându-vă că acest aparat este eliminat corect, veți ajuta la prevenirea oricăror daune posibile aduse mediului înconjurător și sănătății umane, care se pot produce dacă este eliminat într-o manieră greșită.
Simbolul de pe produs indică că nu poate fi tratat ca deșeu menajer normal. Acesta trebuie dus la un punct de colectare pentru reciclarea bunurilor electrice și electronice.
Acest aparat necesită eliminarea specializată a deșeurilor. Pentru mai multe informații privind întreținerea, recuperarea și reciclarea acestui produs, contactați consiliul local, serviciul de eliminare a deșeurilor sau magazinul de unde l-ați achiziționat.
Pentru informații detaliate privind tratamentul, recuperarea și reciclarea acestui produs, vă rugăm să vă contactați consiliul local, serviciul dvs. de eliminare a deșeurilor sau magazinul de unde ați achiziționat produsul.
ManualUșor