CI633CBB/1 - Επαγωγική εστία CANDY - Δωρεάν εγχειρίδιο χρήσης
Βρείτε δωρεάν το εγχειρίδιο της συσκευής CI633CBB/1 CANDY σε μορφή PDF.
Κατεβάστε τις οδηγίες για το Επαγωγική εστία σε μορφή PDF δωρεάν! Βρείτε το εγχειρίδιό σας CI633CBB/1 - CANDY και πάρτε ξανά την ηλεκτρονική σας συσκευή στα χέρια σας. Σε αυτή τη σελίδα δημοσιεύονται όλα τα έγγραφα που απαιτούνται για τη χρήση της συσκευής σας. CI633CBB/1 της μάρκας CANDY.
ΕΓΧΕΙΡΊΔΙΟ ΧΡΉΣΗΣ CI633CBB/1 CANDY
Εγχειρίδιο οδηγιών για επαγωγική εστία
ΕΛΛΗΝΙΚΑ
Λήψη της εφαρμογής hΟη
Μέσω της εφαρμογής hΟη αποκτάτε πρόσβαση σε πολλές συνταγές και σε επιπλέον περιεχόμενο

text_image
hOn
ΠΡΟΕΙΔΟΠΟΙΗΣΕΙΣ ΓΙΑ ΤΗΝ ΑΣΦΑΛΕΙΑ
ΔΙΑΒΑΣΤΕ ΠΡΟΣΕΚΤΙΚΑ ΤΙΣ ΠΑΡΑΚΑΤΩ ΟΔΗΓΙΕΣ ΠΡΙΝ ΧΡΗΣΙΜΟΠΟΙΗΣΕΤΕ ΤΗ ΣΥΣΚΕΥΗ.
Εγκατάσταση
Κίνδυνος ηλεκτροπληξίας
- Αποσυνδέετε τη συσκευή από την παροχή ηλεκτρικού ρεύματος πριν εκτελέσετε οποιαδήποτε εργασία ή συντήρηση σε αυτήν.
- Η σύνδεση με ένα καλό σύστημα καλωδίωσης γείωσης είναι απαραίτητη και υποχρεωτική.
• Τα μέσα αποσύνδεσης πρέπει να είναι ενσωματωμένα στη σταθερή καλωδίωση σύμφωνα με τους κανόνες καλωδίωσης. - Αλλαγές στο οικιακό σύστημα καλωδίωσης πρέπει να γίνονται μόνο από εξειδικευμένο ηλεκτρολόγο.
- Η μη τήρηση αυτών των συμβουλών μπορεί να οδηγήσει σε ηλεκτροπληξία ή θάνατο.
Κίνδυνος από κόψιμο
• Προσέξτε - οι ακμές της επιφάνειας είναι κοφτερές.
- Η έλλειψη προσοχής μπορεί να οδηγήσει σε τραυματισμό ή κοψίματα.
Σημαντικές οδηγίες ασφάλειας
- Διαβάστε προσεκτικά αυτές τις οδηγίες πριν από την εγκατάσταση ή τη χρήση αυτής της συσκευής.
- Δεν πρέπει να τοποθετούνται ποτέ καύσιμα ή προϊόντα πάνω σε αυτήν τη συσκευή.
- Φροντίστε να διαθέσετε τις πληροφορίες αυτές στον υπεύθυνο για την εγκατάσταση της συσκευής, καθώς αυτό θα μπορούσε να μειώσει το κόστος εγκατάστασης.
- Προκειμένου να αποφευχθεί κάθε κίνδυνος, αυτή η συσκευή πρέπει να εγκαθίσταται σύμφωνα με αυτές τις οδηγίες εγκατάστασης.
• Αυτή η συσκευή πρέπει να εγκαθίσταται και να γειώνεται
σωστά μόνο από άτομο με κατάλληλα πιστοποιημένα προσόντα.
- Αυτή η συσκευή πρέπει να συνδέεται σε κύκλωμα που ενσωματώνει διακόπτη απομόνωσης ηλεκτρικού ρεύματος και ο οποίος εξασφαλίζει πλήρη αποσύνδεση από την παροχή ρεύματος.
- ΠΡΟΕΙΔΟΠΟΙΗΣΗ: Χρησιμοποιείτε μόνο προστατευτικά εστιών που έχουν σχεδιαστεί από τον κατασκευαστή της συσκευής μαγειρέματος ή συνιστώνται από τον κατασκευαστή της συσκευής στις οδηγίες χρήσης ως κατάλληλες ή προστατευτικά εστιών που είναι ενσωματωμένα στη συσκευή. Η χρήση ακατάλληλων προφυλακτικών εστιών μπορεί να προκαλέσει ατυχήματα.
- Λανθασμένη εγκατάσταση της συσκευής θα μπορούσε να ακυρώσει τυχόν αξιώσεις στα πλαίσια της εγγύησης ή αξιώσεις αστικής ευθύνης.
- Όσον αφορά τις λεπτομέρειες της εγκατάστασης, ανατρέξτε στην ενότητα <Εγκατάσταση>.
Λειτουργία και συντήρηση
Κίνδυνος ηλεκτροπληξίας
- Μην μαγειρεύετε σε σπασμένη ή ραγισμένη επιφάνεια εστιών. Εάν η επιφάνεια των εστιών έχει σπάσει ή αν υπάρχουν ρωγμές, αποσυνδέστε αμέσως τη συσκευή από την παροχή του δικτύου (πρίζα του τοίχου) και επικοινωνήστε με τεχνικό με πιστοποιημένα προσόντα.
- Απενεργοποιείτε την εστία βγάζοντας (το φις) από την πρίζα του τοίχου πριν από τον καθαρισμό ή τη συντήρηση.
- Η μη τήρηση αυτών των συμβουλών μπορεί να οδηγήσει σε ηλεκτροπληξία ή θάνατο.
Κίνδυνος υγείας
- Αυτή η συσκευή συμμορφώνεται με τα πρότυπα ηλεκτρομαγνητικής ασφάλειας.
Κίνδυνος εξαιτίας καυτής επιφάνειας
- Κατά τη χρήση, προσβάσιμα μέρη αυτής της συσκευής ζεσταίνονται τόσο ώστε να μπορούν να προκαλέσουν εγκαύματα.
- Μην αφήνετε το σώμα σας, τα ρούχα σας ή οποιοδήποτε άλλο αντικείμενο εκτός από τα κατάλληλα μαγειρικά σκεύη να έρχονται σε επαφή με τη γυάλινη κεραμική επιφάνεια της επαγωγικής εστίας έως ότου κρυώσει η επιφάνεια.
- Δεν πρέπει να τοποθετούνται στην επιφάνεια της εστίας μεταλλικά αντικείμενα όπως μαχαίρια, πιρούνια, κουτάλια και καπάκια καθώς μπορεί να ζεσταθούν. 4
- Παιδιά ηλικίας κάτω των 8 ετών πρέπει να παραμένουν σε απόσταση, εκτός εάν παρακολουθούνται συνεχώς.
- Οι λαβές των σκευών μπορεί να είναι ζεστές κατά την αφή. Φροντίστε οι λαβές της σκευών να μην προεξέχουν ώστε να καλύπτουν άλλες ζώνες μαγειρέματος που είναι ενεργοποιημένες. Φροντίστε οι λαβές να βρίσκονται σε σημεία που δεν φτάνουν τα παιδιά.
- Εάν δεν ακολουθήσετε αυτές τις συμβουλές, ενδέχεται να προκληθούν εγκαύματα και ζεματίσματα.
Κίνδυνος από κόψιμο
- Η κοφτερή λεπίδα της ξύστρας της επιφάνειας εστιών είναι εκτεθειμένη όποτε ανασύρεται το κάλυμμα ασφαλείας. Πρέπει να χρησιμοποιείται με εξαιρετική προσοχή και να παραμένει φυλαγμένη με ασφάλεια σε σημείου που δεν φτάνουν τα παιδιά.
- Η έλλειψη προσοχής μπορεί να οδηγήσει σε τραυματισμό ή κοψίματα.
Σημαντικές οδηγίες ασφάλειας
- Μην αφήνετε ποτέ τη συσκευή χωρίς επίβλεψη όταν τη χρησιμοποιείτε. Το ξεχείλισμα προκαλεί καπνούς και διαρροή λιπαρών υγρών που μπορεί να αναφλεγούν.
-
Μην χρησιμοποιείτε ποτέ τη συσκευή σας ως επιφάνεια εργασίας ή αποθήκευσης.
-
Μην αφήνετε ποτέ αντικείμενα ή σκεύη πάνω στη συσκευή.
- Μην χρησιμοποιείτε ποτέ τη συσκευή σας για να ζεσταθείτε ή για θέρμανση του χώρου.
- Μετά τη χρήση, απενεργοποιείτε πάντοτε τις ζώνες μαγειρέματος και την εστία όπως περιγράφεται σε αυτό το εγχειρίδιο (χρησιμοποιώντας δηλαδή τα χειριστήρια αφής). Μην βασίζεστε στη λειτουργία ανίχνευσης σκεύους για την απενεργοποίηση των ζωνών μαγειρέματος αφαιρώντας το σκεύος.
- Μην επιτρέπετε στα παιδιά να παίζουν με τη συσκευή ή να κάθονται, στέκονται ή ανεβαίνουν σε αυτή.
- Μην αποθηκεύετε αντικείμενα που ενδιαφέρουν τα παιδιά σε ντουλάπια που βρίσκονται πάνω από τη συσκευή. Τα παιδιά που ανεβαίνουν στην εστία μπορεί να τραυματιστούν σοβαρά.
- Μην αφήνετε τα παιδιά μόνα ή χωρίς επίβλεψη στην περιοχή όπου χρησιμοποιείται η συσκευή.
- Παιδιά ή άτομα με αναπηρία που περιορίζει την ικανότητά τους να χρησιμοποιούν τη συσκευή θα πρέπει να συνοδεύονται από υπεύθυνο και ικανό άτομο που θα τα εκπαιδεύσει στη χρήση της. Ο εκπαιδευτής αυτός θα πρέπει να είναι ικανοποιημένος ότι μπορούν να χρησιμοποιούν τη συσκευή χωρίς κίνδυνο για τον εαυτό τους ή το περιβάλλον τους.
- Μην επισκευάζετε και μην αντικαθιστάτε οποιοδήποτε εξάρτημα της συσκευής, εκτός εάν αυτό συνιστάται ρητά στο εγχειρίδιο. Όλες οι άλλες εργασίες επισκευής πρέπει να γίνονται μόνο από τεχνικό με πιστοποιημένα προσόντα.
- Μην χρησιμοποιείτε ατμοκαθαριστή για να καθαρίσετε την επιφάνεια των εστιών.
- Μην τοποθετείτε και μην ρίχνετε βαριά αντικείμενα πάνω στην επιφάνεια εστιών της συσκευής σας.
- Μην στέκεστε πάνω στην επιφάνεια εστιών της συσκευής σας.
-
Μην χρησιμοποιείτε σκεύη με αιχμηρές άκρες και μην σύρετε τα σκεύη στην γυάλινη επιφάνεια καθώς έτσι μπορεί να γρατσουνιστεί το γυαλί.
-
Μην χρησιμοποιείτε συρμάτινα σφουγγαράκια ή άλλα σκληρά λειαντικά καθαριστικά για να καθαρίσετε την επιφάνεια των εστιών, καθώς αυτά μπορούν να γρατσουνίσουν την γυάλινη κεραμική επιφάνεια.
- Αν το καλώδιο παροχής ρεύματος έχει φθαρεί πρέπει να αντικαθίσταται από τον κατασκευαστή ή τον αντιπρόσωπο σέρβις ή από άλλα πρόσωπα με παρόμοια πιστοποιημένα προσόντα ώστε να αποφεύγεται κάθε κίνδυνος.
- Αυτή η συσκευή προορίζεται για χρήση μόνο σε περιβάλλον οικιακού νοικοκυριού! Εμπορική χρήση οποιουδήποτε είδους δεν καλύπτεται από την εγγύηση του κατασκευαστή!
- ΠΡΟΕΙΔΟΠΟΙΗΣΗ: Η συσκευή και τα προσβάσιμα μέρη της θερμαίνονται κατά τη διάρκεια της χρήσης. Τα μικρά παιδιά δεν επιτρέπεται να πλησιάζουν.
- Πρέπει να λαμβάνεται μέριμνα ώστε να αποφευχθεί η επαφή με θερμαντικά στοιχεία.
- Παιδιά ηλικίας κάτω των 8 ετών πρέπει να παραμένουν σε απόσταση, εκτός εάν παρακολουθούνται συνεχώς.
- Η συσκευή αυτή μπορεί να χρησιμοποιείται από παιδιά ηλικίας άνω των 8 ετών και από άτομα με μειωμένες σωματικές, αισθητηριακές ή διανοητικές ικανότητες ή έλλειψη εμπειρίας και γνώσης, εφόσον βρίσκονται υπό εποπτεία ή εάν έχουν εκπαιδευτεί στη χρήση της συσκευής με ασφαλή τρόπο και έχουν κατανοήσει τους σχετικούς κινδύνους.
- Τα παιδιά δεν επιτρέπεται να παίζουν με τη συσκευή. Ο καθαρισμός και η οι εργασίες συντήρησης χρήστη απαγορεύεται να γίνονται από παιδιά χωρίς επιτήρηση.
- ΠΡΟΕΙΔΟΠΟΙΗΣΗ: Το μαγείρεμα χωρίς επίβλεψη σε εστίες με λίπος ή λάδι μπορεί να είναι επικίνδυνο και ενδέχεται να προκαλέσει πυρκαγιά. Μην προσπαθείτε ΠΟΤΕ να σβήσετε μια φωτιά με νερό, αλλά απενεργοποιήστε τη συσκευή και, στη συνέχεια, καλύψτε τη φλόγα π.χ. με ένα καπάκι ή με πυρίμαχη κουβέρτα πυρκαγιάς.
• ΠΡΟΕΙΔΟΠΟΙΗΣΗ: Κίνδυνος πυρκαγιάς: μην αποθηκεύετε
αντικείμενα στις επιφάνειες μαγειρέματος.
- ΠΡΟΕΙΔΟΠΟΙΗΣΗ: Εάν η επιφάνεια έχει ρωγμές, απενεργοποιήστε τη συσκευή για να αποφύγετε το ενδεχόμενο ηλεκτροπληξίας, σε περίπτωση επιφανειών εστιών από κεραμικό γυαλί ή παρόμοιο υλικό που προστατεύει ηλεκτροφόρα τμήματα.
- Δεν πρέπει να χρησιμοποιείται ατμοκαθαριστής.
- Η συσκευή δεν προορίζεται να λειτουργεί μέσω εξωτερικού χρονοδιακόπτη ή ξεχωριστού συστήματος τηλεχειρισμού.
- ΠΡΟΣΟΧΗ: Η διαδικασία μαγειρέματος πρέπει να εποπτεύεται συνεχώς. Μια σύντομη διεργασία μαγειρέματος πρέπει να εποπτεύεται συνεχώς.
- Το καλώδιο παροχής ρεύματος δεν πρέπει να είναι προσβάσιμο μετά την εγκατάσταση.
Επισκόπηση προϊόντος
Κάτοψη

text_image
2 b 3 1 b 4 b 5 CANEXCI642CBB/1
- Zώνη 2.300 W, ενίσχυση έως τα 3.000 W
- Zώνη 1.200 W, ενίσχυση έως τα 1.500 W
- Zώνη 1.800 W, ενίσχυση έως τα 2.100 W
- Zώνη 1.200 W, ενίσχυση έως τα 1.500 W
- Πίνακας ελέγχου

text_image
2 b 1 b 3 4 B B B Ω Φ Φ (Φ) 测得 - ① + ①CI633CBB/1
- Zώνη 1.800 W, ενίσχυση έως τα 2.100 W
- Zώνη 1.200 W, ενίσχυση έως τα 1.500 W
- Zώνη 3.000 W, ενίσχυση έως τα 3.600 W
- Πίνακας ελέγχου
Ο πίνακας ελέγχου

text_image
5 5 5 5 8 8 8 8 □ □ □ □ /⑪ - ✓ + ⏻ 4 2 3 2 1CI642CBB/1
-
Χειριστήριο ON/OFF (Ενεργοποίηση/Απενεργοποίηση)
-
Πλήκτρα ρύθμισης ισχύος/διάρκειας χρονοδιακόπτη
-
Χειριστήριο χρονοδιακόπτη
-
Χειριστήριο παύσης/κλειδώματος πλήκτρων
-
Χειριστήρια επιλογής ζώνης θέρμανσης

text_image
5 5 5 6 8 8 8 □ □ 88 □ b /□ - ✓ + ⏻ 4 2 3 2 1CI633CBB/1
-
Χειριστήριο ON/OFF (Ενεργοποίηση/Απενεργοποίηση)
-
Πλήκτρα ρύθμισης ισχύος/διάρκειας χρονοδιακόπτη
-
Χειριστήριο χρονοδιακόπτη
-
Χειριστήριο παύσης/κλειδώματος πλήκτρων
-
Χειριστήρια επιλογής ζώνης θέρμανσης
-
Χειριστήριο ενίσχυσης
Στοιχεία προϊόντος
Η κεραμική/επαγωγική εστία μπορεί να καλύψει διαφορετικές απαιτήσεις μαγειρέματος λόγω της θέρμανσης με αντίσταση σύρματος, του ελέγχου με μικροεπεξεργαστή και της επιλογής πολλαπλών ισχύων με αποτέλεσμα να είναι πραγματικά η βέλτιστη επιλογή για σύγχρονες οικογένειες.
Η εστία εστιάζει στους πελάτες και νιοθετεί εξατομικευμένο σχεδιασμό. Η εστία έχει ασφαλείς και αξιόπιστες επιδόσεις, κάνοντας τη ζωή σας άνετη και δίνοντάς σας τη δυνατότητα να απολαύσετε πλήρως την ευχαρίστηση της ζωής.
Λίγα λόγια για το μαγείρεμα με επαγωγικές εστίες
Το μαγείρεμα με επαγωγικές εστίες είναι μια ασφαλής, προηγμένη, αποτελεσματική και οικονομική τεχνολογία μαγειρέματος. Λειτουργεί με ηλεκτρομαγνητικές δονήσεις που παράγουν θερμότητα απευθείας στο σκεύος και όχι έμμεσα μέσω θέρμανσης της γυάλινης επιφάνειας. Η γυάλινη επιφάνεια ζεσταίνεται μόνο επειδή τελικά τη θερμαίνει το σκεύος.

κεραμική γυάλινη πλάκα
επαγωγικό πηνίο
επαγώμενα ηλεκτρικά ρεύματα
Πριν χρησιμοποιήσετε την νέα σας επαγωγική εστία
- Διαβάστε τον παρόντα οδηγό, λαμβάνοντας ιδιαίτερα υπόψη την ενότητα «Προειδοποιήσεις Ασφαλείας».
- Αφαιρέστε τυχόν προστατευτική μεμβράνη που μπορεί να βρίσκεται ακόμη επάνω στην επαγωγική εστία σας.
Χρήση των χειριστηρίων αφής
• Τα χειριστήρια ανταποκρίνονται στην αφή, οπότε δεν χρειάζεται να ασκείτε πίεση.
• Χρησιμοποιείτε τη ρώγα του δακτύλου σας, όχι την άκρη του.
- Κάθε φορά που καταγράφεται ένα άγγιγμα ακούγεται ένα ηχητικό σήμα.
- Βεβαιωθείτε ότι τα χειριστήρια είναι πάντα καθαρά, στεγνά και ότι δεν υπάρχει κάποιο αντικείμενο (π.χ. ένα σκεύος ή ένα πανί) που τα καλύπτει. Ακόμη και μια λεπτή μεμβράνη νερού μπορεί να δυσκολεύει τον χειρισμό των χειριστηρίων.

- Χρησιμοποιείτε μόνο μαγειρικά σκεύη με βάση κατάλληλη για επαγωγικό μαγείρεμα. Αναζητήστε το σύμβολο επαγωγής στη συσκευασία ή στο κάτω μέρος του σκεύους.
-
Μπορείτε να ελέγξετε αν τα σκεύη σας είναι κατάλληλα, πραγματοποιώντας μια δοκιμή με μαγνήτες. Κινήστε έναν μαγνήτη προς τη βάση του σκεύους. Εάν έλκεται, το σκεύος είναι κατάλληλο για χρήση με επαγωγή.
• Εάν δεν έχετε μαγνήτη: -
Βάλτε λίγο νερό στο σκεύος που θέλετε να ελέγξετε.
- Ακολουθήστε τα βήματα στην ενότητα «Για να ξεκινήσετε το μαγείρεμα».
- Εάν στην οθόνη δεν αναβοσβήνει η ένδειξη και το νερό θερμαίνεται, το σκεύος είναι κατάλληλο.
- Δεν είναι κατάλληλα τα μαγειρικά σκεύη που είναι κατασκευασμένα από τα ακόλουθα υλικά: καθαρός ανοξείδωτος χάλυβας, αλουμίνιο ή χαλκός χωρίς μαγνητική βάση, γυαλί, ξύλο, πορσελάνη, κεραμικά και πήλινα σκεύη.

| Μέγεθος καυστήρα (mm) | Το μικρότερο σκεύος (διάμετρος /mm) |
| 160 | 120 |
| 180 | 140 |
| 210 | 160 |
| 280 | 180 |
Μην χρησιμοποιείτε μαγειρικά σκεύη με αιχμηρές άκρες ή καμπύλη βάση.

Βεβαιωθείτε ότι η βάση του σκεύους σας είναι λεία, εφάπτεται εξ' ολοκλήρου και επίπεδα πάνω στο γυαλί και έχει το ίδιο μέγεθος με τη ζώνη μαγειρέματος. Να κεντράρετε πάντα το σκεύος σας στη ζώνη μαγειρέματος.

Na avasηκώνετε πάντοτε τα σκεύη από την επαγωγική εστία όταν τα μετακινείτε - μην τα σύρετε, γιατί μπορεί να γρατζουνίσουν το γυαλί.

- Χρησιμοποιείτε σκεύη των οποίων η διάμετρος της σιδηρομαγνητικής περιοχής (βάση του σκεύους) βρίσκεται εντός του εύρους των διαστάσεων στον παρακάτω πίνακα. (Πίνακας 1)
- Εάν χρησιμοποιείτε μικρότερα σκεύη, θα μπορούσε να επηρεαστεί η απόδοση - Εάν χρησιμοποιείτε σκεύος με διάμετρο μικρότερη από αυτήν που αναγράφεται στον παραπάνω πίνακα, ενδέχεται να μην ανιχνεύονται τα σκεύη
Ανάλογα με τις διαστάσεις της ζώνης, μπορείτε να χρησιμοποιείτε σκεύη διαφορετικών διαμέτρων, όπως φαίνεται στην παρακάτω εικόνα:

- Εάν το σιδηρομαγνητικό μέρος καλύπτει μόνο εν μέρει τη βάση του σκεύους, θερμαίνεται μόνο η σιδηρομαγνητική περιοχή ενώ το υπόλοιπο της βάσης μπορεί να μην θερμανθεί επαρκώς ώστε να φτάσει τη θερμοκρασία μαγειρέματος.

- Εάν η σιδηρομαγνητική περιοχή δεν είναι ομοιογενής, αλλά περιλαμβάνει και άλλα υλικά όπως το αλουμίνιο, αυτό μπορεί να επηρεάσει τη θέρμανση και την ανίχνευση του σκεύους.
Εάν η βάση του σκεύους είναι παρόμοια με τις ακόλουθες εικόνες το σκεύος μπορεί να μην ανιχνευτεί.

Χρησιμοποιώντας την επαγωγική εστία
Για να ξεκινήσετε το μαγείρεμα
- Μετά την ενεργοποίηση, ο βομβητής ηχεί μία φορά, όλες οι ενδείξεις ανάβουν για 1 δευτερόλεπτο και στη συνέχεια σβήνουν, υποδεικνύοντας ότι η εστία έχει εισέλθει σε κατάσταση αναμονής.
- Αγγίξτε τον διακόπτη ON/OFF (Ενεργοποίηση/Απενεργοποίηση) Ⓑ, όλες οι ενδείξεις δείχνουν «-»
- Τοποθετήστε ένα κατάλληλο σκεύος στη ζώνη μαγειρέματος που θέλετε να χρησιμοποιήσετε. Εξασφαλίστε ότι η επιφάνεια του κάτω μέρους του σκεύους και η επιφάνεια της ζώνης μαγειρέματος είναι καθαρές και στεγνές.
- Αγγίζοντας το χειριστήριο επιλογής ζώνης θέρμανσης, αναβοσβήνει μια ένδειξη δίπλα στο πλήκτρο
- Επιλέξτε μια ρύθμιση θέρμανσης αγγίζοντας το χειριστήριο «-» ή «+».
- Εάν δεν επιλέξετε ρύθμιση θέρμανσης εντός 1 λεπτού, η επαγωγική εστία απενεργοποιείται αυτόματα. Θα πρέπει να ξεκινήσετε ξανά από το βήμα 1.
- Μπορείτε να τροποποιήσετε τη ρύθμιση θέρμανσης ανά πάσα στιγμή κατά τη διάρκεια του μαγειρέματος.

Όταν τελειώσετε το μαγείρεμα
- Αγγίζοντας το χειριστήριο επιλογής ζώνης θέρμανσης που θέλετε να απενεργοποιήσετε
- Απενεργοποιήστε τη ζώνη μαγειρέματος σύροντας προς τα κάτω έως το «0». Βεβαιωθείτε ότι η οθόνη δείχνει «0».
- Απενεργοποιήστε ολόκληρη την εστία αγγίζοντας το κουμπί ON/OFF (Ενεργοποίηση/Απενεργοποίηση).

text_image
8
text_image
Απενεργοποίηση I- Προσοχή στις θερμές επιφάνειες
Εμφανίζεται η ένδειξη «Η» που σημαίνει ότι η ζώνη μαγειρέματος είναι πολύ ζεστή και δεν πρέπει να την αγγίξετε. Η ένδειξη σβήνει όταν η θερμοκρασία της επιφάνειας έχει μειωθεί σε ασφαλές επίπεδο. Μπορεί επίσης να χρησιμοποιηθεί ως λειτουργία εξοικονόμησης ενέργειας εάν θέλετε να θερμάνετε επιπλέον σκεύη, χρησιμοποιώντας την επιφάνεια που είναι ακόμα ζεστή.

Χρησιμοποιώντας τη διαχείριση ισχύος
μπορείτε να ορίσετε ένα μέγιστο επίπεδο απορρόφησης ισχύος για την επαγωγική εστία, επιλέγοντας διαφορετικές κλίμακες εύρους ισχύος.
Οι επαγωγικές εστίες είναι σε θέση να αυτοπεριορίζονται αυτόματα προκειμένου να λειτουργούν σε χαμηλότερο επίπεδο ισχύος, ώστε να αποφευχθεί ο κίνδυνος υπερφόρτωσης.
Για να εισέλθετε στη λειτουργία διαχείρισης ενέργειας
- Ενεργοποιήστε την εστία και, στη συνέχεια, πατήστε ταυτόχρονα το «+» (χρονοδιακόπτης) και το κλείδωμα πλήκτρων. Η ένδειξη χρονοδιακόπτη εμφανίζει «P5» που σημαίνει επίπεδο ισχύος 5. Ο προεπιλεγμένος τρόπος λειτουργίας είναι στα 7,2 kW.

Για μεταγωγή σε άλλο επίπεδο
Πατήστε +/- από τον χρονοδιακόπτη. Υπάρχουν 5 επίπεδα ισχύος, από το «Ρ1» έως το «Ρ5». Η ένδειξη χρονοδιακόπτη εμφανίζει ένα από αυτά.
«P1»: η μέγιστη ισχύς είναι 2,5 kW.
«P2»: η μέγιστη ισχύς είναι 3,5 kW.
«P3»: η μέγιστη ισχύς είναι 4,5 kW.
«P4»: η μέγιστη ισχύς είναι 5,5 kW.
«P5»: η μέγιστη ισχύς είναι 7,2 kW.

Επιβεβαίωση και έξοδος από τη λειτουργία διαχείρισης ισχύος
Πατήστε ταυτόχρονα το «+» (χρονοδιακόπτης) και το κλείδωμα των πλήκτρων για επιβεβαίωση, κατόπιν η εστία απενεργοποιείται.

Χρήση της λειτουργίας ενίσχυσης (Boost)
Ενεργοποίηση της λειτουργίας ενίσχυσης
- Επιλέξτε τη ζώνη με λειτουργία ενίσχυσης (ζώνη εμπρός αριστερά).
- Αγγίζοντας το πλήκτρο «συν» + έως ότου η ένδειξη επιπέδου ισχύος εμφανίσει «Ρ».
Ακύρωση λειτουργίας ενίσχυσης
- Επιλέξτε τη ζώνη με λειτουργία ενίσχυσης (ζώνη εμπρός αριστερά).
- Αγγίζοντας το πλήκτρο «μείον» — για να ακυρώσετε τη λειτουργία ενίσχυσης και επιλέξτε το επίπεδο που θέλετε να ορίσετε.
• Η λειτουργία ενίσχυσης μπορεί να διαρκεί για 5 λεπτά μόνο και μετά από αυτό το διάστημα η ζώνη μετάγεται αυτόματα στο επίπεδο 9.

Χρήση της λειτουργίας Παύση
- Πατήστε το χειριστήριο Παύσης, 📄/⑪ οι ζώνες θέρμανσης διακόπτουν τη λειτουργία τους. Όλες οι ενδείξεις ζώνης δείχνουν «||»

-
Πατήστε το χειριστήριο Παύσης 📄/⑪ για άλλη μια φορά, όλες οι ζώνες θέρμανσης επανέρχονται στην αρχική τους ρύθμιση.
-
Η λειτουργία είναι διαθέσιμη όταν λειτουργούν μία ή περισσότερες ζώνες θέρμανσης.
- Εάν δεν ακυρώσετε τη λειτουργία διακοπής λειτουργίας εντός 30 λεπτών, η επαγωγική εστία απενεργοποιείται αυτόματα.
Κλείδωμα χειριστηρίων
- Μπορείτε να κλειδώσετε τα χειριστήρια για να αποτρέψετε την ακούσια χρήση (για παράδειγμα, τα παιδιά ενεργοποιούν κατά λάθος τις ζώνες μαγειρέματος).
- Όταν τα χειριστήρια είναι κλειδωμένα, απενεργοποιούνται όλα τα χειριστήρια εκτός από το χειριστήριο ON/OFF (Ενεργοποίηση/Απενεργοποίηση).
Για να κλειδώσετε τα χειριστήρια
Αγγίξτε το χειριστήριο κλειδώματος των πλήκτρων 📄/⓪ για 2 δευτερόλεπτα. Η ένδειξη χρονοδιακόπτη δείχνει «Lo».
Για να ξεκλειδώσετε τα χειριστήρια
- Εξασφαλίστε ότι η εστία είναι ενεργοποιημένη.
- Αγγίξτε παρατεταμένα το χειριστήριο κλειδώματος πλήκτρων 📄/⑪ για 2 δευτερόλεπτα.
- Τώρα μπορείτε να αρχίσετε να χρησιμοποιείτε την εστία σας.

Όταν η εστία είναι σε κατάσταση κλειδώματος, όλα τα χειριστήρια είναι απενεργοποιημένα εκτός από το ΟΝ/ΟFF (Ενεργοποίηση/Απενεργοποίηση), μπορείτε πάντα να απενεργοποιήσετε την εστία με το χειριστήριο ΟΝ/ΟFF (Ενεργοποίηση/Απενεργοποίηση) σε περίπτωση έκτακτης ανάγκης, αλλά θα πρέπει να ξεκλειδώσετε την εστία πρώτα στην επόμενη λειτουργία.
Προειδοποίηση υπολειμματικής θερμότητας
Όταν η εστία έχει λειτουργήσει για κάποιο χρονικό διάστημα, υπάρχει κάποια υπολειπόμενη θερμότητα. Η ένδειξη με το γράμμα «Η» εμφανίζεται για να σας προειδοποιήσει να μην πλησιάσετε.

Αυτόματος τερματισμός λειτουργίας
Το χαρακτηριστικό ασφαλείας της εστίας είναι ο αυτόματος τερματισμός λειτουργίας. Αυτό συμβαίνει όποτε ξεχάσετε να απενεργοποιήσετε μια ζώνη μαγειρέματος. Οι προεπιλεγμένοι χρόνοι τερματισμού λειτουργίας παρουσιάζονται στον παρακάτω πίνακα:
| Επίπεδο ισχύος | 1 | 2 | 3 | 4 | 5 | 6 | 7 | 8 | 9 |
| Προεπιλεγμένος χρονοδιακόπτης λειτουργίας (ώρα) | 8 | 8 | 8 | 4 | 4 | 4 | 2 | 2 | 2 |
Χρήση του χρονοδιακόπτη
Μπορείτε να χρησιμοποιήσετε τον χρονοδιακόπτη με δύο διαφορετικούς τρόπους:
- Μπορείτε να τον χρησιμοποιήσετε ως υπενθύμιση. Σε αυτή τη περίπτωση, ο χρονοδιακόπτης δεν απενεργοποιεί κάποια ζώνη μαγειρέματος όταν εκπνεύσει ο καθορισμένος χρόνος.
- Μπορείτε να τον χρησιμοποιήσετε ως χρονοδιακόπτη διακοπής για να απενεργοποιήσετε μία ή περισσότερες ζώνες μαγειρέματος μετά την εκπνοή του χρόνου.
- Μπορείτε να ρυθμίσετε τον χρονοδιακόπτη έως και στα 99 λεπτά.
Χρήση του χρονοδιακόπτη για υπενθύμιση
- Βεβαιωθείτε ότι η εστία είναι ενεργοποιημένη. Και το πλήκτρο επιλογής ζώνης δεν είναι ενεργοποιημένο (η ένδειξη ζώνης δεν αναβοσβήνει).
Σημείωση: μπορείτε να ρυθμίσετε τον χρονοδιακόπτη υπενθύμισης πριν ή μετά την ολοκλήρωση της ρύθμισης ισχύος της ζώνης μαγειρέματος.
- Αγγίξτε το πλήκτρο χρονοδιακόπτη, στην οθόνη του χρονοδιακόπτη εμφανίζεται η ένδειξη «00» και το «0» θα αναβοσβήνει.
- Ρυθμίστε τον χρόνο από 1 έως 99 λεπτά αγγίζοντας το χειριστήριο «-» ή «+» του χρονοδιακόπτη (π.χ. 5)
- Πατήστε το «+» μία φορά για να αυξήσετε τον χρόνο κατά ένα λεπτό, πατήστε το «-» μία φορά για να μειώσετε τον χρόνο κατά ένα λεπτό. Όταν ο καθορισμένος χρόνος υπερβεί τα 99 λεπτά, επανέρχεται αυτόματα στο «00», εάν πατηθούν ταυτόχρονα τα πλήκτρα «-» και «+», η ένδειξη εμφανίζει «00».
- Μόλις οριστεί ο χρόνος, αρχίζει αμέσως η αντίστροφη μέτρηση. Στην οθόνη εμφανίζεται ο χρόνος που απομένει.
- Όταν εκπνεύσει ο ορισμένος χρόνος, ο βομβητής ηχεί για 30 δευτερόλεπτα και η ένδειξη του χρονοδιακόπτη γίνεται «--».
Ακύρωση χρονοδιακόπτη
Αφού ρυθμίσετε ξανά τον χρόνο, κρατήστε παρατεταμένα το πλήκτρο «Timer» για 5 δευτερόλεπτα, ακυρώνοντας έτσι τον χρονοδιακόπτη ενώ η ένδειξη επανέρχεται στο «00».
Χρησιμοποιήστε τον χρονοδιακόπτη για να απενεργοποιήσετε μία ή περισσότερες ζώνες μαγειρέματος
- Αγγίζοντας το χειριστήριο επιλογής ζώνης θέρμανσης για την οποία θέλετε να ρυθμίσετε τον χρονοδιακόπτη.

text_image
0.0 - + → 0.5
- Αγγίξτε το χειριστήριο του χρονοδιακόπτη, στην οθόνη του χρονοδιακόπτη εμφανίζεται το «0» και το «0» αναβοσβήνει.
- Ρυθμίστε τον χρόνο από 1 έως 99 λεπτά αγγίζοντας το χειριστήριο «-» ή «+» του χρονοδιακόπτη (π.χ. 5)
- Πατήστε το «+» μία φορά για να αυξήσετε τον χρόνο κατά ένα λεπτό, πατήστε το «-» μία φορά για να μειώσετε τον χρόνο κατά ένα λεπτό. Όταν ο καθορισμένος χρόνος υπερβεί τα 99 λεπτά, επανέρχεται αυτόματα στο «00», εάν πατηθούν ταυτόχρονα τα πλήκτρα «-» και «+», η ένδειξη εμφανίζει «00».
- Μόλις οριστεί ο χρόνος, αρχίζει αμέσως η αντίστροφη μέτρηση. Στην οθόνη εμφανίζεται ο χρόνος που απομένει.
ΣΗΜΕΙΩΣΗ: Στην κάτω δεξιά γωνία της ένδειξης επιπέδου ισχύος υπάρχει μια κόκκινη κουκκίδα που υποδεικνύει ότι έχει επιλεγεί ζώνη.
- Όταν λήξει ο χρονοδιακόπτης μαγειρέματος, η αντίστοιχη ζώνη μαγειρέματος απενεργοποιείται αυτόματα.

text_image
6 -Σημείωση: Οι άλλες ζώνες μαγειρέματος συνεχίζουν να λειτουργούν εάν έχουν ενεργοποιηθεί προηγουμένως.
Εάν έχει ρυθμιστεί χρονοδιακόπτης σε περισσότερες από μία ζώνες:
- Όταν ρυθμίζετε χρονοδιακόπτη για πολλές ζώνες μαγειρέματος, εμφανίζονται κόκκινες κουκκίδες ως ενδείξεις των σχετικών ζωνών μαγειρέματος. Η οθόνη του χρονοδιακόπτη δείχνει τα λεπτά του χρονοδιακόπτη. Η κουκκίδα της αντίστοιχης ζώνης αναβοσβήνει.

text_image
15 ✓ → 3. (ρύθμιση στα 15 λεπτά) 6. (ρύθμιση στα 45 λεπτά)- Μόλις λήξει το χρονόμετρο αντίστροφης μέτρησης, η αντίστοιχη ζώνη απενεργοποιείται. Στη συνέχεια εμφανίζει τον νέο χρονοδιακόπτη λεπτών και αναβοσβήνει η κουκκίδα της αντίστοιχης ζώνης.

Σημείωση: Αγγίξτε το χειριστήριο επιλογής ζώνης θέρμανσης, ο αντίστοιχος χρονοδιακόπτης εμφανίζεται στην ένδειξη χρονοδιακόπτη.
Οδηγίες μαγειρικής
Προσέχετε όταν τηγανίζετε, καθώς το λάδι και το λίπος θερμαίνονται πολύ γρήγορα, ιδιαίτερα αν χρησιμοποιείτε την ενίσχυση. Σε εξαιρετικά υψηλές θερμοκρασίες το λάδι και το λίπος αναφλέγονται στιγμιαία και αυτό αποτελεί σοβαρό κίνδυνο πυρκαγιάς.
Συμβουλές μαγειρικής
- Όταν το φαγητό βράσει, μειώστε τη ρύθμιση στάθμης ισχύος.
- Η χρήση καπακιού μειώνει τους χρόνους μαγειρέματος και εξοικονομεί ενέργεια διατηρώντας τη θερμότητα.
- Ελαχιστοποιήστε την ποσότητα υγρού ή λίπους ώστε να μειώσετε τους χρόνους μαγειρέματος.
- Ξεκινήστε το μαγείρεμα σε υψηλή θερμοκρασία και μειώστε τη ρύθμιση όταν το φαγητό έχει θερμανθεί σε όλη τη μάζα του.
Σιγοβράσιμο, μαγείρεμα ρυζιού
- Το σιγοβράσιμο γίνεται κάτω από το σημείο βρασμού, στους 85 °C περίπου, όταν οι φυσαλίδες απλώς ανεβαίνουν περιστασιακά στην επιφάνεια του υγρού μαγειρέματος. Είναι το κλειδί για νόστιμες σούπες και τρυφερά μαγειρευτά γιατί οι γεύσεις αναπτύσσονται χωρίς να παραψηθεί το φαγητό. Θα πρέπει επίσης να μαγειρεύετε τις σάλτσες με βάση τα αυγά και το αλεύρι κάτω από το σημείο βρασμού.
- Ορισμένες εργασίες, συμπεριλαμβανομένου του μαγειρέματος ρυζιού με τη μέθοδο απορρόφησης, ενδέχεται να απαιτούν ρύθμιση υψηλότερη από τη χαμηλότερη ρύθμιση για να διασφαλιστεί ότι το φαγητό μαγειρεύεται σωστά στον προτεινόμενο χρόνο.
Καψάλισμα μπριζόλας
Για να μαγειρέψετε ζουμερές γευστικές μπριζόλες:
- Αφήστε το κρέας σε θερμοκρασία δωματίου για περίπου 20 λεπτά πριν το ψήσετε.
- Ζεστάνετε ένα τηγάνι με βαριά βάση.
- Αλείψτε και τις δύο πλευρές της μπριζόλας με λάδι. Ρίξτε μια μικρή ποσότητα λαδιού στο ζεστό τηγάνι και στη συνέχεια ακουμπήστε το κρέας στο ζεστό τηγάνι.
- Γυρίστε τη μπριζόλα μόνο μία φορά κατά τη διάρκεια του μαγειρέματος. Ο ακριβής χρόνος μαγειρέματος εξαρτάται από το πάχος της μπριζόλας και από το πόσο ψημένη τη θέλετε. Οι χρόνοι μπορεί να ποικίλλουν μεταξύ περίπου 2-8 λεπτά ανά πλευρά. Πιέστε τη μπριζόλα για να εκτιμήσετε πόσο ψημένη είναι - όσο πιο σφιχτή την αισθάνεστε, τόσο πιο «well done» θα είναι.
- Αφήστε τη μπριζόλα να ξεκουραστεί σε ζεστό πιάτο για λίγα λεπτά για να χαλαρώσει και να γίνει τρυφερή πριν τη σερβίρετε.
Για το τηγάνισμα σε βαθύ τηγάνι
- Επιλέξτε ένα γουόκ με επίπεδη βάση συμβατό με κεραμικά ή ένα μεγάλο τηγάνι.
- Ετοιμάστε όλα τα υλικά και τον εξοπλισμό. Το τηγάνισμα σε βαθύ τηγάνι πρέπει να είναι γρήγορο. Εάν μαγειρεύετε μεγάλες ποσότητες, μαγειρέψτε το φαγητό σε πολλές μικρότερες παρτίδες.
- Προθερμάνετε για λίγο το τηγάνι και προσθέστε δύο κουταλιές της σούπας λάδι.
-
Μαγειρέψτε πρώτα τα κρέατα, αφήστε τα στην άκρη και διατηρήστε τα ζεστό.
-
Τηγανίστε τα λαχανικά σε βαθύ τηγάνι. Όταν είναι ζεστά αλλά είναι ακόμα τραγανά, θέστε τη ζώνη μαγειρέματος σε χαμηλότερη ρύθμιση, επαναφέρετε το κρέας στο σκεύος και προσθέστε τη σάλτσα σας.
- Ανακατέψτε απαλά τα υλικά για να βεβαιωθείτε ότι έχουν ζεσταθεί ομοιόμορφα.
- Σερβίρετε αμέσως.
Ρυθμίσεις θερμότητας
| Ρύθμιση θερμότητας | Χρησιμότητα |
| 1 - 2 | ευαίσθητη θέρμανση για μικρές ποσότητες φαγητούλιώσιμο σοκολάτας, βουτύρου και τρόφιμα που καίγονται γρήγορααπαλό σιγοβράσιμοαργή θέρμανση |
| 3 - 4 | αναθέρμανσηγρήγορο σιγοβράσιμομαγείρεμα ρυζιού |
| 5 - 6 | τηγανίτες |
| 7 - 8 | σοτάρισμαμαγείρεμα ζυμαρικών |
| 9 | τηγάνισμα σε βαθύ τηγάνικαψάλισμααρχή βρασμού της σούπαςβράσιμο νερού |
Φροντίδα και καθαρισμός
| Τι; | Πώς; | Σημαντικό! |
| Καθημερινοί λεκέδες πάνω στη γυάλινη επιφάνεια (δακτυλιές, σημάδια, λεκέδες που έμειναν από τα τρόφιμα ή υπερχειλίσεις μη ζαχαρούχων ουσιών στη γυάλινη επιφάνεια) | 1. Απενεργοποιήστε την παροχή ρεύματος στην εστία.2. Εφαρμόστε καθαριστικό εστιών ενώ η γυάλινη επιφάνεια είναι ακόμα ζεστή (αλλά όχι καυτή!)3. Ξεπλύνετε και σκουπίστε με ένα καθαρό πανί ή χαρτοπετσέτα.4. Ενεργοποιήστε ξανά την παροχή ρεύματος στην εστία. | • Όταν η τροφοδοσία στην εστία είναι απενεργοποιημένη, η ένδειξη «καυτής επιφάνειας» δεν λειτουργεί, αλλά η ζώνη μαγειρέματος μπορεί να παραμένει καυτή! Προσέξτε ιδιαίτερα.• Τα βαρέως τύπου συρμάτινα σφουγγαράκια, ορισμένα σφουγγαράκια από νάλον και τα σκληρά/λειαντικά καθαριστικά ενδέχεται να γρατσουνίσουν την γυάλινη επιφάνεια. Διαβάζετε πάντα την ετικέτα για να ελέγχετε αν το καθαριστικό ή το σφουγγαράκι σας είναι κατάλληλο.• Μην αφήνετε ποτέ υπολείμματα καθαρισμού στην εστία: μπορεί να δημιουργηθούν λεκέδες στη γυάλινη επιφάνεια. |
| Υπερχειλίσεις βρασμού, λιωμένοι λεκέδες και ζεστά ζαχαρούχα υπολείμματα στην γυάλινη επιφάνεια | Αφαιρέστε τα αμέσως με σπάτουλα ψαριού, σπάτουλα σερβιρίσματος ή ξύστρα ξυραφιού κατάλληλη για επαγωγικές εστίες με επιφάνεια κεραμικού γυαλιού, αλλά προσέξτε τις ζεστές επιφάνειες της ζώνης μαγειρέματος:1. Απενεργοποιήστε την εστία βγάζοντας το φις από την πρίζα του τοίχου.2. Κρατήστε τη λεπίδα ή το εργαλείο σε γωνία 30° και σπρώξτε ξύνοντας τα υπολείμματα από το λέρωμα ή την υπερχείλιση προς μια ψυχρή κρύα περιοχή της εστίας.3. Καθαρίστε τα υπολείμματα από το λέρωμα ή την υπερχείλιση με ένα πανί ή μια χαρτοπετσέτα.4. Ακολουθήστε τα βήματα 2 έως 4 για τους «Καθημερινούς λεκέδες πάνω στην γυάλινη επιφάνεια» παραπάνω. | • Αφαιρείτε τους λεκέδες που έχουν απομείνει από λιωμένα υπολείμματα και ζαχαρούχα τρόφιμα ή από υπερχείλιση το συντομότερο δυνατό. Εάν τους αφήσετε να κρυώσουν πάνω στην γυάλινη επιφάνεια, μπορεί να είναι δύσκολο να αφαιρεθούν και μπορεί ακόμη και να βλάψουν μόνιμα την γυάλινη επιφάνεια.• Κίνδυνος κοψίματος: όταν ανασυρθεί το κάλυμμα ασφαλείας, η λεπίδα της ξύστρας είναι κοφτερή σαν ξυράφι. Πρέπει να χρησιμοποιείται με εξαιρετική προσοχή και να παραμένει φυλαγμένη με ασφάλεια σε σημείου που δεν φτάνουν τα παιδιά. |
| Υπερχειλίσεις πάνω στα χειριστήρια αφής | 1. Απενεργοποιήστε την παροχή ρεύματος στην εστία.2. Απορροφήστε τον λεκέ3. Σκουπίστε την περιοχή των χειριστηρίων αφής με καθαρό υγρό σφουγγάρι ή πανί.4. Στεγνώστε εντελώς την περιοχή σκουπίζοντας με χαρτοπετσέτα.5. Ενεργοποιήστε ξανά την παροχή ρεύματος στην εστία. | • Όταν υπάρχουν υγρά πάνω στα χειριστήρια αφής, μπορεί να ακούγεται η ηχητική σήμανση της εστίας και η εστία μπορεί να απενεργοποιείται μόνη της. Βεβαιωθείτε ότι έχετε στεγνώσει σκουπίζοντας την περιοχή των χειριστηρίων αφής πριν ενεργοποιήστε ξανά την εστία. |
Συμβουλές
| Πρόβλημα | Πιθανές αιτίες | Τι να κάνετε |
| Η εστία δεν ενεργοποιείται. | Δεν υπάρχει παροχή ρεύματος. | Βεβαιωθείτε ότι η εστία είναι συνδεδεμένη στην παροχή ρεύματος και ότι είναι ενεργοποιημένη.Ελέγξετε εάν υπάρχει διακοπή ρεύματος στο σπίτι ή στην περιοχή σας. Εάν έχετε ελέγξει τα πάντα και το πρόβλημα παραμένει, καλέστε τεχνικό με πιστοποιημένα προσόντα. |
| Τα χειριστήρια αφής δεν αποκρίνονται. | Τα χειριστήρια είναι κλειδωμένα. | Ξεκλειδώστε τα χειριστήρια. Ανατρέξτε στην ενότητα «Χρήση της κεραμικής εστίας» για οδηγίες. |
| Τα χειριστήρια αφής παρουσιάζουν δυσκολία στη χρήση. | Μπορεί να υπάρχει μια μικρή μεμβράνη νερού πάνω στα χειριστήρια ή μπορεί να χρησιμοποιείτε την άκρη του δακτύλου σας όταν αγγίζετε τα χειριστήρια. | Βεβαιωθείτε ότι η περιοχή των χειριστηρίων αφής είναι στεγνή και χρησιμοποιήστε τη ρώγα του δακτύλου σας για να ακουμπήσετε τα χειριστήρια. |
| Η γυάλινη επιφάνεια έχει γρατσουνιές. | Σκεύη με τραχιές ακμές.Χρησιμοποιούνται ακατάλληλα διαβρωτικά σφουγγαράκια ή προϊόντα καθαρισμού. | Χρησιμοποιείτε μαγειρικά σκεύη με επίπεδες και ομαλές βάσεις.Ανατρέξτε στην ενότητα «Επιλογή του σωστού σκεύους».Ανατρέξτε στην ενότητα «Φροντίδα και καθαρισμός». |
| Κάποια σκεύη παράγουν ήχους κροταλίσματος ή κλικ. | Αυτό μπορεί να οφείλεται στην κατασκευή του μαγειρικού σας σκεύους (στρώματα διαφορετικών μετάλλων που δονούνται διαφορετικά). | Αυτό είναι φυσιολογικό για τα σκεύη μαγειρικής και δεν υποδηλώνει πρόβλημα. |
| Η επαγωγική εστία παράγει χαμηλό βουητό όταν χρησιμοποιείται σε υψηλή ρύθμιση θέρμανσης. | Αυτό οφείλεται στην τεχνολογία του επαγωγικού μαγειρέματος. | Πρόκειται για κάτι φυσιολογικό, αλλά ο θόρυβος θα πρέπει να μειώνεται ή να εξαφανίζεται εντελώς όταν επιλέγετε χαμηλότερη ρύθμιση θέρμανσης. |
| Από την επαγωγική εστία ακούγεται θόρυβος ανεμιστήρα. | Για να αποτραπεί η υπερθέρμανση των ηλεκτρονικών κυκλωμάτων έχει ενεργοποιηθεί ένας ανεμιστήρας ψύξης που είναι ενσωματωμένος στην επαγωγική σας εστία. Μπορεί να συνεχίσει να λειτουργεί ακόμα και μετά την απενεργοποίηση της επαγωγικής εστίας. | Είναι κάτι φυσιολογικό και δεν απαιτείται κάποια ενέργεια.Μην απενεργοποιείτε την παροχή ρεύματος προς την επαγωγική εστία από την πρίζα στον τοίχο ενώ ο ανεμιστήρας λειτουργεί. |
| Τα σκεύη δεν ζεσταίνονται και δεν εμφανίζονται στην οθόνη. | Η επαγωγική εστία δεν μπορεί να ανιχνεύσει το σκεύος επειδή αυτό δεν είναι κατάλληλο για επαγωγικό μαγείρεμα.Η επαγωγική εστία δεν μπορεί να ανιχνεύσει το σκεύος επειδή είναι πολύ μικρό για τη ζώνη μαγειρέματος ή δεν είναι σωστά κεντραρισμένο σε αυτή. | Χρησιμοποιείτε μαγειρικά σκεύη κατάλληλα για επαγωγικό μαγείρεμα.Ανατρέξτε στην ενότητα «Επιλογή του σωστού σκεύους».Κεντράρετε το σκεύος και βεβαιωθείτε ότι η βάση του ταιριάζει με το μέγεθος της ζώνης μαγειρέματος. |
| Η επαγωγική εστία ή μια ζώνη μαγειρέματος απενεργοποιήθηκε απροσδόκητα, ακούγεται ηχητικό σήμα και εμφανίζεται ένας κωδικός σφάλματος (συνήθως εναλλάσσεται με ένα ή δύο ψηφία στην οθόνη του χρονοδιακόπτη μαγειρέματος). | Τεχνικό σφάλμα. | Σημειώστε τα γράμματα και τους αριθμούς των σφαλμάτον, απενεργοποιήστε την ηλεκτρική εστία βγάζοντας την από την πρίζα στον τοίχο και επικοινωνήστε με τεχνικό με πιστοποιημένα προσόντα. |
Ενδείξεις βλάβης και επιθεώρηση
Σε περίπτωση που προκύψει κάποια ανωμαλία στη λειτουργία, η επαγωγική εστία τίθεται αυτόματα σε κατάσταση λειτουργίας προστασίας και εμφανίζει τους αντίστοιχους κωδικούς προστασίας:
| Πρόβλημα | Πιθανές αιτίες | Τι να κάνετε |
| E4/E5 | Βλάβη αισθητήρα θερμοκρασίας | Επικοινωνήστε με τον προμηθευτή σας. |
| E7/E8 | Βλάβη αισθητήρα θερμοκρασίας του διπολικού τρανζίστορ μονωμένης πύλης (IGBT). | Επικοινωνήστε με τον προμηθευτή σας. |
| E2/E3 | Μη φυσιολογική τάση τροφοδοσίας | Ελέγξτε εάν η παροχή ρεύματος τροφοδοσίας είναι φυσιολογική.Ενεργοποιήστε αφού η παροχή ρεύματος επανέλθει σε κανονική κατάσταση. |
| E6/E9 | Πρόβλημα από την ακτινοβόληση θερμότητας της επαγωγικής εστίας | Κάντε επανεκκίνηση αφού κρυώσει η επαγωγική εστία. |
Τα παραπάνω είναι η ερμηνεία και οι οδηγίες ελέγχου κοινών σφαλμάτων.
Μην αποσυναρμολογείτε τη μονάδα μόνοι σας, ώστε να αποφύγετε κινδύνους τραυματισμού και την πρόκληση ζημιάς στην επαγωγική εστία.
Τεχνικές προδιαγραφές
| Επαγωγική εστία | CI642CBB/1 |
| Ζώνες μαγειρέματος | 4 ζώνες |
| Τάση τροφοδοσίας | 220-240 V~ 50/60 Hz |
| Εγκατεστημένη ηλεκτρική ισχύς | 7.200 W |
| Διαστάσεις προϊόντος BxΠxY (mm) | 590x520x58 |
| Διαστάσεις εντοιχισμού AxB (mm) | 560X490 |
| Επαγωγική εστία | CI633CBB/1 |
| Ζώνες μαγειρέματος | 3 ζώνες |
| Τάση τροφοδοσίας | 220-240 V~ 50/60 Hz |
| Εγκατεστημένη ηλεκτρική ισχύς | 7.200 W |
| Διαστάσεις προϊόντος BxΠxY (mm) | 590x520x58 |
| Διαστάσεις εντοιχισμού AxB (mm) | 560X490 |
Το βάρος και οι διαστάσεις είναι κατά προσέγγιση. Επειδή προσπαθούμε συνεχώς να βελτιώνουμε τα προϊόντα μας, ενδέχεται να αλλάξουμε τις προδιαγραφές και τα σχέδια χωρίς προηγούμενη ειδοποίηση.
Εγκατάσταση
Επιλογή εξοπλισμού εγκατάστασης
- Κόψτε την επιφάνεια εργασίας σύμφωνα με τις διαστάσεις που φαίνονται στο σχέδιο.
- Για σκοπούς εγκατάστασης και χρήσης, πρέπει να διατηρείται ελεύθερος χώρος τουλάχιστον 50 mm χώρος γύρω από την οπή.
- Βεβαιωθείτε ότι το πάχος της επιφάνειας εργασίας είναι τουλάχιστον 30 mm. Επιλέξτε ανθεκτικό στη θερμότητα υλικό για την επιφάνεια εργασίας ώστε να αποφύγετε τη μεγάλη παραμόρφωση που προκαλείται από τη θερμική ακτινοβολία από την εστία μαγειρέματος. Όπως φαίνεται παρακάτω:
Προειδοποίηση: Το υλικό της επιφάνειας εργασίας πρέπει να χρησιμοποιεί εμποτισμένο ξύλο ή άλλο μονωτικό υλικό.

text_image
ΣΤΕΓΑΝΟΠΟΙΗΣΗ| Αρ. Μοντέλου | Μ (mm) | Π (mm) | Υ (mm) | Β (mm) | Α (mm) | Β (mm) | Χ (mm) |
| CI642CBB/1 | 590 | 520 | 58 | 54 | 560 | 490 | 50 τουλάχιστον |
| CI633CBB/1 |
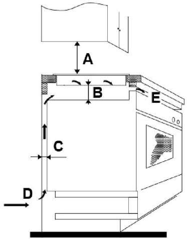
Υπό οποιεσδήποτε συνθήκες, εξασφαλίστε ότι η επαγωγική εστία έχει καλό εξαερισμό και ότι η εισαγωγή και η εξαγωγή του αέρα δεν περιορίζονται. Βεβαιωθείτε ότι η εστία είναι σε καλή κατάσταση λειτουργίας. Όπως φαίνεται παρακάτω Σημείωση: Η απόσταση ασφαλείας μεταξύ της εστίας και του ντουλαπιού πάνω από την εστία πρέπει να είναι τουλάχιστον 760 mm.

text_image
A B E C D
| A (mm) | B (mm) | C (mm) | D | E |
| 760 | 50 τουλάχιστον | τουλάχιστον 20 | Εισαγωγή αέρα | Εξαγωγή αέρα 5 mm |
Πριν εγκαταστήσετε την εστία, βεβαιωθείτε ότι
- η επιφάνεια εργασίας είναι σε ορθή γωνία και οριζόντια και ότι δεν υπάρχουν δομικά στηρίγματα που να περιορίζουν τις απαιτήσεις χώρου.
• η επιφάνεια εργασίας είναι κατασκευασμένη από ανθεκτικό στη θερμότητα υλικό. - εάν η εστία είναι τοποθετημένη πάνω από φούρνο, ο φούρνος διαθέτει ενσωματωμένο ανεμιστήρα ψύξης.
- η εγκατάσταση συμμορφώνεται με όλες τις απαιτήσεις διακένων και τα ισχύοντα πρότυπα και κανονισμούς.
- ένας κατάλληλος διακόπτης απομόνωσης που παρέχει πλήρη αποσύνδεση από το δίκτυο τροφοδοσίας έχει ενσωματωθεί στη μόνιμη καλωδίωση, συναρμολογημένος και τοποθετημένος έτσι ώστε να συμμορφώνεται με τους τοπικούς κανόνες και κανονισμούς καλωδίωσης.
- Ο διακόπτης απομόνωσης πρέπει να είναι εγκεκριμένου τύπου και να παρέχει διαχωρισμό επαφής διακένου αέρα 3 mm σε όλους τους πόλους (ή σε όλους τους ενεργούς αγωγούς [φάσεις] εάν οι τοπικοί κανόνες καλωδίωσης επιτρέπουν αυτήν την παραλλαγή των απαιτήσεων).
- ο διακόπτης απομόνωσης είναι εύκολα προσβάσιμος στον πελάτη με την εστία τοποθετημένη
• θα συμβουλευτείτε τις τοπικές οικοδομικές αρχές και τους κανονισμούς εάν έχετε αμφιβολίες σχετικά με την εγκατάσταση - χρησιμοποιείτε ανθεκτικά στη θερμότητα και εύκολα καθαριζόμενα υλικά φινιρίσματος (όπως κεραμικά πλακίδια) για τις επιφάνειες τοίχου που περιβάλλουν την εστία.
Όταν έχετε εγκαταστήσει την εστία, βεβαιωθείτε ότι
• το καλώδιο τροφοδοσίας δεν είναι προσβάσιμο μέσα από πορτάκια ή συρτάρια ντουλαπιών.
- Υπάρχει επαρκής ροή αέρα από το εξωτερικό των ντουλαπιών προς τη βάση της εστίας.
- Εάν η εστία είναι τοποθετημένη πάνω από ένα συρτάρι ή χώρο ντουλαπιού, κάτω από τη βάση της εστίας τοποθετείται μονωτικό φράγμα θερμικής προστασίας.
• Ο διακόπτης απομόνωσης είναι εύκολα προσβάσιμος από τον πελάτη.
Πριν επιλέξετε τη θέση των στηριγμάτων
Η μονάδα πρέπει να τοποθετηθεί σε σταθερή, λεία επιφάνεια (χρησιμοποιήστε τη συσκευασία). Μην ασκείτε δύναμη στα χειριστήρια που προεξέχουν από την εστία.
Επιλογή θέσης των στηριγμάτων
- Η μονάδα πρέπει να τοποθετηθεί σε σταθερή, λεία επιφάνεια (χρησιμοποιήστε τη συσκευασία). Μην ασκείτε δύναμη στα χειριστήρια που προεξέχουν από την εστία.
- Στερεώστε την εστία στην επιφάνεια εργασίας βιδώνοντας τέσσερα στηρίγματα στο κάτω μέρος της εστίας (βλ. εικόνα) μετά την τοποθέτηση.
- Προσαρμόστε τη θέση των στηριγμάτων ώστε να ταιριάζει σε διαφορετικά πάχη της επιφάνειας εργασίας.

text_image
Εστία Στήριγμα Πάγκος
text_image
Εστία Στήριγμα Πάγκος
Επισημάνσεις προσοχής
- Η εγκατάσταση της εστίας πρέπει να γίνεται από προσωπικό ή τεχνικούς με πιστοποιημένα προσόντα. Διαθέτουμε επαγγελματίες για την εξυπηρέτησή σας. Σε καμία περίπτωση δεν πρέπει να επιχειρήσετε να εκτελέσετε εσείς αυτή την εργασία.
- Η εστία δεν πρέπει να τοποθετείται σε εξοπλισμό ψύξης, πλυντήρια πιάτων και περιστροφικά στεγνωτήρια.
- Η εστία πρέπει να εγκαθίσταται έτσι ώστε να διασφαλίζεται καλύτερη μετάδοση της θερμότητας μέσω ακτινοβολίας ώστε να ενισχύεται η αξιοπιστία της.
- Ο τοίχος και η ζώνη θέρμανσης με επαγωγή πάνω από την επιφάνεια εργασίας πρέπει να αντέχουν στη θερμότητα.
- Για να αποφευχθεί οποιαδήποτε ζημιά, τα επάλληλα στρώματα και η κόλλα πρέπει να είναι ανθεκτικά στη θερμότητα.
• Δεν πρέπει να χρησιμοποιείται ατμοκαθαριστής. - Αυτή η κεραμική εστία μπορεί να συνδέεται μόνο σε παροχή με σύνθετη αντίσταση συστήματος όχι μεγαλύτερη από 0,427 Ω. Εάν είναι απαραίτητο, συμβουλευτείτε τη ρυθμιστική αρχή παροχής ρεύματος για πληροφορίες σύνθετης αντίστασης συστήματος.
Σύνδεση της εστίας στην παροχή δικτύου ρεύματος
Η παροχή ρεύματος πρέπει να συνδέεται σύμφωνα με το σχετικό πρότυπο ή μέσω μονοπολικού αυτόματου διακόπτη. Η μέθοδος σύνδεσης φαίνεται παρακάτω.

text_image
L1 N1 N2 L2 L N PE L-N:220-240V ~
text_image
L1 L1 N1 N2 L2 L1 N PE L2 L1-L2:380-415V ~- Εάν το καλώδιο είναι κατεστραμμένο ή χρειάζεται αντικατάσταση, αυτό πρέπει να γίνει από τεχνικό σέρβις μετά την πώληση χρησιμοποιώντας τα κατάλληλα εργαλεία, ώστε να αποφευχθούν τυχόν ατυχήματα.
- Εάν η συσκευή συνδέεται απευθείας στην παροχή ρεύματος, πρέπει να εγκαθίσταται πολυπολικός αυτόματος διακόπτης με ελάχιστο διάκενο 3 mm μεταξύ των επαφών.
- Ο εγκαταστάτης πρέπει να διασφαλίζει ότι έχει γίνει η σωστή ηλεκτρική σύνδεση και ότι συμμορφώνεται με τους κανονισμούς ασφαλείας.
• Το καλώδιο δεν πρέπει να λυγίζει ή να συμπιέζεται. - Το καλώδιο πρέπει να ελέγχεται τακτικά και να αντικαθίσταται μόνο από άτομο με πιστοποιημένα προσόντα.

ΔΙΑΘΕΣΗ: Μην διαθέτετε αυτό το προϊόν ως αστικά απόβλητα χωρίς διαλογή. Είναι απαραίτητη η συλλογή τέτοιων αποβλήτων χωριστά για ειδική επεξεργασία.
Αυτή η συσκευή φέρει σήμανση σύμφωνα με την ευρωπαϊκή οδηγία 2012/19/ΕΕ για τα απόβλητα ηλεκτρικού και ηλεκτρονικού εξοπλισμού (ΑΗΝΕ). Διασφαλίζοντας ότι αυτή η συσκευή διατίθεται με σωστό τρόπο, συμβάλλετε στην αποφυγή τυχόν ζημιών στο περιβάλλον και στην ανθρώπινη υγεία, οι οποίες διαφορετικά θα μπορούσαν να προκληθούν εάν η διάθεση γινόταν με λάθος τρόπο.
Το σύμβολο στο προϊόν υποδεικνύει ότι δεν πρέπει να αντιμετωπίζεται ως κανονικά οικιακά απορρίμματα. Θα πρέπει να μεταφερθεί σε σημείο συλλογής για την ανακύκλωση ηλεκτρικών και ηλεκτρονικών ειδών.
Αυτή η συσκευή απαιτεί εξειδικευμένη απόρριψη αποβλήτων. Για περισσότερες πληροφορίες σχετικά με την επεξεργασία, την ανάκτηση και την ανακύκλωση αυτού του προϊόντος, επικοινωνήστε με τις δημοτικές υπηρεσίες, την υπηρεσία διάθεσης οικιακών απορριμμάτων ή το κατάστημα από το οποίο το αγοράσατε.
Για πιο λεπτομερείς πληροφορίες σχετικά με την επεξεργασία, την ανάκτηση και την ανακύκλωση αυτού του προϊόντος, επικοινωνήστε με τις δημοτικές υπηρεσίες, την υπηρεσία διάθεσης οικιακών απορριμμάτων ή το κατάστημα από το οποίο αγοράσατε το προϊόν.
ΕύκολοΕγχειρίδιο