CI633CBB/1 - Plaque de cuisson induction CANDY - Notice d'utilisation et mode d'emploi gratuit
Retrouvez gratuitement la notice de l'appareil CI633CBB/1 CANDY au format PDF.
| Type de produit | Table de cuisson vitrocéramique |
| Nombre de foyers | 4 foyers |
| Type de foyers | Foyers vitrocéramiques |
| Dimensions approximatives | 60 cm x 51 cm |
| Poids | 10 kg |
| Alimentation électrique | 230 V |
| Puissance totale | 7200 W |
| Fonctions principales | Contrôle tactile, minuterie, indicateur de chaleur résiduelle |
| Entretien et nettoyage | Nettoyage avec un chiffon humide et un produit adapté pour vitrocéramique |
| Pièces détachées et réparabilité | Disponibilité de pièces détachées via le service après-vente |
| Normes de sécurité | Conforme aux normes CE, protection contre la surchauffe |
| Compatibilités | Compatible avec tous les types de casseroles et poêles adaptés à la vitrocéramique |
FOIRE AUX QUESTIONS - CI633CBB/1 CANDY
Téléchargez la notice de votre Plaque de cuisson induction au format PDF gratuitement ! Retrouvez votre notice CI633CBB/1 - CANDY et reprennez votre appareil électronique en main. Sur cette page sont publiés tous les documents nécessaires à l'utilisation de votre appareil CI633CBB/1 de la marque CANDY.
MODE D'EMPLOI CI633CBB/1 CANDY
Manuel d'instruction pour plaque à induction
FRANÇAIS
Téléchargez l'application hOn
L'application hOn vous donne accès à de nombreuses recettes et contenus supplémentaires

text_image
hOn
Risque d'électrocution
- Débrancher l'appareil du secteur avant d'effectuer tout travail ou opération d'entretien.
- Le raccordement à un bon système de mise à la terre est essentiel et obligatoire.
- Les moyens de déconnexion doivent être incorporés dans le câblage fixe conformément aux règles de câblage.
- Toute modification du système de câblage de l'habitation doit être effectuée exclusivement par un électricien qualifié.
- Le non-respect de cette consigne peut entraîner une électrocution voire la mort.
Risque de coupure
- Faites attention, les bords de la plaque sont pointus.
- Si vous ne faites pas attention, vous pourriez vous blesser ou vous couper.
Consignes de sécurité importantes
- Lisez attentivement ces instructions avant d'installer ou d'utiliser cet appareil.
- Aucun produit ou matière combustible ne doit être posé sur cet appareil.
- Veuillez laisser ces informations à la disposition de la personne chargée de l'installation de l'appareil car cela pourrait réduire les frais d'installation.
- Pour éviter tout danger, cet appareil doit être installé conformément à ces instructions d'installation.
-
Cet appareil doit être installé correctement et être mis à la terre par une personne qualifiée pour cela.
-
Cet appareil doit être raccordé à un circuit comprenant un sectionneur garantissant une déconnexion complète de l'alimentation.
- AVERTISSEMENT : Utilisez uniquement des protections de plaque de cuisson conçues par le fabricant de l'appareil de cuisson ou indiquées comme appropriées par le fabricant de l'appareil dans le mode d'emploi ou intégrées à l'appareil. L'utilisation de protections inappropriées peut provoquer des accidents.
- Si l'appareil n'est pas installé correctement, cela peut rendre la garantie caduque ou les réclamations irrecevables.
- En ce qui concerne les détails d'installation, merci de vous référer à la section
.
Fonctionnement et entretien
Risque d'électrocution
- Ne cuisinez pas sur une plaque de cuisson cassée ou fissurée. Si la surface de la plaque de cuisson se casse ou se fissure, éteignez l'appareil immédiatement au niveau du secteur (interrupteur mural) et contactez un technicien qualifié.
- Éteignez la plaque de cuisson au niveau du mur avant toute opération de nettoyage ou d'entretien.
- Le non-respect de cette consigne peut entraîner une électrocution voire la mort.
Risque pour la santé
- Cet appareil est conforme aux normes de sécurité électromagnétique.
Risque lié à une surface chaude
- Durant l'utilisation, les parties accessibles de cet appareil peuvent devenir suffisamment chaudes pour provoquer des brûlures.
-
Ne laissez pas votre corps, vos vêtements ou tout élément autre qu'un ustensile de cuisine au contact de la plaque vitrocéramique tant que la surface n'a pas refroidi.
-
Les objets métalliques comme les couteaux, les fourchettes, les cuillères et les couvercles ne doivent pas être placés sur la surface de la plaque de cuisson car ils peuvent chauffer.4
- Les enfants de moins de 8 ans doivent être tenus à l'écart à moins d'être surveillés constamment.
- Les poignées des casseroles peuvent être chaudes au toucher. Contrôlez que les poignées des casseroles ne soient pas au dessus d'autres zones de cuisson allumées. Gardez les poignées hors de portée des enfants.
- Si vous ne respectez pas ce conseil, vous pourriez vous brûler et vous ébouillanter.
Risque de coupure
- La lame extrêmement coupante du racloir d'une plaque de cuisson est à découvert quand le couvercle de sécurité est enlevé. Faites extrêmement attention quand vous l'utilisez et rangez-la toujours à l'abri et hors de portée des enfants.
- Si vous ne faites pas attention, vous pourriez vous blesser ou vous couper.
Consignes de sécurité importantes
- Ne laissez jamais l'appareil sans surveillance quand il est utilisé. Un débordement provoque de la fumée et des éclaboussures de graisse qui peuvent prendre feu.
- N'utilisez jamais votre appareil comme plan de travail ou surface de rangement.
- Ne laissez jamais des objets ou des ustensiles sur l'appareil.
- N'utilisez jamais l'appareil pour chauffer la pièce.
- Après toute utilisation, éteignez toujours les zones de cuisson et la plaque comme cela est décrit dans ce manuel (par ex. au moyen des commandes tactiles). Ne comptez pas sur la fonction de détection de la casserole pour éteindre les zones de cuisson quand vous enlevez la casserole.
-
Ne laissez pas les enfants jouer avec l'appareil ou s'asseoir, se tenir ou grimper dessus.
-
Ne rangez pas ce qui intéresse les enfants dans des placards situés au-dessus de l'appareil. Les enfants qui grimpent sur la plaque de cuisson peuvent se blesser sérieusement.
- Ne laissez pas les enfants seuls ou sans surveillance dans la pièce où l'appareil est utilisé.
- Les enfants ou les personnes ayant un handicap qui limite leur capacité à utiliser l'appareil doivent avoir une personne compétente et responsable pour leur apprendre à l'utiliser. L'instructeur doit être satisfait qu'ils puissent utiliser l'appareil sans danger pour eux ou leur environnement.
- Ne réparez et ne remplacez aucune partie de l'appareil sauf si cela est recommandé spécifiquement dans le mode d'emploi. Toutes les autres opérations de réparation doivent être faites par un technicien qualifié.
- N'utilisez pas de nettoyeur vapeur pour nettoyer votre plaque de cuisson.
- Ne placez pas et ne laissez pas tomber des objets lourds sur votre plaque de cuisson.
- Ne montez pas sur votre plaque de cuisson.
- N'utilisez pas de poêle avec des bords irréguliers et ne traînez pas les poêles sur la surface de la plaque, car cela peut rayer le verre.
- N'utilisez pas de tampons à récurer ni d'autres agents de nettoyage très abrasifs pour nettoyer votre plaque, car ils peuvent rayer la surface du verre vitrocéramique.
- Si le cordon d'alimentation est endommagé, faites-le remplacer par le fabricant, le service après-vente ou un électricien qualifié pour éviter tout risque d'accident.
-
Cet appareil est destiné à être utilisé dans un environnement domestique uniquement ! Toute utilisation commerciale n'est pas couverte par la garantie du fabricant !
-
AVERTISSEMENT : l'appareil et ses parties accessibles peuvent devenir chauds au cours de l'utilisation.
Tenez les jeunes enfants à l'écart de l'appareil. - Il faut faire attention à ne pas toucher les éléments de chauffage.
- Les enfants de moins de 8 ans doivent être tenus à l'écart à moins d'être surveillés constamment.
- Cet appareil peut être utilisé par des enfants à partir de 8 ans et par des personnes ayant des capacités physiques, sensorielles ou mentales réduites ou un manque d'expérience et de connaissances, s'ils sont sous surveillance ou si on leur a appris à utiliser l'appareil en toute sécurité et s'ils comprennent les risques courus.
- Les enfants ne doivent pas jouer avec l'appareil. Le nettoyage et l'entretien ne doivent pas être effectués par des enfants sans surveillance.
- AVERTISSEMENT : il peut s'avérer dangereux de cuisiner sur une plaque de cuisson avec des matières grasses ou de l'huile sans surveiller la cuisson car celles-ci peuvent prendre feu. Ne JAMAIS tenter d'éteindre un incendie avec de l'eau, mais éteindre l'appareil puis couvrir la flamme par exemple avec un couvercle ou une couverture pare-flammes.
- AVERTISSEMENT : risque d'incendie : ne ranger aucun objet sur les surfaces de cuisson.
- AVERTISSEMENT : si la surface est fissurée, éteignez l'appareil pour éviter une éventuelle décharge électrique (pour les surfaces en vitrocéramique ou un matériau similaire qui protègent les parties sous tension).
- Ne pas utiliser de nettoyeur vapeur.
- L'appareil n'est pas prévu pour être utilisé au moyen d'une minuterie extérieure ou d'un système de télécommande séparé.
- ATTENTION : Le processus de cuisson doit être surveillé. Un processus de cuisson de courte durée doit être surveillé en continu.
- Le cordon d'alimentation n'est pas accessible après l'installation.
Présentation du produit
Vue de dessus

text_image
2 b a 3 1 b b 4 5 CaveyCI642CBB/1
- Zone de 2300 W, boost jusqu'à 3000 W
- Zone de 1200 W, boost jusqu'à 1500 W
- Zone de 1800 W, boost jusqu'à 2100 W
- Zone de 1200 W, boost jusqu'à 1500 W
- Panneau de commande

- Zone de 1800 W, boost jusqu'à 2100 W
- Zone de 1200 W, boost jusqu'à 1500 W
- Zone de 3000 W, boost jusqu'à 3600 W
- Panneau de commande
Le panneau de commande

text_image
5 5 5 5 8 8 8 8 □ □ □ □ /⑪ - ✓ + ⏻ 4 2 3 2 1CI642CBB/1
- Commande Marche/Arrêt
- Touche de réglage de la puissance/minuterie
- Commande de la minuterie
- Commande Pause/Verrouillage
- Commandes de sélection des zones de cuisson

text_image
5 5 5 6 8 8 8 □ □ □ □ b /⑪ - ✓ + Ⓘ 4 2 3 2 1CI633CBB/1
- Commande Marche/Arrêt
- Touche de réglage de la puissance/minuterie
- Commande de la minuterie
- Commande Pause/Verrouillage
- Commandes de sélection des zones de cuisson
- Commande Boost
Informations relatives au produit
La plaque vitrocéramique/induction peut répondre à différentes exigences de cuisine en raison du chauffage par résistance, de la commande par micro-ordinateur et de la sélection multi-puissance. C'est vraiment le choix optimal pour les familles modernes.
La plaque est axée sur les utilisateurs et adopte un design personnalisé. La plaque de cuisson offre des performances fiables et sûres, en rendant votre vie confortable et en vous permettant de profiter pleinement des plaisirs de la vie.
Un mot sur la cuisson à induction
La cuisson à induction est une technologie de cuisson économique, efficace, pointue et sûre. Elle fonctionne par des vibrations électromagnétiques générant la chaleur directement dans la casserole, plutôt qu'indirectement en chauffant la surface en verre. Le verre ne devient chaud que parce que la casserole finit par le chauffer.

circuit magnétique plaque en verre céramique bobine d'induction courants induits
Avant d'utiliser votre nouvelle plaque à induction
- Lisez ce guide, en faisant particulièrement attention au paragraphe « Consignes de sécurité ».
- Ôtez le film protecteur qui pourrait encore se trouver sur la plaque à induction.
Utilisation des commandes tactiles
- Les commandes répondent au toucher, vous n'avez donc pas besoin d'exercer une pression.
- Utilisez la partie charnue de votre doigt, pas l'extrémité.
- Vous entendrez un bip sonore chaque fois qu'un toucher est enregistré.
- Assurez-vous que les commandes soient toujours propres, sèches et qu'il n'y ait aucun objet (par ex. un ustensile ou un torchon) les couvrant. Même une mince pellicule d'eau peut rendre difficile l'utilisation des commandes.

- N'utilisez que des ustensiles de cuisson ayant une base adaptée à la cuisson à induction. Cherchez le symbole de l'induction sur l'emballage ou le fond de la casserole.
- Vous pouvez vérifier si votre ustensile de cuisson est adapté en effectuant un test magnétique. Avancez un aimant vers la base de la casserole. S'il est attiré, la casserole est adaptée à l'induction.
-
Si vous n'avez pas d'aimant :
-
Placez de l'eau dans la casserole que vous voulez contrôler.
- Suivez les étapes figurant dans le paragraphe 'Pour commencer à cuire'.
- Si ne clignote pas sur l'affichage et que l'eau chauffe, la casserole est adaptée.
- Les ustensiles de cuisson fabriqués avec les matériaux suivants ne sont pas adaptés : acier inoxydable pur, aluminium ou cuivre sans une base magnétique, verre, bois, porcelaine, céramique et faïence.

| Taille du brûleur (mm) | Récipient minimum (diamètre / mm) |
| 160 | 120 |
| 180 | 140 |
| 210 | 160 |
| 280 | 180 |
N'utilisez pas d'ustensile de cuisson avec des bords irréguliers ou un fond arrondi.

Assurez-vous que la base de votre casserole ou poêle soit plane, qu'elle soit bien à plat contre le verre et de la même taille que la zone de cuisson. Placez toujours votre casserole ou poêle bien au centre de la zone de cuisson.

Soulevez toujours les casseroles de la plaque vitrocéramique, ne les faites pas glisser car cela pourrait rayer le verre.

- Utilisez des casseroles dont le diamètre de la zone ferromagnétique (base de la casserole) est dans la gamme de dimensions du tableau ci-dessous. (Tableau 1)
- Si vous utilisez des casseroles plus petites, les performances pourraient être affectées - Si vous utilisez des casseroles d'un diamètre inférieur à celui indiqué dans le tableau ci-dessus, les casseroles peuvent ne pas être détectées
Selon la dimension de la zone, vous pouvez utiliser des casseroles de différents diamètres comme illustré ci-dessous :

- Si la partie ferromagnétique ne couvre que partiellement la base de la casserole, seule la zone ferromagnétique se réchauffera, le reste de la base pourrait ne pas chauffer à une température suffisante pour cuire.

- Si la zone ferromagnétique n'est pas homogène, mais présente d'autres matériaux tels que l'aluminium, cela peut affecter le chauffage et la détection de la casserole.
Si la base de la casserole est similaire aux images ci-dessous, la casserole pourrait ne pas avoir été détectée.

Utilisation de votre plaque à induction
Pour commencer à cuire
- Après la mise sous tension, le signal sonore retentit une fois, tous les voyants s'allument pendant 1 seconde puis s'éteignent, indiquant que la plaque est passée en mode veille.
- Appuyez sur la commande Marche/Arrêt ①. Tous les voyants indiquent "-".
- Placez une casserole adaptée sur la zone de cuisson que vous souhaitez utiliser. Assurez-vous que le fond de la casserole et la surface de la zone de cuisson soient propres et secs.
- En touchant la commande de sélection de la zone de cuisson, un voyant à côté de la touche se mettra à clignoter.
- Sélectionnez un réglage de chaleur en touchant la commande “-” ou “+”.
- Si vous ne choisissez pas un réglage de chaleur dans la minute qui suit, la plaque à induction s'éteindra automatiquement. Vous devrez recommencer à partir de l'étape n° 1.
- Vous pouvez modifier le réglage de la chaleur à tout moment durant la cuisson.
Quand vous avez fini de cuisiner
- Touchez la commande de sélection de la zone de cuisson que vous souhaitez éteindre.
- Éteignez la zone de cuisson en faisant défiler jusqu'à “0”. Assurez-vous que “0” s'affiche.
- Éteignez toute la plaque en touchant la commande Marche/Arrêt.

La lettre “H” indique que la zone de cuisson est trop chaude pour être touchée. Elle disparaîtra quand la surface aura refroidi pour atteindre une température ne présentant aucun risque. Vous pouvez également l’utiliser comme une fonction économies d’énergie si vous souhaitez réchauffer d’autres casseroles, utilisez la plaque qui est encore chaude.

Utilisation de la gestion de la puissance
Il est possible de régler un niveau d'absorption maximale de la puissance pour la plaque à induction, en choisissant différentes plages de puissance.
Les plaques à induction sont en mesure de se limiter automatiquement pour fonctionner à un niveau de puissance plus faible, pour éviter le risque de surcharge.
Pour passer à la fonction de gestion de la puissance
- Allumez la plaque, puis appuyez simultanément sur la commande “+” (minuterie) et sur la commande Verrouillage. Le voyant de la minuterie affiche “P5”, ce qui indique le niveau de puissance 5. Le mode par défaut est sur 7,2 kW.

Pour passer à un autre niveau
Appuyez sur +/- de la minuterie. Il y a 5 niveaux de puissance, de “P1” à “P5”.
Le voyant de la minuterie affichera l'un d'eux.
“P1” : la puissance maximale est 2,5 kW.
“P2”: la puissance maximale est 3,5 kW.
“P3” : la puissance maximale est 4,5 kW.
“P4” : la puissance maximale est 5,5 kW.
“P5” : la puissance maximale est 7,2 kW.

text_image
OUValidation et sortie de la fonction de gestion de la puissance
Appuyez simultanément sur “+” (minuterie) et sur la commande Verrouillage pour confirmer afin d’éteindre la plaque.

Utilisation de la fonction Boost
Activer la fonction Boost
-
Sélectionnez la zone avec fonction Boost (zone avant gauche).
-
Touchez la touche "plus" + jusqu'à ce que l'indication du niveau de puissance affiche "P".
Annuler la fonction Boost
-
Sélectionnez la zone avec fonction Boost (zone avant gauche).
-
Touchez la touche "moins" — pour annuler la fonction Boost et sélectionnez le niveau souhaité.
- La fonction Boost est limitée à 5 minutes, ensuite la zone passe automatiquement au niveau 9.

Utilisation de la fonction Pause
- Appuyez sur la touche Pause 📄/‖, les zones de cuisson s'arrêtent. Tous les voyants des zones indiquent “‖”.

-
Appuyez une nouvelle fois sur la touche Pause 📄/⑪, toutes les zones de cuisson reviennent à leur réglage d'origine.
-
La fonction est disponible lorsqu'une ou plusieurs zones de cuisson fonctionnent.
- Si vous n'annulez pas le mode Pause dans les 30 minutes, la table de cuisson à induction s'éteint automatiquement.
Verrouillage des commandes
- Vous pouvez verrouiller les commandes pour éviter une utilisation indésirable (par exemple des enfants éteignant par inadvertance les zones de cuisson allumées).
- Quand les commandes sont verrouillées, toutes les commandes sont désactivées à l'exception de la commande Marche/Arrêt.
Pour verrouiller les commandes
Maintenez la commande Verrouillage 🔒/⑪ pendant 2 secondes. Le voyant de la minuterie affiche "Lo".
Pour déverrouiller les commandes
- Assurez-vous que la plaque est allumée.
- Touchez et maintenez la commande Verrouillage 🏻/⑪ pendant 2 secondes.
- Vous pouvez maintenant commencer à utiliser votre table de cuisson.

Quand la plaque est en mode verrouillage, toutes les commandes sont désactivées à l'exception de Marche/Arrêt, vous pouvez toujours éteindre la plaque avec la commande Marche/Arrêt en cas d'urgence, mais vous devrez d'abord déverrouiller la plaque lors de l'utilisation suivante.
Avertissement de chaleur résiduelle
Lorsque la plaque de cuisson fonctionne pendant un certain temps, il y aura de la chaleur résiduelle. La lettre “H” s'affiche pour vous avertir de vous tenir à l'écart.

Coupure automatique
La fonction de sécurité de la table de cuisson est automatiquement arrêtée. Cela se produit chaque fois que vous oubliez d'éteindre une zone de cuisson. Les délais de coupure par défaut sont indiqués dans le tableau ci-dessous :
| Niveau de puissance | 1 | 2 | 3 | 4 | 5 | 6 | 7 | 8 | 9 |
| Temps de fonctionnement par défaut (en heures) | 8 | 8 | 8 | 4 | 4 | 4 | 2 | 2 | 2 |
Utilisation de la minuterie
Vous pouvez utiliser la minuterie de deux manières différentes :
- Vous pouvez l'utiliser comme alarme. Dans ce cas-là, la minuterie n'éteindra pas la zone de cuisson quand le temps réglé se sera écoulé.
- Vous pouvez l'utiliser comme minuterie de coupure pour éteindre une ou plusieurs zones de cuisson une fois le temps écoulé.
- Vous pouvez régler la minuterie jusqu'à un maximum de 99 minutes.
Utilisation de la minuterie comme alarme
- Assurez-vous que la plaque est allumée. Et que la touche de sélection de la zone n'est pas activée (le voyant de la zone "-" ne clignote pas).
Remarque : vous pouvez régler la minuterie de fin de cuisson avant ou après la fin du réglage de la puissance de la zone de cuisson.
- Appuyez sur la touche de la minuterie, "00" s'affiche sur l'affichage de la minuterie et "0" clignote.
- Réglez le temps entre 1 et 99 minutes en touchant la commande "-" ou "+" de la minuterie (p. ex. 5).

text_image
- + → 05- Appuyez une fois sur "+" pour augmenter la durée d'une minute, appuyez une fois sur la touche "-" pour réduire la durée d'une minute. Lorsque la durée définie dépasse 99 minutes, elle revient automatiquement à "00", si les touches "-" et "+" sont actionnées simultanément, le voyant affiche "00".
- Quand le temps est réglé, le compte à rebours démarre immédiatement. L'écran affiche le temps restant.
- La sonnerie retentit pendant 30 secondes et le voyant de la minuterie indique "- - " quand le temps réglé est terminé.
Annulation de la minuterie
Après avoir réglé à nouveau le temps, maintenez la touche "Minuterie" enfoncée pendant 5 secondes pour annuler la minuterie. Le voyant revient à "00".
Utilisation de la minuterie pour éteindre une ou plusieurs zones de cuisson
- Touchez la commande de sélection de la zone de cuisson pour laquelle vous voulez régler la minuterie.

-
Appuyez sur la commande de la minuterie, "00" s'affiche sur l'affichage de la minuterie et "0" clignote.
-
Réglez le temps entre 1 et 99 minutes en touchant la commande "-" ou "+" de la minuterie (p. ex. 5).
-
Appuyez une fois sur "+" pour augmenter la durée d'une minute, appuyez une fois sur la touche "-" pour réduire la durée d'une minute. Lorsque la durée définie dépasse 99 minutes, elle revient automatiquement à "00", si les touches "-" et "+" sont actionnées simultanément, le voyant affiche "00".
-
Quand le temps est réglé, le compte à rebours démarre immédiatement. L'écran affiche le temps restant.
REMARQUE : un point rouge dans le coin inférieur droit de l'indication du niveau de puissance indique que cette zone est sélectionnée.
- Quand le temps de cuisson est terminé, la zone de cuisson correspondante s'éteint automatiquement.

text_image
6 - □Remarque : les autres zones de cuisson continueront à fonctionner si vous les avez allumées auparavant.
Si la minuterie est réglée sur plus d'une zone :
- Lorsque vous réglez la minuterie pour plusieurs zones de cuisson, les points rouges des zones de cuisson correspondantes sont indiqués. L'affichage de la minuterie indique les minutes. Le point de la zone correspondante clignote.

text_image
15 ✓ → 3.# 6. □(réglé sur 15 minutes)
(réglé sur 45 minutes)
- Quand le compte à rebours de la minuterie sera terminé, la zone correspondante s'éteindra. Puis la nouvelle minuterie min. s'affichera et le point de la zone correspondante clignotera.

text_image
30 ⑧→6※□Remarque : touchez la commande de sélection de la zone de cuisson, la minuterie correspondante s'affichera dans le voyant de la minuterie.
Lignes directrices pour cuisiner
Faites attention quand vous faites frire quelque chose car l'huile et les matières grasses chauffent très rapidement, en particulier si vous utilisez la fonction Boost.
À des températures extrêmement élevées, l'huile et les matières grasses prennent feu spontanément et représentent un risque sérieux d'incendie.
Astuces de cuisson
- Lorsque les aliments commencent à bouillir, réduisez le réglage de la puissance.
- L'utilisation d'un couvercle réduira les temps de cuisson et économisera de l'énergie en conservant la chaleur.
- Diminuer la quantité de liquide ou de matières grasses pour réduire les temps de cuisson.
- Commencer à cuisiner avec un réglage élevé puis réduire le réglage quand la nourriture est chaude.
Faire mijoter, cuire du riz
- Un liquide frémit en dessous du point d'ébullition, à environ 85 °C, quand les bulles commencent à monter occasionnellement à la surface du liquide de cuisson. C'est la clef pour obtenir des soupes délicieuses et des ragoûts tendres car les saveurs se développent sans trop cuire les aliments. Vous pouvez également cuisiner des sauces à base d'œuf et épaissies avec de la farine en dessous du point d'ébullition.
- Certaines tâches, y compris cuire du riz avec la méthode de l'absorption, peuvent nécessiter un réglage plus élevé que le réglage le plus faible pour garantir une cuisson correcte des aliments dans le temps recommandé.
Saisir un steak
Pour cuisiner des steaks savoureux et juteux :
- Laissez la viande à température ambiante pendant environ 20 minutes avant de la cuire.
- Chauffez une poêle avec un fond épais.
- Brossez les deux côtés du steak avec de l'huile. Versez un filet d'huile dans la poêle chaude puis placez la viande dans la poêle chaude.
- Ne tournez le steak qu'une seule fois durant la cuisson. Le temps exact de cuisson dépendra de l'épaisseur du steak et de comment vous l'aimez. Le temps peut varier de 2 à 8 minutes par côté. Appuyez sur le steak pour évaluer sa cuisson, plus il est ferme plus il sera bien cuit.
- Laissez le steak reposer sur une assiette chaude pendant quelques minutes pour qu'il s'assouplisse et devienne tendre avant de le servir.
Pour faire sauter des aliments
- Choisissez un wok à fond plat compatible avec la céramique ou une grande poêle à frire.
- Préparez tous les ingrédients et l'équipement. Les aliments doivent revenir rapidement. Si vous cuisinez de grandes quantités, cuisinez les aliments en plusieurs groupes plus petits.
- Préchauffez la poêle rapidement et ajoutez deux cuillères à soupe d'huile.
-
Cuisinez la viande d'abord, mettez-la de côté et gardez-la au chaud.
-
Faites revenir les légumes. Quand ils sont chauds mais encore croquants, baissez sous la zone de cuisson, remettez la viande dans la poêle et ajouter votre sauce.
- Remuez les ingrédients délicatement pour être certain qu'ils sont bien chauds.
- Servez immédiatement.
Réglages de la chaleur
| Réglage de la chaleur | Pertinence |
| 1-2 | réchauffer délicatement de petites quantités d’alimentsfaire fondre du chocolat, du beurre et des aliments qui brûlent rapidementfaire mijoter délicatementtiédir lentement |
| 3-4 | réchaufferfaire frémir rapidementcuisiner du riz |
| 5-6 | pancakes |
| 7-8 | faire revenircuisiner des pâtes |
| 9 | faire sauter des alimentssaisiramener la soupe à ébullitionfaire bouillir de l’eau |
Entretien et nettoyage
| Quoi ? | Comment ? | Important ! |
| Salissures de tous les jours sur le verre (empreintes, marques, taches laissées par les aliments ou des débordements non sucrés sur le verre). | 1. Mettez la plaque de cuisson hors tension.2. Versez un nettoyant pour plaque quand le verre est encore tiède (mais pas chaud !)3. Rincez et essuyez avec un chiffon propre ou du papier absorbant.4. Remettez la plaque de cuisson sous tension. | Quand la plaque de cuisson est hors tension, l’indication « surface chaude » n’apparaît pas mais la zone de cuisson peut encore être chaude!Faites extrêmement attention.Les tampons à récurer, certains tampons en nylon et les agents de nettoyage abrasifs peuvent rayer le verre. Lisez toujours l’étiquette pour contrôler que votre nettoyant ou tampon à récurer est adapté.Ne laissez jamais de résidu de nettoyage sur la plaque: il pourrait tacher le verre. |
| Débordements, aliments fondus et éclaboussures sucrées et chaudes sur le verre | Eliminez-les immédiatement avec une spatule ou un racloir adapté pour les plaques vitrocéramiques, mais faites attention aux surfaces de cuisson chaudes :1. Éteignez la plaque de cuisson au niveau du mur.2. Tenez la lame ou l’ustensile avec un angle de 30° et raclez la salissure ou l’éclaboussure jusqu’à une zone froide de la plaque de cuisson.3. Nettoyez la salissure ou l’éclaboussure avec un torchon ou du papier absorbant.4. Suivez les étapes de 2 à 4 pour le paragraphe « Salissures de tous les jours sur le verre » ci-dessus. | Enlevez les taches laissées par les aliments fondus et sucrés ou les débordements dès que possible. Si vous les laisser refroidir sur le verre, vous pourriez avoir du mal à les éliminer ou ils pourraient même abîmer irrémédiablement la surface du verre.Risque de coupure : quand le couvercle de sécurité est enlevé, la lame du racloir est particulièrement coupante. Faites extrêmement attention quand vous l’utilisez et rangez-la toujours à l’abri et hors de portée des enfants. |
| Débordements sur les commandes tactiles | 1. Mettez la plaque de cuisson hors tension.2. Épongez le débordement3. Essuyez la zone des commandes tactiles avec un chiffon ou une éponge humide propre.4. Essuyez parfaitement la zone avec du papier absorbant.5. Remettez la plaque de cuisson sous tension. | La plaque de cuisson peut sonner et se couper toute seule, et les commandes tactiles peuvent ne pas fonctionner quand il y a un liquide dessus.Veillez à bien essuyer la zone des commandes tactiles avant de rallumer la plaque. |
Conseils et astuces
| Problème | Causes possibles | Que faire |
| Il est impossible d'allumer la plaque de cuisson. | Pas de courant. | Assurez-vous que la plaque de cuisson soit branchée sur le secteur et qu'elle soit sous tension. Vérifiez s'il y a une coupure de courant chez vous ou dans votre quartier. Si vous avez tout contrôlé et que le problème persiste, appelez un technicien qualifié. |
| Les commandes tactiles ne répondent pas. | Les commandes sont verrouillées. | Déverrouillez les commandes. Voir le paragraphe « Utilisation de votre plaque vitrocéramique » pour consulter les instructions. |
| Les commandes tactiles sont difficiles à utiliser. | Il se peut qu'il y ait une mince pellicule d'eau sur les commandes ou vous avez peut-être utilisé l'extrémité de votre doigt pour toucher les commandes. | Assurez-vous que la zone des commandes tactiles est sèche et utilisez la partie charnue de votre doigt quand vous touchez les commandes. |
| Le verre est rayé. | Ustensiles de cuisson avec bord rugueux. Utilisation d'un tampon abrasif ou de produits de nettoyage inadaptés. | Utilisez des ustensiles de cuisson avec des fonds plats et lisses. Voir « Sélection du bon ustensile de cuisson ». Voir « Entretien et nettoyage ». |
| Certaines casseroles émettent des craquements ou des cliquêtements. | Cela peut être dû à la construction de votre ustensile de cuisson (des couches de métaux différents qui vibrent différemment). | Cela est normal pour les ustensiles de cuisson et cela n'indique pas un défaut. |
| La plaque à induction émet un ronronnement bas quand elle est utilisée avec un réglage sur haute chaleur. | Ceci est dû à la technologie de la cuisson à induction. | Cela est normal, mais le bruit devrait diminuer voire disparaître complètement quand vous diminuez la chaleur. |
| Bruit de ventilateur provenant de la plaque à induction. | Un ventilateur de refroidissement intégré dans votre plaque à induction sert à prévenir la surchauffe des parties électroniques. Il peut continuer à fonctionner après que vous ayez éteint la plaque à induction. | Cela est normal et ne requiert aucune intervention. N'éteignez pas la plaque à induction au niveau du mur quand le ventilateur fonctionne. |
| Les casseroles ne deviennent pas chaudes et apparaissent sur l'afficheur. | La plaque à induction ne peut pas détecter la casserole car elle n'est pas adaptée pour la cuisson à induction. La plaque à induction ne peut pas détecter la casserole car elle est trop petite pour la zone de cuisson ou n'est pas centrée correctement dessus. | Utilisez des ustensiles de cuisson adaptés à la cuisson à induction. Voir le paragraphe « Sélection du bon ustensile de cuisson ». Centrez la casserole et assurez-vous que sa base correspond bien à la taille de la zone de cuisson. |
| La plaque à induction ou une zone de cuisson s'est coupée à l'improviste, un son résonne et un code d'erreur s'affiche (en alternant habituellement un ou deux chiffres sur l'afficheur de la minuterie de cuisson). | Défaut technique. | Veuillez noter les lettres et les numéros d'erreur, éteignez la plaque à induction au niveau du mur et contactez un technicien qualifié. |
Affichage des pannes et inspection
Si une situation anormale se présente, la plaque à induction passera automatiquement dans un état de protection et affichera les codes de protection correspondants :
| Problème | Causes possibles | Que faire |
| E4/E5 | Panne du capteur de température | Veuillez contacter le fournisseur. |
| E7/E8 | Capteur de température de la panne IGBT. | Veuillez contacter le fournisseur. |
| E2/E3 | Tension d’alimentation anormale | Veuillez contrôler que la tension d’alimentation soit normale.Remettez sous tension quand l'alimentation est normale. |
| E6/E9 | Mauvaise radiation de chaleur de la plaque à induction | Veuillez redémarrer après avoir laissé refroidir la plaque à induction. |
Ces commentaires correspondent à l'analyse et l'inspection des pannes courantes. Veuillez ne pas démonter l'unité vous-même pour éviter tout danger et dégât pour la plaque à induction.
Caractéristiques techniques
| Plaque à induction | CI642CBB/1 |
| Zones de cuisson | 4 zones |
| Tension d’alimentation | 220-240 V~ 50/60 Hz |
| Puissance électrique installée | 7 200 W |
| Taille du produit P×L×H (en mm) | 590×520×58 |
| Dimensions du produit encastré A×B (en mm) | 560×490 |
| Plaque à induction | CI633CBB/1 |
| Zones de cuisson | 3 zones |
| Tension d’alimentation | 220-240 V~ 50/60 Hz |
| Puissance électrique installée | 7 200 W |
| Taille du produit P×L×H (en mm) | 590X520X58 |
| Dimensions du produit encastré A×B (en mm) | 560X490 |
Le poids et les dimensions sont approximatifs. Nous nous efforçons d'améliorer constamment nos produits, c'est pourquoi il est possible que nous modifiions les caractéristiques et les modèles sans préavis.
Installation
Sélection de l'équipement d'installation
- Coupez la surface de travail en fonction de la taille indiquée sur le dessin.
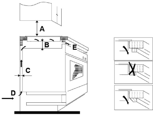
- Pour l'installation et l'utilisation, un espace minimum de 50 mm doit être laissé autour du trou.
- Vérifiez que l'épaisseur de la surface de travail soit d'au moins 30 mm.
Veuillez choisir un matériau résistant à la chaleur pour la surface de travail afin d'éviter une déformation importante provoquée par le rayonnement thermique provenant de la plaque chaude. Comme cela est montré ci-dessous :
Avertissement : le matériau du plan de travail doit être en bois imprégné ou tout autre matériau isolant.

Quelles que soient les circonstances, assurez-vous que la plaque est bien ventilée et que l'entrée et la sortie d'air ne sont pas obstruées. Assurez-vous que la table de cuisson est en bon état de fonctionnement. Comme cela est montré ci-dessous.
Remarque : la distance de sécurité entre la plaque et le placard situé au-dessus de la plaque doit être d'au moins 760 mm.

Avant d'installer la plaque de cuisson, vérifiez les éléments suivants :
- La surface de travail est carrée et plane, et aucun élément structural n'interfère avec les exigences d'espace.
- La surface de travail est réalisée dans un matériau résistant à la chaleur.
- Si la plaque de cuisson est installée au-dessus d'un four, le four doit avoir un ventilateur de refroidissement incorporé.
- L'installation est conforme aux exigences en matière de dégagement et aux normes et réglementations applicables.
- Un sectionneur adapté permettant une déconnexion complète du secteur est incorporé dans le câblage permanent, monté et positionné pour respecter les réglementations et les règles de câblage locales.
- Le sectionneur doit être agréé et fournir une séparation de contact avec un trou d'air de 3 mm dans tous les pôles (ou dans tous les conducteurs [de phase] actifs si les règles de câblage locales permettent cette variation des exigences).
- L'utilisateur doit pouvoir accéder aisément au sectionneur quand la plaque de cuisson est installée
- Consultez le service local de l'urbanisme et les arrêtés municipaux si vous avez des doutes pour l'installation
- Vous devez utiliser des finitions résistantes à la chaleur et faciles à nettoyer (comme des carreaux en céramique) pour les surfaces murales situées autour de la plaque de cuisson.
Quand vous avez installé la plaque de cuisson, vérifiez les éléments suivants :
- Le câble d'alimentation n'est pas accessible à travers les portes ou les tiroirs des placards.
- Il y a un flux adéquat d'air de l'extérieur du meuble jusqu'à la base de la plaque.
- Si la plaque de cuisson est installée au-dessus d'un tiroir ou d'un placard, une barrière de protection thermique est installée sous la base de la plaque.
• L'utilisateur peut facilement accéder au sectionneur.
Avant de placer les étriers de fixation
L'unité doit être placée sur une surface stable et lisse (utilisez l'emballage).
Ne forcez pas sur les commandes dépassant de la plaque de cuisson.
Placement des étriers de fixation
- L'unité doit être placée sur une surface stable et lisse (utilisez l'emballage). Ne forcez pas sur les commandes dépassant de la plaque de cuisson.
- Fixez la plaque sur la surface de travail au moyen de quatre étriers à vis sur le fond de la plaque (voir image) après l'installation.
- Réglez la position des étriers en fonction de l'épaisseur de la surface de travail.

text_image
Plaque de cuisson Étrier Plan de travail
text_image
Plaque de cuisson Étrier Plan de travail
- La plaque doit être installée par du personnel ou des techniciens qualifiés. Nous avons des professionnels à votre disposition. N'effectuez jamais l'opération vous-même.
- La plaque ne doit pas être montée sur un équipement de refroidissement, un lave-vaisselle et un séchoir rotatif.
- La plaque doit être installée de manière à ce que le rayonnement thermique puisse être garanti pour améliorer sa fiabilité.
- Le mur et la zone de chauffage induite situés au-dessus de la surface de travail doivent supporter la chaleur.
- Pour éviter tout dégât matériel, la couche en sandwich et l'adhésif doivent être résistants à la chaleur.
- Ne pas utiliser de nettoyeur vapeur.
- Cette plaque vitrocéramique ne peut être raccordée qu'à une alimentation ayant une impédance du système inférieure ou égale à 0,427 ohm. Si cela s'avère nécessaire, veuillez consulter votre compagnie d'électricité pour obtenir les informations relatives à l'impédance du système.
Branchement de la plaque sur le secteur
L'alimentation doit être raccordée conformément à la norme applicable ou avec un disjoncteur unipolaire. La méthode de raccordement est montrée ci-dessous.

- Si le câble est abîmé ou qu'il a besoin d'être remplacé, cette opération doit être effectuée par un technicien du service après-vente qui utilise ses propres outils, de manière à éviter tout accident.
- Si l'appareil est branché directement sur le secteur, un disjoncteur omnipolaire doit être installé avec un écart minimum de 3 mm entre les contacts.
- L'installateur doit s'assurer que le branchement électrique a été effectué correctement et qu'il est conforme aux réglementations de sécurité.
• Le câble ne doit pas être plié ou comprimé. - Le câble doit être contrôlé régulièrement et il ne doit être remplacé que par une personne qualifiée.

MISE AU REBUT : ne jetez pas ce produit avec les ordures ménagères.
Il est nécessaire de le jeter séparément car il nécessite un traitement spécial.
Cet appareil est marqué conformément à la Directive Européenne 2012/19/CE relative aux déchets d'équipements électriques et électroniques (DEEE). En vous assurant que cet appareil est mis au rebut correctement, vous aiderez à éviter de porter atteinte à l'environnement et à la santé humaine, ce qui aurait par contre lieu s'il était éliminé de manière incorrecte.
Le symbole figurant sur le produit indique qu'il ne doit pas être traité comme des ordures ménagères. Vous devez l'apporter à un centre de tri pour le recyclage des produits électriques et électroniques.
Cet appareil requiert une mise au rebut spécialisée. Pour plus d'informations sur le traitement, la récupération et le recyclage de ce produit, veuillez contacter les autorités locales, votre service de collecte des ordures ménagères ou le magasin où vous l'avez acheté.
Pour des informations plus détaillées sur le traitement, la récupération et le recyclage de ce produit, veuillez contacter votre mairie, votre service de collecte des ordures ménagères ou le magasin où vous avez acheté le produit.
Notice Facile