CIS633DTT/1 - Plaque de cuisson induction CANDY - Notice d'utilisation et mode d'emploi gratuit
Retrouvez gratuitement la notice de l'appareil CIS633DTT/1 CANDY au format PDF.
| Type de plaque | Induction |
| Nombre de foyers | 3 |
| Disposition des foyers | 2 petits, 1 grand |
| Commande | Touches sensitives |
| Puissance maximale | Non précisé |
| Fonction booster | Oui |
| Minuterie | Oui |
| Affichage | LED |
| Sécurité enfants | Oui |
| Détection de casserole | Oui |
| Dimensions (L x P) | Non précisé |
| Matériau de surface | Verre céramique |
| Couleur | Noir |
| Installation | Encastrable |
| Type d'alimentation | Électrique |
FOIRE AUX QUESTIONS - CIS633DTT/1 CANDY
Téléchargez la notice de votre Plaque de cuisson induction au format PDF gratuitement ! Retrouvez votre notice CIS633DTT/1 - CANDY et reprennez votre appareil électronique en main. Sur cette page sont publiés tous les documents nécessaires à l'utilisation de votre appareil CIS633DTT/1 de la marque CANDY.
MODE D'EMPLOI CIS633DTT/1 CANDY
Instruction Manual / Mode d'emploi
FRENCH

MODEL: CIS633DTT/1
Consignes de sécurité
Votre sécurité est importante pour nous. Veuillez tire ces informations avant d'utiliser votre table de cuisson.
Installation
Risque de chocolélectrique
- Débranchez l'appareil du réseau électrique avant d'effectuer tout travail ou entretien sur celui-ci.
- Le raccordement à un bon système de mise à la terre est essentiel et obligatoire.
- Seul un électricien qualifié est habilité à effectuer des modifications sur le système de câblage domestique.
- Le non-respect de ces consignes peut entrainer un choc électrique ou le décès.
Risque de coupure
- Faites attention - les bords des panneaux sont tranchants.
- Le non-respect de cette précaution peut entrainer des blessures ou des coupures.
Consignes importantes de sécurité
- Veuillez dire les instructions avant d'installer ou d'utiliser cet apparéil.
- Aucun matériel ou produit combustible ne doit être
place sur cet apparéil, àaucun moment.
- VeuillezMETTEcEsInformationsaLa disposition de la personne responsablede l'installationde l'appareil afin de réduire vos coûts d'installation.
- Afin d'éviter tout danger, cet apparéil doit être installé conformément aux prsentes instructions d'installation.
- Cet apparéil doit être correctement installé et mis à la terre uniquement par une personne qualifiée.
- Cet apparéil doit être raccordé à un circuit incorporeant un sectionneur permettant une déconnexion complète de l'alimentation électrique.
- L'installation incorrecte de l'appareil peut entraîner l'annulation de toute garantie ou responsabilité.
Fonctionnement et entretien Risque de chocolélectrique
- Ne pas cuisiner sur une table de cuisson cassée ou fissurée. - En cas de rupture ou de fissuration de la surface de la table de cuisson, éteignez immédiatement l'appareil en coupant l'alimentation électrique du réseau (interrupteur mural) et contactez un technicien qualifié.
- Coupez l'alimentation réseau de la table de cuisson avant le nettoyage ou l'entretien.
- Le non-respect de ces consignes peut entraîner un choc électrique ou le décès.
Risque pour la santé
- Cet apparéil est conforme aux normes de sécurité
électromagnétique.
- Toutefois, les personnes porteuses de pacemakers ou d'autres implants électriques (tels que des pompes à insuline) doivent consulter leur médecin ou le fabricant de l'implant avant d'utiliser cet apparéil afin de s'assurer que leurs implants ne seront pas affectés par le champs électromagnétique.
- Le non-respect de ces consignes peut entraîner le décès.
Risque de surface chaude
- Pendant l'utilisation, les parties accessibles de cet apparéil deviennent suffisamment chaudes pour causer des brûlures.
- Ne laissez pas votre corps, vos vêtements ou tout autre object autre qu'un ustensile de cuisine approprié entre en contact avec le verre à induction jusqu'à ce que la surface soit froide.
- Les objets métalliques tels que couteaux, fourchettes, cuillères et couvercles ne doivent pas être posés sur la surface de la table de cuisson, car ils peuvent devenir chauds.
- Tenir les enfants à l'écart.
- Les poignées des casseroles peuvent être chaudes au toucher. Vérifiez que les poignées des casseroles ne dépassent pas des autres foyers de cuisson qui sont en fonction. Tenir les poignées hors de portée des enfants.
- Le non-respect de ces consignes peut entraîner des brûlures ou un choc électrique.
Risque de coupure
- Lorsque le couvercle de protection est rétracté, la lame d'un racleur est tranchante comme un rasoir. Utiliser avec une extrème prudence et toujours stocker en toute sécurité et hors de portée des enfants.
- Le non-respect de cette précaution peut entraîner des blessures ou des coupures.
Consignes importantes de sécurité
- Ne laissez jamais l'appareil sans surveillance lorsqu'il est utilisé. L'ébullition cause des vapeurs et des débordements graisseux qui peuvent s'enflammer.
- N'utilisez jamais votre apparéil comme surface de travail ou de rangement.
- Ne laisses jamais d'objets ou d'ustensiles sur l'objet.
- Ne posez jamais ou ne laisses jamais d'objets magnétisés (par ex. cartes de crédit, cartes mémoire) ou d'appareils électroniques (par ex. ordinateurs, lecteurs MP3) à proximité de l'appareil car ils pourraient être affectés par son champ electromagnétique.
- N'utilisez jamais votre apparéil pour réchauffer ou chauffer la piece.
- Àprousutilisation,éteignez:tousjourslesfoyersde cuissonetla tabledecuisson commedécrit dans ce manuel (c'est-à-direenutilisantles touches tactiles). Ne comptez pas sur la fonction de détction de casserole pour éteindre les foyers de cuisson lorsque
- Ne permette pas aux enfants de jouer avec l'appareil, de s'asseoir, de se tenerABOUT ou de monter dessus.
- Ne rangez pas d'objets d'intérêt pour les enfants dans des armoires au-dessus de l'appareil. Les enfants qui montent sur la table de cuisson peuvent être gravesment blessés.
- Ne laissez pas les enfants seuls ou sans surveillance dans la zone où l'appareil est utilisé.
- Les enfants ou les personnes ayant un handicap qui limite leur capacité d'utiliser l'appareil devraient avoir une personne responsable et compétente pour les instruire sur son utilisation. L'instructeur doit s'assurer qu'il peut utiliser l'appareil sans danger pour lui-même ou son environnement.
- Ne réparez ou ne remplacez aucune piece de l'appareil à moins que cela ne soit spécifiquement recommandé dans le manuel. Tout autre entretien doit être effectué par un technicien qualifié.
- N'utilisez pas un nettoyeur à vapeur pour les opérations de nettoyage de la table de cuisson.
- Ne placez pas ou ne laissez pas tomber d'objets lourds sur votre table de cuisson.
- Ne vous tenez pasABOUT sur VOITE table de cuisson.
- N'utilisez pas de casseroles avec des bords denteles et ne trainez pas de casseroles sur la surface de la vitre à induction, car cela pourrait érafler le verre.
- N'utilisez pas d'éponges métalliques ou d'autres
produits abrasifs agressifs pour nettoyer votre table de cuisson, car ils pourraient rayer la vitre à induction.
- Si le cable d'alimentation est endommagé, il doit être remplace par le fabricant, son agent d'entretien ou des personnes possédant le même type de qualification, afin d'éviter tout risque.
- Cet apparéil est destiné à un usage domestique et autres applications similaires telles que : - espaces cuisine du personnel dans des boutiques, bureaux et autres espaces de travail ; - maisons de ferme ; - par les clients dans des hotels, motels et autres espaces de type résidentiel ; - dans les espaces de type,chambre d'hôtes.
AVERTISSEMENT : L'appareil et ses parties accessibles chauffent pendant l'utilisation. Évitez de toucher les éléments chauffants.
Les enfants de moins de 8 ans doivent être tenus à l'écart à moins d'être surveillés en permanence.
- Cet apparéil peut être utilisé par des enfants âgés de 8 ans et plus, par des personnes dont les capacities physiques, sensorielles ou mentales sont réduites ou par des personnes dénuées d'expérience et de connaissances, mais qui ont été informées sur la manière d'utiliser l' apparéil en toute sécurité, si elles comprendtent les risques impliqués.
Les enfants ne doivent pas jouer avec l'appareil. L'entretien et le nettoyage ne doivent pas etre effectués par des enfants sans surveillance.
AVERTISSEMENT : Faire chauffer la table sans surveillance avec de laGRAisse ou de l'huile peut etre dangereux et provoquer un incendie. N'essayez JAMAIS d'eteindre un feu avec de I'eau, mais eteignez l'appareil, puis couvrez la flamme avec un couvercle ou une couverture anti-feu, par exemple. AVERTISSEMENT : Risque d'incendie : ne pas stocker d'eléments sur les surfaces de cuisson. Avertissement : Si la surface est fissurée, eteignez l'appareil pour éviter tout risque d'électrocution, pour les tables de cuisson en vitrocéramique ou materiaiu similaire qui protègent les pieces sous tension
- N'utilisez jamais de nettoyeur à vapeur.
- Cet apparéil n'est pas conscience pour être actionné par une minuterie externe ou un système de commande à distance séparé.
ATTENTION : La cuisson doit être surveillée. Les cuissons de courte durée doivent être surveillées en permanence.
AVERTISSEMENT : Pour éviter tout basculement de l'appareil, ces éléments de stabilisation doivent être installés. Consultez les instructions d'installation.
AVERTISSEMENT : Utilisez uniquement le dispositif de protection de votre table de cuisson conçu par le fabricant de votre apparéil ou un dispositif indiqué par celui-ci comme étant compatible ou bien utiliser le dispositif de protection fourni avec l' apparéil.
L'utilisation d'un dispositif de protection non approprié peut provoquer des accidents.
Cet apparéil inclut un raccordement à la terre pour des finalités fonctionnelles uniquement.
Nosyoufvélicitonsdevoitrichde la table decuissonàinduction.
Nous vous recommendons de prendre le temps de dire ce manuel d'instruction / d'installation afin de bien comprendre comment l'instructor et l'utiliser correctement.
Pour l'installation, veuilles dire la section installation.
Lisez attentivement toutes les consignes de sécurité avant utilisation et conserveze ce manuel d'instruction / d'installation pour referencia ultérieure.
Vue d'ensemble du produit
Vue de dessus

- Foyer 2000 W, augmenté à 2600 W
- Foyer 1500 W, augmenté à 2000 W
- Foyer 2300 W, augmenté à 3000 W
- Table de verre
- Panneau de commande
Panneau de commande

- Indicateur de selection du foyer de cuisson
- Indicateur de temporisateur
- Touche de réglage de la puissance et du temporisateur
- Touche de verrouillage
- Touche marche/arrêt
- Touche Fonction Boost
- Touche Fonction Pause
- Touche Fonction Maintien au chaud
Un mot sur la cuisson à induction
La ciisson à induction est une technologie sûre, innovante, efficace et économique. Elle fonctionne au moyen de vibrations électromagnétiques qui générent de la chaleur directement dans la casserole plutôt qu'indirectement en chauffant la surface vitrée. La vitre devient chaude uniquement parce que la casserole la chaffe.

casserole en fer
circuit magnétique plaque de verre céramique bobine d'induction
Avant d'utiliser votre nouvelle table de cuisson à induction
-
Lisez ce guide en prénant note de la section « Consignes de sécurité »
-
Enlevez tout film protecteur qui pourrait encore se trouver sur votre table de cuisson à induction.
Utilisation des commandes tactiles
- Les commandes répondent au toucher, vous n'avez donc pas besoin d'appuyer fort.
- Utilisez le bout du doigt et non pas l'ongle.
- Vous entendrez un bip à chaque fois qu'une touche est enregistrée.
Assurez-vous que les commandes sont toujours propres et sèches et qu'aucun object (p. ex. un ustensile ou un chiffon) ne les recouvre. Meme un mince film d'eau peut rendre les commandes difficiles à utiliser.

Choisir uneonne batterie de cuisine

- Utilisez uniquement une batterie de cuisine adaptée à la cuisson à induction.
Recherche le symbole de l'induction sur l'emballage ou sur le fond de la casserole. - Vous pouvez vérifier si votre batterie de cuisine est adaptée en réalisant
un test magnétique. Rapprochez un aimant vers le fond de la casserole. S'il est attiré, la casserole convient pour l'induction. - Si vous n'avez pas d'aimant :
- Mettez de l'eau dans la casserole que vous voulez tester.
- Si ne clignote pas sur le panneau et que l'eau chauffe, la casserole est adaptée.
- Les batteries de cuisine fabriquées dans les matérieliaux suivants ne sont pas adaptées : acier inoxydable pur, aluminium ou cuivre sans base magnétique, verre, bois, porcelainé, céramique et grès.

N'utilisez pas d'ustensiles de cuisson dont les bords sont dentelés ou dont la base est incurvée.



Assurez-vous que la base de votre poèle est lisse, qu'elle repose à plat contre le verre et qu'elle est de la même taille que la zone de cuisson. Utilisez des casseroles dont le diamètre est aussi grand que le graphique du foyer sélectionné. Si elle est un peu plus grande,
l'énergie sera exploiterée au maximum. Si vous utilisez une casserole plus petite, l'efficacité pourrait être moindre que prévu. Centrez toujours votre casserole sur le foyer de cuisson.

Soulevez toujours les casseroles de la table de cuisson à induction - ne les faites pas glisser, sinon elles risquent d'érafler le verre.

Dimensions de la casserole
Les foyers de cuisson sont, dans une certaine limite, automatiquement adaptés au diamètre de la casserole. Cependant, le fond de cette casserole doit avoir un diamètre minimum en fonction du foyer de cuisson correspondant. Pour obtenir la meilleure efficacité de votre table de cuisson, placez la casserole au centre du foyer de cuisson.
Le diamètre de base des ustensiles de cuisson à induction
| Zone de cuisson | Minimum (mm) |
| 1, 2 (180mm) | 120 |
| 3 (280mm) | 180 |
La détction de la zone peut varier en fonction de la qualité du recipient utilisé.
Utilisation de votre table à induction
Comme commencer la cuisson
- Appuyez sur la touche Marche/Arret.
Après la mise en marche, l'avertisseur sonore retentit une fois et toutes les touches affichent « - » ou « - - » pour signifier que la table à induction est en mode de voirie.
-
Posez la casserole sur le foyer de cuisson que vous souhaitez utiliser.
-
Veiliez à ce que le fond de la casserole et la surface du foyer de cuisson soient propres et secs.
- Sélectionnez un foyer de cuisson et réglez le niveau de chauffe en appuyant sur les touches « - » ou « + »
a. Si vous ne seLECTIONnez pas un réglage de cuisson dans un délié d'une minute, la table à induction s'éteint automatiquement. Vous devrez alors tout repreneindre depuis l'étape 1.
b. Vous pouvez changer le réglage besoin à n'importe quel moment de la cuisson.



Si la touche ≥slant ≤slant clignote en alternance avec l'indication du réglage de puissance
Cela signifie que :
- vous n'avez pas posé la casserole sur le bon foyer ou
- la casserole que vous utilisez n'est pas prévue pour la cuisson à induction ou
- la casserole utilisé est trop petite ou n'est pas correctement placée au centre du foyer.
La fonction de chauffe ne démarre pas si aucune casserole adaptée n'est placée sur le foyer de cuisson.
Si dans un décai de 1 minute, vous n'avez pas posé de casserole adaptée, la touche s'éteint automatiquement.
Quand you avez fini de cuisine
- Éteignez la zone de cuisson en appuyant sur la commande «-» de la zone que vous souhaitez désactiver.
Assurez-vous que la touche affiche « 0 » puis « H »



-
Éteignez la table de cuisson en appuyant sur la touche Marche/Arrêt.
-
Prenez garde aux surfaces chaudes.
« H » indique un foyer de cuisson encore trop chaud pour être touché. Cette indication disparaîtès que la surface du foyer a suffisamment refroidi. Vous pouvez économiser de l'énergie, si vousdez faire chauffer une autre casserole, en la plaçant sur le foyer de cuisson encore chaud.

$$ - H + $$
Utilisation du réglage de la puissance
En utilisant le réglage de la puissance, vous pouvez régler la puissance totale sur 2,5 kW/3,0 kW/4,5 kW/5,5 kW et 6,9 kW. Le réglage par défaut de la puissance totale est le niveau de chauffe maximal.
Réglage du niveau de chauffe total pour répondre à vos exigences
- Vérifiez que la table de cuisson est éteinte.
Remarque: vous pouvez régler la puissance uniquement quand la table de cuisson est éteinte.
-
Appuyez sur la touche « Pause » pendant 5 secondes. Vous entendrez un bipsonore.
-
ÀpRES le bip, appuyez sur « + » et « - » en même temps pendant 3 secondes ; l'indicateur du temps clignotera en indiquant le niveau de puissance totale précédent, par ex. '2.5'. Appuyez sur « + » et « - » pendant encore 1 seconde pour basculer vers un autre niveau de puissance, par ex. 3.0. Lorsque la puissance souhaïée clignote, appuyez sur la touche « Pause » pendant 5 secondes. Le bip retentira 10 fois. Cela signifie que vous avez terminé le réglage.

Remarque:
- Àpres l' étape 2, vous nevez appuyer sur « + » et « - » dans les 3 secondes après avoir entendu le bip sonore. Sinon, vous devrez tout reprendre depuis l' étape 2.
- À la fin du réglage, attendez la fin des 10 bips sonores. Ne touche aucun bouton pendant cette période sinon le réglage sera invalide.
Régles de réglage de la puissance
Si la puissance totale dépasse la limite de 2,5 kW, 3,0 kW, 4,5 kW, 5,5 kW (en fonction du niveau que vous avez régle), vous ne pouvez augmenter la puissance sur aucun foyer. Si vous l'augmentez à l'aide de la touche « +», la table de cuisson émettra 3 bips sonores et l'indicateur clignotera en indiquant « Pn ». Vous devrez alors réduire la puissance d'autres foyer de cuisson avant d'augmenter la puissance du foyer en question.
Utilisation de la fonction Boost
La fonction Boost permet d'augmenter la puissance d'un foyer en une seconde et cependant 5 minutes. De cette façon, la cuisson sera plus vivie et plus rapide.
Utilisation de la fonction Boost pour augmenter la puissance
- Appuyez sur «-» ou «++» pour activer la zone que vous souhaitez activer un témoin lumineux après de la touche commence à clignoter.

- Appuyez sur la touche Boost, le foyer de cuisson commencerà à fonctionner en mode Boost. La touche affichera « P » pour indiquer que le foyer est en mode Boost.

- La puissance Boost durera 5 minutes puis le foyer reviendra à la puissance <<9>>.

- Si vous souhaitez annuler Boost, touche «-» ou «++» de la zone où le boost est acif, un indicateur à côté de la touche clignotera. Appuyez ensuite sur la touche Boost. Le foyer de
cuisson revienda à la puissance <<9>>.

Restrictions pendant l'utilisation
Les trois foyers sont divisés en deux groupes. Dans un groupe, si vous utilisez le mode Boost sur un foyer, assurez-vous d'abord que l'autre foyer fonctionne au maximum au niveau 5.

Utilisation de la fonction Maintien au chaud
La fonction maintainen au chaud convient pour maintenir les plats au chaud.
Utilisation de la fonction Maintien au chaud pour obtenir une température stable
- Appuyez sur «-» ou «++» pour activer la zone sur laquelle vous souhaitez utiliser le maintien au chaud, un tímoin lumineux près de la touche commence à clignoter.

- Appuyez sur la touche , l'indicateur du foyer de cuisson clignotera en indiquant « A »

- Si vous souhaitez annuler le maintain au chaud, appuyez sur «-» ou «+» de la zone où le keep warm est activé, un indicateur à côté de la touche clignote, puis appuyez sur le bouton de maintain au chaud . Le foyer de cuisson reviendra au niveau de puissance « 0 »

Utilisation de la fonction Pause (STOP+GO)
La fonction Pause peut être utilisée à tout moment pendant la cuisson. Elle permet d'etreindre puis de rallumer la table de cuisson à induction.
- Assurez-vous que le foyer de cuisson fonctionne.
- Appuyez sur la touche PAUSE, l'indicateur du foyer de cuisson indiquera « Il ». Le fonctionnement de tous les foyers de la table de cuisson à induction sera désactivé, à l'exception des touches PAUSE, Marche/Arrêt et des touches de verrouillage.

- Pour supprimer la condition de pause, appuyez sur la touche PAUSE; le foyer de cuisson reviendra à la puissance qui était réglée avant le basculement en pause.

Verrouillage des touches de commande
- Vous avez la possibilité de verrouiller les touches de commande pour éviter leur utilisation inappropriée (par des enfants, par exemple).
- Quand la touche de verrouillage est activée, toutes les touches de commande sont verrouillées, sauf la touche marche/arrêt.
Verrouillage des touches de commande
Appuyez sur la touche de verrouillage. L'indicateur de temporisation affiche « Lo » Déverrouillage des touches de commande
-
Vérifiez que la table de cuisson à induction est éteinte.
-
Appuyez longuement sur la touche de verrouillage.
- Vous pouvez maintainant commencer à utiliser votre table de cuisson à induction.

Quand la table de cuisson est en mode verrouillage, toutes les touches de commande sont désactivées sauf la touche marche/arrêt. Vous gardez la possibilité d'etreindre la table à induction en utilisant la touche marche/arrêt en cas d'urgence, mais, dans ce cas, vous devrez d'abord déverrouiller la table de cuisson lors de l'utilisation suivante.
Protection contre la surchauffe
Un capteur de température intégré peut surveiller la température à l'intérieur de la table de cuisson à induction. Lorsqu'une température excessive est détectée, la table de cuisson à induction s'arrête automatiquement.
Protection en cas de débordement
La protection en cas de débordement est une fonction de protection de sécurité. Elle étée int automatiquement la table de cuisson en 10 secondes si de l'eau se déverse sur le tableau de commandes et un bip retentira pendant 1 seconde.
Détction d'ustensiles trop petits
Lorsqu'une casserole de taille inappropriée ou non-magnétique (par ex.en aluminium) ou tout autre ustensile trop petit (par ex. couteau, fourchette, clé) a été laissé sur la table de cuisson, cette dernière se met en veille automatiquement en 1 minute. Le ventilateurMaintiendra la table de cuisson éteinte pendant encore 1 minute.
Protection par arrêt automatique
L'arrêt automatique est une fonction de protection de sécurité pour votre table de cuisson à induction. Elle s'est int automatiquement si vous oubliez d'éteindre votre apparéil. Les durées d'utilisation par défaut des différents niveaux de chauffe sont indiquées dans le tableau ci-dessous :
| Niveau dechauffe | 1 | 2 | 3 | 4 | 5 | 6 | 7 | 8 | 9 | II |
| Minuterie de travail pardéfaut (heure) | 8 | 8 | 8 | 4 | 4 | 4 | 2 | 2 | 2 | 2 |
Lorsque la casserole est retiree, la table de cuisson a induction peut arreter de chauffer immidiatement et elle s'eteindra automatiquement après 2 minutes.

Les personnes porteuses d'un pacemaker doivent consulter leur médecin avant d'utiliser cet apparéil.
Utilisation du temporisateur
Yououpouzeutiliserletemporisateurdéeuxmanièredifferentes:
- Vous pouze l'utiliser en tant que minuteur. Dans ce cas, le temporisateur ne sert pas à êtreindre l'un des foyers de cuisson lorsque sa durée de cuisson est écoulée.
- Vous pouze le régler pour êtreindre un ou plusieurs foyers de cuisson une fois le temps sélectionné écoulé.
- Vous pouvez régler le temporisateur jusqu'à 99 minutes.
Utilisation du temporisateur comme minuteur
Si vous ne souhaitez pas selectionner un foyer de cuisson
- Vérifiez que la table de cuisson est éteinte.
Remarque: vous pouvez utiliser le minuteur même sans selectionner de foyer de cuisson.
- Appuyez sur la touche « - » ou « + » du temporisateur : l'indicateur de la minuterie commence à clignoter et « 00 » s'affiche.

- Reglez le temps à l'aide des touches « - » ou « + »
Remarque: Appuyez sur « - » ou « + » une seule fois pour diminuer ou augmenter d'une minute.
Maintenez appuyée la touche « - » ou « + » pour diminuer ou augmenter de 10 minutes en 10 minutes.
- Supprimez la durée en appuyant sur le temporisateur et « 00 » s'affiche sur la touche de la minuterie.

- Une fois le temps régle, le décompte commence immédiatement. La touche de temporisation affiche le temps restant et l'indicateur de temporisation clignotera pendant 5 secondes.

- L'avertisseur sonore retentit pendant 30 secondes et l'indicateur de temporisation affiche « - - » quand le temps regle est écoulé.
Réglage du temporisateur pour éteindre une zone de cuisson
Les foyers de cuisson dotés de cette fonction permettront :
- Appuyez sur «-» ou «++» pour activer la zone pour laquelle vous souhaitez régler la minuteurie (par ex. foyer 1#)

- Appuyez sur la touche « - » ou « + » du temporisateur : l'indicateur de la minuterie commence à clignoter et « 00 » s'affiche.

- Reglez le temps à l'aide des touches « - » ou « + »
Remarque: Appuyez sur « - » ou « + » une seule fois pour diminuer ou augmenter d'une minute.
Maintenez appuyée la touche « - » ou « + » du temporisateur pour diminuer ou augmenter de 10 minutes en 10 minutes.
Si le temps de réglage dépasse 99 minutes, la minuterie revient automatiquement à 0 minute.
- Pour annuler la minuterie, appuyez sur «-» ou «++» de la zone où la minuterie est enclanchée, puis appuyez sur «-» ou «++» de la «minuterie», la minuterie est annulée et le «00» affichera dans l'affichage des minutes, puis «-».

- Une fois le temps régle, le décompte commence immédiatement. La touche de temporisation affiche le temps restant et l'indicateur de temporisation clignote pendant 5 secondes.

REMARQUE: Le point rouge près de l'indicateur du niveau de chauffe s'allume pour indiquer que le foyer est sélectionné.


- Quand le temps de cuisson est terminé, le foyer de cuisson correspondant s'eteint automatiquement et la touche affiche « H »



Les foyers éventuelles allumésAAPARAVANTcontinuentefonctionnernormalement.
Réglage du temporisateur pour éteindre plusieurs foyers de cuisson
- Si vous utilise cette fonction pour plusieurs foyers de cuisson, l'indicateur du temps affichera le temps restant le plus court.
(par ex. temps de 2 minutes régle sur le foyer 1#, temps de 5 minutes régle sur le foyer 2#, l'indicateur du temps affichera « 3 ».)
REMARQUE: Le point rouge clignotant pres de l'indicateur de niveau de chauffe signifie que l'indicateur de temps affiche le temps de ce foyer de cuisson.
Si vous voulez contrôler le temps de cuisson régle sur un autre foyer de cuisson, appuyez sur la touche de selection du foyer de cuisson. Le temporisateur indiquera le temps régle.

(Réglage à 5 minutes)



(Réglage à 2 minutes)


- Quand le temps de cuisson est terminé, le foyer de cuisson correspondant s'eteint automatiquement et la touche affiche « H »
-H+
REMARQUE: Si vous voulez changer la durée après le réglage de la minutesie, vous nez commencer à partir de l'étépe 1.
Entretien et nettoyage
| Quoi? | Comment? | Important! |
| Salissure quotidienne sur le verre (traces de doigts, marques, taches laissées par les aliments ou retombées non sucrées sur le verre). | 1. Mettez la table de cuisson hors tension. 2. Appliquez un nettoyant pour plaque de cuisson alors que le verre chauffe encore (sans qu'il soit chaud !) 3. Rincez et essuyez avec un chiffon propre ou un essuie-tout. 4. Mettez la table de cuisson sous tension. | · Lorsque l'alimentation de la table de cuisson est coupée, il n'y a pas d'indication « surface chaude » mais la zone de cuisson est peut-être encore chaude! Soyez extrémement prudent. · L'usage intensif d'éponges métalliques, de certains racleurs en nylon et de produits de nettoyage abrasifs peut érafler le verre. Lisez tousiers l'étiquette pour vérifier si vous nettoyeur ou éponge métallique convient. · Ne laissez jamais de résidus de nettoyage sur la table de cuisson : la vitre peut se tacher. |
| Débordements d'eau bouillante, d'aliments et de sucre chaud sur le verre | Retirez-les immédiatement à l'aide d'une pelle large, d'une spatule ou d'un racloir à lame adapté aux surfaces de cuisson à induction, mais féiez-vous des surfaces chaudes des foyers de cuisson : 1. Coupe l'alimentation réseau de la table de cuisson. 2. Tenez la lame ou l'ustensile à un angle de 30° et racelez la saleté ou le déversement vers un endroit frais de la table de cuisson. 3. Nettoyez les salissures ou déversements avec un torchon ou un essuie-tout. 4. Suivez les étapes 2 à 4 ci-dessus pour « Salissure de tous les jours sur verre » . | · Enlevez le plus rapidement possible les taches laissées par les alimentés fondus et sucrés ou par les débordements. Si on les laisse refroidir sur le verre, ils peuvent être difficilles à enlever ou même endommager la surface du verre de façon permanente. · Risque de coupure : lorsque le couvercle de protection est rétracté, la lame d'un racleur est tranchante comme un rasoir. Utiliser avec une extrème prudence et toujours stocker en toute sécurité et hors de portée des enfants. |
| Déversements sur les touches de commande | 1. Mettez la table de cuisson hors tension. 2. Absorbez le déversement 3. Essuyez la zone de commande tactile avec une éponge ou un chiffon propre et humide. 4. Essuyez la zone complètement avec un essuie-tout. 5. Mettez la table de cuisson sous tension. | · La table de cuisson peut émettre un bip et s'éteindre d'elle-même, et les commandes tactiles peuvent ne pas fonctionner lorsqu'il y a du liquide dessus. Veillez à essuyer la zone de commande tactile avant de rallumer la table de cuisson. |
Conseils et astuces
| Problème | Cause possible | Solution |
| La table de cuisson à induction ne peut pas être allumée. | Pas d'électricité. | Assurez-vous que la table de cuisson à induction est branchée à l'alimentation électrique et qu'elle est allumée.Vérifiez s'il y a une panne d'électricité dans votre maison ou votre région. Si vous avez tout vérifié et que le problème persiste, appelezez un technicien qualifié. |
| Les commandes tactiles ne répondent pas. | Les commandes sont verrouillées. | Déverrouillez les touches de commande. Voir la section « Utilisation de votre table de cuisson à induction » pour les instructions. |
| Les commandes tactiles sont difficibles à utiliser. | Il se peut qu'il y ait une fine pellicule d'eau sur les commandes ou que vous utilisiez l'extrémité de l'ongle lorsque vous touchez la commande. | Assurez-vous que la zone de commande tactile est sèche et utilisez le bout de votre doigt lorsque vous touchez les commandes. |
| Le verre est éraflé. | Batterie de cuisine à bords rugieux. | Utilisez des ustensiles de cuisine à fond plat et lisse. Voir la section « Choisir une bonne batterie de cuisine ».Voir la section « Entretien et nettoyage » . |
| Utilisation d'éponges métalliques abrasives ou de produits de nettoyage inadéquats. | ||
| Certaines casseroles font des craquements ou des cliquetis. | Cela peut être dû à la construction de votre batterie de cuisine (couches de différents métaux vibrant de manière différenciée). | Ceci est normal pour les ustensiles de cuisine et n'indique pas un défaut. |
| La table de cuisson émet un faible bourdonnement lorsqu'elle est utilisé à force puissance. | Cela est dû à la technologie de la table de cuisson à induction. | C'est normal, mais le bruit doit baisser ou disparáître complètement lorsque vous réduisez la puissance. |
| Bruit de ventilateur provenant de la table de cuisson à induction. | Un ventilateur de refroidissement intégré dans la table de cuisson à induction s'est déclenché pour éviter une surchauffe des pièces électroniques. Il peut continuer à fonctionner même après que vous aurez étéint la table de cuisson à induction. | Cela est normal et ne nécessite aucune intervention. Ne coupez pas l'alimentation réseau de la table de cuisson à induction lorsque le ventilateur fonctionne. |
| Les casseroles ne chauffent pas et apparait sur la touche. | La table de cuisson à induction ne peut pas détecter la casserole car elle n'est pas adaptée à la cuisson à induction. La table de cuisson à induction ne peut pas détecter la casserole car elle est trop petite pour le foyer de cuisson ou mal centrefee. | Utilisez une batterie de cuisine adaptée à la cuisson à induction. Voir la section « Choisir une bonne batterie de cuisine ». Centrez la casserole et voirlez à ce que le fond corresponde à la taille du foyer de cuisson. |
| La table de cuisson à induction ou un foyer de cuisson s'est étient tout seul de manière inattendue, un bip a retenti et un code d'erreur est affché (généralement un ou deux chiffres en alternance sur la touche du temporisateur). | Défaut technique. | Veuillez notes les lettres et chiffres du code d'erreur, couper l'alimentation réseau de la table de cuisson à induction et contacter un technicien qualifié. |
Affichage et inspection des défaillances
Si des événements anormaux surviennent, la table de cuisson à induction enterra automatiquement en condition de protection et affichera les codes de protection correspondants :
| Problème | Cause possible | Solution |
| F3/F4 | Défaillance du capteur de température de la bobine d'induction | Veuillez contacter le fournisseur. |
| F9/FA | Défaillance du capteur de température de l'IGBT | Veuillez contacter le fournisseur. |
| E1/E2 | Tension d'alimentation anormale | Veuillez vérifier si l'alimentation électrique est normale. La mise sous tension après l'alimentation est normale. |
| E3 | Température élevée détectée par le capteur de température de la bobine d'induction | Veuillez contacter le fournisseur. |
| E5 | Température élevée détectée par le capteur de température de l'IGBT | Veuillez rallumer la table de cuisson à induction après refroidissement. |
Les éléments ci-dessus de détention et d'inspection concernent les défaillances communes.
Ne démontez pas l'appareil vous-même afin d'éviter tout risque d'endommager la table de cuisson à induction.
Spécifications techniques
| Table de cuisson | CIS633DTT/1 |
| Zones de cuisson | 3 Zones |
| Tension d'alimentation | 220-240 V ~ 50-60Hz |
| Puisance électrique installée | 2,5 kW: 2250-2750 W ou 3,0 kW: 2700-3300 W ou 4,5 kW: 4050-4950 W ou 5,5 kW: 4950-6050 W ou 6,9 kW: 5500-6900 W |
| Dimensions du produit P×L×H (mm) | 590X520X60 |
| Dimensions d'encastrement A×B (mm) | 560X490 |
Le poids et les dimensions sont approximatifs. Du fait que nous nous efforçons continuèlement d'améliorer nos produits, nous pouvons modifier les spécifications et les conceptions sans préavis.
Installation
Choix du matériel d'installation
Découpez la surface de travail selon les dimensions indiquées sur le dessin.
Pour l'installation et l'utilisation, un espace d'au moins 5 cm doit être préserve autour du trou.
Assurez-vous que l'épaissur de la surface de travail est d'au moins 30 mm. Veillez à désirer un matériel résistant à la chaleur pour éviter toute déformation due au rayonnement thermique de la plaque à induction. comme illustré ci-dessous:


| L (mm) | L (mm) | H (mm) | P (mm) | A (mm) | B (mm) | X (mm) |
| 590 | 520 | 60 | 56 | 560+5 | 490+5 | 50 min. |
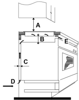
Assurez-vous que la table de cuisson à induction est correctement ventilée et que l'entrée et la sortie d'air ne sont pas obstruées. Assurez-vous que la table de cuisson à induction est en bon état de fonctionnement. Comme illustré ci-dessous

Remarque: La distance de sécurité entre la plaque de cuisson et le meuble au-dessus doit être d'au moins 760 mm.


| A (mm) | B (mm) | C (mm) | D | E |
| 760 | 50 min. | 20 min. | Entrée d'air | Sortie de l'air 5 mm |
Avant d'installer la table de cuisson, assurez-vous que
- la surface de travail est d'équre et de niveau, qu'aucune partie n'interfère avec l'espace nécessaire
- le plan de travail est constitué d'un matériel résistant à la chaleur
- si la plaque est installée au-dessus d'un four, le four est équipé d'un système de ventilation interne
- l'installation soit conforme à toutes les exigences de dégagement et aux normes et réglementations en vigueur
- un interrupteur sectioneur de déconnexion complète du réseau d'alimentation est inclus dans le circuit électrique et installé conformément aux règles et réglementations locales en vigueur.
L'interrupteur sectionneur doit correspondre à la typologie requise et prévoir 3 mm d'air de séparation sur tous les pôles (ou sur tous les conducteurs actifs [phase] si la réglementation électrique locale l'autorise)
- le client pourrait facilement acceder à l'interrupteur sectionneur quand la table de cuisson sera installée
- vous consultez les organismes de règlementation duBATIMENT et les arrêtés locaux si vous avez des doutes concernant l'installation
- vous utilisez des matériaux de finition résistantes à la chaleur et facies à nettoyer (teils que
du carrelage en céramique) pour le revêtement des murs autour de la table de cuisson.
Une fois que la table de cuisson est installée, assurez-vous que
- le cable d'alimentation n'est pas accessible par les portes d'armoire ou les tiroirs
- un flux d'air frais circule entre l'extérieur du meuble inférieur et la base de la table de cuisson
- si la table de cuisson est installée au-dessus d'un tiroir ou d'un placard, une barrière thermique de protection est installée sous la base de la table de cuisson
- l'interrupteur sectionneur est facilement accessible par le client.
Avant d'installer les supports de fixation
L'appareil doit être posé sur une surface lisse et stable (vous pouvez utiliser l'emballage).
N'exercez aucune pression sur les boutons qui dépassement de la table de cuisson.
Réglage de la position du support
Fixez la table de cuisson sur le plan de travail en vissant 4 supports en bas de la table de cuisson (voir illustration) après l'avoir installée.

| A | B | C | D |
| Vis | Support | trou de vis | Face inférieure |

Attention
- L'installation de la table de cuisson à induction doit être effectuee par du personnel qualifie. Nous avons des professionnels a votre service. N'effectuez en aucun cas cette installation vous-meme.
- La table de cuisson ne doit pas etre installée directement au-dessus d'un lave-vaisselle, réfrigerateur, congélateur, machine à laver ou sèche-linge, car l'humidité risquerait d'endommager ses circuits électroniques.
- La table de cuisson à induction doit être installée de manière à favoriser le rayonnement thermique et garantir sa fiabilité.
- Le mur et la zone de cuisson à induction à la surface de la table doivent être résistant à la chaleur.
- Pour éviter tout dommage, les différentes couches et la collè doivent être résistant à la chaleur.
Connexion de la table de cuisson au réseau d'alimentation

Cette table de cuisson ne doit être connectée au réseau d'alimentation que par du personnel qualifié.
Avant de connecter la table de cuisson au réseau d'alimentation, vérifie que :
- le circuit domestique est suffisant pour la puissance nécessaire à la table de cuisson
- la tension correspond à la valeur indiquée sur la plaque signalétique
- les sections de cable d'alimentation peuvent supporter la charge indiquée sur la plaque signalétique.
Pour raccorder la table de cuisson à l'alimentation du réseau, n'utilise pas d'adaptateurs, de réducteurs ou de dispositifs de dérivation, car ils peuvent provoquer une surchauffe et un incendie.
Le cable d'alimentation ne doit toucher aucune partie chaude et doit être place de façon à ce que sa température ne dépasse jamais 75^ en tout point.

Consultez un électricien pour savoir si le système électrique domestique est adapté ou s'il doit être modifié. Toute modification ne peut être réalisée que par un électricien qualifié.
La prise d'alimentation doit être raccordée, conformément à la norme en vigueur, à un disjoncteur unipolaire. La méthode de connexion est illustrée ci-dessous.


- Si le cable est endommagé ou s'il doit être remplaced, l'intervention doit être réalisée par un technicien après-vente munis des outils appropriés, pour éviter tout accident.
- Si l'appareil est raccordé directement au réseau, un disjoncteur omnipolaire doit être installé avec un espace minimum de 3 mm entre les contacts.
- L'installateur doit s'assurer que le raccordement électrique a été effectué et qu'il est conforme aux règles de sécurité.
- Le cable ne doit pas etre plie ou comprime.
- Le cable doit être régulièrement contrôle et remplace uniquement par une personne qualifiée.

Cet apparéil est étiquété conformément à la directive européenne 2012/19/EU sur les déchets des équipements électriques etlectroniques (DEEE). La catégorie DEEE recouvre à la fois les substances polluantes (pouvant avoir des recombées négatives sur l'environnement) et les composants de base (pouvant être réutilisés). Il est important que les DEEE subissant destraitements spécifiques pour éliminer et jeter correctement les pollutants et récapérer tous les matérielux. Chaque individu peut jouer un role important en veillant à ce que les produits DEEE ne deviennent pas un problème pour l'environnement. Pour cela, il est essentiel de suivre quelques règles de base :
- les DEEE ne doivent pas'être traités comme des déchets menagers ;
- les DEE doivent etre amenés à des zones de collecte spécifiques gérées par la municipalité ou une société dument enregistrree.
Dans de nombreux pays, des décharges domestiques peuvent être disponibles pour de grands DEEE. Lorsque vous achetez un nouvel apparéel, l'ancien peut être returné au détaillant qui est en devoir de le récapérer sans frais de manière individualisée, tant que l'équipement est de type équivalent et a les mêmes fonctions que l'équipement fourni.


| Informations sur la table de cuisson électrique à usage domestique conforme aux normes de la Commission (UE) n° 66/2014 | |||||
| Position | Symbole | Valeur | Unité | ||
| Identification du modele | CIS633DTT/1 | ||||
| Type de table de cuisson : | Table de cuisson électrique | ||||
| Nombre de foyers et/oude zones de cuisson | foyers | 3 | |||
| zones | |||||
| Technologie de chauffe(foyers et zones decuisson par induction,foyers à cuissonrayonnante, plaquesmassives) | Foyers de cuisson parinduction | X | |||
| Zones de cuisson parinduction | |||||
| Foyers à cuissonrayonnante | |||||
| plaques solides | |||||
| Pour les foyers ou zones de cuisson circulaires:diamètre de la surface utile des zones delcuisson électrique, arrondi à 5mm prés | Arrière gauche | Ø mm | 18,0 | cm | |
| Arrière centre | Ø mm | - | cm | ||
| Arrière droite | Ø mm | - | cm | ||
| Centre gauche | Ø mm | - | cm | ||
| Centre centre | Ø mm | - | cm | ||
| Centre droite | Ø mm | 28,0 | cm | ||
| Avant gauche | Ø mm | 18,0 | cm | ||
| Avant centre | Ø mm | - | cm | ||
| Avant droite | Ø mm | - | cm | ||
| Pour les foyers ou zones de cuisson noncirculaires : longueur et largeur de la surfaceutile des zones ou foyers à cuisson électrique,arrondi à 5mm prés | Arrière gauche | Ll | - | cm | |
| Arrière centre | Ll | - | cm | ||
| Arrière droite | Ll | - | cm | ||
| Centre gauche | Ll | - | cm | ||
| Centre centre | L I | - | cm | |
| Centre droite | L I | - | cm | |
| Avant gauche | L I | - | cm | |
| Avant centre | L I | - | cm | |
| Avant droite | L I | - | cm | |
| Consommation d'énergie par zone ou foyer de cuisson calculée par kg | Arrière gauche | Cuisson électricque CE | 193,5 | kWh |
| Arrière centre | Cuisson électricque CE | - | kWh | |
| Arrière droite | Cuisson électricque CE | - | kWh | |
| Centre gauche | Cuisson électricque CE | - | kWh | |
| Centre centre | Cuisson électricque CE | - | kWh | |
| Centre droite | Cuisson électricque CE | 190,9 | kWh | |
| Avant gauche | Cuisson électricque CE | 192,3 | kWh | |
| Avant centre | Cuisson électricque CE | - | kWh | |
| Avant droite | Cuisson électricque CE | - | kWh | |
| Consommation d'énergie de la table de cuisson calculée par kg | Table de cuisson électricque CE | 192,2 | kWh | |
| Norme appliquée: EN 60350-2 pour les apparciels de cuisson électriques à usage domestique - Partie 2: Table de cuisson - Méthodes de calcul des performances | ||||
| Conseils pour des économies d'énergie:Pour obtenir la meilleure efficacité de votre table de cuisson, placez la casserole au centre du foyer de cuisson.L'utilisation d'un couvercle permet de réduire le temps de cuisson et d'économiser de l'énergie en conservant la chaleur.Minimisez la quantité de liquide ou deGRAisse pour réduire le temps de cuisson.Commencez la cuisson à température élevée et réduisez-la lorsque les alimentents sont bien chauds.Utilissez des casseroles dont le diamètre est aussi grand que le graphique du foyer sélectionné. | ||||
Notice Facile