CIS633DTT/1 - Induction cooktop CANDY - Free user manual and instructions
Find the device manual for free CIS633DTT/1 CANDY in PDF.
Download the instructions for your Induction cooktop in PDF format for free! Find your manual CIS633DTT/1 - CANDY and take your electronic device back in hand. On this page are published all the documents necessary for the use of your device. CIS633DTT/1 by CANDY.
USER MANUAL CIS633DTT/1 CANDY
Instruction Manual For Induction Hob
ENGLISH
Thank you for purchasing the CANDY induction hob. Please read this instruction manual carefully before using the hob and keep it in a safe place for future reference.
SafetyWarnings
Your safety is important to us. Please read this information before using your cooktop.
Installation
Electrical Shock Hazard
- Disconnect the appliance from the mains electricity supply before carrying out any work or maintenance on it.
- Connection to a good earth wiring system is essential and mandatory.
- Alterations to the domestic wiring system must only be made by a qualified electrician.
- Failure to follow this advice may result in electrical shock or death.
Cut Hazard
- Take care - panel edges are sharp.
- Failure to use caution could result in injury or cuts.
Important safety instructions
- Read these instructions carefully before installing or using this appliance.
- No combustible material or products should be
placed on this appliance at any time.
- Please make this information available to the person responsible for installing the appliance as it could reduce your installation costs.
- In order to avoid a hazard, this appliance must be installed according to these instructions for installation.
- This appliance is to be properly installed and earthed only by a suitably qualified person.
- This appliance should be connected to a circuit which incorporates an isolating switch providing full disconnection from the power supply.
- Failure to install the appliance correctly could invalidate any warranty or liability claims.
Operation and maintenance Electrical Shock Hazard
- Do not cook on a broken or cracked cooktop. If the cooktop surface should break or crack, switch the appliance off immediately at the mains power supply (wall switch) and contact a qualified technician.
- Switch the cooktop off at the wall before cleaning or maintenance.
- Failure to follow this advice may result in electrical shock or death.
Health Hazard
- This appliance complies with electromagnetic
safety standards.
- However, persons with cardiac pacemakers or other electrical implants (such as insulin pumps) must consult with their doctor or implant manufacturer before using this appliance to make sure that their implants will not be affected by the electromagnetic field.
- Failure to follow this advice may result in death.
Hot Surface Hazard
- During use, accessible parts of this appliance will become hot enough to cause burns.
- Do not let your body, clothing or any item other than suitable cookware contact the Induction glass until the surface is cool.
- Metallic objects such as knives, forks, spoons and lids should not be placed on the hob surface since they can get hot
- Keep children away.
- Handles of saucepans may be hot to touch. Check saucepan handles do not overhang other cooking zones that are on. Keep handles out of reach of children.
- Failure to follow this advice could result in burns and scalds.
Cut Hazard
- The razor-sharp blade of a cooktop scraper is exposed when the safety cover is retracted. Use with extreme care and always store safely and out of reach of children.
- Failure to use caution could result in injury or cuts.
Important safety instructions
- Never leave the appliance unattended when in use. Boilover causes smoking and greasy spillovers that may ignite.
- Never use your appliance as a work or storage surface.
- Never leave any objects or utensils on the appliance.
- Do not place or leave any magnetisable objects (e.g. credit cards, memory cards) or electronic devices (e.g. computers, MP3 players) near the appliance, as they may be affected by its electromagnetic field.
- Never use your appliance for warming or heating the room.
- After use, always turn off the cooking zones and the cooktop as described in this manual (i.e. by using the touch controls). Do not rely on the pan detection feature to turn off the cooking zones when you remove the pans.
- Do not allow children to play with the appliance or sit, stand, or climb on it.
- Do not store items of interest to children in cabinets above the appliance. Children climbing on the cooktop could be seriously injured.
- Do not leave children alone or unattended in the area where the appliance is in use.
Children or persons with a disability which limits their ability to use the appliance should
have a responsible and competent person to instruct them in its use. The instructor should be satisfied that they can use the appliance without danger to themselves or their surroundings.
- Do not repair or replace any part of the appliance unless specifically recommended in the manual. All other servicing should be done by a qualified technician.
- Do not use a steam cleaner to clean your cooktop.
- Do not place or drop heavy objects on your cooktop.
- Do not stand on your cooktop.
- Do not use pans with jagged edges or drag pans across the Induction glass surface as this can scratch the glass.
- Do not use scourers or any other harsh abrasive cleaning agents to clean your cooktop, as these can scratch the Induction glass.
- If the supply cord is damaged, it must be replaced by the manufacturer, its service agent or similarly qualified persons in order to avoid a hazard.
- This appliance is intended to be used in household and similar applications such as: -staff kitchen areas in shops, offices and other working environments; -farm houses; -by clients in hotels, motels and other residential type environments; -bed and breakfast type environments.
- WARNING: The appliance and its accessible parts become hot during use.
Care should be taken to avoid touching heating elements.
Children less than 8 years of age shall be kept away unless continuously supervised.
- This appliance can be used by children aged from 8 years and above and persons with reduced physical, sensory or mental capabilities or lack of experience and knowledge if they have been given supervision or instruction concerning use of the appliance in a safe way and understand the hazards involved.
Children shall not play with the appliance. Cleaning and user maintenance shall not be made by children without supervision. - WARNING: Unattended cooking on a hob with fat or oil can be dangerous and may result in fire. NEVER try to extinguish a fire with water, but switch off the appliance and then cover flame e.g. with a lid or a fire blanket.
- WARNING: Danger of fire: do not store items on the cooking surfaces.
- Warning: If the surface is cracked, switch off the appliance to avoid the possibility of electric shock, for hob surfaces of glass-ceramic or similar material which protect live parts
- A steam cleaner is not to be used.
- The appliance is not intended to be operated by means of an external timer or separate remote-control system.
CAUTION: The cooking process has to be supervised. A short term cooking process has to be supervised continuously.
WARNING: In order to prevent tipping of the appliance, this stabilizing means must be installed. Refer to the instructions for installation.
WARNING: Use only hob guards designed by the manufacturer of the cooking appliance or indicated by the manufacture of the appliance in the instruction for use as suitable or hob guards incorporated in the appliance. The use of inappropriate guards can cause accidents.
This appliance incorporates an earth connection for functional purposes only.
Congratulations on the purchase of your new Induction Hob.
We recommend that you spend some time to read this Instruction / Installation Manual in order to fully understand how to install correctly and operate it.
For installation, please read the installation section.
Read all the safety instructions carefully before use and keep this Instruction / Installation Manual for future reference.
Product Overview

Top View
1.2000 W zone, boost to 2600W
2.1500 W zone, boost to 2000W
3.2300 W zone, boost to 3000W
4. Glass plate
5. Control panel

Control Panel
- Heating zone selection indicator
- Timer indicator
- Power/timer regulating key
- keylock control
- ON/OFF control
- Boost function control
- Stop+Go control
- Keep warm function control
A Word on Induction Cooking
Induction cooking is a safe, advanced, efficient, and economical cooking technology. It works by electromagnetic vibrations generating heat directly in the pan, rather than indirectly through heating the glass surface. The glass becomes hot only because the pan eventually warms it up.

iron pot
magnetic circuit ceramic glass plate induction coil induced currents
Before using your New Induction Hob
- Read this guide, taking special note of the 'SafetyWarnings' section.
- Remove any protective film that may still be on your Induction hob.
Using the Touch Controls
- The controls respond to touch, so you don't need to apply any pressure.
- Use the ball of your finger, not its tip.
- You will hear a beep each time a touch is registered.
- Make sure the controls are always clean, dry, and that there is no object (e.g. a utensil or a cloth) covering them. Even a thin film of water may make the controls difficult to operate.


Choosing the right Cookware

-
Only use cookware with a base suitable for induction cooking. Look for the induction symbol on the packaging or on the bottom of the pan.
-
You can check whether your cookware is suitable by carrying out a magnet test. Move a magnet towards the base of the pan. If it is attracted, the pan is suitable for induction.
If you do not have a magnet:

- Put some water in the pan you want to check.
- If does not flash in the display and the water is heating, the pan is suitable.
- Cookware made from the following materials is not suitable: pure stainless steel, aluminium or copper without a magnetic base, glass, wood, porcelain, ceramic, and earthenware.
Do not use cookware with jagged edges or a curved base.

Make sure that the base of your pan is smooth, sits flat against the glass, and is the same size as the cooking zone. Use pans whose diameter is as large as the graphic of the zone selected. Using a pot a slightly wider energy will be used at its maximum efficiency. If you use smaller pot efficiency could be less than expected. Always centre your pan on the cooking zone.

Always lift pans off the Induction hob - do not slide, or they may scratch the glass.

Pan dimensions
The cooking zones are up to a limit, automatically adapted to the diameter of the pan. However the bottom of this pan must have a minimum of diameter according to the corresponding cooking zone. To obtain the best efficiency of your hob, please place the pan in the centre of the cooking zone.
The base diameter of induction cookware
| Cooking zone | Minimum (mm) |
| 1,2(180mm) | 120 |
| 3 (280mm) | 180 |
The above may vary according to the quality of the pan used.
Using your Induction Hob
To start cooking
- Touch the ON/OFF control.
After power on, the buzzer beeps once, all displays show " - " or " - - ", indicating that the induction hob has entered the state of standby mode.
-
Place a suitable pan on the cooking zone that you wish to use.
-
Make sure the bottom of the pan and the surface of the cooking zone are clean and dry.
-
Select one heating zone and set a power level by touching the " - " or " + " control.

a. If you don't set the power within 1 minute, the induction hob will automatically switch off. You will need to start again at step 1.
b. You can modify the heat setting at any time during cooking.
If the display flashes ≥ ≤ alternately with the heat setting
This means that:
-
you have not placed a pan on the correct cooking zone or,
-
the pan you're using is not suitable for induction cooking or,
- the pan is too small or not properly centred on the cooking zone.
No heating takes place unless there is a suitable pan on the cooking zone.
The display will automatically turn off after 1 minutes if no suitable pan is placed on it.
When you have finished cooking
- Turn the cooking zone off by touching the " - " control that you wish to switch off.


Make sure the power display shows "0", then shows "H".

- Turn the whole cooktop off by touching the ON/OFF control.
- Beware of hot surfaces
'H' will show which cooking zone is hot to touch. It will disappear when the surface has cooled down to a safe temperature. It can also be used as an energy saving function if you want to heat further pans, use the hotplate that is still hot.

Using the Power Management
Using power management you can set the total power to 2.5kW/3.0kW/4.5kW/5.5kW and 6.9kW . The default total power setting is the maximum power level.
Setting the total power level to fit your requirement
- Make sure the cooktop is turned off.
Note: you can only set power management when the cooktop is turned off.
- Touch the button "Stop + Go" and hold for 5 seconds. You can hear

the buzzer beeps one time.
- After you hear the beep, touch "+" and "-" button at the same time and hold for 3 second, the timer indicator will show flashing previous total power level, e.g.
'2.5'. Touch and hold "+" and "-" for 1 second again to switch to other power level, for example 3.0. When the power that you want is flashing, touch the button "Stop+Go" and hold for 5 seconds. The buzzer will beep 10 times. It means you have finished the setting.

Note:
- After step 2, you must touch the "+" and "-" within 3 seconds after you hear the beep. Otherwise you will need to start again from step 2.
- Once finish setting, wait till the end of 10 beeps. Do not touch any button during this period. Otherwise the setting will be invalid.
Power management Rules
If total power exceeds the limitation of 2.5kw, 3.0kw, 4.5kw, 5.5kw (depending on which level you've set), you are not able to increase power stage of any zone. If you increase it by touching +' , the cooktop will beep 3 times and indicator will show a flashing 'Pn'. Thus you need to decrease power stage of other zones before increasing the power of objective zone.
Using the Boost
Boost is the function that one zone rising to a larger power in one second and lasting for 5 minutes. Thus you can get a more powerful and faster cooking.
Using the Boost to get larger power
- Touch the "-" or "+" to activate the zone that you wish to boost, an indicator next to the key will flash.
- Touch the Boost button, the heating zone will begin to work at


Boost mode.
The power display will show "P" to indicate that the zone is boosting.

- The Boost power will last for 5 minutes and then the zone will go back to the "9" power stage.


- If you want to cancel Boost, touch "-" or "+" to activate the zone first, an indicator next to the key will flash. And then touch the Boost button, the heating zone will go back to the power stage 9.

Restrictions when using
The three zones were divided into two groups. In one group, if use boost on one zone, first make sure that the other zone is working on/below power level 5.

Using the Keep warm
Keep warm is the function that one zone keeps a lower power to make the temperature stable.
Using the Keep warm to get stable temperature
- Touch the "-" or "+" to activate the zone that you wish to use keep warm, an indicator next to the key will flash.

- Touch the button _A^A , the cooking zone indicator will display "A".

- If you want to cancel the keep warm, touch " - " or " + " to activate the zone first, an indicator next to the key will flash. And then touch the keep warm button, the heating zone will go back to "0" power stage.

Using the Pause function- Stop+Go
Pause function can be used at any time during cooking. It allows to stop the induction cooktop and come back to it.
- Make sure the cook zone is working.
- Touch the button STOP+GO, the cooking zone indicator will show "II". And then the operation of the induction cooktop will be deactivate within the scope of all cooking zones, except the STOP+GO, on/off and lock keys.

- To cancel the pause status, touch the Stop+Go function, then the cooking zone will go back to the power stage which you set before.

Locking the Controls
- You can lock the controls to prevent unintended use (for example children accidentally turning the cooking zones on).
- When the controls are locked, all the controls except the ON/OFF control are disabled.
To lock the controls
Touch the keylock control. The timer indicator will show "Lo".
To unlock the controls
- Make sure the Induction hob is turned on.
- Touch and hold the keylock control for a while
- You can now start using your Induction hob.

When the hob is in the lock mode, all the controls are disable except the ON/OFF, you can always turn the induction hob off with the ON/OFF control in an emergency, but you shall unlock the hob first in the next operation.
Over-Temperature Protection
A temperature sensor equipped can monitor the temperature inside the Induction hob. When an excessive temperature is monitored, the Induction hob will stop operation automatically.
Over-spillage Protection
Over-spillage protection is a safety protection function. It switch off the hob automatically within 10s if the water flow to the control panel, while buzzer will beep 1 second.
Detection of Small Articles
When an unsuitable size or non-magnetic pan (e.g. aluminium), or some other small item (e.g. knife, fork, key) has been left on the hob, the hob automatically go on to standby in 1 minute. The fan will keep cooking down the induction hob for a further 1 minute.
Auto Shutdown Protection
Auto shut down is a safety protection function for your induction hob. It shut down automatically if ever you forget to turn off your cooking. The default working times for various power levels are shown in the below table:
| Power level | 1 | 2 | 3 | 4 | 5 | 6 | 7 | 8 | 9 | A | II |
| Default working timer (hour) | 8 | 8 | 8 | 4 | 4 | 4 | 2 | 2 | 2 | 2 | 2 |
When the pot is removed, the induction hob can stop heating immediately and the hob automatically switch off after 2 minutes.

People with a heart pace maker should consult with their doctor before using this unit.
Using the Timer
You can use the timer in two different ways:
- You can use it as a minute minder. In this case, the timer will not turn any cooking zone off when the set time is up.
- You can set it to turn one cooking zone off after the set time is up.
- You can set the timer up to 99 minutes
Using the Timer as a Minute Minder
If you are not selecting any cooking zone
- Make sure the cooktop is turned on.
Note: you can use the minute minder even if you're not selecting any cooking zone.
- Touch “-’ or “+” of the timer control, the minder indicator will start flashing and “00” will show in the timer display.

- Set the time by touching the "-" or "+" control,
Hint: Touch the "-" or "+"control once to decrease or increase by 1 minute. Hold the "-" or "+"control of the timer to decrease or increase by 10 minutes.
If the setting time exceeds 99 minutes, the timer will automatically return to 0 minute.
- Cancel the time by touching the "--" of timer and scrolling down to "0".

Setting the timer to turn one cooking zone off
Cooking zones set for this feature will:
- Touch the "-" or "+" to activate the zone that you want to set the timer for. (e.g. zone 1#)
- Touch “-’ or "+" of the timer control, the minder indicator will start flashing and "00" will show in the timer display.
- Set the time by touching the "- " or "+" control.
Hint: Touch the " - " or "+" control once will decrease or increase by 1 minute.
Touch and hold the "-" or "+" control, the timer will decrease or increase by 10 minutes.
If the setting time exceeds 99 minutes, the timer will automatically return to 0 minute.
- To cancel the timer, touch the "-" or "+" of the selected zone, and then touch the '-' or "+" of the "Timer", the timer is cancelled, and the "00" will show in the minute display, and then "--".


- When the time is set, it will begin to count down immediately.
The display will show the remaining time and the timer indicator flash for 5 seconds.


NOTE: The red dot next to power level indicator will illuminate indicating that zone is selected.

- When cooking timer expires, the corresponding cooking zone will be automatically switch off and show "H".



Other cooking zone will keep operating if they are turned on previously.
Setting the timer to turn more than one cooking zone off
- If use this function to more than one heating zone, the timer indicator will show the shortest time.
(e.g. zone 1# setting time of 2 minutes, zone 2# setting time of 5 minutes, the timer indicator shows "2".)
NOTE: The flashing red dot next to power level indicator means the timer indicator is showing time of the heating zone.
If you want to check the set time of other heating zone, touch the heating zone slide control one time. The timer will indicate its set time.




(set to 5 minutes)


EN-19
- When cooking timer expires, the corresponding heating zone will be automatically switch off and show "H".


NOTE: If you want to change the time after the timer is set, you have to start from step 1
Care and Cleaning
| What? | How? | Important! |
| Everyday soiling on glass (fingerprints, marks, stains left by food or non-sugary spillovers on the glass) | 1. Switch the power to the cooktop off. 2. Apply a cooktop cleaner while the glass is still warm (but not hot)! 3. Rinse and wipe dry with a clean cloth or paper towel. 4. Switch the power to the cooktop back on. | ·When the power to the cooktop is switched off, there will be no ‘hot surface’ indication but the cooking zone may still be hot! Take extreme care. ·Heavy-duty scourers, some nylon scourers and harsh/abrasive cleaning agents may scratch the glass. Always read the label to check if your cleaner or scourer is suitable. ·Never leave cleaning residue on the cooktop: the glass may become stained. |
| Boilovers, melts, and hot sugary spills on the glass | Remove these immediately with a fish slice, palette knife or razor blade scraper suitable for Induction glass cooktops, but beware of hot cooking zone surfaces: 1. Switch the power to the cooktop off at the wall. 2. Hold the blade or utensil at a 30° angle and scrape the soiling or spill to a cool area of the cooktop. 3. Clean the soiling or spill up with a dish cloth or paper towel. 4. Follow steps 2 to 4 for ‘Everyday soiling on glass’ above. | ·Remove stains left by melts and sugary food or spillovers as soon as possible. If left to cool on the glass, they may be difficult to remove or even permanently damage the glass surface. ·Cut hazard: when the safety cover is retracted, the blade in a scraper is razor-sharp. Use with extreme care and always store safely and out of reach of children. |
| Spillovers on the touch controls | 1. Switch the power to the cooktop off. 2. Soak up the spill 3. Wipe the touch control area with a clean damp sponge or cloth. 4. Wipe the area completely dry with a paper towel. 5. Switch the power to the cooktop back on. | ·The cooktop may beep and turn itself off, and the touch controls may not function while there is liquid on them. Make sure you wipe the touch control area dry before turning the cooktop back on. |
Hints and Tips
| Problem | Possible causes | What to do |
| The induction hob cannot be turned on. | No power. | Make sure the induction hob is connected to the power supply and that it is switched on. Check whether there is a power outage in your home or area. If you've checked everything and the problem persists, call a qualified technician. |
| The touch controls are unresponsive. | The controls are locked. | Unlock the controls. See section 'Using your induction cooktop' for instructions. |
| The touch controls are difficult to operate. | There may be a slight film of water over the controls or you may be using the tip of your finger when touching the controls. | Make sure the touch control area is dry and use the ball of your finger when touching the controls. |
| The glass is being scratched. | Rough-edged cookware. Unsuitable, abrasive scouser or cleaning products being used. | Use cookware with flat and smooth bases. See 'Choosing the right cookware'. See 'Care and cleaning'. |
| Some pans make crackling or clicking noises. | This may be caused by the construction of your cookware (layers of different metals vibrating differently). | This is normal for cookware and does not indicate a fault. |
| The induction hob makes a low humming noise when used on a high heat setting. | This is caused by the technology of induction cooking. | This is normal, but the noise should quieten down or disappear completely when you decrease the heat setting. |
| Fan noise coming from the induction hob. | A cooling fan built into your induction hob has come on to prevent the electronics from overheating. It may continue to run even after you've turned the induction hob off. | This is normal and needs no action. Do not switch the power to the induction hob off at the wall while the fan is running. |
| Pans do not become hot and appears in the display. | The induction hob cannot detect the pan because it is not suitable for induction cooking. The induction hob cannot detect the pan because it is too small for the cooking zone or not properly centred on it. | Use cookware suitable for induction cooking. See section 'Choosing the right cookware'. Centre the pan and make sure that its base matches the size of the cooking zone. |
| The induction hob or a cooking zone has turned itself off unexpectedly, a tone sounds and an error code is displayed (typically alternating with one or two digits in the cooking timer display). | Technical fault. | Please note down the error letters and numbers, switch the power to the induction hob off at the wall, and contact a qualified technician. |
Failure Display and Inspection
If an abnormality comes up, the induction hob will enter the protective state automatically and display corresponding protective codes:
| Problem | Possible causes | What to do |
| F3/F4 | Temperature sensor of the induction coil failure | Please contact the supplier. |
| F9/FA | Temperature sensor of the IGBT failure. | Please contact the supplier. |
| E1/E2 | Abnormal supply voltage | Please inspect whether power supply is normal. Power on after the power supply is normal. |
| E3 | High temperature of the induction coil temperature sensor | Please contact the supplier. |
| E5 | High temperature of the IGBT temperature sensor | Please restart after the hob cools down. |
The above are the judgment and inspection of common failures. Please do not disassemble the unit by yourself to avoid any dangers and damages to the induction hob.
Technical Specification
| Cooking Hob | CIS633DTT/1 |
| Cooking Zones | 3 Zones |
| Supply Voltage | 220-240V~, 50-60Hz |
| Installed Electric Power | 2.5kw:2250-2750W or 3.0 kw:2700-3300W or 4.5kw:4050-4950W or 5.5kw:4950-6050W or 6.9kw:5500-6900W |
| Product Size L×W×H(mm) | 590X520X60 |
| Building-in Dimensions A×B (mm) | 560X490 |
Weight and Dimensions are approximate. Because we continually strive to improve our products we may change specifications and designs without prior notice.
Installation
Selection of installation equipment
Cut out the work surface according to the sizes shown in the drawing.
For the purpose of installation and use, a minimum of 5cm space shall be preserved around the hole.
Be sure the thickness of the work surface is at least 30mm . Please select heat-resistant work surface material to avoid larger deformation caused by the heat radiation from the hotplate. As shown below:

| L(mm) | W(mm) | H(mm) | D(mm) | A(mm) | B(mm) | X(mm) |
| 590 | 520 | 60 | 56 | 560+5 | 490+5 | 50 mini |
Under any circumstances, make sure the Induction cooker hob is well ventilated and the air inlet and outlet are not blocked. Ensure the Induction cooker hob is in good work state. As shown below
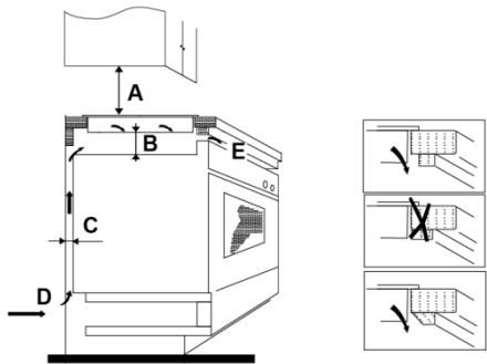
! Note: The safety distance between the hotplate and the cupboard above the hotplate should be at least 760mm

Before you install the hob, make sure that
- the work surface is square and level, and no structural members interfere with space requirements
- the work surface is made of a heat-resistant material
- if the hob is installed above an oven, the oven has a built-in cooling fan
- the installation will comply with all clearance requirements and applicable standards and regulations
- a suitable isolating switch providing full disconnection from the mains power supply is incorporated in the permanent wiring, mounted and positioned to comply with the local wiring rules and regulations.
The isolating switch must be of an approved type and provide a 3 mm air gap contact separation in all poles (or in all active [phase] conductors if the local wiring rules allow for this variation of the requirements)
- the isolating switch will be easily accessible to the customer with the hob installed
- you consult local building authorities and by-laws if in doubt regarding installation
- you use heat-resistant and easy-to-clean finishes (such as ceramic tiles) for the wall surfaces surrounding the hob.
When you have installed the hob, make sure that
- the power supply cable is not accessible through cupboard doors or drawers
- there is adequate flow of fresh air from outside the cabinetry to the base of the hob
- if the hob is installed above a drawer or cupboard space, a thermal protection barrier is installed below the base of the hob
- the isolating switch is easily accessible by the customer
Before locating the fixing brackets
The unit should be placed on a stable, smooth surface (use the packaging). Do not apply force onto the controls protruding from the hob.
Adjusting the bracket position
Fix the hob on the work surface by screw 4 brackets on the bottom case of hob (see picture) after installation.

| A | B | C | D |
| Screw | Bracket | Screw hole | Bottom case |

Cautions
- The induction hotplate must be installed by qualified personnel or technicians. We have professionals at your service. Please never conduct the operation by yourself.
- The hob will not be installed directly above a dishwasher, fridge, freezer, washing machine or clothes dryer, as the humidity may damage the hob electronics
- The induction hotplate shall be installed such that better heat radiation can be ensured to enhance its reliability.
- The wall and induced heating zone above the table surface shall withstand heat.
- To avoid any damage, the sandwich layer and adhesive must be resistant to heat.
Connecting the hob to the mains power supply

This hob must be connected to the mains power supply only by a suitably qualified person. Before connecting the hob to the mains power supply, check that:
- the domestic wiring system is suitable for the power drawn by the hob.
- the voltage corresponds to the value given in the rating plate
- the power supply cable sections can withstand the load specified on the rating plate.
To connect the hob to the mains power supply, do not use adapters, reducers, or branching devices, as they can cause overheating and fire.
The power supply cable must not touch any hot parts and must be positioned so that its temperature will not exceed 75^ at any point.

Check with an electrician whether the domestic wiring system is suitable without alterations.
Any alterations must only be made by a qualified electrician.
The power supply should be connected in compliance with the relevant standard, or a single-pole circuit breaker. The method of connection is shown below.


- If the cable is damaged or to be replaced, the operation must be carried out by after-sale agent with dedicated tools to avoid any accidents.
- If the appliance is being connected directly to the mains an omnipolar circuit-breaker must be installed with a minimum opening of 3mm between contacts.
- The installer must ensure that the correct electrical connection has been made and that it is compliant with safety regulations.
- The cable must not be bent or compressed.
- The cable must be checked regularly and replaced by authorised technicians only.

This appliance is labelled in accordance with European Directive 2012/19/EU regarding electric and electronic appliances (WEEE). The WEEE contain both polluting substances (that can have a negative effect on the environment) and base elements (that can be reused). It is important that the WEEE undergo specific treatments to correctly remove and dispose of the pollutants and recover all the materials. Individuals can play an important role in ensuring that the WEEE do not become an environmental problem; It is essential to follow a few basic rules:
-the WEEE should not be treated as domestic waste;
-the WEEE should be taken to dedicated collection areas managed by the town council or a registered company.
In many countries, domestic collections may be available for large WEEEs. When you buy a new appliance, the old one can be returned to the vendor who must accept it free of charge as a one-off, as long as the appliance is of an equivalent type and has the same functions as the purchased appliance.
| Product Information for Domestic Electric Hobs Compliant to Commission Regulation (EU) No 66/2014 | |||||
| Position | Symbol | Value | Unit | ||
| Model identification | CIS633DTT/1 | ||||
| Type of hob: | Electric Hob | ||||
| Number of cooking zones and/or areas | zones | 3 | |||
| areas | |||||
| Heating technology (induction cooking zones and cooking areas, radiant cooking zones, solid plates) | Induction cooking zones | X | |||
| Induction cooking cooking areas | |||||
| radiant cooking zones | |||||
| solid plates | |||||
| For circular cooking zones or areas: diameter of useful surface area per electric heated cooking zone, rounded to the nearest 5mm | Rear left | Ø | 18,0 | cm | |
| Rear central | Ø | - | cm | ||
| Rear right | Ø | - | cm | ||
| Central left | Ø | - | cm | ||
| Central central | Ø | - | cm | ||
| Central right | Ø | 28,0 | cm | ||
| Front left | Ø | 18,0 | cm | ||
| Front central | Ø | - | cm | ||
| Front right | Ø | - | cm | ||
| For non-circular cooking zones or areas: length and width of useful surface area per electric heated cooking zone or area, rounded to the nearest 5mm | Rear left | L W | - | cm | |
| Rear central | L W | - | cm | ||
| Rear right | L W | - | cm | ||
| Central left | L W | - | cm | |
| Central central | L W | - | cm | |
| Central right | L W | - | cm | |
| Front left | L W | - | cm | |
| Front central | L W | - | cm | |
| Front right | L W | - | cm | |
| Energy consumption for cooking zone or area calculated per kg | Rear left | ECElectric cooking | 193,5 | Wh/kg |
| Rear central | ECElectric cooking | - | Wh/kg | |
| Rear right | ECElectric cooking | - | Wh/kg | |
| Central left | ECElectric cooking | - | Wh/kg | |
| Central central | ECElectric cooking | - | Wh/kg | |
| Central right | ECElectric cooking | 190,9 | Wh/kg | |
| Front left | ECElectric cooking | 192,3 | Wh/kg | |
| Front central | ECElectric cooking | - | Wh/kg | |
| Front right | ECElectric cooking | - | Wh/kg | |
| Energy consumption for the hob calculated per kg | ECElectric hob | 192,2 | Wh/kg | |
| Standard applied : EN 60350-2 Household electric cooking appliances - Part 2: Hobs - Methods for measuring performance | ||||
| Suggestions for Energy Saving: • To obtain the best efficiency of your hob, please place the pan in the centre of the cooking zone. • Using a lid will reduce cooking times and save energy by retaining the heat. • Minimise the amount of liquid or fat to reduce cooking times. • Start cooking on a high setting and reduce the setting when the food has heated through. • Use pans whose diameter is as large as the graphic of the zone selected. | ||||
youretirezlescasseroles.
EasyManual