DHD771X - Basket DE DIETRICH - Free user manual and instructions
Find the device manual for free DHD771X DE DIETRICH in PDF.
Questions des utilisateurs sur DHD771X DE DIETRICH
0 question sur cet appareil. Repondez a celles que vous connaissez ou posez la votre.
Poser une nouvelle question sur cet appareil
Download the instructions for your Basket in PDF format for free! Find your manual DHD771X - DE DIETRICH and take your electronic device back in hand. On this page are published all the documents necessary for the use of your device. DHD771X by DE DIETRICH.
USER MANUAL DHD771X DE DIETRICH
- RELATIONS CONSOMMATEURS
You have just acquired a DE DIETRICH hood, and we would like to thank you.
CS 32
Our research teams have created this new generation of appliances for you. Their quality, design, features and technological advances make them exceptional products, and reveal our unique know-how.
DA 47
Your new DE DIETRICH hood will blend harmoniously into your kitchen and will perfectly combine extraction performance and ease of use. We wanted to offer you a product of excellence.
DE 62
In the DE DIETRICH product range, you will also find a wide choice of hobs, ovens, microwaves, dishwashers, cookers, fridges, freezers, that you can coordinate with your new DE DIETRICH hood.
Visit our website www.dedietrich-electromenager.com, where you will find our latest innovations as well as useful and complementary information.
DE DIETRICH
Setting New Values
As part of our commitment to constantly improving our products, we reserve the right to make changes to them based on technical advances to their technical and functional features and appearance.
Warning : Before installing and using your appliance, please carefully read this Guide to Installation and Use, which will allow you to quickly familiarise yourself with its operation.
1 / NOTICES TO THE USER
- Safety recommendations 19
- Environmental protection 20
- For Australia only (Legal instruction) 21
Description of your appliance 21
2 / INSTALLING YOUR APPLIANCE
• Using the evacuation mode 22
- Using the recycling mode 22
- Electrical connections 23
- Assembling the hood 24
Fixing the telescopic flues Ducting mode 25
- Filtering mode 26
Assembly removing the grease drip trays 26
3 / USING YOUR APPLIANCE
Description of the control panel 27
4 / CARING FOR AND CLEANING YOUR APPLIANCE
- Cleaning the grease filters 28
- Changing the charcoal filter 28
• Cleaning and caring of the casing 29 - Changing the light bulb 29
- Removing the grease drip trays 29
- Maintaining your appliance 30
5/TROUBLESHOOTING 31
6/ AFTER SALES SERVICE 31
Attention
Keep this user guide with your appliance. If the appliance is ever sold or transferred to another person, ensure that the new owner receives the user guide. Please become familiar with these recommendations before installing and using your oven. They were written for your safety and the safety of others.
SAFETY RECOMMENDATIONS
- This oven was designed for use by private persons in their homes.
- This appliance is to be used by adults.
Make sure that children do not touch and that they do not treat it as a toy. Make sure that they do not touch the appliance's control panel.
- When you receive the appliance, unpack or have it unpacked immediately. Give it an over-all general inspection. Make note of any concerns or reservations on the delivery slip and make sure to keep a copy of this form.
- Your appliance is intended for standard household use. Do not use it for commercial or industrial purposes or for any other purpose than that for which it was designed.
- Do not modify or attempt to modify any of the characteristics of this appliance. This would be dangerous to your safety.
- Repairs must only be carried out by an approved specialist.
- Always unplug the hood before cleaning it or performing other maintenance acts.
- Provide adequate ventilation for the room in the case of simultaneous use of the hood and other appliances powered by an energy source other than electricity. This will prevent the hood from aspirating the combustion gases.
- You should never "flambé" dishes under the hood or operate gas rings under the hood without placing cookware on them (the flames sucked up into the hood can damage the appliance).
- When frying food under the appliance, you must carefully monitor the preparation at all times.
Oils and grease brought to very high temperatures can catch fire. - Respect the recommended frequency of cleanings and filter replacements. The accumulation of grease deposits may cause a fire.
- The hood should never be used over a
combustible fuel burning stove (wood, coal, etc.).
- Never use steam or high-pressure devices to clean your appliance (requirement imposed by electrical safety).
- With a view to constantly improving our products, we reserve the right to modify their technical, functional or aesthetic characteristics, making any changes to their features considered necessary or desirable in view of technical progress.
- In order to easily locate the reference information for your appliance, we recommend that you note these data on the "After-Sales Service Department and Customer Relations" page.
(This page also explains to you where to find this information on your appliance.)
Warning In the case
In the case of a kitchen heated by a device connected to a chimney (a stove, for example) the "filtering" version of the hood should be installed. Do not use the hood without grease filters.
Suitable ventilation should be provided in the room when the hood is used at the same time as appliances operated by gas or another combustible fuel.
ENVIRONMENTAL PROTECTION
- This appliance's packaging material is recyclable. Help recycle it and protect the environment by dropping it off in the municipal receptacles provided for this purpose.
- Your appliance also contains a great amount of recyclable material. It is marked with this label to indicate the used appliances that should not be mixed with other waste. This way, the appliance recycling organised by your manufacturer will be done under the best possible conditions, in compliance with European Directive 2002/96/EC on Waste Electrical and Electronic Equipment. Contact your town hall or your retailer for the used appliance collection points closest to your home.
- We thank you doing your part to protect the environment.

Warning
Installation should only be performed by installers and qualified technicians

Warning
Remove the protective film from the grease filter before use.
FOR AUSTRALIA ONLY (Legal instruction)
Young children should be supervised to ensure that they do not play with the appliance.
The appliance is not intended for use by young children or infirm person without supervision.
If the supply cord is damaged, it must be replaced by the manufacturer or its service agent or a similarly qualified person in order to avoid hazard.
WARNING : Ensure the appliance is switched off before replacing the lamp to avoid the possibility of electric shock.
For service issues, telephone number: 1300
Do not install the product if you see any damage on it.
DESCRIPTION OF YOUR APPLIANCE


Fixing tabs

Telescopic flues

Control panel
- The appliance must be unplugged during installation or when any repairs or maintenance work is being performed.
- Ensure that the network voltage corresponds to the voltage noted on the identification plate located inside the hood.
- If the electrical installation at your residence requires any changes in order to hook up your Appliance, call upon a professional electrician.
- If the hood is being used in evacuation mode, do not connect the appliance to a combustion gas exhaust duct (boiler, chimney, etc.) or to a CMV (controlled mechanical ventilation) system.
- Under no circumstances should the exhaust duct empty into the attic.
- Install the hood at safe distance of at least 35 cm from an cooking hob.
This appliance can be installed in either suction version or filtering version.
The appliance is supplied in the filtering version, the charcoal filter is installed (Ref.AH4063U1 for model DHD771; Ref. AK789AE1 for model DHD772).
- USING THE DUCTING MODE
If you posses an outlet to the exterior (fig. 1)
Your hood can be connected to this outlet using a flue (minimum 125mm that is enamelled, in aluminium, flexible or made of inflammable material).
Your cooker hood is a filtering version. All you need to do is to remove the charcoal filters first.

- USING THE FILTERING MODE
If you do not posses an oulet to the exterior (fig. 2)
All of our appliances can be used in recycling mode.
The air and steam taken up by the unit are purified with charcoal filters and returned to the environment.

ELECTRICAL CONNECTIONS
During installation and maintenance operations, the appliance must be unplugged from the electrical grid; fuses must be cut off or removed. The electrical connections are made before the appliance is installed in its housing.
Ensure that
- the electrical installation has sufficient voltage,
- the electrical wires are in good condition,
- the diameter of the wires complies with the installation requirements.
Warning This appl
We cannot be held responsible for any accident resulting from an inexistent, defective or incorrect ground lead.
In case your appliance is not furnished with a non separating flexible cable and has no plug, or has not got any other device ensuring omnipolar disconnection from the electricity main, with a contact opening distance of at least 3mm , such separating device ensuring disconnection from the main must be included in the fixed installation. This appliance is delivered with a H05VVF power cord that has three- 0.75mm^2 conductors (neutral, phase and ground). It must be connected to the main power supply (which should be a 230-240V single phase current) via a CE160083 standardised socket that should remain accessible after installation, in keeping with installation guidelines.
If the power cable is damaged, call the after-sales service department in order to avoid danger.
Warning
If the electrical installation at your residence requires any changes in order to hook up your appliance, call upon a professional electrician.
Warning
If the hood displays any malfunctions, unplug the appliance or remove the fuse corresponding to the electrical socket where your appliance is plugged in.
ASSEMBLING THE HOOD
Warning
The hood must be installed in compliance with all applicable regulations concerning the ventilation of premises. In France these regulations are described in DTU 61.1 from the CSTB. In particular, the evacuated air should never be conveyed to a duct used to evacuate smoke from appliances that use gas or other combustible fuels. Unused ducts may only be used after approval from a competent specialist.
The distance between the supporting surface for the cooking vessels on the hob and the lower part of the hood must be at least 484~mm . If the instructions for installation for the hob specify a greater distance, this has to be taken into account.
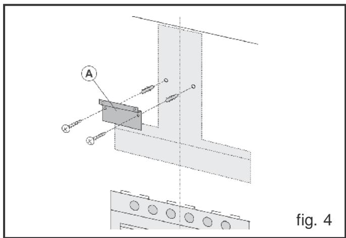
Fixing to the wall
Draw a line on the wall in vertical line with your hob. Mark the first 2 holes to be drilled in the wall, respecting the distances indicated in Fig.3. Drill the 2 holes and fit the screw anchors provided. Bear in mind that the distance between the lower edge of the hood and the hob must be 484~mm . Fix the metal bracket (A) to the wall using the 2 holes just drilled (Fig. 4); the screws for fixing the bracket are provided. Use the 2 cut-out triangles on the bracket to position it exactly along the vertical axis of the hood.
Hang the hood on the bracket (Fig.5). Adjust the horizontal position moving the hood to the right or left so that it is aligned with the wall units.
When adjustment has been completed, without removing the hood, mark the other 4 holes to be drilled (C) in the wall. Remove the hood and drill the holes marked (8 mm diameter). Then use the 4 screw anchors and the 4 screws provided for final fixing.
Fit the electrical system plate, securing it with 2 screws (V) and 2 washers (Fig. 6).
Install the flange in the device air outlet and press slightly (Fig.7).





-
FIXING THE TELESCOPIC FLUES
-
Ducting mode
-
Assemble the tube support (D) using a 2 screws (E) kit (Fig.8); then, by means of the screw anchors and screws (F) provided, fix the bracket to the ceiling in such a way that it is positioned along the axis with your hood (Fig.8).
- Connect the air outlet pipe to the air vent of the hood.
- Use a flexible pipe and lock it to the air vent of the hood with a metal hose clamp - Fig.9 (pipe and clamp are not provided).
- For ducting hoods, turn the upper flue over so that the air exhaust grid is in the lower section (Fig.10).
- Plug in the hood.
- Insert the extension flues setting them on the hood; extend the upper flue to the ceiling and secure with the 2 screws (H) - Fig.11.

Warning
This is the filtering version of your cooker hood; you must first remove the charcoal filter.



Tip
For optimal use of your appliance, we recommend that you connect the hood to a 150 mm-diameter flue (not delivered with the appliance). Minimise the number of angles and bends and the lengths of the flue. In the event that the hood will be operated using out-door evacuation, you should ensure a sufficient inflow of fresh air to avoid a pressure deficiency in the room.


- Filtering mode
- Assemble the tube support (D) using a 2 screws (E) kit (Fig.8).
- Then, by means of the screw anchors and screws (F) provided, fix the bracket to the ceiling in such a way that it is positioned along the axis with your hood (Fig.8).
- Mount the flange on the hood in correspondence to the air outlet point (Fig.12).
- Take the air baffle and fit a flexible pipe to it (125 mm diameter) locking it with a metal hose clamp (pipe and clamps are not provided). Fit the air baffle to the upper flue (Fig.13) with 4 screws.
- Connect the flexible pipe to the flange on the air vent (Fig.14).
- Plug in the hood.
- Insert the extension flues setting them on the hood; extend the upper flue to the ceiling and secure with the 2 screws H (Fig.11).



Position the 3 grease trays inside the hood, immediately underneath the anti-grease filter housing; Move the drip trays sideways towards the inside of the hood (Fig. 15), until they stop against the partition panels.

- DESCRIPTION OF CONTROL PANEL
A) Turns the LIGHTS off.
B) Turns the LIGHTS on.
C) reduces the motor speed until reaching minimum. If pressed for about 2^ , it stops the motor and storse the speed.
D) drives the motor (calling the last speed used) and increases the speed until reaching maximum.
L Display:
- signals the running speed.
- signals the filter alarm (with motor off) by displaying the central segment for 30" .
- signals Timer activation with a flashing number.
E) activates the TIMER (when the motor is running), so that the hood stops automatically after 5'. Also Zero-sets hour metering when the Filter Alarm is active (motor OFF).
FILTER ALARM
Displayed for 30" when the motor is off:
After 30h of operation, the central segment lights up on the display; It indicates that the grease filters need to be cleaned.
After 120h of operation, the central segment flashes on the display; It indicates that the grease filters need to be cleaned and the charcoal filters replaced.
After cleaning the grease filters (and/or replacing the charcoal filters), restart the hour counter (RESET) by pressing the key E during display of the filter alarm.


Warning
Always unplug the hood before cleaning it or performing other maintenance acts.
Regular maintenance of your appliance is a guarantee of proper functioning, good performance and durability.
Warning
Failure to respect the guidelines for cleaning the appliance and filters may cause fires.
Please carefully adhere to the maintenance recommendations.
- CLEANING THE GREASE FILTERS
Pay special attention to the grease filters, that must be cleaned at regular intervals.
Filter cleaning frequency: The grease filters must be cleaned about every 30 hours of operation (when, with the motor off, the centre segment comes on or flashes on the display screen). Once the clean filters have been refitted, press the button E (while the LED is lit up) and restart the hour counter.
Wash the filters with a commercial household cleanser, then rinse fully and dry. They may be cleaned in a dishwasher making sure that the filter does not come into contact with dirty dishes or silver tableware.
- Removing the grease filters (fig. 17/18)
Model DHD771: grip the knob and push it towards the opposite side of the filter and turn the filter outwards (fig.17).
Model DHD772: Turn the glass panel by gripping it from the front part of the hood (fig. 18); Remove
the grease filters by pushing the catch towards the rear of the hood and turning the filters outwards.


- REPLACING THE CHARCOAL FILTER
If using the hood in the filtering version, the charcoal filter will periodically have to be replaced.
Frequency of filter replacement:
The charcoal filter must be replaced about every 120 hours of operation (when, with the motor off, the central segment flashes). Once the clean filter has been refitted, press the button C (while the segment is lit up) and restart the hour counter.
.Replacing the charcoal filter (fig. 19).
Model DHD771: grip the knob and push it towards the opposite side of the filter and turn the filter outwards (Fig. turn the filter outwards (fig. 17).
Remove the charcoal filter by pressing the retainer inwards and rotating the charcoal filter until the two tangs come out of their seats (fig. 19).
Model DHD772:
Turn the glass panel by gripping it from the front part of the hood (fig. 18); Remove the grease filters by pushing the catch towards the rear of the hood and turning the filters outwards.
Remove the metal filter retainers (M) to remove the charcoal filter (fig. 20).
Charcoal filter ref. n°
AH4063U1 (for the model DHD771)
AK789AE1 (for the model DHD772)
- CLEANING AND CARING OF THE CASING
Avoid products containing abrasives when cleaning the casing.
Model DHD772: The formation of condensation can be checked on the stainless-steel panel that covers the grease filter. Clean regularly.
- CHANGING THE LIGHT BULB
Warning
Before carrying out any work, the power supply to the hood must be turned off, either by unplugging it or by using the circuit breaker switch.
Open the halogen lamp door by pressing on one side (where it says PUSH) and release (fig. 22). Replace with lamps of the same type.
WARNING: do not touch the new lamp with bare hands.
The grease drip trays require regular maintenance and must be emptied and cleaned on average every two months depending on use. To remove the trays, move them sideways, towards the inside of the hood and remove (fig.23).

fig. 19

fig. 20


fig. 21

fig. 22
fig. 23
Warning
Before carrying out any work, the power supply to the hood must be turned off, either by unplugging it or by using the circuit breaker switch.
MAINTAINING YOUR APPLIANCE
| MAINTENANCE... | WHAT TO DO? | PRODUCTS/ACCESSORIES TO USE |
| Top surface and accessories | Never use metal scouring pads, abrasive products or excessively stiff brushes. | To clean the body and the lighting port, you should use only commercial household cleaning products diluted in water and then rinse using clean water, drying with a soft cloth. |
| Grease filter | This filter traps fatty vapours and dust. This component plays an important role in ensuring the effectiveness of your hood. In the event of tough stains, use a non-abrasive cream, then rinse with clean water. | Use a commercial household cleaning product then rinse abundantly and dry. These filters can be cleaned in a vertical position in your dishwasher. (Do not allow them touch dirty dishes or silverware). |
| Charcoal filter | This filter traps odours and must be changed at least once every 6 months depending on your level of use. You should order these filters from your dealer (quoting the reference shown on the identification plate located inside the hood) and note the date the filter was changed. |
To keep your appliance in good working order, we recommend that you use Clearit household products.

Professional expertise for the general public
Clearit offers you professional products and adapted solutions for the daily upkeep of your household and kitchen appliances.
You may find them in conventional retail outlets, along with a complete line of by-products and consumables.
| SYMPTOMS | SOLUTIONS |
| The hood is not working... | Ensure that: · The power is not cut off. · A speed has been selected. |
| The hood is not operating effectively... | Ensure that: · The selected motor speed is sufficient for the quantity of smoke and vapours to be cleared. · The kitchen is sufficiently ventilated to allow une for fresh air intake. · The charcoal filter is not worn (hood operating in filtering mode). |
| The hood stopped working | Ensure that: · The power is not cut off. · The single-pole cut-off device was not activated. |
EN
6 / AFTER SALES SERVICE
Any maintenance on your equipment should be undertaken by:
- either your dealer,
- or another qualified mechanic who is an authorized agent for the brand appliances.
When making an appointment, state the full reference of your equipment (model, type and serial number). This information appears on the manufacturer's nameplate attached to your equipment.
FR 01
Vázěný zákazníku,
EN 17
2 / INSTALLATION AF APPARATET
FEDTOPSAMLINGSBEHOLDERE
FEDTOPSAMLINGSBEHOLDERE
- VEDLIGEHOLDELS AF APPARATET
EasyManual