DHD771X - Emhætte DE DIETRICH - Gratis brugsanvisning og manual
Find enhedens vejledning gratis DHD771X DE DIETRICH i PDF-format.
Questions des utilisateurs sur DHD771X DE DIETRICH
0 question sur cet appareil. Repondez a celles que vous connaissez ou posez la votre.
Poser une nouvelle question sur cet appareil
Download vejledningen til din Emhætte i PDF-format gratis! Find din vejledning DHD771X - DE DIETRICH og tag din elektroniske enhed tilbage i hånden. På denne side er alle dokumenter nødvendige for brugen af din enhed offentliggjort. DHD771X af mærket DE DIETRICH.
BRUGSANVISNING DHD771X DE DIETRICH
Tak, fordi du har kɒbt en emhætte fra DE DIETRICH.
CS 32
Vores forskningssteam har udvikletijke generation af apparater, hvis kvalitet, æstetak, Funktion og tekniske udvikling resulterer i fremragendeprodukter, som understreger enestående知晓how.
DA 47
Din nye emhætte fra DE DIETRICH integreres på harmonisk vis i køkkenet hvor apparatets fantastiske udsugningsegenskaber og lette anvendelse fremhæves. Det har vær et vores mål at tilbyde et uovertruffet produit.
DE 62
Den brede vifte af Produkter fra DE DIETRICH tilbyder ligeledes et stort udvalg af integrerede ovne, mikrobølgeovne, kogeplader, opvaskemaskiner og i koleskabe, som du kan sammensætte med din nye emhætte fra DE DIETRICH.
Du kan også finde os på www.dedietrich-electromenager.com, hvordu kan se de sidste innovationer, samt få andre nyttige oplysninger om voresprodukter.
DE DIETRICH
Forget værdi
Med en konstant forbedring af vores Produkter for øje forbeholder vi os ret til ændringer af de tekniske, Funktionelle og æstetiske egenskaber i forbindelse med den teklogiske udvikling.
Vigtigt: Inden apparatet tages i brug, bør du læse davon installations- og brugervejledning grundigt, SSE du hurtigt kan sætte dig ind i dets Funktion.
1 / HENVENDT TIL BRUGEREN
- Sikkerhedsforskrifter 49
Miljøhensyn 50 - Beskrivelse af apparatet 51
- Brug af udsugende model 52
- Brug af filtrerende model 52
- Elektrisk tilslutning 53
- Montering af emhætte 54
- Montering af teleskoprørene
Udsugende model 55
- Filtrerende model 56
- Montering af fed Topsamlingsbeholderene 56
3 / BRUG AF APPARATET
- Beskrivelse af betjeningsudstyr 57
4/VEDLIGEHOLDELSOGRENGORGINGAFAPPARATET
- Rengring af fedtfiltren 58
- Udskiftning af kulfilter 58
- Rengøring og vedligeholdelse af den uvdendige overflade 59
- Udskiftning af pære 59
- Rengøring af fed Topsamlingsbeholdere 59
- Vedligeholdelse af apparatet 60
5/FUNKTIONSFEJL 61
6/ AFTER SALES SERVICE 61
Vigtigt
Gem davon brugervjledning sammen med apparatet. Sorg for, at brugervjledningen ffolger med apparatet, hvis det sælges eller overdrages til andre personer. Læs disse vegjledninger grundigt før, apparatet installeres og benyttes. Vejledningerne er skrevet for brugerens og de omkringværende personers sikkerhed.
- SIKKERHEDSFORSKRIFTER
- Apparatet er beregnet til/DDk-professional brug i almindelige kokkener.
- Apparatet mä udelukkende benyttes af voksne personer.
Sorg for, at børn ikke kan få adgang til det eller bruge det som legetøj. Vær sikker på, at børn ikke kan røre ved apparatets betjeningsknapper.
- Ånb straks apparatets emballage ved modtagelsen og tjek, at apparatet er komplet. Anfør eventuelle forbehold skriftligt på forsendelsesslisten. Gem en kopi af listen.
- Apparatet er beregnet til alminderlig husholdningsbrug. Det mA ikke benytttes til commercienne eller industrielle formål, eller andre formal!, som det ikke er beregnet til.
- AEndr不解 anders forsøg不解 atændre apparatets karamakteristika, da det kan udgore en risiko for brugeren.
- Reparationer må udelukkende udføres af en autoriseret tekniker.
- Afbryd altid emhættens ledning, for apparatet rengøres eller vedligeholds.
- Sørg for at udlufte rummet godt ved brug af emhæten samtidigt med andre apparater, som forsynes med,anden energia end elektrisk strøm. Det vil hindre, at emhæten udsuger forbrændingsgas.
- Det er forbudt at tilberede flamberede retter eller at bruge gasblus under emhætten uden at anbringe gryder/pander på dem (de udsugede flammer kan risikere at beskadige apparatet).
- Stegning under apparatet skal konstant overvåges.
Meget varme olier og fertstoffer kan brænde.
- Overhold den anbefalede hypppighed hvormed, apparatet skal rengores og filtrene udskiftes. Ophobning af fedtaflejringer kan forarsage brand.
- Emhætten på ikke benyttes over ild fra træller kul.
- Der pågressive benytttes apparater med damp med høj't tryk til rengøring af apparatet (normer i henhold til den elektriske sikkerhed).
- Da vi til stadighed søger at forbredre vores produkter, forbeholder vi os ret til at foretage ændringer i deres tekniske, Funktionelle aller æstetiske specifikationer i trin med den tekniske udvikling.
- For tilenhver tid nemt at kunne finde apparatets produktkoder, anbefales det at skrive dem ned på siden for "Eftersalgsservice og forbrugerforhold". (På这部分 side forklares det och, hvor koderne findes på apparatet).
A
Bemerk
I tilfælde af et kokken, som opvarmes med et apparat tilsluttet en skorsten (f. eks.: komfurkakkelovn) skal den filtrerende emhættemodel installeres. Brug ikke emhætten uden fedtfiltre. Der skal sørges for korrekt udluftning af rummet, nagemhætten benyttes samtidigt med apparater, der bruger gas eller andet brandstof.
MILJØBESKYTTALSE
- Emballagematerialer til dette apparat kan genbruges. Du kan sorge for dette og dermed beskytte miljøet ved at deponere dem på genbrugspladsen.
- Apparatet indeholder ligeledes flere genanvendelige materialer. Dette angives med den illustreredetegning for at vise, at brugte apparater ikke må blandesammen med alminderigt husholdningsaffald. Genvinding af apparaterne, som fabrikanten organiserer, sker under de mest optimale betingelser i overensstemmelse med Europa-Parlamentets og Rådets direktiv 2002/96/EF om affald af elektrisk og elektronisk udstyr.
Kontakt Rådhuset eller forhandleren for at få at vide, hvor brugte apparater skal afleveres.
- Vi takker for dit samarbejde med hensyn til at beskytte miljøet.

Bemærk
Installationen skal udfores af installmenter og kvaliceret personale.

Bemærk
- Apparatet skal vare afbrudt under installationen og/eller ved indgreb.
- Tjek, at netspændingen stemmer overens med den anførte spænding på typepladen indvendigt i emhætten.
- Hvis apparatets tilslutning til elnettet kræver enændring af den pagældende boligs elanlæg, skal der rettes henvendelse til en kvalificeret elektriker.
- Hvis det drejer sig om den udsugende model, på apparatet ikke tilsluttes en udsugningskanal til forbrændingsrøg (kogekedel, skorsten, osv...) aller et mekanisk udluftningssystem.
- Udsugningskanalen mä i alle tilfælde ikke ledes ud på taget.
- Installé emhætten i en sikkerhedsafstand på mindst 35 cm fra kogepladen.
Apparatet kan installereres i en udsugende eller filtrerende model.
Den udsugende model er forsynet med kulfilter (Ref.AH4063U1 til model DHD771; Ref. AK789AE1 til model DHD772).
- BRUG AF UDSUGENDE MODEL
Udgang mod fri luft (fig. 1)
Dens emhætte kan tilsluttes en sādan udgang ved hjælp af en udsugningskanal (Ø mindst 125mm, emaljeret, i aluminium, flex eller i/DDK brændbart materiale).
Emhætten leveres med filter. Kulfiltret/kulftiltrene skal fjernes.

- BRUG AF FILTRERENDE MODEL
Uden udgang mod fri luft
(fig. 2)
Alle vores apparater kan fungere som filtrerende model.
Luften og de dampe, som ledes af apparatet,
renses i kulfiltret/kulfilttrene og brings i recirkulation i lokalet.

ELEKTRISK TILSLUTNING
Apparatet skal afbrydes, og sikringerne skal afbrydes eller frakobles under installation og vedligeholdelse.
Den elektriske tilslutning skal udfores, for apparatet placeres i kokkenet.
Tjek at:
- anlaeggets effekt er tilstraekkelig,
-forsyningsledningerne er i god stand, - ledningernes diameter er i overensstemmelse med anlæggets standarder.
Bemærk Dette ap
Producenten pâtager sig intet ansvar for uheld som ffolge af manglende jord forbindelse.
Hvis apparatet ikke erforsynet med en uadskillelig flexledning og med stik, eller en,anden anordning som sikrer flerpolar afbrydning fra nettet,med en afstand i abningen af kontakterne på mindst 3 mmså skal en södan afbrydningsanordning fra nettet installereres på den faste installation.
Apparatet leveres med en H 05 VVF elledning med 3 ledere på 0,75 mm (nul, fase og jord). Apparatet skal tilsluttes et enfaset net på 230-240 V via en CEI 60083 standardiseret stikkontakt, som skal vare tilgængelig after installationen i overensstemmelse med anlæggets bestemmelse.
Hvis elledningen er beskadiget, skal der rettes henvendelse til aftersalgs-servicekontoret for athindre eventuelle risici.
Bemerk
Hvis apparatets tilslutting til elnettet kræver enændring af den pagældende boligs elanlag, skal der rettes henvendelse til en kvalificeret elektriker.
Bemerk
! Afbryd apparatet eller fjern den sikring, som svarer til apparatets tilslutningslinje, hvis emhætten viser tegn på fejl.
- MONTERING AF EMHÆTTE
Bemerk
Installationen skal vare i
overensstemmelse med gældende bestemmelse for ventilation af lokaler. I Frankrig anføres dette bestemmelse i CSTBs DTU 61.1. I det specifikke tilfælde kan den udsugede luft ikke returnere i en kanal, som benyttes til udsugning af røg fra apparater med gas eller,anden forbænding. Brug af rør beregnet til,anden brugmx kun benyttes after en kompetent teknikers positive skøn.
Afstanden mellem overfladen på komfuret og den nederste del af emhætten skal minimum vare 48.4 cm. Hvis installationsanvisningerne for komfuret angiver en større afstand, skal der tages hensyn til dette.
Fastsætning pà muren
Tecn en linje på væggen lodret fra komfuret. Afmærk de Forste 2 huller, som skal laves, på væggen, og overhold de mål, som er angivet i fig. 3. Bor hullerne, og indsæt de 2 rawlplugs (medfolger).
Vær opmærksom på, at afstanden mellem underkanten på emhætten og komfuret skal��e mindst 484 mm.
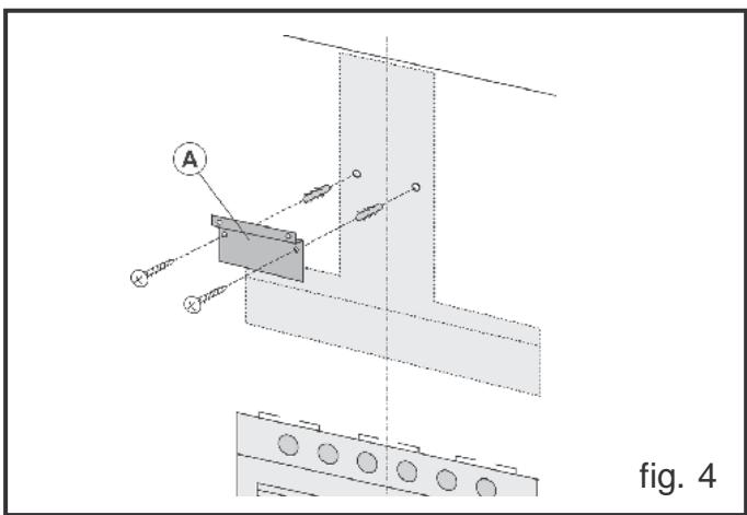
Fastspænd metalbeslaget (A) til væggen ved at benytte de 2 huller, som lige er blevet lavet - fig. 4 - (skruerne til fastspænding af beslaget medfolger). Benyt de 2 små trekanter udskåret på beslaget til at placere det nøjagtigt langs emhættens lodrette akse.
Fasthægt herefter emhaeten i beslaget (Fig. 5). Regular placeringen vendret ved at flytte emhaeten til højre eller til venstre alt after hvader不同程度 for at faden den lige i forhold til hylderne.
After regulareringen, og uten at fjerne emhætten, markeres de andre 4 huller som skal laves i væggen (C). Tag emhætten af, og bor de markerede huller (diameter 8mm). Brug derefter 4 rawlplugs og 4 skruer (medfølger) til en endelig fastgørelse.
Monter pladen til det elektriske anlæg og fastspænd den med 2 skruer (fig. 6).
Montér flangen på apparatets aftræksstuds med et let tryk (Fig. 7).





-
MONTERING AF TELESKOPRØRENE
Udsugende model -
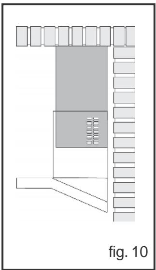
Saml rørholderen (D) ved hjælp af de 2 medfølgende skruer (E) (Fig.8). Efterfølgende, vha. rawlplugsene og skruerne (F) som medfølger, fastspændes rørholderne til loftet säledes at den er i vinkel med emhætten (Fig.8). - Tilslut aftræksslangen til aftræksstudsen på emhætten. Brug en slange, og fastgør den til aftræksstudsen på emhætten med et spændebänd (Fig. 9) (slange og spændebänd følger ikke med). Til udsugningsmodellen vendes det øverste aftræksrør säledes at luftudugsningsristene er på den nederste del (Fig.10).
- Udfør den elektriske tilslutning af emhætten vha. ledningen.
- Indsæt teleskoprøne ved at nætte dem på emhætten. Loft det øverste aftræksrør op til loftet, og fastspænd det med de 2 skruer H (Fig.11).

Bemerk
Dette apparat leveres som filtrerende.
For at fä en optimal brug af apparatet anbefales det at udføre tilslutningen med et rør med en diameter på 150 mm (medfolger化进程). Begræns mest muligt antallet af rørets bojninger samt længden. Hvis det drejer sig om den filtrerende model, er det hensigtsmaessigt at sikre, at der er tilstrækkelig frisk luft for at undgå at sænke trykket for meget i rummet.


- Fitrerende model
- Saml rørholderen (D) ved hjælp af de 2 medfølgende skruer (E) (Fig.8).
- Efterfolgende, vha. de medfolgende rawlplugs og skruer (F), fastspændes beslaget til loftet säledes at det er i vindel med emhætten (Fig.8). Monter emhætte-reduktionen ved aftræksstudsen (Fig. 12).
- Tag luftdeflektoren, og fastspænd en slange (med diameter 125 mm), og fastgør den med et spændebænd (slange og spændebænd følger med). Fastgør luftdeflektoren til øverste aftræksrør (Fig. 13) med 4 skruer.
- Tilslut slangen til reduktionsstykket, som sidder på affræksstudsen (Fig. 14).
- Udfør den elektriske tilslutning af emhætten vha. el-ledningen.
- Indsæt teleskoprøne ved at nætte dem på emhæten. Loft det øverste aftræksrør op til loftet, og fastspænd det med de to skruer H (fig.11).



- MONTERING AF
Anbring de 3 fedtopsamlingsbeholdere inden i emhætten lige under holderen til fedtfiltrene; skub beholderne sidelæns mod emhættens yderside (Fig. 15), indtil de/DDke kan skubbes Iængere.

BESKRIVELSE AF BETJENINGSKNAPPER
A) Slukker lysene.
B) tænder lysene.
C) : Nedsætter motorens hastighed indtil minimum. Hvis den holds nede i ca. 2 sekunder, standser motoren og gemmer hastighedsindstillingen.
D) aktiverer motoren (henter den sidst benyttede hastighed) og øger hastigheden indtil maks. hastighed.
Display L:
- viser den aktuelle hastighed
- signalerer Filteralarm (med slukket motor) ved visning af det midterste segment
- signalerer aktivering af Timeren ved hjælp af det blinkende ciffer.
E) aktiverer TIMEREN (när motoren er i gang), og emhætten slukkes automatisk after 5 minutter. Herudover nulstiller den timetællingen, nar Filteralarmen er aktiveret (med slukket motor).
FILTERALARM
Vises, nár motoren er slukket. After 30 timers Funktion tændes det midterste segment på displayet. Det angiver, at fedtfiltrene skal renses.
After 12 timers Funktion tændes det midterste segment på displayet. Det angiver, at fedtfiltrtre skal renses og kulfiltrene udskiftes. Tryk på tasten E under visning af filteralarmen,ningar fedtfiltrtre er blevet renset (og/eller kulfiltrene udskiftet) for at igangsætte timetællingen iven (RESET).

Bemerk
Afbryd apparatet før det vedligeholds eller rengøres. En regelmæssig vedligeholdelse af apparatet er garanti for en god functiion, optimal ydelse og lang levetid.
Bemerk
Manglende overholdelse af rengøringsvejledningerne for apparatet og filtrene kan forårsage brand. Det er derfor vigtigt omhyggeligt at overholde vedligeholdelsbestemmelsene.
- RENGØRING AF FEDTFILTRE
Vær saerlig opmærksom på fedtfiltrene, som skal renses jegavnligt.
Hvor oftte filtrene skal renses:
Fedtfiltrene skal renses after ca. haver 30 timers Funktion (när det midterste segment lyser med slukket motor). Tryk på tast E (mens det midterste segment lyser), när de rengjorte filtre er sat på plads, for at igangsætte timetællingen iven.

Vask filtrret med et normalt husholdningsrengøringsmiddel, skyl filtrret med rigeligt vand og tør det. Filtrekan øgsa vaskes i opvaskemaskine, men sorg for, at det ikke kommt i berøring med meget tilsmudsedet tallerkener eller solvbestik.
- Afmontering af kulfiltre (fig.17/18)
Model DHD771: tag fedtfiltrene ud ved at tage fat om grebet og skubbe mod den modsatte side af filtret; drej filtret udad (fig. 17).
Model DHD772: drej panelet ved at tage fat omkring emhættens forreste del (fig. 18); skub fedtfiltrne mod den bagerste del af apparatet og drej dem udad.

- UDSKIFTNING AF KULFILTER
Ved brug af den filtrerende model er det nødvendigt at udskiffe kulfiltret jegnligt.
Hvor oftte filtret/filtrene skal udskiftes:
Kulffret/kulfftrene skal udskiftes after ca. hver 120 timers Funktion (när det midterste segment lyser eller blinker med slukket motor). Tryk på tasten E (mens det midterste segment lyser eller blinker), när det rene filter er blevet monteret, for at igangsætte timetællingen ingen.
- Udskifting af kulfilter (fig. 19-20)
Model DHD771: tag fedtfiltrene ud ved at tage fat om grebet og skubbe mod den modsatte side af filtrret; drej filtrret udad (fig. 17).
Fjern kulfiltret ved at trykke lase mekanismen indad og dreje filret, indtil de to flige Iosnes fra derespektive sæder (Fig. 19).
Model DHD772:
drej panelet ved at tage fat omkring emhættens forreste del (fig. 18); skub fedtfiltrene mod den bagerste del af apparatet og drej dem udad. Tag metalfilterholderne (M) af for at tage kulfiltret ud (Fig. 20).
Kulfilter ref. nr.
AH4063U1 (til model DHD771)
AK789AE1 (til model DHD772)
- RENGØRING OG
Benyt vand og sæbe til rengøring af emhættens udvendige overflade og ikke rengøringsmidler eller slimende svampe.
Model DHD772: Der kan dannes kondens på panelet af rustfrit stål, som dækker fedtfiltret. Rengør jævnligt.
- UDSKIFTNING AF PAERE
Bemærk
Sluk emhætten ved at trække stikket ud ell er ved at slukke det med kontakten, forder udfores nogen form for indgrep pa den.
Abn lagen til halogenpærerne ved at trykke pa den ene side (ved teksten "PUSH") og herefter slippe (fig. 22). Udskift med pærer af samme type. ADVAREL: rør ikke ved pæren med bare hænder.
- RENGØRING AF
Fedtopsamlingsbeholderne skal vedligeholds jævnligt og skal tømnes og rengøres ca. hver 2. maned alt after hvor ofte emhætten er i brug. Beholderne tages ud ved at skubbe dem sidelaens inden i emhætten og trække dem ud (fig. 23).

fig. 19

fig. 20


fig. 21

fig. 22
fig. 23
Bemærk
Sluk emhaeten ved at trække stikket ud eller ved at slukke det med kontakten, før der udfores nogen form for indgrep på den.
| VEDLIGEHOLDELS... | UDFØR FØLGENDE | PRODUKTER/TILBEHØR, DER SKAL BENYTTES |
| Låg og tilbehør | Benyt aldrig metalsvampe, sibendeprodukter eller forålnde børster. | Brug udelukkende almindelige husholdningsrengøringsmidler fortyndet med vand til rengøring af metaldelene og 'koøjet'. Skyl after med rindende vand og tør med en blød klud. |
| Fedtfilter | Dette filter tilbageholder defedte dampe og støv. Det er det vigtiste element, som sikrer emhættens effektivitet. Brug et ikke sibende rengøringsmiddel i tilfælde af meget genstridge pletter og skyl after med rindende vand. | Med et almindeligt husholdsningsrengøringsmiddel, skyl after med rigeligt vand og tør. Denne rengøring kan øgså ske i opvaskemaskine i lodret position. (Må ikke komme i berøring med tilsmudsede tallerkener/fade eller solvbestik). |
| Kulfilter | Dette filter tilbageholder lugtene og skal udskiftes hvver 6.@måned afhængigt af dets brug. Bestil disse filtre hos den lokale forhandler (husk at oplyse koden, som findes på typepladen indvendigt i emhætten), og skriv udskiftningsdatoen ned. |
Det anbefales at benyttte Clearit vedligeholdelsesprodukter for at beskytte apparatet.

Der ydes professionnel erfaring til de private brugere
Clearit anbefaler professionelle produit og løsninger, som passer til den daglige vedligeholdelse af køkkenet og dets hare de hvidevarer.
Produkterne kan købes hos den lokale forhandler zusammen med serien af tilbehør og forbrugsartikler.
| SYMPTOMER | AFHJÆLPNING |
| Emhæten fungerer ikke... | Tjek at: • der er ikke strømafbrydelse. • der er blevet valgt en hastighed. |
| Emhæten har en ringe ydelse... | Tjek at: • Den valgte motorhastighed er tilstrækkelig til[mængden af frigjort røg og damp. • Der er tilstrækkelig udluftning i køkkenet til et luftaftræk. • Kulfiltret er/DDt (filtrerende emhættemodel). |
| Emhæten slukkes under normal Funktion. | Tjek at: • der er/DDt er strømafbrydelse. • den omni-polede afbrydelsesanordning er/DDt aktiveret. |
DA
6/KUNDESERVICE
Eventuel vedligeholdelse af apparatet skal foretages:
-
enten af Deres forhandler,
-
eller af en kvalificeret fagmand, som er anerkendt til dette mærke.
Nár De ringer op, skal De angive apparatets fulde reference (model, type, seriENUMmer).
Disse oplysninger staredpatypeskiltet,der sidderrpaparatet.
FR 01
NemManual