DHD771X - Dunstabzugshaube DE DIETRICH - Kostenlose Bedienungsanleitung
Finden Sie kostenlos die Bedienungsanleitung des Geräts DHD771X DE DIETRICH als PDF.
Questions des utilisateurs sur DHD771X DE DIETRICH
0 question sur cet appareil. Repondez a celles que vous connaissez ou posez la votre.
Poser une nouvelle question sur cet appareil
Laden Sie die Anleitung für Ihr Dunstabzugshaube kostenlos im PDF-Format! Finden Sie Ihr Handbuch DHD771X - DE DIETRICH und nehmen Sie Ihr elektronisches Gerät wieder in die Hand. Auf dieser Seite sind alle Dokumente veröffentlicht, die für die Verwendung Ihres Geräts notwendig sind. DHD771X von der Marke DE DIETRICH.
BEDIENUNGSANLEITUNG DHD771X DE DIETRICH
FR GUIDED UTILISATION
EN GUIDE TO INSTALLATION
CS NÁVOD NA INSTALLACI A POUŽITÍ
DA INSTALLATIONS- OG BRUGSVEJLEDNING
DE BETRIEBSANLEITUNG
Hotte de cuisine
Cooker hood
Kuchyńska digestor
Emhætte til køkken
Dunstabzugshaube
De Dietrich


FR 01
Chère Cliente, Cher Client,
EN 17
Liebe Kundin, lieber Kunde,
EN 17
Sie haben soeben eine DE DIETRICH Dunstabzugshaube erworben, und wir danken Ohnen dazu.
CS 32
Unsere Forschungsteams haben für Sie diese neue Generation von Geräten entwickelt, die durch Qualität, Ästhetik, ihre Funktionen und technische Fortentwicklung Ausnahmeprodukte sind, die unser Know-how zeigen.
DA 47
Ohre neue DE DIETRICH Dunstabzugshaube fegt sich harmonisch in. Ihre Kuche ein und verbindet perfekte Leistungen beim Dunstabzug mit einfacher Benutzung. Wir wollen Ohnen ein exzellentes Produkt anbieten.
DE 62
In der DE DIETRICH Produktpalette finds Sie auch eine breite Auswahl an einbaufähigen Backöfen, Mikrowellenherden, Kochfeldern, Geschirrspulern und Kühlschränken, die Sie mit ihrer neuen DE DIETRICH Dunstabzugshaube abstimmen können.
Sie können uns auch im Internet unter www.dedietrich-electromenager.com besuchen, wo Sie unsere jüngsten Innovationen sowie nützliche und ergänzende Informationen finden.
DE DIETRICH
Die neuen Wertobjekte
Da wir unsere Produkte ständig verbessern möchten, behalten wir uns das Recht vor, ihre technischen, Funktionellen und ästhetischen Merkmale zu verändern, damit sie mit der technischen Weiterentwicklung Schritt halten.
Wichtig:itte lessen Sie vor der Inbetriebnahme des Gerates diese Einbau- und Gebrauchsanleitung aufmerksam durch, damit Sie sich sehr rasch mit seinem Betrieb vertraut machen können.
www.dedietrich-electromenager.com
DE ZUSAMMENFASSUNG
1/FÜR DEN BENUTZER
- Sicherheitshinweise 64
Umweltschutz 65 - Beschreibung des Geräts 66
2 / INSTALLATION DES GERÄTS
- Gebrauch im Abluftbetrieb 67
- Gebrauch im Umluftbetrieb 67
-
Stromanschluss 68
Montage der Haube 69
Montage der Teleskopoprohre -
Abluftversion 70
Umluftversion 71
Montage der Fettsammelwannen 71
3 / GEBRAUCH DES GERÄTS
- Beschreibung der Bedienungen 72
4 / PFLEGE UND REINIGUNG DES GERÄTS
- Reinigung der Fettfilter 73
Austausch des Kohlefilters 73 - Reinigung und Wartung der Außenfläche 74
Austausch der Lampe 74 - Reinigung der Fettsammelwannen 74
Pflege des Geräts 75
5/BETRIEBSSTÖRUNGEN 76
6/ALLGEMEINE GARANTIEBESTIMMUNGEN 77
Wichtig
These Betriebsanleitung mit dem Gerät aufbewahren. Sollte das Gerät an eine andere Person verkauf oder veräussert werden, sichergehen, dass sie auch die Betriebsanleitung gekommen. Vor der Installation und Benutzung des Geräts sollenen folgende Ratschläge zur Kenntnis genommen werden. Sie sind für die Sicherheit des Benutzers und anderer Personen verfasst worden.
SICHERHEITSHINWEISE
- Dieses Gerät ist für die Benutzung durch Privatpersonen in ihrem Haushalt konzipiert Worden.
- Dieses Gerät muss von Erwachsenen benutzt werden.
Bitte darauf auf achten, dass Kinder es nicht berühren und als Spielzeug benutzen. Sich vergewissern, dass sie die Bedienelemente des Geräts nicht berühren.
-
Das Gerät beim Empfang(sofort auspacken oder auspackenlassen。Sein allgemeines Aussehen prüfen.Eventuelle Vorbehalte schriftlich auf dem Lieferschein vermerken,und ein Exemplar davon gehalten.
-
Das Gerät ist für den normalen Haushaltsgebrauch bestimmt. Es nicht für kaufmannische oder industrielle oder andere Zwecke als diejenigen benutzen, für die es konzipiert worden ist.
- Die Merkmale这点es Gerats nicht verändern oder versuchen, sie zu verändern. Dies would eine ernste Gefahr für alle darstellen.
- Reparaturen dürfen nur von einem zugelassenen Fachmann durchgeführt werden.
- Die Dunstabzugshaube vor dem Reinigen oder der Pflege immer vom Stromnetz trennen.
- Bei gleichzeitigem Betrieb der Dunstabzugshaube und anderer nicht mit Strom betriebener Geräte den Raum angemessen belüften. Dies, damit die Dunstabzugshaube keine Verbrennungsgase ansaugt.
- Es ist verboten, unter der Dunstab-zugshaube Gerichte zu flambieren oder die Gaskochstellen einzuschalten, ohne dass ein Kochgeschirr darauf steht (die angesaugten Flammen konnten das Gerät beschädigen).
- Frittiervorgänge unter der Dunstab-zugshaube müssen ständig überwacht werden.
Die auf sehr hohe Temperaturen aufgeheizten Ole und Fette können Feuer fangen.
- Die Häufigkeit der Reinigung und des Ersatzes der Filter einhalten. Die Ansammlung von Fettablagerungen kann einen Brand auslösen.
- Der Betrieb über einer BrennstoffFeuerstelle (Holz, Kohle, usw.) ist nicht zulässig.
- Niemals Dampf- oder Hochdruckgeräte zur Reinigung des Geräts benutzen (Forderungen bezüglich der elektrischen Sicherheit).
- Bei der Sorge um die ständige Verbesserung unserer Produkte gehalten wir uns das Recht vor, ihre technischen, Funktionellen oder ästhetischen Merkmale im Zusammenhang mit der technischen Fortentwicklung zuändern.
- Für das späterile leichte Auffinden der Produktreferenzen des Geräts raten wir, sie auf der Seite „Kundendienst und Kundenbeziehungen" zu notieren.
(Auf dieser Seite wird auch erklär, wo sie sich auf dem Gerät befinden.)
Achtung In einer K
In einer Kuche, die mit einem an einen Kamin angeschlossenen Gerät (z.B.: Ofen) beheizt wird, muss die Dunstabzugshaube als Umlufthaube installiert werden. Die Dunstabzugshaubearficht nicht ohne die Fettfilterbenutzt werden.
Wenn die Dunstabzugshaube in der Kuche gleichzeitig mit Geräten benutzt wird, die mit Gas oder einem anderen Brennstoff betrieben werden, muss eine angemessene Belüftung des Raums vorgesehen werden.
- UMWELTSCHUTZ
- Die Verpackungsmaterialien these Geräts sind recyclebar. Entsorgen Sie sie in den von den Gemeinden eigens zur Verfugung gestellten Containern und trage Sie auf diese Weise zu ihrem Recycling und zum Umweltschutz bei.
-
Ihr Gerät enthalt zahlreiche recyclingfähige Materialien. Es wurde deshalb mit diesen Zeichen versehen, um Sie darauf hinzuweisen, dass diese Geräte nach ihrem Gebrauch nicht mit dem übrigen Hausmüll entsorgt werden)dürfen. Das von Ihrem Hersteller in die Wege geleitete Recycling kann somit in Übereinstimmung mit der europäischen Richtlinie 2002/ 96/CE über Elektro- und Elektronik-Altgeräte unter optimalen Bedingungen erfolgen. ihre Gemeindebehörden oder Ihr Handler informieren Sie bisher über die zu Ihrem Wohnort am nachsten liegenden Sammelstellen.
-
Wir danken Ihnen für ihren Beitrag zum Umweltschutz.
Achtung
Die Installation muss durch Installateure und fachkundiges Personal erfolgen.
Achtung
Be der erstmaligen Verwendung des Fettfilters die Schutzfolie abziehen.
BESCHREIBUNG DES GERÄTS


Schlitze

Teleskoprohre

Bedienelemente
- Das Gerät muss bei der Installation bzw. bei Reparaturmaßnahmen vom Netz genommen werden.
- Sicherstellen, dass die Netzspannung dem Spannungswert entspricht, der auf dem Schildchen im Innern der Haube angegeben ist.
- Falls die Gegebenheiten der Stromleitungen in Ihrer Wohnung für den Anschluss Ihres Geräts Änderungsmaßnahmen erforderlich machen sollenn, wenden Sie sichitte an einen qualifizierten Elektriker.
- Falls die Abzugshaube in Abluftversion verwendet wird, damit das Gerät nicht an Abzugsleitungen für Verbrennungsgase (Heizung, Kamin usw.) oder an mechanische Belüftungssysteme angeschlossen werden.
- Auf keinen Fall darauf die Abluftleitung auf dem Dach enden.
- Die Abzugshaube in einem Abstand von mindestens 35 cm über der Kochfläche montieren.
Dieses Gerät kann entweder in Abluft- oder in Umluftversion installiert werden.
Das Gerät wird in Umluftversion mit installiertem Kohlefilter (Bezug Nr. AH4063U1 für Modell DHD771; Bezug Nr. AK789AE1 für Modell DHD772).
- VERWENDUNG IN ABLUFTVERSION
Abzug nach draußen
(Abb. 1)
Ohre Abzugshaube wird über eine Abluftleitung (Mindest 125 mm, emailiert, aus Aluminium, flexibel oder aus nicht-entflammbarem Material) mit der Abzugsoffnung verbunden.
Ohne Dunstabzugshaube wird in Umluftversion geliefert; Der/die Kohlefilter muss/müssen ausgebaut werden.

- VERWENDUNG IN UMLUFTVERSION
Ohne Abzug nach draußen
(Abb. 2)
Unsere Geräte können alle in Umluftversion betrieben werden.
Die vom Gerät angesaugte Luft und Kuchendünste werden durch den/die Kohlefilter gereinigt und anschließend wieder in den Raum zurückgeführt.

ELEKTKROANSCHLUSS
Bei Installation und Wartung muss das Gerät vom Netz genommen und die Sicherungen müssen unterbrochen oder ausgesteckt werden.
Der Elektroanschluss ist vor dem endgültigen Befestigen des Geräts am Schrankelement vorzunehmen.
Dabei überprüfen, dass:
- die vorhandene elektrische Leistung ausreicht,
- die Stromkabel in einwandfreiem Zustand sind,
- der Kabeldurchmesser den Vorschriften entspricht.
Achtung Dieses G
Der Hersteller haftet nicht für Unfälle, die auf fehlende Erdung zurückzuführn sind.
Falls Ihr Gerät nicht mit flexiblem, unabtrennbarem Kabel und Stecker oder einer anderen Vorrichtung ausgestattet ist, mit der eine allpolige Trennung vom Netz mit einer Kontaktöffnungseite von mindestens 3 mm gewährleistet ist, dannmissione diese Trennvorrichtungen im festen Installationsteil vorgesehen werden.
Das Gerät wird mit einem Netzkabel des Typs H 05 VVF mit 3 Leitern mit 0,75 mm (Neutral, Phase und Erde) gefeliefert. Es ist für den Anschluss an Einphasennetz mit 230-240 V über genormte Steckdose nach IEC 60083 vorgesehen, die nach der Installation entsprechend den Anlagenvorschriften zugänglich bleiben muss.
Falls das Netzkabel schadhaft sein sollte, wenden Sie sichitte an den Nachverkaufsservice, um Risiken auszuschreiben.
Achtung
Falls die Gegebenheiten der
Stromleitungen in Ihrer Wohnung fur den Anschluss Ihres Gerats
Änderungsmaßnahmen erforderlich machen sollenn, wenden Sie sichitte an einen qualifizierten Elektriker.
Achtung Falls di
Falls die Abzugshaube Störungen aufweist, das Gerät vom Netz trennen oder die Sicherung der Anschlussleitung des Geräts herausnehmen.
MONTAGE DER ABZUGSHAUBE

Achtung
Die Installation muss den geltenden Normen für die Raumbelüfung entsprechen. In Frankreich sind diese Normen im DTU 61.1 des CSTB enthalten. Das bedeutet konkret, dass Abluft nicht in eine Leitung geführt werdenarf,über die Rauch von mit Gas oder anderen Brennstoffen betriebenen Geräten abgeleitet wird.Der Gebrauch anderweitig verwendeter Leitungen darfurn nur mit der Erlaubnis eines Fachtechnikers erfolgen.
Der Mindestabstand zwischen der Topf-Trägerfläche auf der Kochmulde und dem unteren Teil der Abzughaube muss 48.4 cm betragen. Gebendie Installationsanleitungen der Kochmulde einen höheren Abstand an, so ist dieser einzuhalten.
Befestigung an der Wand
Zeichnen Sie eine Linie auf die Wand, vertikal zu Ihrem Kochfeld. Markieren Sie die ersten 2 anzubringenden LÖcher auf der Wand, damit sind die in Abb. 3 angegebenen Maße zu beachten. Die 2 Bohrungen ausführren und die (mitgelieferten) Dübel einstecken.
Ist darauf zu achten, dass der Abstand zwischen dem unteren Rand der Haube und der Kochfläche 484 mm betragen muss.
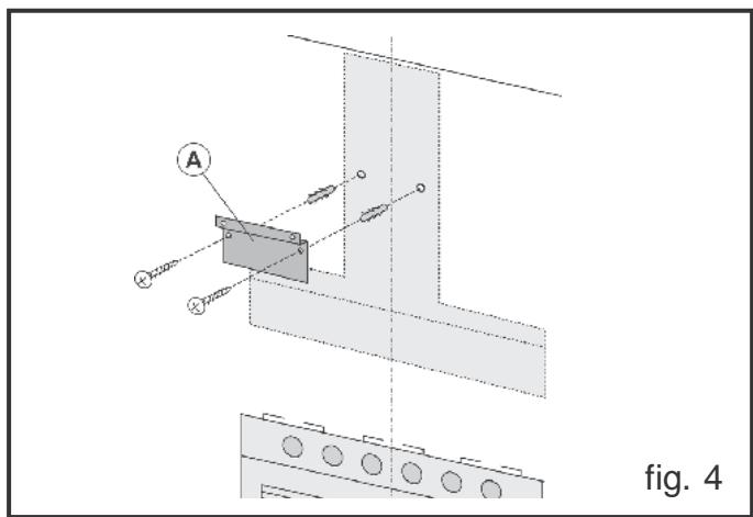
Den Metallbügel (A) an der Wand befestigen, davon die gerade angebrachten 2 Löscher benutzen - Abb. 4 - (die Schrauben zur Befestigung der Bügel sind mitgeliefert). Benutzen Sie die beiden auf dem Bügel ausgesparten Dreiecke, um diesen exakt entlang der Längsache der Haube zu positionieren.
Dann die Haube an dem Bügel einhaken (Abb. 5). Die horizontale Position regulieren, indem die Haube zur Ausrichtung mit den Hängeschränken nach rechts oder links verschoben wird.
Wurde die richtige Position gefunden, die übrigen 4 Bohrlocher (C) an der Wand anzeichnen, die Haube herunternehmen und die vorgezeichneten Locher bohren (Durchmesser 8mm ). Die 4 mitgelieferten Dubel und Schrauben für die endgültige Befestigung verwenden.
Die Platte der Elektroanlage mit 2 Schrauben montieren (Abb. 6).





Den Flansch am Luftaustritt des Gerätes montieren, indem ein leichter Druck ausgeübt wird (Abb.7).
MONTAGE DERTELESKOPROHRE
Abluftversion
-
Rohrhalterung (D) mit den 2 mitgelieferten Schrauben (E) zusammenbauen (Abb.8).; Anschließend mit Hilfe der mitgelieferten Dübel und Schrauben (F) den Bügel so an der Decke befestigen, dass er mit der Haube ausgerichtet ist (Abb.8).
-
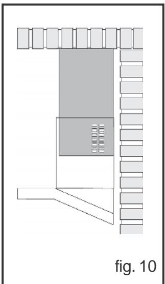
Das Luftabführungsrohr an die Luftastrittsöffnung der Haube anschließen; dazu einen Schlauch verwenden undihn an der Luftastrittsöffnung der Haube mit einer Metallschelle befestigen - Abb.9 - (Schlauch und Schelle werden nicht mitgeliefert). Bei der Abluftversion ist das obere Rohr umzudrehen, damit sich die Luftastrittsgitter unter befinden (Abb.10).
-
Über das Versorgungskabel die Stromversorgung der Haube herstellen.
-
Die Teleskoprohre auf die Haube legen und sie dann eingefugen; das obere Rohr bis zur Decke führen und mit den 2 Schrauben (H) befestigen - (Abb.11).

Achtung
Dieses Gerät wird in Umluftversion auf. Daher muss zunachst der defilter ausgebaut werden.

Tipp
Zur Optimierung des Gerätebetriebs empfehlen wir den Anschluss an ein Leitungsrohr mit Durchmesser 150 mm (nicht mitgeliefert). Zahl der Rohrbögen und Länge der Leitung so welt wie möglich begrenzen. Wenn die Abzugshaube in Abluftversion betreiben wird, muss gleichzeitig für eine ausreichende Frischluftzufuhr gesorgt werden, um zu vermeiden, dass der Luftdruck im Raum zu stark absinkt.




Umluftversion
- Rohrhalterung (D) mit den 2 mitgelieferten Schrauben (E) zusammenbauen (Abb.8).
- Anschließlich mit Hilfe der mitgelieferten Dubel und Schrauben (F) den Bügel so an der Decke befestigen, dass er mit der Haube ausgerichtet ist (Abb.8).
- Das Reduzierstück am Luftaustrittspunkt auf die Haube montieren (Abb.12).
- Befestigen Sie einen Schlauch (Durchmesser 125mm ) an der Umluftweiche und sichern Sieihn mit Hilfe einer Metallschelle (Rohr und Schelle werden nicht mitgeliefert); befestigen Sie die Umluftweiche am oberen Rohr (Abb.13) mit 4 Schrauben.
- Den Schlauch an das auf der Luftastrittsöffnung befindliche Reduzierstück anschließen (Abb.14).
- Über das Versorgungskabel die Stromversorgung der Haube herstellen.
- Die Teleskoprohre auf die Haube legen und sie dann einfugen; das obere Rohr bis zur Decke führen und mit 2 Schrauben H befestigen (Abb.11).



- MONTAGE DER FETTSAMMELWANNEN
Die 3 Fettsammelwannen im Innern der Haube direkt unterhalb der Fettfilter aufstellen; Wannen seitlich, d.h. ins Innere der Haube schiben (Abb.15), bis sie an der jeweiligen Wand anzuschlagen.

BESCHREIBUNG DER BEDIENELEMENTE
A) LICHTH einschalten.
B) LICH tausschalten.
C) Vermindert die Motorgeschwindigkeit bis zur Mindestgeschwindigkeit. Wenn sie für circa 2" gedrückt wird, wird der Motor gestoppt, die Geschwindigkeit bleibt jedoch gespeichert.
D) Motor betätigten (durch Aufrufen der zuletzt eingestillten Geschwindigkeit) und Geschwindigkeit bis zum Erreichen der Höchstkufe hochfahren.
L Display:
-
zeigt die aktuelle Geschwindigkeit an.
-
gibt Hinweis auf "Filteralarm" (bei ausgeschalteten Motor) an, indem das mittlere Segment angezeigt wird.
-
zeigt die Aktivierung des Timers durch Blinken der jeweils eingestillten Zahl an.
E) Aktivert den TIMER (bei laufendem Motor), d.h. die Haube wird nach 5' automatisch ausgeschaltet. Darüber hinaus wird der Stundenzahler auf Null zurückgestellt, wenn der Filteralarm aktiviert ist (bei ausgeschaltetem Motor).
FILTERALARM: wird bei ausgeschalteten Motor angezeigt: Nach einer Betriebszeit von 30h leuchtet auf dem Display das mittlere Segment auf; um anzuzeigen, dass die Fett-Filter gereinigt werden * müssen. Nach einer Betriebszeit von 120h blinkt auf dem Display das mittlere Segment; um anzuzeigen, dass die Fett-Filter gereinigt und die Kohlenfilter ausgetaucht werden * müssen.
Nach der Reinigung der Fettfilter (und/oder dem Austausch der Kohlenfilter) ist zur Rückstellung des Stundenzahlers die Taste E (RESET) während der Anzeige des Filteralarms zu drucken.

Achtung
Das Gerät vor der Inangriffnahme von Wartungs- und Reinigungsmaßnahmen vom Netz trennen. Die regelmäßige Wartung Ihres Geräts stellt eine Garantie für einwandfrei Betrieb, gute Leistung und lange Lebensdauer dar.
Achtung
Mangelnde Einhaltung der Anweisungen für die Reinigung von Gerät und Filtern kann Brände verursachen. Die sorgfällige Beachtung der Wartungsvorschriften ist daher von größter Bedeutung.
REINIGUNG DER FETTFILTER
Die Fettfilter erfordern besondere Pflege und müssen regelmäßig gereinigt werden.
Häufigkeit der Filterreinigung:
Die Fettfilter,müssen ca.alle 30 Betriebsstunden gereinigt werden (wenn bei ausgeschaltetem Motor das mittlere Segment leuchtet).Nachdem die gereinigten Filter wieder eingesetzt worden sind, die Taste E drucken (wahrend das mittlere Segment leuchtet),um den Stundenzahler zugruckzusetzen.
Filter mit normalem Haushaltsreiniger reinigen, mit klarem Wasser gründlich spulen und anschließlich trocknen. Die Reinigung kann auch im Geschirrspüler ausgeführrt werden, wobei darauf zu achten ist, dass der Filter nicht mit schmutzigem Tellern oder Silberbesteck in Berührung kommt.


Ausbau der Fettfilter (Abb. 17/18)
Modell DHD771:
hierzu Griff vom Filter weg drucken und Filter gleichzeitig nach außen drehen (Abb.17).
Model DHD772:
Die Abdeckung auf der Vorderseite der Haube ergreifen und drehen (Abb. 18); Fettfilter entfern; drücken Sie hierzu die Klammer in Richtung Geräterückseite und drehen Sie die Filter nach außen.
AUSTAUSCH DES KOHLEFILTERS
Bei Gebrauch des Geräts in der Umluftversion muss/müssen der/die Kohlefilter je nach Gebrauch regelmäß ausgetauscht werden.
Häufigkeit des Filteraustauschs:/
Der/die Fettfilter muss/müssen ca. alle 120 Betriebsstunden gereinigt werden (wenn bei ausgeschaltetem Motor das mittlere Segment konstant leuchtet oder blinkt). Nach Einbau des gereinigten Fettfilters ist die Taste E zu drucken (während das mittlere Segment leuchtet), um den Stundenzahler wieder neu zu starten.
Austausch des Kohlefilters (abb.19-20)
Modell DHD771: hierzu Griff vom Filter weg drücken und Filter gleichzeitig nach außen drehen (Abb.17).
Den Kohlefilter Herausnehmen, indem die Sperre nachinnen gedrückt und der Filter gedrecht wird, bis
die beiden Laschen austreten (Abb. 19).
Modell DHD772: Die Abdeckung auf der Vorderseite der Haube ergreifen und drehen (Abb. 18); Fettfilter entfern; drücken Sie hierzu die Klammer in Richtung Geräterückseite und drehen Sie die Filter nach außen.
Filterhalterklemmen aus Metall (M) entfernen, um den Kohlefilter Herausnahmen zu konnen (Abb. 20).
Kohlefilter Bezug Nr.
AH4063U1 (fur Modell DHD771)
AK789AE1 (für Modell DHD772)
- REINIGUNG UND WARTUNG DER AUSSENFLÄCHE
Zur Reinigung der Außenfläche der Haube nur Wasser und Neutralreiniger, keinesfalls jedoch Scheuermittel oder Scheuerschwämme verwenden.
Modell DHD772: Auf dem Edelstahl-Paneel zur Abdeckung des Fettfilters kann sich Kondenswasser bilden. Regelmäßig reinigen.
AUSTAUSCH DER LAMPE

Achtung
Vor eventuellen Eingriffen ist die Haube durch Herausziehen des Netzsteckers oder Betätigten des Schalters auszuschalten.
Zum Ersetzen der Lampen die Klappe am Kasten der Halogenlampen öffnen, indem auf die eine Seite (mit der Aufschrift "PUSH") gedrückt und dann losgelassen wird (Abb. 22). Durch Lampen desselben Typs ersetzen.
ACHTUNG: Neue Lampe keinesfalls mit bloßen Händen anfassen.
- REINIGUNG DER
FETTSAMMELWANNEN
Die Fettsammelwannen müssen regelmäßig gewartet, d.h. je nach Gebrauch etwa alle 2 Monate entleert und gereinigt werden.
Wannen zum Reinigen seitlich, d.h. ins Innere der Haube schieben Herausnemen (Abb. 23).

fig. 19

fig. 20


fig. 21

fig. 22
fig. 23

Achtung
Vor jedem Eingriff muss die Dunstabzugshaube vom Stromnetz getrennt werden, entweder durch Ziehen des Netzsteckers oder durch Betätigten des Überlastschalters.
PFLEGE DES GERÄTS
| PFLEGGE... | WIE VORGEHEN | ZU VERWENDENDE PRODUKTE/ZUBEHÖR |
| Gehäuse und Zubehör | Niemals Metallkratzer, Scheuermittel oder zu harte Bürste benutzen. | Für die Reinigung von Gehäuse und Leuchtblende ausschließlich handelsübliche in Wasser gelöste Reinigungsmittel, und dann mit klarem Wasser abspüssen und mit einem weichen Lappen trocknen. |
| Fettfilter | Dieses Filter bindet Fettdämpfe und Staubpartikel. Es ist ein wichtiges Element zur Sicher-stellung eines wichtigen Teils der Wirksamkeit der Dunstabzugshaube. Bei hartnäckigen Flecken eine nicht scheuernde Creme anwenden und dann mit klarem Wasser abspüssen. | Mit einem handelsüblichen Haushaltsprodukt, dann reichlich abspüssen und trocknen. Diese Reinigung kann im Geschirr-spüler in vertikaler Position erfolgen (Nicht mit schmutzigem Geschirr oder mit Silberbesteck in Berührung bringen). |
| Kohlefilter | Dieser Filter nimmt Gerüche auf und muss - je nach Gebrauch - mindestens jedoch alle sechs Monate ausgetauscht werden. Diese Filter im Fachgeschäft kaufen (dabei den Code angegeben, der auf dem Schldchen im Innern der Haube stehen) und das Datum des Austauschs notieren. |
Wir empfehlen Ihnen für die Erhaltung Ihres Gerätes die Clearit Pflegeprodukte.

Die Erfahrung der Profis
im Dienste der Privatpersonen
Clearit betet Ihnen professionelle Produkte und geeignete Lösungen für die tägliche Pflege ihrer Haushaltsgeräte und Küche an.
Sie finden sie bei ihrem gewohnten Handler zusammen mit einem ganzen Produktfacher mit Zubehör und Verbrauchsstoffen.
| ANZEICHEN | BEHEBUNG |
| Die Abzugshaube Funktioniert nicht ... | Dabei überprüfen, dass: • Es liegt kein Stromausfall vor. • Es wurde eine Geschwindigkeit gewählt. |
| Die Leistung der Abzugshaube ist mangelhalt ... | Dabei überprüfen, dass: • Die gewährte Motorgeschwindigkeit reicht für die anfallende Menge an Rauch und Dämpfen aus. • Die Küche ist ausreichend beluftet, um eine Luftansaugöffnung zuzulassen. • Der Kohlefilter ist verbraucht (Haube in Umluftversion). |
| Die Haube ist im Laufe des normalen Betriebs von selbst ausgegangen. | Dabei überprüfen, dass: • Es liegt kein Stromausfall vor. • Der allpolige Schalter ist nicht gesprungen. |
-
Wir beheben unentgeltlich nach Maßgabe folgender Bedingungen Mängel am Gerät, die nachweislich auf einem Material- oder Herstellungsehler berufen, sofern diese Mängel uns unverzüglich nach Feststellung und innerhalb 24 Monate (bei gewerblicher Nutzung oder gleichzusetzender Beanspruchung innerhalb von 12 Monaten) nach Lieferung an den Erstendabnehmer gemeldet wurden. Bei Mängel, die sich innerhalb von 6 Monaten ab Lieferung zeigen, wird ein Material- bzw. Herstellnehmer vermutet.
-
Teile, die einer betriebsbedingten Abnutzung unterliegen, sind ebenso von der Garantie ausgeschlossen wie leicht zerbrechliche Teile. Geringfugige Sollabweichungen in der Beschaffenheit des Gerätes, die für die Wert- und Gebrauchstauglichkeit unerheblich sind oder Schäden aus mischen, elektrochemischen Einwirkungen von Wasser, anormale Umwelt-und sich fremde Betriebsbedingungen oder sonstige Einwirkungen/Berührungen von ungeeigneten Stoffen losen keine Garantiepflicht aus. Nicht unter die Garantiepflicht fallen Schäden und Mängel, die durch eine nicht fachgerechte Installation und Montage, Fehlgebrauch, mangelnde Pflege oder Nichtbeachtung von Bedienungs- und Montagehinweisen zurückzuführen sind. Das Fehlen, die Veränderung oder Beschädigung des Typenschildes, Reparaturversuche oder Eingriffe seitens eines nicht autorisierten Kundendienstes oder nicht autorisierten Personen, sowie der Einbau von nicht Originalen Entsatz-, Zubehör- und Ergänzungsteilen, durch die, ein Defekt verursacht wurde, führen ebenfls zu einem Verlust der Garantie.
-
Mangelhafte Teile werden nach unserer Wahl unentgeltlich ersetzt oder Instand gesetzt.
Ersetzte Teile gehen in unser Eigentum über. Instandsetzungen vor Ort konnen nur für stationär betriebene Geräte verlangt werden. Geräte, die zumutbar transportiert werden konnen und für die Garantieleistungen unter Bezugnahme dieser Garantie beansprucht wird, sind der nachstgelegen den Kundendienstelle zu übergeben oder einzusenden. Der Kaufbeleg mit Kauf oder Lieferdatum ist für die Inanspruchnahme dieser Garantie vorzulegen. - Sofern die Nachbesserung von uns abgeleht wird oder fehlschlägt, wird innerhalb der ober genommen Garantiezeit auf Wunsch des Endabnehmers kostenfrei gleichwertiger Ersatz gefelert. Im Falle einer Ersatzlieferung behalten wir uns die Geltendmachung einer angemessenen Nutzungsrechnung für die bisherige Nutzungszeit vor.
- Garantieleistungen setzen keine neue Garantiefrist in Lauf, noch bewirken sie eine Veränderung der Garantie. Die Garantiefrist für eingebaute Ersatzteile endet mit der Garantiefrist für das komplette Gerät.
- Weitergehende Ansprüche, insbesondere auf Ersatz außerhalb des Gerätes entstandener Schäden sind ausgeschlossen, sofern eine Haftung nicht zwingend gesetzlich angeordnet ist. Die Gewährleistungspflicht des Verkäufers aus dem Kaufvertrag mit dem Endabnehmer bleibt von diesen Garantiebedingungen unberührt.
ANSCHRIFTEN
De Dietrich
Frankfurter Str. 168
D-63263 Neu-Iserburg
Fax.06102-372674
mailto: dedietrich@fagor-hausgeraete.de
Servicepartner in Deutschland Servicetelefon:
0800/3246726
Ersatzteilbestellungen:
01805/324673
Servicepartner in Österreich:
SEISER-SERVICE GmbH,
Am Heumarkt 9
A-1030 Wien,
Servicetel.: 01/7131250
EinfachAnleitung