DHD771X - Hotte DE DIETRICH - Notice d'utilisation et mode d'emploi gratuit
Retrouvez gratuitement la notice de l'appareil DHD771X DE DIETRICH au format PDF.
| Type d'appareil | Hotte aspirante |
| Mode d'extraction | Évacuation ou recyclage |
| Puissance d'aspiration | Non précisé |
| Niveau sonore | Non précisé |
| Nombre de vitesses | 3 |
| Type de commande | Touches sensitives |
| Éclairage | LED |
| Filtre à graisse | Aluminium lavable |
| Filtre à charbon | Optionnel |
| Largeur | 60 cm |
| Hauteur | Non précisé |
| Profondeur | Non précisé |
| Matériau | Acier inoxydable |
| Installation | Murale |
| Consommation électrique | Non précisé |
| Classe énergétique | Non précisé |
FOIRE AUX QUESTIONS - DHD771X DE DIETRICH
Questions des utilisateurs sur DHD771X DE DIETRICH
0 question sur cet appareil. Repondez a celles que vous connaissez ou posez la votre.
Poser une nouvelle question sur cet appareil
Téléchargez la notice de votre Hotte au format PDF gratuitement ! Retrouvez votre notice DHD771X - DE DIETRICH et reprennez votre appareil électronique en main. Sur cette page sont publiés tous les documents nécessaires à l'utilisation de votre appareil DHD771X de la marque DE DIETRICH.
MODE D'EMPLOI DHD771X DE DIETRICH
Vous venez d'acquerir une hotte DE DIETRICH et nous vous en remercions.
CS 32
Nos équipes de recherche ont conçu pour vous cette nouvelle génération d'appareils, qui par leur qualité, leur esthétique, leurs fonctions et leurs évolutions technologiques en font des produits d'exception, révélateurs de notre savoir-faire.
DA 47
Votre nouvelle hotte DE DIETRICH s'intègrera harmonieusement dans toute cuisine et alliera parfaitement les performances d'aspiration, et la capacité d'utilisation. Nous avons youlu vous offrir un produit d'excellence.
Vous trouvez également dans la gamme des produits DE DIETRICH, un vaste choix de jours, de jours à micro-ondes, de tables de cuisson, de lave-vaisse, et de réfrigérateurs intégrables, que vous pourrez coordonnner à votre nouvelle hotte DE DIETRICH.
Bien entendu, dans un souci permanent de satisfaire le peux possible vos exigences vis à vis de nos produits, notre service consommateurs est à votre disposition et à votre écoute pour répondre à toutes vos questions ou suggestions (coordonnées à la fin de ce livre).
Et connectez-vous aussi sur notre site
www.dedietrich-electromenager.com où vous trouvez nos dernières innovations ainsi que des informations utiles et complémentaires.
DE DIETRICH
Les nouveaux objets de valeur
Dans le souci d'une amélioration constante de nos produits, nous nous réservons le droit d'apporter à leurs caractéristiques techniques, fonctionnelles ou esthétiques toutes modifications liées à leur évolution.
Important : Avant de mettre votre appareil en marche, veuillez tire attentivement ce guide d'installation et d'utilisation afin de vous familiariser plus rapidement avec son fonctionnement.

1 / A L'ATTENTION DE L'UTILISATEUR
- Consignes de sécurité 03
- Respect de l'environnement 04
Description de votre apparéil 05
2 / INSTALLATION DE VOTRE APPAREIL
- Utilisation en version évacuation 06
- Utilisation en version recyclage 06
Raccordementélectrique 07
Montage de la hotte 08
Montage de la cheminée
Evacuation extérieure 09
Recyclage 10
Montage des bacs de récapuration de la graisse 10
3 / UTILISATION DE VOTRE APPAREIL
Description des commandes 11
4 / ENTRETIEN ET NETTOYAGE DE VOTRE APPAREIL
Nettoyage des filtres à graisse 12
- Changement du filtré charbon 12
- Nettoyage et entretien de la carrosserie 13
- Changement de lampe 13
- Nettoyage des bacs de récapération de la graisse 13
- Entretenir votre apparéil 14
5/ANOMALIES DE FONCTIONNEMENT 15
6 / SERVICE APRES-VENTE
• Interventions 16
• Relations consommateurs 16
Important
Conservez cette notice d'utilisation avec votre apparéil. Si l' apparéil avait été vendu ou cédé à une autre personne, assurez-vous que la notice d'utilisation l'accompagne. Merci de prendre connaissance de ces conseils avant d'installer et d'utiliser votre apparéil. Ils ont été rédigés pour toute sécurité et celle d'autrui.
- CONSIGNES DE SECURITÉ
-
Cet apparéil a été créé pour être utilisé par des particuliers dans leur lieu d'habitation.
-
Cet apparéil doit être utilisé par des femmes. Veillez à ce que les enfants n'y touchent pas et ne l'utilisent pas comme un jouet. Assurez-vous qu'ils ne manipulent pas les commandes de l' apparéil.
-
A la réception de l'appareil, déballez-le ou faites le déballer immédiatement. Vérifiez son aspect général. Faites les eventuelles réserves par écrit sur le bon de livraison dont vous gardez un exemplaire.
-
Notre apparéil est destiné à un usage domestique normal. Ne l'utilise pas à des fins commerciales ou industrielles ou pour d'autres buts que celui pour lequel il a été créé.
-
Ne modifiez pas ou n'essayer pas de modifier les caractéristiques de cet apparéil. Cela représentait un danger pour vous.
-
Les réparations doivent être exclusivement effectuees par un spécialiste agreé.
-
Débranchez toujours la hotte avant de procéder à son nettoyage ou à son entretien.
-
Aérez convenablement la pièce en cas de fonctionnement simultané de la hotte et d'autres apparèils alimentés par une source d'énergie différente de l'énergie électrique. Ceci afin que la hotte n'aspire pas les gaz de combustion.
-
Il est interdit de flamber des mets ou de faire fonctionner des foyers gaz sans recipients de cuisson, au dessous de la hotte (les flammes aspirées risqueraient de détériorer l'appareil).
-
Les fritures effectuees sous l'appareil doivent faire l'objet d'une surveillance constante.
Les huiles et graisses portées à très haute température peuvent prendre feu.
-
Respectez la fréquence de nettoyage et de remplacement des filtres. L'accumulation de dépôts deGRAISSE risque d'occasionner un incendie.
-
Le fonctionnement au dessus d'un foyer à combustible (bois, charbon...) n'est pas autorisé.
- N'utilisez jamais d'appareils à vapeur ou à haute pression pour nettoyer votre apparéil (exigences relatives à la sécurité électrique).
- Dans le souci d'une amélioration constante de nos produits, nous nous réservons le droit d'apporter à leurs caractéristiques techniques, fonctionnelles ou esthétiques toutes modifications de leurs caractéristiques liées à l'évolution technique.
- Afin de retrouver aisément à l'avoir les références de votre apparéil, nous vous conseillons de les notes en page "Service Àpre-S-Vente et Relations Consommateurs". (Cette page vous explique également où les trouver sur votre apparéil).
Attention
Dans le cas d'une cuisine chauffée avec un apparéil raccordé à une cheminée (ex : poèle), il faut installer la hotte en version recyclage. Ne pas utiliser la hotte sans les filtrres àGRAisse.
Une ventilation convenable de la pierce doit être prévue lorsqu'une hotte de cuisine est utilisée simultanément avec des apparciels utilisants du gaz ou un autre combustible.
- RESPECT DE L'ENVIRONNEMENT
- Les matériaux d'emballage de cet apparéil sont recyclables. Participez à leur recyclage et contribuez ainsi à la protection de l'environnement en les déposant dans les conteneurs municipaux prévus à cet effet.
-
Notre apparéil contient également de nombreux matérielles recyclables. Il est donc marqué de ce logo afin de vous indiquer que les apparêls usages ne doivent pas être mélangés avec d'autres déchets. Le recyclage des apparêls qu'organise votre fabricant sera ainsi réalisé dans les更好地 conditions, conformément à la directive européen 2002/96/ CE sur les déchets d'équipements électriques et électroniques. Adressez vous à votre mairie ou à votre revendeur pour connaître les points de collecte des apparêls usages les plus proches de votre domicile.
-
Nous vous remercions pour votre collaboration à la protection de l'environnement.
Attention
L'installation est réservée aux installateurs et techniciens qualifiés.
Attention
Avant la première utilisation du filtré àGRAisse, retirez le film de protection.
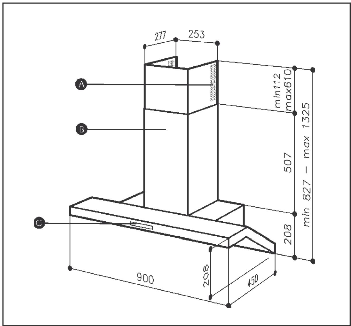
- DESCRIPTION DE VOTRE APPAREIL


Fentes

Cheminée

Commandes
- L'appareil doit être débranché pendant l'installation ou dans l'éventualité d'une intervention.
- Vérifiez que la tension du réseau correspond à la tension mentionnée sur la plaque signalétique située à l'intérieur de la hotte.
- Si l'installation électrique de votre habitation nécessite une modification pour le branchement de votre apparéil, faites appel à un électricien qualifié.
- Si la hotte est utilisée en version évacuation, ne raccordez pas l'appareil à un conduit d'évacuation de fumées de combustion (chaudière, cheminée, etc...) ou à une VMC (ventilation mécanique contrôle).
- Le conduit d'évacuation, quel qu'il soit ne doit pas déboucher dans les combles.
- Installez la hotte à une distance de sécurité d'au moins 35 cm d'un plan de cuisson.
L'appareil peut être utilisé soit en version à évacuation extérieure soit en version à recyclage.
L'appareil est livré pour fonctionner en recyclage, le filtré à charbon actif est monté d'origine (Réf.AH4063U1 pour le modèle DHD771; Réf. AK789AE1 pour le modèle DHD772).
- UTILISATION EN VERSION EVACUATION
Vous possédez une sortie vers l'extérieur (fig. 1)
Votre hotte peut etre raccordee sur celle-ci par l'intémedaire d'une gaine d'évacuation (minimum 125mm, émailée, en alu, flexible ou en matière inflammable).
Votre hotte étant livrée en version recyclage, vous nevez préalablementPTRirer les filtres à charbon actifs.
- UTILISATION EN VERSION RECYCLAGE
Vous ne possédez pas de sortie vers l'extérieur (fig. 2)
Tous nos apparèils ont la possibilité de fonctionner en mode recyclage.
L'air et les vapeurs convoyés par l'appareil sont épures par les filtrres à charbon et remis en circulation.


RACCORDEMENT ELECTRIQUE
Lors de l'installation et des opérations d'entretien, l'appareil doit être débranché du réseau électrique, les fusibles doivent être coupés ou retires.
Le raccordement électrique est à réaliser avant la mise en place de l'appareil dans le meuble.
Vérifiez que:
- la puissance de l'installation est suffisante,
- les lignes d'alimentation sont en bon état
- le diamètre des fils est conforme aux régles d'installation.

Attention
Cet appeareil doit etre relié à la terre.
Notre responsabilité ne saurait être engagée en cas d'accident consécutif à une mise à la terre inexistante ou incorrecte.
Si vous appeareil, n'a pas de cable flexible qui ne peut pas etre séparé ni de prise, ou bien d'autre dispositif qui garantisse le débranchement de tous les pôles du réseau, avec une distance d'ouverture entre les contacts d'au moins 3 mm, ces dispositifs de séparation du réseau doivent alors être prévus dans l'st installation fixe.
Cet apparéil est livré avec un cable d'alimentation H 05 VVF à 3 conducteurs de 0,75 mm² (neutre, phase et terre). Il doit être branché sur réseau 230-240 V monophasé par l'intermédiaire d'une prise de courant normalisée CE1 60083 qui doit rester accessible après installation, conformément aux règles d'installation.
Si le cable d'alimentation est endommagé, faites appel au service après-vente afin d'éviter un danger.

Attention
Si l'installation électrique de votre habitation nécessite une modification pour le branchement de votre apparéil, faites appel à un électricei qualifié.

Attention
Si la hotte presente une quelconque anomalie, debranchez l'appareil ou enlevez le fusible correspondant à la ligne de branchement de l'appareil.
MONTAGE DE LA HOTTE
Attention
L'installation doit être conforme aux règlements en vigueur pour la ventilation des locaux. En France, ces règlements sont indiqués dans le DTU 61.1 du CSTB. En particulier, l'air evacué ne doit pas être envoyé dans un conduit utilisé pour evacuer les fumées d'appareils utilisant du gaz ou autre combustible. L'utilisation de conduits désaffectés ne peut se faire qu'après accord d'un spécialiste compétent.
La distance minimum entre la surface de support des casseroles sur le plan de cuisson et la partie inférieure de la hotte doit être de 484 mm. Si les consignes, pour l'installation du plan de cuisson, indiquent une plus grande distance, il faut en tener compte.
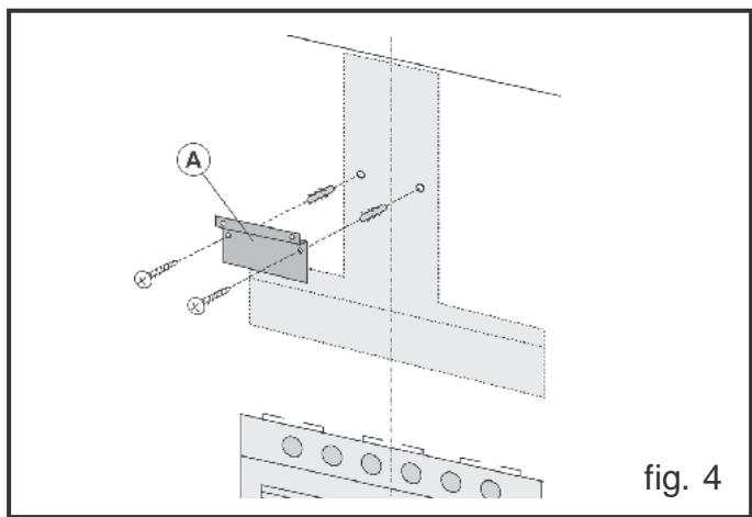
Fixation au mur
Tracez une ligne sur le mur, à la verticale de votre plan de cuisson. Tracez sur le mur les 2 premiers trough que vous devrez percer, en respectant les mesures individues à la Fig. 3; percez 2 trough et y placez les 4 chevilles (fournies en équipement). Ne pas oublier que la distance entre le bord inférieur de la hotte et le plan de cuisson doit être au 484~mm . Fixez le support métallique (A) au mur en utilisant les 2 troughs percés - Fig. 4 - (les vis pour la fixation du support sont fournies).Utiliser les deux petits triangles découvertes sur le support afin de le placer exactement le long de l'axe vertical de la hotte. Puis accrochez la hotte sur le support (Fig.5). Régler la position horizontale en déplaçant la hotte à droite ou a gauche selon les exigences de l'alignement avec les meubles suspendus. Avres le réglage, sans enlever la hotte, tracer sur le mur les autres 4 troughs à percer (C); décrocher la hotte et percer les troughs tracés (diamètre 8mm ); ensuite utiliser les 4 chevilles et les 4 vis fournies pour la fixation définitive.
Monter la plaque circuit électrique en la fixant avec 2 vis (Fig. 6).
Monter la flange sur la sortie d'air de l'appareil en exerçant une légère pression (Fig. 7).





MONTAGE DE LA CHEMINEE
- Evacuation extérieure
- Assembler le support tuyau (D) en utilisant les 2 vis (E) fournies en équipement (Fig.8). Ensuite, à l'aide des chevilles et des vis (F), fournies, fixer le support au plafond en faisant attention qu'il soit dans l'axe de la hotte (Fig.8).
- Raccordez le conduit pour l'évacuation de l'air à la bouche de sortie d'air de la hotte; utilisez un tuyauouple et bloquez-le sur la bouche de sortie d'air de la hotte à l'aide d'un collier métallique -Fig.9 - (le tuyau et le collier ne sont pas foumis). Pour la version évacuation extérieure returnez le tuyau supérieur de façon à ce que les fentes soit dans la partie du bas (Fig.10).
- Effectuez le raccordement électrique de la hotte au moyen du cable d'alimentation.
- Installer la cheminée en la appuyant sur la hotte; soulever la cheminée supérieure jusqu'àau plafond et le fixer à l'aide des 2 vis (H) - Fig.11.
Attention
Votre hotte étant livrée en version recyclage, vousdezverez préalablementretirer le filtre à charbon actifs.



Conseil
Pour une utilisation optimale de votre apparéil, nous vous conseillons le raccordement à une gaine diamètre 150 mm (non livrée). Limiter au maximum le nombre de coude et la longueur de la gaine. Dans le cas où la hotte fonctionne en évacuation extérieure, il convient d'assurer une arrivée d'air frais suffisante pour éviter demettre lapiece en dépression.


Recyclage
- Assembler le support tuyau (D) en utilisant les 2 vis (E) fournies en équipement (Fig.8).
- Ensuite, à l'aide des chevilles et des vis (F) fournies, fixer le support au plafond en faisant attention qu'il soit dans l'axe de la hotte (Fig.8).
- Monter la réduction sur la hotte en face du point de sortie de l'air (Fig.12).
- Prendre le déflecteur d'air et y fixer un tuyau souse (de 125 mm de diamètre) en le bloquant à l'aide d'un collier métallique (le tuyau et le collier ne sont pas fournis); fixer le déflecteur d'air au tuyau supérieur (Fig.13) à l'aide de 4 vis.
- Raccordez le tuyau couple à la réduction se trouvant sur la bouche de sortie d'air (Fig.14).
- Effectuez le raccordement électrique de la hotte au moyen du cable d'alimentation.
- Installer la cheminée en la appuyant sur la hotte; soulever la cheminée supérieure jusqu'àau plafond et le fixer à l'aide des 2 vis H (Fig.11).



MONTAGE DES BACS DE RECUPERATION DE LA GRAISSE
Placer les 3 bacs de récepération de la graisse à l'intérieur de la hotte, juste au-dessous du logement des filtres à graisse; déplacer les bacs latéralement, vers l'extérieur de la hotte (Fig.15), jusqu'à ce qu'ils buttent contre les éléments prévus à cet effet.

- DESCRIPTION DES COMMANDES
A) étéint l'éclairage.
B) Allume l'éclairage.
C) diminue la vitesse du moteur pour arriver à la vitesse minimum. Si pressé pendant environ 2^ , arrête le moteur en mémorisant la vitesse.
D) Actionne le moteur (en rappelant la dernière vitesse utilisée) et augmente la vitesse jusqu'à ce qu'elle atteigne la vitesse maximale.
Ecran L :
- signale la vitesse en cours d'exécution.
- signale l'alarme des filtres (avec moteur arrêté) en affichant le segment central.
- signale l'activation de la Minuterie à l'aide du chiffre qui clignote.
E) active la MINUTERIE (lorsque le moteur fonctionne) et la hotte s'arrête automatiquement après 5'.
En outre remet à zéro le comptage des heures lorsque l'alarme des filtres est activée (avec le moteur arrêté).
ALARME FILTRES
Elle est signalée avec le Moteur Arrêté.
Après 30h de fonctionnement, le segment central s'écaille sur l'écran; il signale que les filtres àGRAISSÉdoivent être nettoyés. Après 120h de fonctionnement, le segment central clignote sur l'écran; il indiqueque les filtres àGRAISSÉdoivent être nettoyés et les filtres àcharbon remplacés.
Après avoir nettoyé les filtres àGRAISSSE (et/ou remplace les filtres àcharbon), appuyer sur la touche
E pour faire redémarrer le comptage des heures pendant la visualisation de l'alarme filtrés.

AttentionDébranche
Débranchez l'appareil avant de procéder à l'entretien et au nettoyage de l'appareil. Un entretien régulier de votre apparéil est une garantie de bon fonctionnement, de bon rendement et de durabilité.
Attention
Le non-respect des instructions de nettoyage de l'appareil et des filtrres peut occasionner des incendies. Veuillez respecter strictement les consignes d'entretien.
- NETTOYAGE DES FILTRES A GRAISSE
Il est important de veiller à nettoyer périodiquement les filtrés àGRAisse.
Intervalle de nettoyage des filtres:
Les filtres àGRAISSDeoivent ètre nettoyés toutes les 30 heures de fonctionnement environ (lorsque, avec le moteur arrêté, le segment central s'allume sur l'afficheur).Après avoir remonté les filtres propres, il faut appuyer sur la touche E (lorsque le segment central est allumé) pour faire repartir le comptage des heures.
Laver les filtrres avec un nettoyant menager du commerce puis rincer abondamment et secher. Ce nettoyage peut etre effectue dans un lavevaisselle en prenant soin de ne pasmettre lefiltrre en contact avec de la vaisse sale ou avec couverts en argent.


- Démontage des filtres àGRAISSE (fig.17 et 18)
Modèle DHD771 : déposer les filtres àGRAISSER en saisissant le pommeau et en poussant vers la partie opposée du filtré ; tourner le filtré vers l'extérieur (fig. 17).
Modèle DHD772 : faire pivoter le panneau en le saississant par la partie avant de la hotte (fig. 18);sterol les filtres àGRAISSE en poussant la fixation vers la partie posterieure de l'appareil et en les faisant pivoter vers l'extérieur.
- CHANGEMENT DU FILTRE CHARBON
Si l'appareil est utilisé en version recyclage, il faut remplaçer les filtres à charbon périodiquement. Intervalle de remplacement des filtres:
Les filtres à charbon doivent être remplacés toutes les 120 heures de fonctionnement environ (lorsque, avec le moteur arrêté, le segment central s'allume ou clignote sur l'afficheur). ÀpRES avoir remonté le filtré propre, il faut appuyer sur la touche E (lorsque le segment central est allumé ou clignote) pour faire repartir le comptage des heures.
- Démontage du filtré à charbon (fig. 19-20)
Modèle DHD771 : déposer les filtres àGRAISSÉ en saississant le pommeau et en poussant vers la partie opposée du filtré ; tournier le filtré vers l'extérieur (fig. 17). Déposer le filtré à charbon en
appuyant sur le blocage vers l'intérieur, faire pivoter le filtré de manière à faire sortir les deux languettes de leur logement (Fig.19).
Modèle DHD772 : faire pivoter le panneau en le saississant par la partie avant de la hotte (fig. 18); retirer les filtres àGRAISE en poussant la fixation vers la partie posterieure de l'appareil et en les faisant pivoter vers l'extérieur.
Enlever les blocages filtres métalliques (M) pour déposer le filtré à charbon (Fig. 20).
AH4063U1 (pour le modele DHD771)
AK789AE1 (pour le modele DHD772)
- NETTOYAGE ET ENTRETIEN DE LA CARROSSERIE
Pour le nettoyage de la carrosserie de l'appareil, éviter l'emploi de produits contenant des abrasifs.
Modèle DHD772 : De la condensation peut se former sur le panneau en inox qui recouvre le filtré àGRAISSE. Nettoyer régulierement.
- CHANGEMENT DE LAMPE
Attention
Avant toute intervention, la hotter doit être mise hors tension, soit en retardant la prise, soit en actionnant le disjoncteur.
Ouvrir le volet des lampes halogènes en appuyant sur un côté (en face de l'inscription "PUSH"), puis relâcher (Fig. 22).
Les replacer par des lampes du même type.
ATTENTION: ne pas toucher les ampôules neuves à mains dues.
- NETTOYAGE DES BACS DE RECUPERATION DE LA GRAISSE
Les bacs de récapération de la graisse ont besoin d'une maintenance régulière et il faut les vider et les nettoyer en moyenne tous les 2 mois, en fonction du temps d'utilisation.
Pour extraire les bacs, il faut les déplacer latéralement vers l'intérieur de la hotte et les enlever (Fig. 23).

fig. 19

fig. 20


fig. 21

fig. 22
fig. 23
Attention Avant tout
Avant toute intervention, la hotte doit etre mise hors tension, soit en retardant la prise, soit en actionnant le disjoncteur.
- ENTRETENIR VOTRE APPAREIL
| ENTRETIEN... | COMMENT PROCEDER ? | PRODUITS/ACCESSOIRES A UTILISER |
| Enveloppe et accessoires | N'utilisez jamais de tampons métalliques, de produits abrasifs ou de brosses trop dures. | Pour nettoyer la carrosserie et le hublot d'éclairage, utilisez exclusivement des nettoyants menagers du commerce dilués dans de l'eau, puis rincez à l'eau claire et essuyez avec un chiffon doux. |
| Filtre àGRAISSSE | Ce filtre retient les vapeurs grasses et les poussières. Il est l'élementment assurant une part importante de l'efficacité de votre hotte. Dans le cas de taches persistantes, utilisez une crème non abrasive, puis rincez à l'eau claire. | Avec un nettoyant menager du commerce, puis rincez abondamment et séchez. Ce nettoyage peut être effectué dans votre lave-vaisselle en position verticale (ne pasmettre en contact avec de la vaisselle sale ou des couverts en argent). |
| Filtre charbon actif | Ce filtre retient les odeurs et doit être changé au moins tous les six mois en fonction de votre utilisation. Commandez ces filtres chez votre revendeur (sous la référence indiquée sur la plaque signalétique située à l'intérieur de la Hotte) et notez la date de changement. |
Pour préserver votre apparéil, nous vous recommendons d'utiliser les produits d'entretien Clearit.

L'expertise des professionnelles au service des particuliers
Clearit you propose des produits professionnels et des solutions adaptées pour l'entretien quotidien de vos apparèils électroménagers et de vos cuisines.
Vous les trouvez en vente chez votre revendeur habitual, ainsi que toute une ligne de produits accessoires et consommables.
| SYMPTOMES | SOLUTIONS |
| La hotte ne fonctionne pas... | Vérifiéz que: • il n'yapas de coupure de courant. • une vitesse a étéeffectivement sélectionnée. |
| La hotte a un rendement insuffisant... | Vérifiéz que: • la vitesse moteur sélectionnée est suffisante pour la quantité de fumée et de vapeur dégagée. • la cuisine est suffisamment aérée pour permettre une prise d'air. • le filtré à charbon n'est pas usage (hotte en version recyclage). |
| La hotte s'est arrêtée au cours du fonctionnement | Vérifiéz que: • il n'y a pas de coupure de courant. • le dispositif à coupure omnipolaire ne s'est pas enchenuché. |
- INTERVENTIONS
Les évventuelles interventions sur votre apparéil doivent être effectuées par un professionneliel qualifié dépositaire de la marque. Lors de votre appel, mentionnez la référence complète de votre apparéil (modèle, type, numéro de série). Ces renseignements figurent sur la plaque signalétique (fig.24).

PIÉCES D'ORIGINE
Lors d'une intervention d'entretien, demandez l'utilisation exclusive de pieces détachées certifiées d'origine.

- Pour en savoir plus sur tous les produits de la marque :
informations, conseils, les points d'entrée, les spécialistes après-vente.
- Pour communiquer :
nous sommes à l'écoute de toutes vos remarques, suggestions, propositions aux quelles nous vous répondrons personnellement.
Vous pouvez nous écrire :
Service Consommateurs
DE DIETRICH
BP 9526
95069 CERGY PONTOISE CEDEX
ou nous téléphoner au :

Tarif en vigueur à la date d'impression du document.
FR 01
DearCustomer,
EN 17
AH4063U1 (pro model DHD771)
AK789AE1 (pro model DHD772)
Notice Facile