WKT173GD - Wine cellar THOMSON - Free user manual and instructions
Find the device manual for free WKT173GD THOMSON in PDF.
Questions des utilisateurs sur WKT173GD THOMSON
0 question sur cet appareil. Repondez a celles que vous connaissez ou posez la votre.
Poser une nouvelle question sur cet appareil
Download the instructions for your Wine cellar in PDF format for free! Find your manual WKT173GD - THOMSON and take your electronic device back in hand. On this page are published all the documents necessary for the use of your device. WKT173GD by THOMSON.
USER MANUAL WKT173GD THOMSON
Our research team has designed a new generation of appliances to make your life easier.
The new wine cellar from Thomson has a sober and fluid design and internal space that can be organised as you wish for optimal and safe storage. With performance that you will appreciate, it is perfectly equipped to preserve your wine in the best possible conditions and fit in with your personal requirements.
The Thomson range of products also offers you a vast selection of dishwashers, washing machines, refrigerators, freezers, cookers and ovens, hobs and cooker hoods, that will go perfectly with your new THOMSON wine cellar.
On the cutting edge of innovation, Thomson contribution to the improvement of your everyday quality of life lies in bringing you products that are ever more impressive, simple to use, respectful of the environment, aesthetic and reliable.
The THOMSON brand
Please read this guide to installation and use of your appliance carefully before turning it on. This will allow you to become familiar with its operation quickly.
GB
GB
Contents
·Safety instructions. 23
- Respecting the environment and Saving energy. 24
· Description of your appliance. 25
1 How to carry out your initial installation
Fitting the plinth. 26
- Reversing the door opening. 26
- Reversing the door handle 27
·Adjusting the door. 27
· Installing your appliance. 28
· Electrical connection 29
2 How to use your wine cellar
·Putting your wine cellar into service 30
- Adjusting the temperature 31
Fan-cooled. 32
- Storing your bottles of wine. 32
·Modular layout 34
·The Air Pur Pack - anti-odour. 35
3 Ongoing maintenance of your appliance
· Cleaning your appliance. 36
- Changing the lightbulb 36
4 Operational anomalies
· Troubleshooting 37
Anomalies 38
·Abnormal operational noise 38
5 Consumer Services
After-sales service 39
· Customer relations. 39
The guide to installation and use of your wine cellar is applicable to several models. There may be slight differences in the details and features of your appliance and the descriptions presented.
As you read through the guide, you will come across the following symbols, to warn you of:

Safety precautions that must be observed
An electrical danger
Important information and advice

Safety instructions
This appliance is intended for domestic use only. It has been designed for storage of your bottles of wine.
The following instructions are for your own safety and should be observed without fail. We can neither be held responsible, nor uphold the guarantee in case of failure to observe these recommendations, which may lead to material or bodily damage.
Your appliance must be installed and used in compliance with the instructions in this guide for installation and use, in order to avoid any damage as well as any danger due to possible instability or a faulty installation. You will only be able to keep your wine in optimum conditions by following these instructions carefully.
If the appliance has been delivered to your home in a horizontal position, stand it vertically and then wait 2 hours before plugging it in. A small amount of oil may have run into the refrigeration circuit, and you must leave it time to flow back towards the motor before connecting the appliance. Failure to do so may damage the appliance.
Carry out an initial cleaning operation (see "Installation of your appliance" chapter) before connecting your appliance to the electrical supply. Disconnect your appliance prior to carrying out any maintenance operation. Grasp the plug directly, rather than pulling on the electric lead.
Do not let children play with the appliance, and keep your pets well away from it.
Worn out appliances must be rendered unusable.
Unplug and cut the electric cable flush with the appliance. Make the door closure device unusable, or, better still, remove the door. This is in order to ensure that no child or animal gets shut inside whilst playing.
If a problem arises that you are unable to resolve using the advice given (see "Operational anomalies" section), please use an official after-sales service or a qualified professional.

If the appliance is going to be turned off for an extended period, leave the door ajar.
GB
Respecting the environment and Saving energy
To reduce the electrical consumption of your appliance:
Install it in a suitable place see "Installation of your appliance" section)
- Leave the door open as little as possible.
- Periodically check the door seal and make sure that it still closes firmly.
If it doesn't, please contact our after-sales service.
Wine cellars contain refrigerant gas and substances necessitating appropriate scrapping procedures. The materials used for packaging, as well as those that make up your appliance use recyclable materials. Please take account of this when discarding them.
Your supplier or your local council will be able to tell you about the possibilities
for disposing of your appliance in a way that is both suitable and respectful of the environment.
Certain components can be dangerous to the environment.
In compliance with the latest legislation concerning environmental protection, your appliance does not contain any CFC's.
The exact type of refrigerant used in your appliance is clearly indicated on the identification plate situated on the inside of your appliance, low down on the left wall.
Description of your appliance


The guide to installation and use of your wine cellar is applicable to several models. There may be slight differences in the details and features of your appliance and the descriptions presented.
Fitting the plinth
Your appliance is delivered with a transit brace, and a plinth is supplied.
1- Open the door.
2- Remove the transit bracket from the door.
3- Unscrew the two screws to remove the transit brace.
4- Replace the two screws and washers. Keep these parts carefully as they may come in useful if you move house with your appliance.
5- Use a bradawl or a nail to make pilot holes for the plinth securing screws.
6- Fit the plinth end into the space provided for the hinge bracket.
7- Screw the plinth on.


Reversing the door opening
Your appliance is delivered with the door opening from left to right (hinges on right). You can, if you wish, reverse the door opening:
1- Unscrew the upper hinge, unhinge and remove the door.

2- Remove the lower right hinge pin and unscrew its support.
3- Unscrew and remove the plinth, if it is already mounted.


4- Screw the support to the left side of the door and replace the hinge pin.
5- Fit the plinth end into the space provided for the hinge bracket.
6- Screw the plinth on.
7- Reposition the door on the lower hinge pin, put the upper hinge in place and screw on.

Reversing the door handle
GB
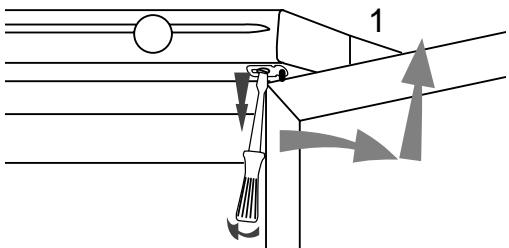
1 Use a screwdriver to remove the two screw covers. Remove the screws and block the holes with the plugs supplied with these instructions.
2. Identify, and then use the handle to mark, the positioning of the holes to be drilled on the door.
3 Using an electric drill, make two 3,4 mm holes.
4 Refit the handle with the two screws, and replace the screw covers.

Adjusting the door
If necessary, you can adjust the alignment of the door and the wine cellar control panel.
Proceed in the following manner:
1- Open the door so that it does not impede your view.
2- Whilst holding the door, unscrew the securing screw from the upper hinge.
3- Remove both hinge and door.
4- Use a sharp tool to cut the stop from the hinge bracket.
5- Refit the door and the hinge.
6- Screw the hinge securing screw back into place, fairly tightly.
7- Close the door and align it with the control panel.

Installing your appliance
GB
Your appliance must be installed in compliance with the instructions given in this "Guide for Installation and Use" in order to keep your wine in optimum conditions and with optimal energy consumption.
- The appliance should be installed in a room that is both dry and aired.
- Avoid balconies, verandas, and patios: the excessive heat in summer and the cold in winter could prevent your appliance from functioning properly, or even damage it.
- Avoid placing your appliance near a heat source such as an oven or radiator.
- Your appliance has been designed for optimum functioning at a certain ambient temperature; it is designed for a particular "climate class". This climate class is clearly indicated on the identification plate
situated on the inside of your appliance, low down on the left wall. Outside of this temperature range, the performance of your appliance may be diminished.
| Climate class | Ambient temperature |
| SN/ST | +10°C to + 38°C |
- Leave a minimum distance of 3 to 5cm at the sides between your wine cellar and your furniture, and 10cm above, to maximise air circulation around the appliance.
Position the appliance at a suitable distance from the wall by using the spacers provided in the accessories packet. You should mount the
spacers on the back of the appliance.

Once your appliance is installed, adjust its feet so that it is slightly leaning forwards, or slightly leaning backwards:
This will facilitate the efficiency of door closing.

Before putting any bottles in, clean the inside and the outside of your appliance with a bicarbonate of soda solution (1 dessertspoon of bicarbonate to 4 litres of water). Do not use alcohol, scouring powder or detergents, which could damage the surfaces. See section on "Cleaning your Appliance".
Electrical connection
For your own safety, you must comply with the instructions given below.
The electrical installation must comply with Standard NF C *15-100, in particular concerning the earth. Three-core flex 3 × 2.5 ~mm^2 , 230V connected to: - a 20A supply 230V-50Hz - an ELCB and an individual fuse (10 or 16A depending on the model) - a 16/20A socket with two poles + earthed socket
We cannot be held responsible for any incident caused by a faulty electrical installation.
Recommendations for the electrical installation of your appliance: - Do not use extension leads, adaptors, or socket boards. Always make sure your circuit is earthed. If you have to change the supply lead, we recommend that you exchange it for a lead of the same type. You can get this from our after-sales service
- The socket must always remain accessible, yet be out of the reach of children.
If you have any doubts, contact your installer.
Carry out the initial cleaning (See section on "Installation of your appliance") before connecting your appliance to the electrical supply. Disconnect your appliance prior to carrying out any maintenance operation. Grasp the plug directly, rather than pulling on the electric lead.
Your appliance is compliant with European Directives CEE/73/23 (low voltage directive), CEE/89/336 (electromagnetic compatibility) and CEE/96/57 (energy efficiency) as well as their modifications.
GB
Putting your wine cellar into service
GB

1- Thermost at safety indicator light (Orange light)
2- Low humidity indicator light (Yellow light)
3- Temperature indication light s (Green light s)
4- Temperature control knob
5- Lock
Putting your appliance into service
- Connect to the electricity supply.
- Set the thermostat knob to a medium position in the ageing zone, 11^ to 14^ (4)
- The orange safety light (1) should be on.
- the yellow light (2) may come on if the humidity rate is insufficient (see paragraph ...)
- The green light(s) is/are on, or flashing, depending on the interior temperature of the wine cellar (see anomalies table).
Thermost at safety indicator light (1)
Your wine cellar is fitted with 2 thermostats. One is for regulation of the temperature, the other being a security in case the first one fails to work.
This active security comes on as soon as electricity is supplied to the appliance (orange light on).
- The light must stay on. Your wine cellar is functioning correctly when the thermostat safety light (1) is on as well as the regulating lights (3)
- If however only the orange light (1) comes on, your wine cellar is opera
ting in safety mode, guaranteeing the maintenance of your wine at the conservation temperature. In this case, please refer to the paragraph "Operational anomalies"
Humidity alarm indicator light (2)
-
This light comes on when the ambient humidity rate in your wine cellar is too low.
-
To maintain the required level of humidity, you need to add water to the
hydrating tray, situated at the bottom of the unit.
Hydrating tray
- The role of the hydrating tray is to keep water at a level that will maintain a high enough humidity rate in the appliance and ensure that your wine is correctly preserved
-If the humidity alarm light (2) comes on whilst you are putting the unit into service or during operation, add some water to the tray.
Door lock (5) - The lock fitted to your wine cellar guarantees the protection of your wines.
- To operate the lock it is necessary to push and turn the key.
Adjusting the temperature
Manipulating the thermostat

The appliance is always powered.
To adjust the temperature, set the thermostat knob to the temperature zone required (4).
The position on the left corresponds to the least cold temperature, and turning the knob to the right will select a colder temperature.
The green lights (3) to the left of the knob allow you to control the temperature to which your cellar is set.
7^ to 10^ - Chilling for white wines
11^ to 14^ - Ideal temperature for ageing wine
15^ to 18^ - For bringing wine to room temperature

Prolonged opening of the door cause the internal temperature rise.
Adjusting the temperature
-
When putting your appliance into service, set the thermostat to a medium position (ageing zone) 11^ to 14^
-
4 hours after putting your appliance into service, or after any change in the thermostat setting, observe the temperature light (3) to make sure that your wine cellar is at the temperature you want.
Adjust the thermostat if necessary.

The internal temperature of your wine cellar is closely lineto the ambient temperature, frequency of opening its door, the quantity and the temperatureof the bottles you have put inor wine cellar.
You must therefore check the temperature indicator and adjust the setting if necessary, as explained above.
Fan-cooled
Your appliance is fitted with an air ventilation system:
- Fan-cooled: fans stir the air around your wine cellar, creating greater homogeneity of temperature and avoiding the formation of condensation between the bottles.
- Apart from these everyday advantages, ventilation optimises the performance of your wine cellar during extreme weather conditions (e.g.: a heatwave)

To turn the fan-cooling on:
Press the "on" button.
The ventilator is not continuously operating; its operation depends on the internal temperature of the wine cellar. There is therefore no cause for concern if at a given moment the fancooling is not operating although the button is correctly pressed down.

Storing your bottles of wine
The method of filling your wine cellar depends on the model you have chosen and on the number of racks used. The quantities given are only a guide. The bottles used for the tests are of the Bordeaux type: 290 mm tall, 76,5 mm in diameter (type: syndical, lightweight, medium, optima) In the version fitted with wire racks, the material is flexible. Depending on the method used to fill the rack, it can bend. This has however no negative impact on the storage of your bottles of wine.
The maximum load varies depending on the type of racks used:
Wire racks: 55 bottles
Wooden racks: 50 bottles

The label located on the top of the appliance shows the maximum weight that may be placed on the shelf.

For optimum filling of your wine cellar, we recommend that you stack your bottles starting from the bottom racks.
The capacity of each rack depends on the number of racks being used. We advise the use of small wooden blocks to hold your bottles securely in place.
Solid door model:
Typical storage with 4 racks = 166 bottles
Typical storage with 3 racks = 173 bottles


Glass door model:
Typical storage with 5 racks = 155 bottles
Typical storage with 4 racks = 166 bottles


GB
Modular layout
Your wine cellar has been designed to make storing your bottles easy.
You can adjust its layout to suit your requirements.
GB
You can buy extra racks from your dealer or from your after-sales service.


The front panel of each rack is intended to display identifying labels
These labels are delivered with the instructions and are re-usable.
We advise you to write on them using a 'B' or 'BB' pencil or a water-soluble felt tip pen to write on them.
You can also buy more labels form your dealer or after-sales service.
A maximum configuration of 9 racks gives a capacity of 121 bottles.

Wine register (depending on the model):
The register is hung on the inside of the inner door of your wine cellar.
It allows quick and simple management of your wine cellar.
The vintages table is there purely as a guide, and only gives generalities.
A wine from a 'mediocre' year can certainly prove to be excellent.
The Air Pur Pack - anti-odour
The "Air Pur Pack" uses a special gel and an active carbon filter. It enables neutralisation of odours and purification of your wine cellar. The cartridge has long-lasting action.
- You can obtain refills with the reference: 42X0087
- from your usual dealer or from your after-sales service (contact details are at the end of this booklet)
GB
Putting it into service:
- Lift the cartridge to pull it out of its casing
- Remove the plastic film
- Pull the slip to activate the gel
- Replace the cartridge in its casing in your wine cellar
When to change the cartridge:
- When you no longer see any blue gel at the front of the cartridge, you should change it.

Cleaning your appliance
GB
Disconnect your appliance prior to carrying out any maintenance operation. Grasp the plug directly, rather than pulling on the electric lead.
Clean both the inside and the outside of your appliance with a bicarbonate of soda solution (1 des-sertspoon of bicarbonate to 4 litres of water).
Do not use alcohol, scouring powders or detergent, which could damage the surfaces.
Do not use a high-pressure steam cleaner. The very hot steam could damage the surfaces and the electrical circuits;
you would expose yourself to a risk of electrocution.
Rinse with water, dry with a cloth.

Periodically check the condition of the hydrating tray and clean it if necessary.
Don't forget to clean the condenser, which is at the back of the appliance, from time to time (see section on "Description of your appliance").
Use a dry paintbrush to do this, or better yet, your vacuum cleaner.
Reconnect your appliance, and adjust
the wine cellar thermostat if necessary, as shown in the section
"Adjusting the temperature".
Changing the lightbulb
- Disconnect your appliance
- Unscrew the bulb and replace with another of the same type
(E14 - 15 W maximum.)

Troubleshooting
Certain problems may appear when you are using your appliance. Before calling the after-sales service, use this guide to see if you can resolve the problem yourself:
| PROBLEM Unusual noises | ADVICE - check the adjustment of the feet of your applian- ce, and its stability - check that it is not touching a wall - check that all the movable parts (trays, racks, etc... ) are securely in place - check that all the bottles you have placed in your appliance are properly stacked |
| The wine cellar is not at the right temperature | - check that the thermostat is correctly set as indica- ted in the section on "Adjusting the temperature" - if you have put a large quantity of bottles into your wine cellar at once, wait for the appliance temperature to stabilise before re-adjusting the thermostat - be careful not to open your appliance's door too often, and not to leave it open |
| The wine cellar's light is off | - check that your appliance is connected to the electrical supply - check that the circuit-breaker for your house has not cut out, that the fuse has not blown or is not unscrewed - check that the bulb has not burnt out, and refer to the section "Changing the lightbulb". - The door may have been left open. If the door is left open (for more than a few minutes), a protection circuit will automatically turn the light off. Lamp operation will return to normal several minutes after the door is closed. |
| Your appliance is not working | - check that your appliance is connected to the electrical supply - check that the circuit-breaker for your house has not cut out, that the fuse has not blown or is not unscrewed |
| You have mislaid the key for the lock | -You can obtain a new set of keys from your dealer or from your after-sales service. |
GB
| Anomalies | ||
| Call after-sales service | Safety Mode | |
| Orange light on -alone | X | - The temperature regulation of your wine cellar is faulty. The wine cellar is operating in safety mode, which guaran- tees maintenance of the tem- perature. |
| - flashing green light on left - flashing green light on right | X X | - The regulation has detected an anomaly on one of the tem- perature probes. The wine cel- lar is operating in safety mode, which guarantees mainten- ce of the temperature. |
| -3 green flashing lights | - Wait for the temperature to stabilise. | |
| -yellow light on and 1 green light on | - Add some water to the hydrating tray. | |
| Green, orange and yellow lights off | - Check the electrical supply to your appliance. | |
Abnormal operational noise
NOISE
Buzzing
Gargling or slight buzzing
Clicks
Slight background noise
CAUSE
Coming from the motor. This buzzing may briefly be louder when the motor starts
Coming from circulation of the cooling fluid in the pipes of your wine cellar
These can always be heard when the thermostat turns the motor on or off
Your appliance is fitted with a fan, and the air circulating inside the appliance makes a slight background noise.
After-sales service
Any repairs made to your appliance must be carried out by a brand-approved qualified professional.
When you call, mention the complete references for your appliance (model, type, and serial number).
This information appears on the identification plate situated on the inside of your appliance, low down on the left wall.

When you have your appliance repaired, Ask for only CERTIFIED
ORIGINAL PARTS to be used.

GB
Beste klant,
m = 311 ;
1
m = 311
1
m = 311
图 1

EasyManual