WKT173GD - Adega de vinho THOMSON - Manual de utilização gratuito
Encontre gratuitamente o manual do aparelho WKT173GD THOMSON em formato PDF.
Questions des utilisateurs sur WKT173GD THOMSON
0 question sur cet appareil. Repondez a celles que vous connaissez ou posez la votre.
Poser une nouvelle question sur cet appareil
Baixe as instruções para o seu Adega de vinho em formato PDF gratuitamente! Encontre o seu manual WKT173GD - THOMSON e retome o controlo do seu dispositivo eletrónico. Nesta página estão publicados todos os documentos necessários para a utilização do seu dispositivo. WKT173GD da marca THOMSON.
MANUAL DE UTILIZADOR WKT173GD THOMSON
As{nossas equipas de pesquisa concedeberam, pensando em si, uma nova geração de apareiros para lhe fácilar a vida.
Com espécOs adaptados para uma melhor disposicao ou arrumacao com toda a liberdade e segurarca, um design sobrio e fluido e um grande nivel de desempenho, as novas Caves de Vinhos Thomson aparemagemas das qualidades para conservar da melhor forma as suas garrafas de vinho dando responsta ao seu hesabitos deconsumo.
Encontraré también na gama dos produits Thomson uma vasta escolha de máquinas de lavar loça, miguinas de lavar e secar roupa, frigoríficos, arcas congeladoras, fogões e fornos, placas de cozedura e exaustores, que poderá associar à sua nova Cave de Vinhos THOMSON.
Na ponta da inovação, THOMSON contribui assim para melhorar a qualida de vida do dia-a-día, proportionando-lhe produits cada vez mais funciona, deutilização simples,(amigos do ambiente,estáticos e fiáveis.
A Marca THOMSON
Antes de colocar o electrodométrico em funciona, leia cuidadosamente o Guia de Instalação e de Utilização, facto que lhe permitirá de se familiarizar muito rapidamente com o seu modo de funciona.

Sumário
·Instruções de segurança 99
·Respeito pello ambiente e economia de energia. 100
·Descrição do seu electrodomístico. 101
1 Como efectuar a sua primarya instalacao
Montagemdoplinto 102
·Alteracao do sentido de abertura da porta. 102
·Alteracao do sentido do puxador. 103
·Regulaço da porta. 103
·Instalacao do seu electrodomestico. 104
·Ligaçoeléctrica. 105
2 Como utiliser a sua Cave de Vinhos
·Colocacao em funcaoamento. 106
·Regulação da temperatura. 107
·Frioventilado. 108
Disposicao e Arrumaacao das garrafas 108
·Modularidade da disposicao 110
· L'Air Pur Pack "O Neutralizador de cheiros" 111
3 Manutenção regular do seu electrodomístico
·Limpeza do seu electrodomestico. 112
· Substituicao da lampada 112
4 Anomalias de funciona
·Problemas. 113
Anomalias 114
·Ruidos de functiimento normais 114
5 Servico do Consumidor
· Servico Pós-Venda 115
·Relaço Consumidos 115
O guia de instalacao e de utilicao da sua Cave de Vinhos é valido para varios modelos. Poderao eventualmente surgir ligeiras dificenças entre o seu electrodomestico e as descriacoes aparecadas.
Ao ler as instruções, irá deparar-se com a segunte simbologia:
respeitar imperativamente as instruções de segurarca
perigoelectrico
i conselho e informacoes importantes
Instruções de segurarça
Este electrodométrico, destinado exclusivamente ao uso dométrico, foi concebido para a conservação das suas garrafas de vinho.
Respeite escrupulosamente as instruções de segurar a seguir enunciadas. Declinamos toda e qualquer responsabilitadé e garantia em caso de incumprimento das recomendações que possam originar danos materiais ou corporais.
O seu electrodométrico deve ser instalado e utilizes em conformidade com as instruções deste Guia de Instalação e de Utilização, a fim de fazer quando danos e perigos devidos a uma eventual instabilitadé ou uma deficienta instalação. Apenas o cumprimento das instruções permitir-lhe-ão conservar o VINHO nasmelhos condições.
Caso o electrodométrico tenha sido transportado em posão horizontal, coloque-o na vertical e aguarde 2 horas antes de o ligar à corrente elétrica. Pode acontecer que uma pequena quantidade de oleo tenha derramado no circuito de refrigeração, devendo除外 agarbaraté que este reflua para o motor antes de ligar o electrodométrico. Se não proceeder esta forma, correra o risco de danífico.
Efectue a primarya limpeza (ver capítulo "Instalação do seu electrodométrico") antes de liga-lo à corrente electrica. Para realizar qualquer operação de manutenção, desligue-o. Não puxe o cabo de alimentação; retire antes a ficha.
Não deixe que as crianças brinquem com o electrodométrico e afaste os animais dométricos.
Os electrodométricos gastos devem ser imeditamente inutilizados. Desligue e corte o cabo de alimentação pelo;nível do electrodométrico. Torne a fechadura da porta inutilização ou, melhor acreda que qualquer criança ou animal fiquem presos ou fechados no seu interior.
Casosucedam incidentes que não poderá resolver, mesmo seguido os outros conselhos (ver capítulo "Anomalias de funciona"), contacte apenas os Centros de Servço Pós-venda autorizados ou então recorra a um professional qualificado.

Em caso de paragem prolongada, mantenha a porta entreaberta.
Respeito pelo ambiente e economia de energia
Para limitar o consumo electrico do seu electrodomestico:
- instale-o em local adequado (ver capículo "Instalacao do seu elec trodomestico");
- besoina a porta aberta o menos tempo possivel;
- controle periodicamente a junta da porta e certifique-se de que ela fecha sempre de forma eficaz. Se esta situação não se verficar, contacte o Servico Pós-venda.
As Caves de Vinhos contém gases refrigerantes e substancias que devem passar por umprocesso de reciclagem adequado. As peças de acondicionamento bem como aquelas que compoem o Conjunto do seu electrodométrico,utilizam materiais recicláveis. Tenha thispormenor em linha de conta aquando da sua eliminação.
Informe-se muito do seu revendedor ou dos serviços tíncicos da sua area acerca das possibilidades da sua inutilização de forma adequada e respeitando o ambiente.
Alguns componentes podem ser perigosos para a saud e o ambiente.
Em conformidade com as dispositions legislativas mais recentes em materia de protecao e respeitoelo ambiente, o seu electrodomestico não contentem C.F.C.
O tipo exacto de gás refrigerante realizado no seu electrodométrico está devidamente assinalado na placá sinalética no interior do electrodométrico, na parte inferior esquerda.
Descrição do seu electrodométrico


Este Guia de Instalação e de Utilização da sua Cave de Vinhos é muito para various modelos. Poderão surgir ligeiras dificunas de pemino- nor e de equipamento entre o seu electrodométrico e as descrições aparecadas.
Motor
Montagem do plinto
O seu electrodométrico é entrega com uma cunha de transporte, sentido o plinto fornecido juntamente com o mesmo.
1 - Abra a porta.
2 - Retire a cunha da porta.
3 - Retire o suporte da cunha desaparafusando os dois parafudos.
4 - Coloque novamente osinous parafusos e as anilhas. Guarde as peças,pois poderao vir a ser ueteis aquando de uma possivel mudanca.
5 - Marque os eixos por meio de uma punção de bico ou de um prego, para fazer a fixação dos parafusos no plinto.
6 - Ajuste a extremidade do plinto no espaço do apoio amovível.
7 - Aperte os parafusos.


Alteracao do sentido de abertura da porta
O seu electrodométrico é entrega com uma porta cuja abertura se efec-tua da esquerda para a direita (articu-lation doazo direito). Caso pretenda alterar o sentido de abertura da porta, proceda da segunte forma:
1 - Desaparafuse a articulacao superior, desloque e retire a porta.

2- Retire o apoio amovivel inferior direito e desaparafuse o seu suporte.
4- Tome a aparafusar o suporte na parte esquerda e recolque o apoio amovivel.
5 - Ajuste a extremidade do plinto ao espoço do apoio amovível.
6 - Aparafuse o plinto.
7 - Reposicao a porta no respectivo apoio inferior, colque a articulacao superior e aparafuse-a.

Alteração do sentido do puxador
1 - Com uma chave de fendas retire as两大 proteções dos parafusos. Retire os parafusos e tape os orificios com as respectivas tampas fornecidas juntamente com o Guia.
2 - Assinale e marque por meio do puxador o local dos pontos de perfuração na porta.
3 - Com una perfuradora efectue dois orificios de 3,4 mm.
4 - Fixe o puxador através dosinous parafusos e colque novamente as proteções dos parafusos.

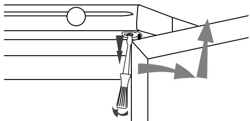
Regulacao da porta
Caso seja necessario, poderá regular o alinhamento da porta e a barra de controlo da sua Cave de Vinhos.
Para tal, proceda da segunte forma:
1 - Abra a porta para libertar o Campo de visão.
2 - Apoando a porta, desaparafuse o respective parafuso de fixação da articulação superior.
3 - Retire a porta e a articulacao.
4 - Corte o batente do suporte da articulaçãoutilizandouma ferramenta adequada para oefeito.
5 - Coloque novamente a porta e a articulacao.
6 - Aparafuse de novo os parafusos da articulacao, apertando-os moderamente.
7 - Fecha a porta e alinne a barra de controlo.

Instalação do seu electrodométrico
Apenas uma instalacao corre- ta do seu electrodomestico respeitando as prescrições que Ihe são fornecidas;neste "Guia de Instalacao e de Utilização", permitir-lhe-á conservar os vinhos nas melhores condições,aliado a umconsumo de energia optimazedo.
-
Coloque o electrodomestico em local seco e arejado.
-
Evite as varandas, as sacadas e os terracos: o calor excessivo durante o Verão e o frio no Inverno impedirão o bom funciona do seu electrodométrico, podendo mesmo danificá-lo.
- Evite colocar o electrodomestico perto de una fonte de calor como por exemple um forno ou um radiador.
- O seu electrodométrico foi concebido para um funciona de alto
P
rendimento a uma temperatura ambiente adequada. O mesmo é dizer que foi concebido para uma " classe climática" especialica.Esta classe climática está indica a clarô na placá sinalética que se encontra no interior do seu electrodométrico, do lado inferior esquerdo. Acima destas temperatas, o desempinho do electrodométrico pode diminuir.
| Classe climática | Temperatura ambiente |
| SN/ST | +10°C a + 38°C |
- Mantenha uma distência minima entre a Cave de Vinhos e os restantes moveris de 3 a 5 cm das partes laterais, e de 10 cm na parte superior, para possibilhar uma boa circulacao do ar em redor do electrodomestico. Coloque o aparecido a uma distência conveniente da parede por
meio das travessas, fornecidas junta-mente com os restantes acessórios. Para tal,deer fixar as travessas na parte traseira do electrodométrico.

Uma vez instalado o electrodomestico, regule os pés de forma a ficar inclinado ligeiramente paraTRS: defaulted mode fácilar o dato correcto da porta.

Antes de colocar as garrafas na sua Cave de Vinhos, limpe o seu interior e exterior com bicarbonato de sódio dissolvido em água (1 colher de sopa de bicarbonato para 4 litres de agua). Não utilize alcool, às abrasivos ou detergentes que poderão danIFICAR as superfícies. Ver capítulo "Limpeza do seu electrodométrico".
Para sua segurar, é imperativo que tomenota das seguintesindicacoes.
A instalação électrique deve estar em conformidade com a Norma NF C 15-100, no que respeita essencialmente o fio terra.
Linha 3x2,5 cm mm2 mono 230V com ligação a:
- um contador 20A mono 230V-50Hz
- um disjuntor diferencial e um fusivel individual (10 ou 16A, conforme o modelo)
- uma tomada de corrente électrique
10/16A 2 pôlos + terra.
Não assumimos a responsabilité por incidentes ocorridos devo a uma deficiente instalação elétrica.
A Conselhos para a instalacao eletrica do seu electrodomestico:
- não utilize extensoes, adaptadores ou tomadas multiplas;
- não elimine nunca a ligação ao fio terra;
- caso tenha de trocar o cabo de alimentação, recomendamos a sua substituição por um cabo do mesmo tipo, que pode adquirir muito do Servço Pós-venda da sua区内; - a tomada de corrente electrica
O seu electrodométrico está em conformidade com as direivas europeias CEE/73/23 (direiva aplicada a equipamentos electricos de baixa tensão), CEE/89/336 (direiva relativa à compatibilidade electromagnética) e CEE/96/57 (direiva relativa à eficácia energetica) e as suas alterações.
deve permanecer sempre acessível mas fora do alcance dascrianças.
Em caso de incertezas, dirija-se a um electricista.
Efectue uma primaira limpeza (ver capítilo "Instalação do seu electrodométrico") antes de ligar o electrodométrico à corrente electrica. Antes de realizar qualquer的操作ação de manutençao, deslgue a ficha de alimentação electrolytica. Não puxe pelo cabo de alimentação - retire-o da tomada puxando a ficha.
Colocação em funct ionamento


1 - Indicador do termost ato de segurarca (indicador cor de laranja)
2 - Indicador do controlo de falta de humidade (indicador amarelo)
3 - Indicadores de temperatura (indicadores verbes)
4 - Botão de regulação da temperatura
5 - Fechadura
Colocacao em funcaoamento
- Ligue o cabo à corrente électrique.
- Coloque o botão do termóstato em posicao média na zona envelhecimento, 11^ a 14^ (4).
- O indicator cor de laranja (1) de vigilência de segurançadeer acender-se.
- O indicator amarelo (2) poderá acender-se se o;nível de humidade for insufficiente (ver parágrafo ...).
- O ou os indicadores verdes acendem-se ou aparem- se intermitentes em funcao da temperatura interior da Cave (verabela das anomalias).
Indicador do termost ato de segurarca (1)
A sua Cave de Vinhos está equipada com 2 termóstatos: um para a regulação da temperatura, e outro de segurar na caso do primo sofrer uma avaria.
Esta segura activa passa a estar funcional assim que o seu electrodoméstico for ligado à corrente électrique (indicador cor de laranja aceso).
-
O indicatore deve imperativamente permanecer aceso. A sua Cave de Vinhos funciona correctamente a partir do momento em que o indicator do termosto ato de seguranca (1) estiver associado ao指示ores de regulação (3).
-
Se, todas, apenas o indicator cor de laranja (1) permanecer aceso, a sua Cave de Vinhos encontrar-se em modo de funciona de segurar, garantindo a conservacao dos seuvinhos à temperatura de conservacao. Neste caso, consulte o paragrafo "Anomalia de funciona".
Indicador de alarme de humidade (2) - Este indicator acende-se quando o nível de humidade ambiente da sua Cave de Vinhos é insufficiente.
-
Para manter o;nível dehumidade adequado,deverá acrescentarágua no reservatório de hidratação,que se encontrar na parte inferior da cuba Reservatório de hidrat ação
-
A sua função é manter um nível de água para conservar um nível de humidade suficiente no electrodométrico e assegurar uma boa conservação dos seu's vinhos.
-
Caso o indicator de alarme de humidade (2) se conta aquando da colocacao em funcaoamento ou durante o funcionamento da Cave de Vinhos, deite agua no reservatorio. Fechadura da porta (5)
-A fechadura que equipo a sua Cave de vinchos garanthe a protecao dos seuis vinchos. Para actionar a fechadura, é necessario empurar e girar a chace.
Reguição da temperatura
Manuseamento do termóstato
O electrodométrico encontrar-se ainda sob tensão.
Para regular a temperatura, posicao o botao do termostoato na zona de temperatura desejada (4). A posicao mais a esquerda corresponde a temperatura menos fria: posicionando o botao para a direita a temperatura selecionada sera a fria.
Osindicadoresverdes(3)que seencramàesquerda do botao permitemcontrolar a que temperatura seencontrareguladaa suaCave.
7^ a 10^ - Refrigeracao dos vinhos brancos.
11^ a 14^ - temperatura ideal para o envelhecimento dos vinhos.
15^ a 18^ - temperatura para manter o vinho à temperatura ambiente.
Uma abertura prolongada da porta da Cave de Vinhos provoca um aumento da temperatura interior.
RegULAÇÃO da temperatura
-
Aquando da colocação em funcionamento do seu electrodométrico, colque o termóstato em posicao média (zona de envelhecimento) 11^ a 14^ .
-
4 horas après a colocação em funçãoamento do seu electrodométrico ou antes quaker alteração na regaçaão do termóstato, observe o indicator de temperatura (3) para verificar se a sua Cave de Vinhos se encontrar na temperatura desejada. Regule o termóstato, se necessário.
A temperatura interna da sua Cave de Vinhos depende intima-mente da temperatura ambiente, da frequência de abertura da porta, da quantidade e da temperatura das garrafas que tenha colocado na sua Cave de Vinhos. Deverá pouco verificar o estado do indicator de temperatura e regular, se necessário, o termostato conforme indicado anteriormente.
Frioventilado
O seu electrodométrico está equipado com umsystema de ventilação de ar:
- Frio ventilado: a ventilação agita o ar na sua Cave de Vinhos, permitindo这其中a forma obter uma grande homogeneidade da temperatura e fazer a condensação entre as garrafas.
- Além destasvantagens no dia-a-dia, a ventilação optimiza o desempenho da sua Cave de Vinhos aquando das condições climáticas extremas (exemplo: canícula).

Para colocar a ventilação em funcaoamento:
Prima no respectivo botão de funciona-mentation.
O ventilador não funciona de forma continua能做到 depende da temperatura interna da Cave de Vinhos. Éois perfeitamente normal que, por momentos, o ventilador não funciona mesmo que o botão de funcção está correctamente pressionado.

Disposicao e Arrumaçao das garrafas
Ação da sua Cave de Vinhos depende do Modelo que escolhéu e do número de prateleiras amovíveis realizadas. As quantidades abenas são assinaladas a titulo indicativo. As garrafas realizadas para as amostras são do tipo Bordalesa com uma alta de 290 mm, diámetro de 76,5 mm (como sindical, delgada, média, grande).
Na versão equipada com prateleiras tipo grelha, o material é flexível. Em funcção do modo de entrega da prateleira, esta pode curvar, o que não significá que tenha qualquer efeito negativo no armazenamento das garrafas. A entrega Tmaxima varia em funcção do tipo de prateleiras:
Prateleiras tipo grelha 55 garrafas.
Prateleiras de madeira 50 garrafas.

A etiqueta que se encontra na parte superior do electrodométrico define o "limite de energia" da prateleira.

Para efectuar una energia de la bestand, a priori, a priori, a priori, a priori, a priori, a priori, a priori, a priori, a priori, a priori, a priori, a priori, a priori, a priori, a priori, a priori, a priori, a priori, a priori, a priori, a priori, a priori, a priori, a priori, a priori, a prior i, a priori, a priori, a priori, a priori, a priori, a priori, a priori, a priori, a priori, a priori, a priori, a priori, a priori, a priori, a priori, a priori, a priori, a priori, a priori, a priori, a priori, a priori, a priori, a priori, a prior
A capacidade de enchimento varia em funcao do numero de prateleiras a utiliser.
Aconsehamo-lo a utiliser preocupos calços demadeira para imobilizar completeness as garrafas.
Modelo porta macía:
Disposicao tipo com 4 prateleiras = 166 gfas
Disposicao tipo com 3 prateleiras = 173 gfas


Modelo porta de vidro:
Disposicao tipo com 5 prateleiras = 155 gfas
Disposicao tipo com 4 prateleiras = 166 gfas


Modularidade da disposicao
A sua Cave de Vinhos foi concebida com o intuito de fazer a arrumacao das suas garrafas, podendo ajustar a disposicao à sua conveniencia.
Poderá adquirir prateleiras adcionais jusqu do seu revendedor ou jusqu do Servico Pós-venida da sua area.


A parte frontal das prateleiras está prevista para a aposicao de etiquetas, fornecidas juntamente com o Guia de Utilização e de Instalação. Como são reutilizáveis, aconselhoamento-a utilizes um lápis "tipobou BB" ou uma caneta de feltro apagável comágua para poder escrever novamente nelas.
Poderá también adquirir novas etiquetas+junto do seu revendedor ou jusquodo Servico Pós-venda da sua area.
Na sua configuração com um maior de 9 prateleiras, a sua entrega é de 121 gfas.

Este registo encontrar-se fixado no interior da contra-porte da Cave de Vinhos, permitindo-lhe uma gestão simples e rápida da mesma.
Aabela das milésimas épresentada a tituloindicativo e apenas sugere medias. Desta forma, um determinado vinho de um ano medico poderá revelar-se um excelente vinho.
L'Air Pur Pack "O Neutralizador de cheiros"
O disposito do neutralizar de cheiros content um gel especialico e um过滤 de carvao activo, permitindo neutralizar os cheiros e purificar o ar da sua Cave de Vinhos.
O cartucho tem uma coisa de longa duração.
Primeira'utilisation:
- Levante o cartucho para soltá-lo do seu apoio.
- Retire a Pellicula de plástico.
- Coloque novamente o cartucho no respectivo apoio na sua Cave de Vinhos.
Renovação do cartucho:
- Quando já não for possível ver gel na parte frontal do cartucho,deerá
proceder à sua substituição.
- Podera adquirir recargas sob a referencia 42X0087, jusqu do seu revendedor habitual ou jusqu do Servico Pós-vinga da sua area (ver coordenadas no final do Guia).

Limpeza do seu electrodomístico
Antes de efectuar qualquer的操作ao de manutencao,desligue o seu electrodomestico da corrente elcctrica.Nao puxe o cabo de alimentacao - retire-opuxando a ficha.
Limpe o interior e o exterior do seu electrodométrico com bicarbonato de sódio dissolvido em água (1 colher de soba para 4 litres de agua). Não utilize alcool, pos abrasivos ou detergentes que poderão danificar as superfícies.
Não utilize aparehos de limpeza com jacto de vapor de alta pressão. As altas temperatas do vapor podeção danIFICAR as superfícies e os circuitos electricos, expondo-o a riscos de electrocussão.
Enxague com agua e seque com um pano.
Verifique periodicamente a limpeza

do reservatório de hidratação e proce-
ceda à sua limpeza sempre que
necessário.
Tenha sempre em conta de limpar de vez em quando o condensador que se encontrar na traseira do electrodométrico (ver capítulo "Descrição do seu electrodométrico").
Utilize para esse efeito um pincel seco ou, melhor ainda, um aspirador. Ligue novamente o electrodométrico à corrente electrica e ajuste, se necessário, o termóstato da Cave de Vinhos conforme descririto no capítulo "Regulação da temperatura da sua Cave de Vinhos".
Substituição da lâmpada
- Desligue o electrodoméstico da corrente électrique.
- Desaparafuse a lâmpada e substitua a lâmpada por outra do mesmo Modelo (E14 - 15 WATT max.).

Problemas
Poderão surgir algunos incidentes aquando da utilização do seu electrodométrico. Antes de contactar o Servço Pós-vesta, verifique se não é POSSível soluções nas problemas com base no Guia.
INCIDENTE
Ruidos estranhos
A Cave de Vinhos não se encontrar à temperatura ideal
A luz da Cave de Vinhose está apagada
O electrodométrico não funciona
Perdeu a chave da fechadura
CONSELHO
- verifique a regulação dos pés do electrodométrico e a sua estabilitação;
- certificque-se de que o electrodométrico não está em contacto com a parede;
- verifique se todas as peças amovíveis (reservatório, prateleiras, etc.) está devidamente colocadas;
-
certificque-se de que as garrafas estao correctamente calcadas.
-
verifique se o termostoamento está correto. regularo, conforme descripto no capítilo "Regulacao da temperatura da sua Cave de Vinhos";
-
caso tenha de dispor uma grande quantidade de garrafas na Cave, aguarde que o electrodométrico estabilize a temperatura antes de reajustar o termóstato;
-
assegure-se de que não abre a porta do electrodométricoAMIÉ ou que não a deixa aberta.
-
verifié se o electrodoméstico está correctamente ligado à corrente;
-
certifique-se de que o disjuntor de sua casa não disparou, de que o fusível não saltou ou não está desaatarraxado;
- verifique se a lâmpada não está fundida e consulte o capítilo "Substituição da lâmpada".
Quando a porta fica aberta anormalmente (varios instantos), um protector eletrico apaga a luz do aparelho.
O dispositivo para o functimento normal da iluminação entra r é em service osculos minutos depuis da porta fechar.
- verifique se o electrodomestico está correctamente ligado à corrente;
- certifique-se de que o disjuntor de sua casa não disparou, de que o fusível não saltou ou não está desaatarraxado.
- é possível adquirir um par muito do seu revendedor ou do Servço Pós-vesta da sua area.
Anomalias
| Contacto SPV | Modo Segurarca | ||
| Indicador cor de laranja aceso -único que se encontra aceso | X | X - A regulação da temperatura da sua Cave de Vinhos está avariada. A Cave funciona em modo segurarca, garantindo a conservação da temperatu-ra. | |
| -indicador verde esqueço intermitente | X | X - A regulação detectou uma anomalia numa das sondas de temperatura. A Cave fun-ciona em modo segurarca, garantindo a conservação da temperatura. | |
| -indicador verde direito intermitente | X | ||
| - 3 indicadores verdes intermitentes | - Aguarde até que a tempera-tura estabilize. | ||
| -indicador amarelo aceso e 1 indi-cador verde aceso | - Deite água no reservatório de hidratação. | ||
| Indicadores verde, cor de laranja e amarelo apagados | - Verifique a alimentação elétrica do seu electrodométrico. | ||
Ruidos de funciona normais
RUIDO
Zumbidos
Gorgolejos ou zumbidos ligeiros
Disparos
Ligeiro barulho de fundo
CAUSA
Resultantes do motor. Tais zumbidos podem ser por vezes mais acuentados quando o motor engrena.
Resultantes da circulacao do fluido de refri-geração nas tubuladuras da Cave de Vinhos.
Fazem-se ouvir sempre que o termóstato engrena ou o motor dispara.
O seu electrodométrico está equipado com um ventilador, pelo que o ar que circula no seu interior provoca um ligeiro barulho deudo.
Servico Pós-Venda
As eventuais intervenções a levar a cabo no seu electrodométrico devem ser efectuadas por um profissional certificado e reconhecido pela marca. Aquando do seu contacto, mencione a referencia completeness do seu electrodométrico (modelo, tipo, número de série).
Tais informações encontrar-se na placá sinalétrica localizada no interior da sua Cave de Vinhos, na parte inferior esquerda.

Aquando de uma intervenção de manutenção, Solicite a Utilização
ManualFácil