RADIO LECTEUR CD FERRARI RCD150FE - Radio LEXIBOOK - Free user manual and instructions
Find the device manual for free RADIO LECTEUR CD FERRARI RCD150FE LEXIBOOK in PDF.
User questions about RADIO LECTEUR CD FERRARI RCD150FE LEXIBOOK
0 question about this device. Answer the ones you know or ask your own.
Ask a new question about this device
Download the instructions for your Radio in PDF format for free! Find your manual RADIO LECTEUR CD FERRARI RCD150FE - LEXIBOOK and take your electronic device back in hand. On this page are published all the documents necessary for the use of your device. RADIO LECTEUR CD FERRARI RCD150FE by LEXIBOOK.
USER MANUAL RADIO LECTEUR CD FERRARI RCD150FE LEXIBOOK
RISQUE D'ÉLECTROCUTION NE PAS OUVRIR

MISE EN GARDE: AFIN DE RÉDUIRE LES RISQUES D'ÉLECTROCUTION, NE PAS ENLEVER LE COUVERCLE (NI L'ARRÊRE). NE CONTIENT AUCUNE PIECE POUVANT ÉTRE RÉPARÉE NI REMPLACÉE PAR L'UTILISATEUR. CONFIER TOUTE RÉPARATION À UN TECHNIÇEN QUALIFIÉ.

TENSION DANGEREUSE :
FONCTIONNEMENT SUR LA TENSION CA
The lightning flash with arrowhead symbol within an equilateral triangle is intended to alert the user to the presence of uninsulated dangerous voltage within the product's enclosure that may be of sufficient magnitude to constitute a risk of electric shock to persons.

ATTENTION :
The exclamation point within an equilateral triangle is intended to alert the user to the presence of important operating and maintenance (servicing) instructions in the literature accompanying the appliance.

DANGER :
Invisible and hazardous laser radiation when open and interlock failed or defeated. Avoid direct exposure to beam.
LASER SAFETY: This unit employs a laser. Only qualified service personnel should attempt to service this device due to possible eye injury.
CAUTION: USE OF CONTROLS, ADJUSTMENTS OR PERFORMANCE PROCEDURE HEREIN MAY RESULT IN HAZARDOUS RADIATION EXPOSURE.
SAFETY INSTRUCTIONS
- Read these instructions.
- Keep these instructions.
- Heed all warnings.
- Follow all instructions.
- Do not use this unit near water.
- Clean only with a dry cloth.
- Do not block any ventilation openings. Install in accordance with manufacturer's instructions.
- Do not install near any heat sources such as radiators, heat registers, stoves or other apparatus (including amplifiers) that produce heat.
- Do not defeat the safety purpose of the polarized or grounding-type plug. A polarized plug has two blades with one wider than the other. A grounding-type plug has two blades and a third grounding prong. The wide blade or the third prong are provided for your safety. If the provided plug does not fit into your outlet, consult an electrician for replacement of the obsolete outlet.
- Protect the power cord from being walked on or pinched particularly at plugs, convenience receptacles, and the point where they exit from the unit.
-
Only use attachments/accessories specified by the manufacturer.
-
Unplug this unit during lightning storms or when unused for long periods of time.
- Refer all servicing to qualified service personnel. Servicing is required when the unit has been damaged in any way, such as the following: the power-supply cord or plug has been damaged; liquid has been spilled or objects have fallen into the unit; and/or the unit has been exposed to rain or moisture, does not operate normally, has changed its performance or has been dropped.
- This unit should not be exposed to dripping or splashing water and no object filled with liquids such as vases should be placed on the unit.
- Do not overload wall outlet. Use only power source as indicated.
- Use replacement parts as specified by the manufacturer.
- The product may be mounted to a wall only if recommended by the manufacturer.
- Upon completion of any service or repairs to this product, ask the service technician to perform safety checks.
PROTECT YOUR FURNITURE
This model is equipped with non-skid rubber "feet" to prevent the product from moving when you operate the controls. These "feet" are made from non-migrating rubber material specially formulated to avoid leaving any marks or stains on your furniture. However certain types of oil based furniture polishes, wood preservatives or cleaning sprays may cause the rubber "feet" to soften and leave marks or a rubber residue on your furniture.
To prevent any damage to your furniture, we strongly recommend that you purchase small self-adhesive felt pads, available at hardware stores and home improvement centers everywhere, and apply these pads to the bottom of the rubber "feet" before you place the product on fine wooden furniture.
NOTES:
- Please avoid using this unit in places of high temperature or humidity over prolonged periods of time as damage may occur.
- Exposure to direct sunlight in places such as car interiors may cause the unit to become warped and/or lead to malfunctioning.
- Avoid using or storing this unit in dusty or sandy locations.
PREPARATION FOR USE
GETTING STARTED
- Operate controls and switches as described in the manual.
- Before turning on the power, make certain that the AC Power cord is properly installed.
- Store your CDs in a cool area to avoid damage from heat.
- When moving the unit, be sure to first disconnect the AC Power cord.
UNPACKING AND SET UP
- Carefully remove the main unit and the AC Power cords from the display carton. Remove all the packing material from the unit. Remove any decorative or descriptive labels from the front or top of the cabinet. Do not remove any labels from the back or bottom of the cabinet.
- Carefully remove any small strips of tape that may have been used to prevent the CD door from opening in transit.
- Unwind the AC Power cord and extend it to its full length.
- This unit was shipped with a dummy CD transit card in the CD player.
This dummy CD prevents the laser pick up from moving during shipment.
This card must be removed before you can insert your own CDs. Lift the CD Door OPEN Tab to open the CD door. Carefully remove the dummy CD from the player and discard it. Close the CD door.
- Place the unit on a flat, level surface such as a table, desk, counter, shelf, etc, convenient to a 230V 50Hz AC outlet, out of direct sunlight, and away from sources of excess heat, dust, moisture, or strong magnetic fields.
LOCATION OF CONTROLS

Front and back views

- STOP (■) button
- SKIP/SEARCH button
3.PROG.button - Left speakers
- Magic button
- LCD display with FM ST. (FM stereo) indicator
- PLAY/PAUSE button
-
SKIP/SEARCH button
-
REPEAT button
- CD compartment door
- Right speakers
- Power indicator
- Battery compartment
- FM telescopic antenna
- AC power jack
Left side view

HSITON
- Carrying handle
- FUNCTION (AUX/RADIO/ CD/OFF) switch
- HEADPHONE jack
- AUX IN jack
- VOLUME control
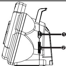
Right side view

- BAND (AM/FM/FM ST.) switch
- TUNING control
POWER SOURCES
This Radio CD Player requires either six (6) "C" size batteries --- (not included) or an AC power cord (included).
BATTERY INSTALLATION
- Remove the Battery Compartment door on the back of the unit by sliding it open.
- Insert six (6) "C" size batteries (not included) according to the polarity diagram inside the Battery Compartment (as shown below). Alkaline batteries are recommended for the longest playing time.
- Replace the Battery Compartment door

- Replacement of batteries must be done by an adult.
- Do not mix old and new batteries.
- Do not mix allcaine, standard (carbon-zinc) or rechargeable (nickel-cadmium) batteries.
- The supply terminals are not to be short-circuited.
- Non-rechargeable batteries are not to be recharged.
- Exhausted batteries are to be removed.
- Only batteries of the equivalent type are to be used.
- Batteries are to be inserted with the correct polarity.
- Dispose of batteries properly.
- Do not dispose of batteries in fire; batteries may explode of leak.
- Do not use rechargeable batteries.
- Rechargeable batteries are to be removed before being charged.
- WARNING: Mal-function or loss of memory may caused by strong frequency interference or electrostatic discharge. Should any abnormal function occurs, remove and reconnect the batteries, or unplug the AC/DC adapter from the mains socket and re-plug it again.
POWER SOURCES (CONTINUED)
AC OPERATION
To operate the unit using AC power, connect the small end of the AC power cord to the AC power jack on the rear of the unit and insert the plug into an AC outlet having 230V AC, 50Hz only. The batteries are automatically disconnected when the AC adapter is used.

CAUTION:
- When not using AC power, disconnect the AC power cord from the wall outlet and from the unit by pulling the plug (not the cord).
- Do not touch the AC power cord with wet hands.
- Fully insert the plug without exposing any part of the blade.
- The socket-outlet shall be installed near the equipment and shall be easily accessible.
OPERATION
Slide the FUNCTION switch to the RADIO position to turn the unit on and select Radio mode; the POWER indicator will light.

(2)
Slide the BAND switch 1 to select AM, FM or FM ST. (Stereo). Tune a desired station by turning the TUNING control 2. NOTES:
- If you select FM ST. and you tune to a FM Stereo station, the FM ST. indicator will light.
- If you are listening to a weak FM Stereo station, you can usually improve the reception by sliding the BAND switch from FM ST. to FM (the sound will now be in mono).

(3)
Adjust the VOLUME control as desired.

(4)
To turn the radio off, slide the FUNCTION switch to the OFF position; the POWER indicator will turn off.
ANTENNAS
AM-AM-This unit has a built-in ferrite rod antenna, which provides adequate reception in most areas. If reception is weak, turn the unit to improve reception.
FM-The FM Telescopic Antenna is for FM reception only. If reception is weak, adjust the length and the angle of the antenna.
OPERATION (CONTINUED)
TO INSERT AND PLAY A CD

①
Slide the FUNCTION switch to the CD position to turn the unit on and select CD mode; the POWER indicator will light.
Open the CD compartment lid by pressing on the CD Door tab. Insert a disc onto the center spindle (label side up) and push down gently to make sure it is securely on the spindle. Close the CD compartment lid.
Insert the headphones (not included) into the HEADPHONE jack or just listen through the speakers.

②
The player will read the Table of Contents and the display will show the total number of tracks on the disc.
Press the PLAY/PAUSE button to begin playback on Track 1; the PLAY/PROG indicator will light.

3
Adjust the VOLUME control as desired.

(4)
To skip forward or backward through the tracks on the disc, press and release the SKIP/SEARCH<1 or >2 button.
To search forward or backward through the disc, press and hold the SKIP/SEARCH 1 or 2 button.
OPERATION (CONTINUED)

Press the PLAY/PAUSE button to pause playback; the track number will blink and the disc will continue to spin.
Press the PLAY/PAUSE button to continue playback; the track number will stop blinking and playback will continue.

When the disc is through playing, it will stop. Press the STOP (■) button to stop the disc before it is finished.

To turn the unit off, slide the FUNCTION switch to the OFF position; the POWER indicator will turn off.
OPERATION (CONTINUED)
CD PLAYBACK NOTES:
- This unit is capable of playing standard CDs or 3" singles; no adapter is required.
- If a disc is inserted incorrectly, dirty, damaged or not present at all, "no" will appear in the display.
- Although this unit can read CD-R and CD-RW discs, in addition to normal CDs, the playability of those discs may be affected by the type of software that was used to create the discs, as well as the blank media you are using. 100% playability cannot be guaranteed. This is not an indication of a problem with this unit.
AUX IN Jack
By using a home audio connection cable (not included), you can listen to an external audio unit through this unit's speakers. Before making any connections, turn off the power to all equipment.
Slide the FUNCTION switch to AUX to turn the unit on and select AUX mode. Plug a connection cable (not included) between the AUX or LINE OUT jack on the external audio unit and this unit's AUX IN jack (side of the unit). (Do not connect it to this unit's HEADPHONE jack.) Turn on the external audio unit and start playback; the external unit's output sound will be heard through this unit's speakers. Rotate the VOLUME control to adjust the volume level as desired.
To turn the unit off, remove the plug from the AUX IN jack, then slide the Function switch to OFF.
OPERATION (CONTINUED)
TO REPEATEDLY PLAY BACK ONE TRACK

While either in CD Stop or Playback mode, press the REPEAT button once; "REP" will flash on the LCD display.

Press the SKIP/SEARCH 1 or 2 button to select a track and press the PLAY/ PAUSE 3 button to start playback and the unit will play the selected track over and over until the STOP (■) 4 button is pressed.
TO REPEATEDLY PLAY BACK ALL TRACKS

While either in CD Stop or Playback mode, press the REPEAT button twice; "REP" is displayed steadily on the LCD screen.

Press the PLAY/PAUSE button to start playback and the unit will then play all the tracks on the CD over and over until the STOP (■) 2 button 2 is pressed.
TO CANCEL OR STOP REPEAT PLAYBACK:
- TO STOP REPEAT PLAYBACK, press the STOP (■) button once.
- TO CANCEL REPEAT PLAYBACK, press several times the REPEAT button until "REP" disappears from the LCD display.
OPERATION (CONTINUED)
TO PROGRAM THE MEMORY (UP TO 20 TRACKS)

While in CD Stop mode, press the PROG. button; "PROG" and "1" (the program number) will blink on the LCD display and "01" (the program number) will blink.

Select the first track to be played back using the SKIP/SEARCH or button, then press the PROG. button again. Repeat this step to program additional tracks (up to 20 tracks).

Press the PLAY/PAUSE button to begin Programmed playback; the PLAY/PROG indicator will blink. Adjust the VOLUME control as desired.

To skip forward or backward through the programs, press the SKIP/SEARCH 山 or 2 button. When the disc is through playing, it will stop.
NOTES:
- Programming is the ability to preselect the order in which a series of tracks will be played.
- Press the REPEAT button twice during Programmed playback to activate Repeat All (all the tracks in the program will repeat continuously); "REP" is displayed steadily on the LCD screen.
- Press the STOP (■) button to stop the disc before it is finished.
- Press the STOP (■) button while in the Stop mode to clear the program.
OPERATION (CONTINUED)

Ferrari has a surprise just for you! Just follow the instructions below and see what you can do with your Magic button!

Press the Magic button on the front of your Radio CD Player.
SURPRISE! You will hear revving a real Ferrari motor!
CARE AND MAINTENANCE
CARING FOR COMPACT DISCS
- Treat the compact disc carefully. Handle the compact disc only by its edges. Never allow your fingers to come in contact with the shiny, unprinted side of the compact disc.
- Do not attach adhesive tape, stickers, etc. to the compact disc label.
- Clean the compact disc periodically with a soft, lint-free, dry cloth. Never use detergents or abrasive cleaners to clean the compact disc. If necessary, use a CD cleaning kit.
- If a disc skips or gets stuck on a section of the compact disc, it is probably
dirty or damaged (scratched).
- When cleaning the compact disc, wipe in straight lines from the center of the compact disc to the outer edge of the compact disc. Never wipe in circular motions.
- This unit is designed to play
only compact discs bearing the identification logo as shown here. Other discs may not conform to the CD standard and may not play properly.
- Compact Discs should be stored in their cases after each use to avoid damage.
- Do not expose compact discs to direct sunlight, high humidity, high temperatures or dust, etc. Prolonged exposure or extreme temperatures can warp the compact disc.
- Do not stick or write anything on either side of the compact disc. Sharp writing instruments, or the ink, may damage the surface.




DIGITAL AUDIO
CARE OF THE CABINET
If the cabinet becomes dusty, wipe it with a soft, dry dust cloth. Do not use any wax, polish sprays or abrasive cleaners on the cabinet.
CAUTION
Never allow any water or other liquids to get inside the unit while cleaning.
TROUBLESHOOTING GUIDE
If you experience a problem with this unit, check the chart below before calling for service.
| SYMPTOM | CAUSE | SOLUTION |
| CD will not play. | FUNCTION switch not set to CD. | Set FUNCTION switch to CD. |
| Disc inserted incorrectly. | Reinsert disc correctly. | |
| AC power cord not connected. | Check AC power cord connection. | |
| CD skips while playing and/or erratic playback. | CD compartment not closed. | Close CD compartment. |
| Disc inserted incorrectly. | Reinsert disc correctly. | |
| Dirty or defective disc. | Try another disc. | |
| Moisture condensation on disc. | Wipe disc with soft cloth. | |
| AM or FM, poor or no sound. | Station is not tuned properly. | Retune the AM or FM broadcast station. |
| FM: Antenna is not properly adjusted. | Reorient FM antenna. | |
| AM: Unit is not positioned correctly. | Rotate unit until best reception is obtained. | |
| FUNCTION switch not set to RADIO. | Set FUNCTION switch to RADIO. | |
| Volume at minimum. | Increase volume. |
WARRANTY
NOTE: Please keep this instruction manual, it contains important information. This product is covered by our two-year warranty. To make use of the warranty or the after-sales service, please contact your retailer and supply proof of purchase. Our warranty covers material or installation-related defects attributable to the manufacturer, with the exception of wear caused by failure to respect the instructions for use or any unauthorised work on the equipment (such as dismantling, exposure to heat or damp, etc.).
LEXIBOOK UK Ltd, Unit 10 Petersfield Industrial Estate, Bedford Road, Petersfield, Hampshire, GU32 3QA, United Kingdom, Helpline: 0808 100 3015, http://www.lexibook.com
©2009 LEXIBOOK®
©2009 Ferrari S.p.A

Environmental Protection
Unwanted electrical appliances can be recycled and should not be discarded along with regular household waste! Please actively support the conservation of resources and help protect the environment by returning this appliance to a collection centre (if available).

EasyManual