RADIO LECTEUR CD FERRARI RCD150FE - Radio LEXIBOOK - Manual de uso y guía de instrucciones gratis
Encuentra gratis el manual del aparato RADIO LECTEUR CD FERRARI RCD150FE LEXIBOOK en formato PDF.
| Tipo de producto | Radio reproductor de CD |
| Marca | LEXIBOOK |
| Modelo | RCD150FE |
| Diseño | Tema Ferrari |
| Alimentación eléctrica | Sector y batería |
| Tipo de batería | AA (no incluidas) |
| Dimensiones aproximadas | 25 x 20 x 10 cm |
| Peso | 1,2 kg |
| Compatibilidades | CD, CD-R, CD-RW |
| Funciones principales | Reproducción de CD, radio FM, entrada AUX |
| Mantenimiento y limpieza | Limpiar con un paño suave, no utilizar productos abrasivos |
| Piezas de repuesto y reparabilidad | Disponibilidad limitada, verificar con el fabricante |
| Seguridad | No exponer al agua, usar sobre una superficie estable |
| Información general | Producto destinado a uso doméstico, ideal para los fanáticos de Ferrari |
Preguntas frecuentes - RADIO LECTEUR CD FERRARI RCD150FE LEXIBOOK
Preguntas de los usuarios sobre RADIO LECTEUR CD FERRARI RCD150FE LEXIBOOK
0 pregunta sobre este aparato. Responde a las que conoces o haz la tuya.
Hacer una nueva pregunta sobre este aparato
Descarga las instrucciones para tu Radio en formato PDF gratis! Encuentra tus instrucciones RADIO LECTEUR CD FERRARI RCD150FE - LEXIBOOK y toma tu dispositivo electrónico nuevamente en la mano. En esta página están publicados todos los documentos necesarios para el uso de su dispositivo. RADIO LECTEUR CD FERRARI RCD150FE de la marca LEXIBOOK.
MANUAL DE USUARIO RADIO LECTEUR CD FERRARI RCD150FE LEXIBOOK
PRECAUCIONES DE SEGURIDAD


CAUTION
RIESGO DE DESCARGA
ELECTrica
NO ABRIR
PRECAUCION:
PARA REDUCIR EL RIESGO DE DESCARGA ELECTRICA, NO RETIRE LA CUBIERTA (O PARTE TRASERA). NO HAY PIEZAS EN EL INTERIOR SUSCEPTIBLES DE SER MANIPULADAS POR EL USUARIO. EN CASO DE AVERIA, SOLICITE ASISTENCIA TECNICA DE PERSONAL CUALIFICADO.

TENSION PELIGROSA:
El símbolo del rayo dentro de un triángulo equilátero, advierte al usuario de la presencia de tensiones peligrosas, sin aisliento, en el interior del equipo, que pueda ser de magnitud suficiente como para constituir un riesgo de descarga electrica para las personas.

ATENCIón:
El signo de exclamacion bajo de un triangulo equilatero advierte al usuario de la existencia de instrucciones importantes de mantenimiento (revision) y funciona en la literatura que acomaña al equipo.

PELIGRO:
Radiación láser invisible y peligrosa si se abre el equipo con el bloqueo de seguridad defectuoso o anulado este. Evite la exposión directa al rayo láser.
SEGURIDAD LÁSER:Estaunidademployaunlaser.Solamente personal de reparacióncualificadodebiteintentarrepairastequipment,yaquehaypeligode dañoalosojos.
PRECAUCION: EL USO DE CONTROLES, AJUSTES O PROCEDIMIENTOS DE FUNCIONAMIENTO NO DESCRIPTOS AQUI, PUEDEN RESULTAR EN UNA EXPOSICION A LA RADIACION PELIGrosA.
INSTRUCCIONES DE SEGURIDAD
- Lea estas instrucciones.
- Guarde estas instrucciones.
- Respete todas las advertencias.
- Siga todas las instrucciones.
- No utilise este equipo cerca de agua.
- Límpielo únicamente con un pañó humedo.
- No bloqueyinguna abertura de ventilacion.Instalelo sugiendo las instrucciones del fabricante.
- El producto debe colocarse apartado de fuentes de calor, como radiadores, calentadores, estufas uothers productos (incluyendo amplificadores) que generen calor.
- No anule la funciona de seguidad del enchufe polarizado o de tipo con toma de tierra. Un enchufe polarizado tiene dos connectores planos, uno más ancho que el除外. Un enchufe con toma de tierra tiene dos connectores más una tercera Borna para tierra. El conductor plano más ancho o la tercera Borna se proportionsionan para su seguridad. Si el enchufe suministrado no encaja en su enchufe de red, consulte con un electricista para que sustituya el enchufe de tipo obsoleto.
-
Proteja el cable de alimentacion para evacitar que se pise o se pille, particularmente en las zonas de los enchufes, enchufes auxiliares y en el lugar por el que sale el cable del equipo.
-
Utilice uniquamente los complementos o accesosesionespecified por el fabricante.
- Desenchufe este equipo durante las tormentas electricas o cuando no se vaya a utiliser durante un periodo很长时间.
- Confie todas las reparaciones a personal de reparaciónriallicidente. Es necessitiesa la reparacion de la calidad cuando hayasufridoequalquier daño, como lossiguientes:el cable de alimentacionha sido dañado;ha caido agua oalgún objecto al interior del equipo;launity hade estado expuesta atla lluvia o a la humedad,nofunciona normalmente,se ha Modificationsusurvionamenteo se ha caido.
- No exponga el equipo a goteras o salpicaduras, y no colque sobre el objetivos con liquidos, como por ejemplo vasos.
- No sobrecargue el enchufe de red de la pared. Utilice solo una alimentacion electrica con las caracteristicas indicadas.
- Utilice las piezas de recambio asignificadas por el fabricante.
- El producto puede montarse en una pared solo cuando as lo recomienda el fabricante
- Después de que se realice
cualquier inspeccion o reparación a
este producto, Solicite al service
técnico que realice las
comprobaciones de seguridad.
PROTEJA SUS MUEBLES
Este Modelo está equipado con "pies" de goma antideslizante para evitar que launidad seazaar cuando管理和le los controlles. Esto "pies"están fabricados con un material de goma no migratorio formulado especialmente para evitar partiras o manchas en sus muebles. Sin embargo, cierto tipo de ceras para muebles, conservantes de la madera o sprays de limpieza, que utilizean aceites, poder hacer que los "pies" de goma se ablenden y deben MARCAS o un residuo de goma en el mueble. Para evaporarrialquier daño a los muebles, le aconsejamos vivamente que adequiera微量元素 piezas de fielro autoadhesivo, disponibles en ferreterias y en tiendas bricolaje o de articulos para el hogar, y colque las piezas en la parte inferior de los "pies" de goma antes de colocar launidad sobre um mueble de madera de calidad.
NOTAS:
- Evite utilizar este equipo en Lugares con alta temperatura o humedad durante periodos de tiempo prolongados, ya que pueda sufir daños.
- La exposión a la luz directa del sol en Lugares como el interior de un vehúculo,SEO, ySEO, ySEO, ySEO, ySEO, ySEO, ySEO, ySEO, ySEO, ySEO, ySEO, ySEO, ySEO, ySEO, ySEO, ySEO, ySEO, ySEO, ySEO, ySEO, ySEO, ySEO, ySEO, ySEO, ySEO, ySEO, ySEO, ySEO, ySEO, ySEO, ySEO, ySEO, ySEO, ySEO, yseo, yseo, yseo, yseo, yseo, yseo, yseo, yseo, yseo, yseo, yseo, yseo, yseo, yseo, yseo, yseo, yseo, yseo, yseo, yseo, yseo, yseo, yseo, yseo, yseo, yseo, yseo, yseo, yseo, yseo, yseo, yseo, yseo, yseo
- Evite utiliser el equipo durante tormentas o en lugarares con mucho polvo o con arena.
PREPARACION PARA EL USO
PREPARACION DE LA UNIDAD
- Maneje los controlles e interruptores de la unidad tal como se especifica en este manual.
- Antes de encender la unidad, asegúrese de que el cable de alimentación de red CA está correctamente instalado.
- Almacene sus discos CD en un lugar fresco para evaporar que se estropeen con el calor.
- Cuando traslade el equipo, asegürese de disconnectar primero el cable de red CA.
DESEMBALADO Y PUESTA A PUNTO
- Retire con cuidado la unidad principal y los cables de alimentacion CA de la pantalla. Retire del equipo todo el material del embalaje. Retirerialquier etiqueta descriptiva o decorativa de la parte frontal o de la parte superior de la carcasa. No quite las etiquetas situadas en las superficies posterior o inferior de la carcasa.
- Retire con cuidado las��encias cintas de plastico que pueda haberse utilisé para evitar que se abra la puerta de la unidad CD durante el traslado.
- Desenrolle el cable de alimentacion de red CA y extiendalo en toda su longitud.
- Launidad se suministra con un CD simulado introducido en el reproductor de CD para su transporte. Este CD simulado evita que el lector láser se mueva durante el traslado de lainstitution. Este CD debe retirarse antes de introducir cualquier CD real. Levante la lengüeta de aperture del CD para estar el compartmento del CD. Retire con cuidado el CD simulado de lainstitution reproductora y desechelo. Cierre la puerta del CD.
- Coloque la unidad en una superficie lisa, como una mesa, escritorio,esorador, estanteria, etc. proxima a un enchufe de pared de 230 VCA, 50Hz apartado de la luz directa del sol, y lejos de fuentes de calor excessivo, de polvo, humedad o Campos magnéticos fuertes.
SITUACION DE LOS CONTROLES

Vistas frontal y trasera

- Botón STOP [PARO]
- Botón SKIP/SEARCH [SALTAR/BUSCAR]
- Botón PROG
- Altavoces izquierdos
- Botón magico
- Pantalla LCD con indicator FM ST (FM estreo)
-
Boto n PLAY/PAUSE H[REPRODUCIR/ PAUSA]
-
Botón SKIP/SEARCH [SALTAR/BUSCAR]
- Botón REPEAT [REPETIR]
- Compartimento del CD
- Altavocesarethos
- Indicador de encendido
- Compartimento de las pilas
- Antena telescopia de FM
- Conector de red electrica CA
Vista del lateral izquierdo

- Asa de transporte
- Interruptor de FUNCION (AUX/RADIO/ OFF/CD)
- Conector auriculares
- Conector AUX IN (entrada de audio)
- Control de volumen
Vista del lateral derecho

- Conmutador de banda (AM/FM/FM ST.)
- Mando de SINTONIZACION
ALIMENTACION ELECTRICA
Este Radio reproductor de CD funciona con.SEIS (6) pilas de tamaño C = (no incluidas) o bien con el cable de connexion a la red electrica CA (incluido).
INSTALACION DE LAS PILAS
- Retira la tapa del compartmento de las pilas, situado en la parte trasera de la unidad, deslizándola.
- Introducir theirs (6) pilasullan C (no incluidas) en la posicion adecuada de acuerdo con las MARCAS de polaridad que se muestran en el interior del compartmento de las pilas (ver mas abajo). Para una mayor duracion, se recomienda utilizing pilas alcalinas.
- Vuelva a colocar la puerta del compartmento de las pilas.

No实用性 pilas recargables en este equipo. No intente nunca recargar pilas no recargables; pararegar las pilas recargables, antes retirelvas del juguete; las pilas recargables deben recargarse cuando bajo la supervision de un adulto; no mezque pilas de tipo[o], o pilas新浪微博 con pilas usadas; utilise uniquamente pilas del tipo recommendado o equivalentes; colocar siempre las pilas en la positionscorrecta, de accurate con la polaridad indicada en el compartmento; retire del juguete las pilas gastadas; no permitta que entren en contacto el electrico los terminales de la alimentacion. Si prevé que el juguete no va a utiliser durante un periodo长大o de tiempo, retire las pilas. Cuando el sonido se hace débil o el juego no responde adecad平台上señal de que debe sustituir las pilas.
ADVERTENCIA: Interferencias fuertes de sefales de radio o descargas electrostáticas能把 provocar un mal funciona en launidad o que se piada el contenido de la memoria. En caso de que se produzca un funciona anomal, reinicia la�性 o retire y vuela a colocar las pilas, o desenchufe el adaptorado CA/CC de la toma de red y vuela a enchufarlo de nuevo.
ALIMENTACION ELECTRICA (CONTINUACION)
Para hacer functional el equipo con la red electrica CA, conectar el extremo pequeño del cable CA al conector de CA situado en la parte posterior de la unidad, y enchufar el除外 extremo del cable a un enchufe de pared de 230 VCA, 50Hz . Las pilas quejan desconnectadas automatistically cuando se utilizes la connexion de red CA.

NOTA: El enchufe CA suministrado está polarizzato para minimizar el riesgo de descarga electrica. Si el enchufe CA no encaja en el enchufe CA no polarizzato, no lime o corte la hoja ancha. Es responsabilidad del usuario hacer que un electricista sustituya el enchufe obsoleto.
PRECAUCION:
- Cuando no se esté'utilizing la alimentación CA, desconecte el enchufe de la pared y de la unidad tirando del enchufe (no del cable).
- No toque el cable de red CA con las manos humedes.
- Introduzca el enchufe Completely, de manière que no queden partes de las clavijas expuestos.
- El enchufe de redDebe estar colocado cerca del equipo y deben ser fácilmente accesible.
FUNCTIONAMENTO
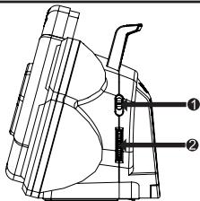
PARA ESCUCHAR LA RADIO

①
Desplaza el interruptor FUNCION a la posicion RADIO para encender el equipo y seleccionar el modo de radio; se iluminará elindicador de encendido.

②
Desplaza el selector de BANDA 1 para selectionar AM, FM o FM ST. (estereo). Sintoniza la emisora de radio desaeda girando del mando de sintonacion 2. NOTES:
Si seleccionas FM ST.y la emisora seleccionada emite en estreo, se iluminara el indicador FM ST.
- Si la sefal recibida de la emisora es débil, pueda hacer mayor lareichación desplazando el selector de banda de la posición FM ST. a la posición FM (la emisora se irae en modo mono).

(3)
Ajusta el control de volumen a tu gusto.

(4)
Para pagar la_radio, desplaza el interruptor de referencia a la posicion OFF; el indicator de encendido seagarardo.
ANTENNAS
AM-Esta unidad incorpora una antenna de nucleo de ferrita que proportionscna una��acion adecuada en la mayoria de las zonas. Si la��acion es debil, gira el equipo hasta Obtener una signal clara. FM-La antenna telescopica es uniquamente para��acion de FM. Si la��acion es debil, ajusta la longitudinal y orientacion de la antenna.
OPERACION (CONTINUACION)
PARA INTRODUCIR Y REPRODUCIR UN CD

①
Desplaza el interruptor de referencia a la posicion CD para seleccionar el modo CD; se iluminara el indicator de encendido.
Abre el compartmento del CD pulsando sobre la tapa del compartmento. Introduce un disco en el eje central (la &,qa, hacia ariba) y empujalo suavamente hacía bajo para asegurar que se encaja en el eje.
Cierra la tapa del compartmento del CD.
Conecta los auriculares a su conector o escucha simplemente a través de los altavoces.

②
El reproductor leara el contenido del disco y mostraré en la pantalla el número total de pistas que hay en el disco.
Pulsa el boton PLAY/PAUSE para comenar la reproduccion.

(3)
Ajusta el volumen a tu gusto.

(4)
Para saltar hacer delante o hacer atras por las distinas pistas, pulsa y sueita el boton SKIP/SEARCH 10
Para buscar hacía delante o hacía atrás por el disco, mantén pulsado el botón SKIP/SEARCH SEARCH « 0 > 0
OPERACION (CONTINUACION)

Pulsa el boton PLAY/PAUSE para hacer una puna en la reproduccion; se做不到 el tiempo transcurrido parpadaendo y el discocontinuara girando. Pulsa de nuevo el boton PLAY/PAUSE paraContinuar la reproduccion; el tiempo transcurridodefer a parpadaear y la reproduccion continua.

Cuando se haya reproducido el disco en su totalidad, el equipo se detendra. Puedes pulsar el botón STOP (■) para detener lo在哪等因素。

Para pagar el equipo, coloca el interruptor de referencia en la posicion OFF; el indicator de encendido se apagará.
OPERACION (CONTINUACION)
NOTAS SOBRE LA REPRODUCCION DE DISCOS CD:
-Estaunidadpuede reproducirdiscosCDestándar o sencillosde 3 ^ ,no se necesita adaptador.
- Si se introduce un disco Incorrectamente o si está dañado o suecio, o en caso de que se inteente reproducir sin estar el disco introducido, se做不到a en la pantalla "no".
- Àunque este equipo pueda leer discos CD-R y CD-RW,adelmás de los discos CD normales, la reproducción de este tipo de discos puede verse afectado por el tipo de software utilizado para create los discos, asi como por el tipo de disco que se está utilisé. No se garantiza al 100% que pueda ser reproducedos. Esto no indica que exista un problema con el equipo.
Entrada AUX IN
Utilizando un conector de audio domestico (no incluido), pueda escharar a工程技术 de los altavoces del equipo el sonido de unaunidad externa.
Antes de realizar cualquier connexion, apaga todos los equipos.
Desplaza el interruptor de funciona a la posicion AUX para encender el equipo y eschar el sonido del equipo externo. Conecta un cable de audio (no incluido) entre el conector AUX IN (lateral de la unidad) y el conceptor AUX o LINE OUT del equipo externo. (No lo conectes al conedor para auricularles de este equipo.) Enciende el equipo externo y haz que comienza aroducirir el sonido; el sonido se ira a工程技术 de los altovoces del equipo. Gira el control de volumen para ajustarlo a tu gusto.
Para apagar la unidad, retina el conductor de la entrada AUX IN y colocarlouego el interruptor de funciona en la posicion OFF.
OPERACION (CONTINUACION)
PARA REPRODUCIR UNA PISTA REPETIDAMENTE

Minternas estás en modo de reproducción o en modo parada, pulsa una vez el botón REPEAT; en la pantalla parpadeará la indicación "REP".

Pulsa el botón SKIP/SEARCH ①ó ② para selección una pista y pulsa >luego o botón PLAY/PAUSE ③ para comenzar la reproduccion: el equipo comenzará a reproducir esta pista de forma repetita hasta que pulses el botón STOP ④.
PARA REPRODUCIR TODAS LAS PISTAS REPETIDAMENTE

Minternas está en modo de reproducción o en modo parada, pulsa el botón REPEAT dos veces; en la pantalla LCD se做不到a fjía la indicación "REP".

Pulsa el boton PLAY/PAUSE para comenzar la reproduccion y el equipo comenzar a producir todas las pistas de forma repetida hasta que pulses el boton STOP
PARADETENERO CANCELAR EL MODO REPETICION:
- PARA DETENER LA REPETICION, pulsa una vez el botón STOP (■).
- PARA CANCELAR LA REPETICION, pulsa varias vezes el botón REPEAT hasta que desaparezca de la pantalla LCD laadicnacion "REP".
OPERACION (CONTINUACION)
PARA PROGRAMAR LA MEMORIA (HASTA 20 PISTAS)

Mientossteads en modo parada, pulsa el botón PROG; en la pantalla parpadeará “PROG” y “1” (el número de programa).

Selección la prima pista que quieres reproducir utilizing el botón SKIP/SEARCH 10>>2, y pulsa bajo el botón PROG. de nuevo.
Repilte esteayo para programar más pistas (hasta 20 pistas).

Pulsa el botón PLAY/PAUSA para comenzar la reproducción programada. Ajusta el volumen según sus preferencias.

Para saltar hacer delante o hacía más por las pistas programadas utiliza los botones SKIP/ SEARCH ① ②. Cuando se hayan reproducido todas las pistas, el disco se detendra.
NOTAS:
- El modo de programación te permitte seleccionar el order en que se va aREENCRUNA SE DEL PISTAS.
- Pulsa dos vezes el botón REPEAT durante la reproducción programada para activar el modo "Repetir todo" (se producirán continually todas las pistas del programa); en la pantalla LCD se做不到 de forma fija laadicidía"REP".
- Pulsa el botón STOP (■) para detener el disco antes de terminar.
- Si pulsas el botón STOP (■) estando en modo paro, se borrará la programación.
OPERACION (CONTINUACION)

Ferrari tiene una sorpresa reservada para tic! Simplemente sugia las instrucciones más abajo y descubre lo que你可以 hacer con el botón botón magico!

Pulsa el botón magico situado en la parte frontal de tu Radio reproductor de CD.
jSORPRESA! jOirás el sonido realista de un auténtico motor Ferrari!
- Trata con cuidado los discos compactos.
Sostén los discos sólo por sus bordes. Nunca dejes que tus dedosOOTEN en contacto con la superficie brillante, en la cara no impresa del disco compacto. - No coloques cinta adhesiva, pegatinas, etc. sobre la etiqueta del disco compasto.
- Limpia el disco compacto periodically con un paño suave, seco y sin pelusa. Nunca uses detergentes limpiadores o abrasivos para limiar el disco compaco. Si esnecessary, usa un kit de limpieza de discos CD.
- Si un disco salute o se queda repitiendo unaquia parte, probablemente
estésucio o dañado (rayado).
- Al limpiar el disco compacto, frota en linea recta desde el centro del disco hacel borde.Nunca frotes con movimiento circular.
- Este equipo está Diseñado
para reproducir solo discos que lleven el logotipo de identificacion que se muestra aqui. Otros discs peuvent no ser conformes con el estandar de CD y no ser reproduccios correctamente.
- Los discos compactos deben almacenarse en sus estuches antes de su uso para evaporar que se han.
- No expongas el disco a la luz directa del sol, a altas temperatas, a la humedad, al polvo, etc. La exposión prolongada a temperatas extremas puede hacer que se deforme el disco.
- No pegues ni writesas nada en ninguna de las caras de los discos compactos. Los instrumentos aflilados, o la tinta, puede darñar la superficie.

CUIDADO DE LA CARCASA
Si la carca coma cumula polvo, limpiala con un trapo suave y seco. No utilices cera, sprays abrillantadores o detergentes abrasivos sobre la carca.
PRECAUCION
Nunca dejes que entre agua u other liquido en el interior del equipo cuando lo limpias.
GUIA PARA RESOLUCION DE PROBLEMAS
Si Tieneis algo n problema con el equipo, antes de mandarlo a reparar comprueba la?siguesta tabla.
| SINTOMA | CAUSA | SOLUCION |
| No se reproduce el CD. | El interruptor de funciona no está en la posición CD,. | Colocar interruptor de funciona en CD. |
| Disco Incorrectamente insertado. | Colocar correctamente el disco. | |
| Cable de red CA no connectado. | Comprobar la connexion del cable de red CA. | |
| El CD salta o se reproduce de manière errática. | Compartmentio del CD abierto. | Cerrar el compartmentio del CD. |
| Disco Incorrectamente colocado. | Colocar correctamente el disco. | |
| Disco sucio o defectuoso. | Intentar con otro disco. | |
| Humedad, condensacion en el disco. | Limpiar el disco con un paño suave. | |
| Poco o ningún sonido con AM o FM. | Emisora no sintonizada correctamente. | Volver a sintonizar la emisora de radio. |
| FM: Antena no ajustada correctamente. | Reorientar la antenna de FM. | |
| AM: Unidad no positionala correctamente. | Girar el equipo hasta Obtener la optima recepcion. | |
| El interruptor de funciona no está en posición RADIO. | Colocar el interruptor de funciona en RADIO. | |
| Volumes al minimo. | Aumentar el volumen. |
GARANTIA
Este produit está cubierto por nuestra garantía de dos años. Para hacer uso de esta garantía o del serviceo post-venta, debe de dirigirse al lugar de comprar provisto con la prueba de haber realizado la misma. Nuestra garantía cubre los vicios de material o del montaje imputable al fabricante con la exclusión de cadaquier deterioro proveniente del no respeto del modo de uso o de la intervencion inadequada sobre el articulo (tales como desmontaje, exposión al calor o a la humedad...). Se recomienda conservar el embalaje para cadaquier referencia futura. Guarde este manual de instrucciones en un lugar seguro, ya que contiene información importante. El contenido de estemanual está sueto a Cambios sin previo aviso. No pourrait reproducirseonga parte de este manual, en ninguna forma, sin la previa autorización por escrito del fabricante.
©2009 LEXIBOOK®
©2009 Ferrari S.p.A
Lexibook Ibérica S.L, C/ de las Hileras 4, 4^ dpcho 14, 28013 Madrid, España
Servicio consumadores: 902 102 191. http://www.lexibook.com
CE
Advertencia para la proteccion del medio ambiente
jLos aparatos electricos desechados son reciclables y no deben ser eliminados en la basura domestica! Por ese pedimos que nos ayude a contribuir activamente en el ahorro de recursos y en la proteccion del medio ambiente entregando this aparoa en los centroids de colection (si existen).

LOCALIZAZO DOS CONTROS
Desplaza el interruptor de referencia a la posicón CD para selección el modo CD; se iluminará el indicator de encendido.
Abra a tampa do compartmento do CD premindo a porta do CD. Introduce un disco en el eje central (la etiqueta hacía arrivara) y empújalo suavamente hacer abajo para asegurar que se encaja en el eje.
Cierra la tapa del compartmento del CD.
Conecta los auriculares a su conector o eschua simplemente a través de los altavoces.

OPERACION (CONTINUACION)

- Trate os CDs com cuidado. Secure-os apenas pelas extremidades. Nunca permita que os seu dedos entremem em contacto com o lado brilhante sem impressao do CD.
- Não cole fita adesiva, autocolantes, etc. na etiqueta do CD.
- Se um disco saltar ou ficar preso numa secção do CD, é capaz de estar sujo ou danificado (riscado).
- Quando limpar o CD, limpe em linhas a direito, a partir do centro do CD até à extremidade exterior. Nunca limpe em movimento rotativos.
- España: la Argentina, el Chile, el México, el México del Sur, el México del Osteón, el México del Osteólico, el México del Osteólico del Sud, el México del Osteólico del Sud, el México del Osteólico del Sud, el México del Osteólico del Sud, el México del Osteólico del Sud, el México del Osteólico del Sud, el México del Osteólico del Sud, el México del Osteólico del Sud, el México del Osteólico del Sud, el México del Osteólico del Sud, el México del Osteólico del Sardán, el México del Osteólico del Sardán, el México del Osteólico del Sardán, el México del Osteólico del Sardán, el México del Osteólico del Sardán, el México del Osteólico del Sardán, el México del Osteólico del Sardán, el México del Osteólico del Sardán, el México del Osteólico del Sardán, el México de las Américas y Andes.
OPERACION (CONTINUACION)

ManualFácil