HDR-PJ660 - βιντεοκάμερα SONY - Δωρεάν εγχειρίδιο χρήσης
Βρείτε δωρεάν το εγχειρίδιο της συσκευής HDR-PJ660 SONY σε μορφή PDF.
Ερωτήσεις χρηστών για HDR-PJ660 SONY
0 ερώτηση για αυτή τη συσκευή. Απαντήστε σε αυτές που γνωρίζετε ή κάντε τη δική σας.
Κάντε μια νέα ερώτηση σχετικά με αυτή τη συσκευή
Κατεβάστε τις οδηγίες για το βιντεοκάμερα σε μορφή PDF δωρεάν! Βρείτε το εγχειρίδιό σας HDR-PJ660 - SONY και πάρτε ξανά την ηλεκτρονική σας συσκευή στα χέρια σας. Σε αυτή τη σελίδα δημοσιεύονται όλα τα έγγραφα που απαιτούνται για τη χρήση της συσκευής σας. HDR-PJ660 της μάρκας SONY.
ΕΓΧΕΙΡΊΔΙΟ ΧΡΉΣΗΣ HDR-PJ660 SONY
Σημειωη για τηλεκτρικό καλώδιο
To p i kaWdoEivai OeiaOevo EiDikyaXpnoIe auTn TbiVTeokapea Movo kai dev 0a npéei va xpoioieita Ue aAlo nKekpiko Eoiano.
H vπερβολικήνητική πεση από
akovostiká μπορείνα προκαλέσει απωλεία
aκοής.
TIA PIIATESE ΣTHN EYPQNTH
CE
Me npaoo a Sony Corporation e i ori n ynqiaik bivteokapea HD
HDR-PJ650VE ovmuopwpwvetaipoc tnc
ouwdeic anaiirnoeic kai tic loiiec oxetikec
diataxi cns odnyiac 1999/5/EK..Iia
Aeioptoeie papaokaovme otwoelevte
tnyakovt oelida tov diaidictvov:
http://www.compliance.sony.de/
Σημειωη για touc πελάτες στιχώρες που οχύουνοιοι δόγηες τής E.E.
Auro to npoiov exi kataokevaotei ano yia loyapiao ncsony Corporation, 1-7-1 Konan Minato-ku ToKuo, 108-0075 Iaowvia. Epwntnoic oxetikae Tnv oumopwponTov npoiovtoc wpcTn voiothetaia Tc Evpwaiknc Evwoc Taovgouioodotnevo eKnpoosOmy Deutschland GmbH, Hedelfinger Strasse 61, 70327 TovryapdN, Epuavia. Ia onoiohnoTe hma vnootipnEns n yyyunons Tov npoiovtoc, napakaawavatpeate otic diuvvovoei nov npexovtai Ota edika eyypapa vnoottniEnc n yyyunons.
To pioiov auo _E 1eAeYXei kai eXei
BpeOei otu omuopawetau ie ta opia
ouk aotopiocvtai ano tov kavovioq
nepi nKtpoayvnytikc oubetaotntac
yia xipn kaawdiow ouv6eon mukovc
mkiptoepov ao3 uTpa98oia.
Ppoooxn
Ta nλεκτρομαγνητικα πεδίσις συγκεριμένες συχόντητες ενδέχεταιν επηρεάσουν τήν εικόνα και τον ἡχο τής μονάδας.
Σημειωη
Σε πεπτωπον διακοει έι διαδικαίασia
μεταφοράς δεδομένων (aοτυχία)
λόγω στατικόν έλεκτριασύμου ἡ
ηλεκτρομayvntioμόν, επανεκκινηθε
την εφαρούγή αποσυδέσε το και
ενανασυδέσετο το καλδίοι επικοινωίας
(καλώδι OSU κ.λπ.)
GR

Anoppipn nalaivow nlektipkwv & nlektropiovovokevow (Ioyei otyn Eupwnaiik'Evwn kai alles Eupwnaikecxwpec me exwiota ootetaata anokouibnc)
To ouβolo auo επávw στο πορον ἡση Σουκενασia touνοndeikvεi ōι το πορον auo dev θa πρεπειν απορpiπτεια μαζ με τα συνηθιμενα oikiakā απορpiμμata. Aviθετα θa πρεπειν πapadδεται στο καταλληλο σημειν αποκομδic γία την avakukλωση λεκτρικων καλεκtpovikwv ouκενωv. Eξασαλιοντac ōι το πορον auo απορpiπτεια σωσα, βοŋθάτe στο να αποτραπονότοιες αργιτικές επιπωεις στην avθρωπινν yveia kα στο περιβαλλον που θa πορεκυπαν αό την μη καταλληλ δίαχεριση των αποβλήτων αυτου του ποροντoc. H avakukλωση των υικων βοŋθά στιν εξοικOVμηŋ των φυσικων πόρων. Πα περισότες πληροφρίες σχετίας μέ την avakukλωση αυτου του ποροντoc, επικοινψησε μέ τις δημοτικές aρχές της περioxής σας μέ τινηρεσία δίδεσης των oikiakaw απορpiμμatwν ἡ το καταθημα anó to onoio αγοράσate το πορον.

Evaalaktiki diayeipion wpotw nkeptikow otnaWk aouoawpeutw (loxuei otnv Euponaiik Evwnk kai aAec Euponaikecxwpc e{exwpiota ouotnmuata oulloynic)
To oμβoAo tvO επávw Otn μnatapia nσT ovokεvaia δeixyei oτη μnatapia nov napexetau e auTo npoiov dev npéei va avtjuetwiζetai ownc ta okiakanaoppiμata. Σe opioεvec μnatapiec to oμβoAo uO μoPoe ia xρσouoianθe iσ Σvduvaouo e vEA xμko σμβoAo. Ta xμkα σμβoλ yia tvv dbapayvpo (Hg) n tvo mλvβdo (Pb) pooTlθevtaav n μnatapia πepiexey πepioootepo ano 0,0005% vdpapyov n 0,004% moλδboov. Me to va βεaωθeir oti ouvkekpievc μnatapiae ocλextkav owotá, bŋθaTe OTNpv pOληn πθawov apvntikwε επιπωeewv STO πepiβalov kai tny vyeia. H avokλwON twv VLkWv θa bŋθnoeI OTNv EsoikovmΩ φωikw vnpov. Σtvn πepiTswon pioovtwov nov yia loyouc oφaaleiac, επiodoewv, n akcpaotntac δedouevw anaitovv tn móviun oʊvdeən μe mi aEvωμatwμevn μtatapia, avtn η μnatapia θa πpeei va avtika biotatai móvo ano Ekvovodotnevo texvikó πooswniko.
Ia va eaoaiaoTe Tnv owoTn
etaxeipion Tnc matapiac,napadwote
to npoiov sto teLoC tsdiapkeiac zoNc
tov so katalanno nmeio ovlloyn
nlektpikov kai nektpovikoov eoAIOuov
yia avakokwon. Tnv nepiTTwn oawv
twv aAwwv natapiw,napakaoloume
deite to tmuov nepiypapei nioc va
aopaieote ae oospaleia tn matapia
anotpoiv. Ipaadwote tn matapia
oto katalanlo onmeio ovlloync twv
xnpoiopoienewv npatapiow yia
avakokwon.
Ia nepootepe n npopoeic oxetik a tyn avakokw anvtov to pioiovto
n tnc matapiaac,napakaolue
EIKoivwnte to apodio opea
avakkwoc n to kataoTma onov
ayopasa te to pioiov.
Ia IAnpOopiec oxetika e to movTeLo tnC bivteokapeac, avatpeEe stnv akolov0n 0eia:
Aεitoupyiec kaεi eoπλuσoc →eλ.7
Σετικα με τη ρύθμιον γλώσος
Eav xpeiaetai, aalaeTe nI yawoaa twv evdiéewovohnc npiv xnpouoioaneTe nBivteokapea (oe.19).OEvdeieic oboviocnv oueupaviovtae kaoteonik yawoaa xpouoiooiovua tay nEeeynoanTwv diadkaowv aeitovpyiac.
Σχετικα με την εγγραφή
Ipiiv Eekivnoe Tnv yyypaqn, eEyTe Tn
Leitoupyia eyypaqns ia va bebaowteire oti
Erituvxavetai eyypaqn Eikovac kai hXov xwopic
PpOaHmuata.
- napexetaa antoJmuaoyn yia to nepiexoevo p a , akoun kai eav n p a n avanapaywyn ivai dovatn loyw dovietovpyia cTc bivteokapeac, tov meoov p a ,kTλ.
Ta xpwatiká ouotneta tneleopaoew diapépov avaloya me tn ωpa/πepioxη. Ia vaanapayete tic yyyapacε oε tnleopaaon, xpeiaceote nleopaoan nov va unoostpikei tn mopnpoi nmaatoc tc bivteokapeac. Ia λentoupeiec oxetikα me tn mopnpoi nmaatoc, avatpětcte otivv evtnta "Xpnon autovtou evxepidiov" (σελ.7).
Ta NEvuMATa dikaiwata tNtOntiKov npoypaumaw, taiivow, bVteOKaotew kai alvov uukov evdexetai va eivai voukakatoxuvpwéva. H mEevosioodtneyn Evypaftetoiov uukov evdexetai va napajiacei touc vouoc npi pveuMATiKov dikaiwamtwv.
Σημειώσεις για τη χρήσον
Mnv kaveo onoiobnoote aio ta eic. Eav ouubei kat io avta, to eo 0yypaipc nmuopei va vmootei aibn, va evai adovatn n avanapaywytnwv yeyepaueevwv ekovwv n ou yeyepauevec eikovec mpoipeva xabovn v napovosaoov avllac dvoeitoupyie.
-ελaywnητικ καρτας μνημις ὄταν ηλυχvia προσβαοης (σελ. 22) ειαι αυμενη ἡ αναβοσβηνει
- apaipcnTnc matapiac n tov metaoxnuatiotn evaalaaoojeovov pveuataoc aoTn bivteokapea, npoklanmuixavikwv kadaoovn dovnoeovn bivteokapea otav n lvvia POWER/CHG (qoption) (0e.16) eivai avaupeyn avaobogne iE npaovo nlvxvi poosbaonc (0e.22) eivai avaupeyn n avaboohevi
Otav n bivteokapei eivai ouvdeedeevn oe
aAee covkeuec meoov deoanc USB ka n
ioxuc tnc bivteokapeac eivai evpyooineyn,
myn kLeioTe tov ivaka LCD. Mnpoe va
xaohuv ta 86doeva ekovac nov exovv
Eyypapei.
Xpnouoioune Tn bivteokape ovmwva ToVCToIKOc kavoviooc.
Nivakac LCD, ekovokonnon
H oθovn LCD kai n eikovosokπonkataokevaovtai μe tn xρηon τεxvoloayiacελaepetika vψηλnc akpβεiac,ωte πáw anotop 99,99% twv pixel v a evat λetoupyka diαθεομia yia anoteλeohuattik χρηon. Ωτοτο,Evδexeta va εμφaviovtov ερικεc moviuec μkροσκοπikεc μaupec koukkidec n/kai φwteivc κoukkidec (λevko, kókkivou, μλne n pαaivoux χραuotoc) σtnv oθovn LCD. Ot koukkidec auvc evqoioloyuké, opeilovtauσtn diabikaia kataoakevičkai dev επηpeacovuε μe onoiovshnoite tpono tvv εγγpaφn.

Kovkidec K ,Kokivou, npasivovxpawatoc
Σχεικα με αυτό το εγχερίδιο, εικόνες, και ενδειξεις έθόνης
Oi EIKOVc Nov XpnooioovTuWc npapaeiyuata O auto To yexepidio exovy Iaepei Me ypiakn wtoypapuk nXavn Kai veovnc Mopeia vepaivocovTudeltaopetikc ao tic EIOVc Kau cEvEVEIC oOvnc Nov eupavicovTu otN bivTeokapea. Eionc,oi EIOVc OTbVteOKaepa oac kai n EvdeIOn oOvnc evai vTepolkec n Anloonueve cya OKoONOC katavonong.
O x d i a c kai npodaypaepc tnc bivteokakepac kai twv exapntuawntokevtai o allambdae xc wopic pnoedoiniOn.
Σε αντο το εγχερίδι, η εωτερική μνημη τις βιντεοκαμερας και η κάρτα μνημός καλούνται "μεσα εγγραφής".
- Στο παρόν εγχεπίδιο, o δισκος DVD πον ἐχει εγγλραεῖ με ποιτητα εικόνας υνηλής ευκρίνειας (HD) καλεῖαι δισκος εγγλραφής AVCHD.
Iepioootepa yia tn Bivteokape (O8nyoc xpnong tou "Handycam")
Odyoc xponc tov "Handycam" eivai eva nkektpovikó yexeiipidio. AvatpEeTe oe auToV yia avalutikec odnyiec ocxtiká μe ticnoIaIe λeitoupyie ctnbivteokapac.

1 Anoktnote npoosn otn oElaiauooptnc Tc Sony.
http://www.sony.net/SonyInfo/ Support/
2 Eπλεξτe τη χωρα ἡ την περιοχή.
3 AvacntnoTe to ovoa movtealou tnc bivteokakepac oac evtoc tn c eiaDAC uiooTnpIeNc.
EleyTe to ovouma oovteLou oTo kAtw epooc ts bVTEOKaepac oc.
Xpólən autou tou εγχεριδίου
Σε auτο ο εγχερίδιο, Π διαφόρες στις προδιαγραφέγι ακάθε μοντέλο περιγράφονται μαί. Eáν ββeirte την περιγραφή "Movτέλa με..." ασν auτή παρakátω, επιβεβαιώrote σε auτο το κεραλaiο εáν όχοει περιγραφή για τη Βιντεοκαμερά σας.
(Mov GPS)
(MovTeλa με χρωματικό σύστημα NTSC)
Emiβeaiwon tou ovóμatoc movéλou tnc βivteokáepac
i 0To katoepoctnc bivteokapepac.
Ovoa oovtaleou (HDR-xxx)

i a p o p e c 0tiL i t o u p y i e c
| 'Övouma μουτέλου | Xωρητικότητα εοώτερικής μνήμις | Mòρφή σήματος | Σύνδεση USB | GPS |
| HDR-PJ650E | 32 GB | PAL | Móvo εξδος | - |
| HDR-PJ650V | 32 GB | NTSC | Eiσoδoc/ Eξδος | ✓ |
| HDR-PJ650VE | 32 GB | PAL | Móvo εξδος | ✓ |
| HDR-PJ660 | 64 GB | NTSC | Eiσoδoc/ Eξδος | - |
| HDR-PJ660E | 64 GB | PAL | Móvo εξδος | - |
| HDR-PJ660V | 64 GB | NTSC | Eiσoδoc/ Eξδος | ✓ |
| HDR-PJ660VE | 64 GB | PAL | Móvo εξδος | ✓ |
ηneiwoeic
- Taa aokolov0a stoiexia, o1 neptypapc6 nepiaauabavov to ovoua uovtElov.
-Kavoviouoic a0aalac (eA.2)
-Egaptnmuata kai xieiprotnpia (eA.11)
- i (σελ.52)
- od pa (6ελ.68)
-Xpovoc p a taivuw/apit0muoc twv p a w wotopypaipw (e5.59)
Πίνακας περιεχομένων
△iaβaσte npwta auto. 2
IepiooTopepa yia tn bivteokaepa (Obnyoc xpronc tou "Handycam") 6
Xpnoauro tou eYxepiδiou 7
△iaopopc otic leitoupyiec 7
Eapntmuata kai xeiipiotnpia 11
Evapξη
Στοχεία που παρέχονται 15
Φóptiαn tnc μπatapiac 16
Φροπιην της μηαταρίας χρομιούσιωντας τοῦ συλόγιστήσες 17
ΦopTion TnC μatapiac oTo EεwTepiKó 18
EvpeyonoiOn tnc bivteokapeac kai puOthion tnc nepounviaic kai tnc wpaac 19
Alambdayn tnc puthetaionc yawosac 20
Ipoetouaouyypn 22
EIIoyn evoc meou eyypaqnc. 22
Eioaywnkaprtac mnuuuc 22
Eyypaŋ/Avaπapayωyn
Eyypaqn 24
Eyyapn taivwv 24
Anyn φωτογραριών 25
Zouμ 27
Avanapaywyn 28
Pponymuévec λεitoupyiεc
Eyypaqn Eikovwv uδ diapopocpuoioeic. 31
EiloyntncnoiOtntacikovacTaivwv(AeIoupyiayypc) 31
Autouatn lanyu xauoyeou (Kaeioptpo xauoyeou) 31
EnioynTnc katalnnlncpuoianc autouata yia tny kataoan eyypaicn (Eupuec autouato) 32
Euloyn tnc mopnpns eyypaqnic yia taiiec 32
Xpnon twv duvatotntwv xepokivntnc puthetaonc 33
Eyypaipn nInpoopoiw oEoNc (MovTeλa με GPS) 34
Avanapaywyn 1ekovw oE tnIeopaon. 35
AnoiaovTe npo surround 5,1 kavaaiw. 36
XpnoTou evoawatwov npoBoEA 37
Enεεεργασία
EeEepyaoia otn biVteokapeoac 40
△iaypaqntaiwiwkvai o p a i v 40
△iαxωρισμός τανίας 41
Aηψη φωτούραφίας από ταίνια 41
Anohtkeun taiviwv kal wtoypapiwu e unoloyiotn
Avanapaywyn Eikovw v e unoloyiotn 43
tou loyioikou "PlayMemories Home" (Windows) 43
Aoyioikó yia Mac 43
Ipoetouiaeaevoc unoloyioTn (Windows) 44
Eeexoc tou ouotmuatoc unooyiotn 44
Eykaotaaon tou loiyioikou "PlayMemories Home" oTov uTooIoyiOtn 0ac. 44
Ekkivnou loyioikou "PlayMemories Home" 46
Aπoθηκευού έικόνων σε εξωτερική συκεύμέδων
101otnta 1ekovac tuniknc eukpiveiac (STD) 1e ooukeun Eyypaqnc 47
Anθηκευσι ΕΙΚΟΥΜΑν ΕΕδιαρίκη Σουακεύμεσων Μεποίτητα Εικόνας, uψηλής ευκρίειας (HD) 48
Ppooapuoyn tnc bivteokapeac
XpnoT Twv evou 51
AioTeC eevou 52
Aoɪná/Eupετήρο
Avtuewian npoBnmuatov 56
EvdeiEη autouatnc diayvwonc/Ipoeidonointikec evdeiEic 58
ΣYMΦΩNHTIΚO AΔΕΙΑΣ XPHΣΗ ΕΑΤΑ ΕΑ ΕΔΕΟΜΑΝΑ XAPTH ΓΙΑ ΠΙΟΙΝΤΑ BINETEKAMEPAΩ (Movτέλα με GPS) 71
Evseic oovnc 75
Eupetnpio 77
Eupwnaikn Eyyunon SONY 79
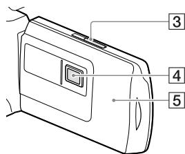
Eξαρτήματa και χειριστήρια
Oi aptioi o e iivai oeiiae avopopac.
1Evωμaτωμενο μικρόφωνo
2IeiooIaanawvdiaovdoeow
Ia o e e Ic k 1e b aTa
EapntmaT aTO pdiou nOAAanw
dAoiuDoeov, EIOKEpTe iY TOnoTeoia
web tNc Sony tNt neipoxn oac n
aneuovthei TOnV avtipsoawto nC Sony
nToToNkO EGVooiotneKvTPO
EUVnepTnnc TcN Sony.
Oi aleitovpyiec eE ekaptnHaata aalov kataaekvaostn dev eivai yyyuueves.
3Φλac/Πρoβολες βίντεο
4Φakoc(ΦakocG)
5Aioθntnpactnλεεipioou
6 Luxvia eyypaqnic bivTeokaepac (55) Hluxvia eyypaqnic bivTeokapeac avabéi μe kokivo xpwa ka tā n diapkeia tnc eyypaqnic. Hluxvia avaboosnyei otav ěavtlaitei n xwpntkótna tou éoov eyypaqnic n n patapia.
Koumani MANUAL (33)
8 Eπιλογέας MANUAL (33)


1O0ovn LCD/Inivakac apnc (19,21) Eav nepiortpeyete tov ivaka LCD katá 180 oiopec, mopoite va kleiote tov ivaka LCD me tyn o0vny LCD orpaueyn npoc ta .Avto oac eVnpetei katá tic λeitoupyie avanapaywyntc.
2 Hxεia
3 MoXloC PROJECTOR FOCUS (37)
4ΦaKoc npoβλεa (37)
5 Kepaia GPS (HDR-PJ650V/PJ650VE/ PJ660V/PJ660VE) Mia Kepaia GPS 1Otv nivaka LCD.

1 Luxvia npo0baaocn kaptac mnuhnc (22) Otav n luxvia eivai avauiev n avaoobnye, n bivteokapepa diaabei kataypae i 8doeva.
[2]YIpOdoxn KApTac MnuHmuc (22)
3YπoδoxnHDMIOUT(35)
4Ytno0xHn PROJECTOR IN (38)
5 KouμπI MODE
6 Koumpi PROJECTOR (37)
7 Kouμπi (Ipoβoλη εικόνων)
8Koumi LIGHT (PnpoBoaec biVtEo)
9 Koumpi POWER

1 MoXlaoc Zouμ (27)
2 Koumni PHOTO (25)
3Moxlacpuromuanctouqakou EikovoaKoTnOnc (21)
4Yno8oxnmuiaou
5 Eikovoakonnon (21)
6 KoumπI START/STOP (24)
7 Mntatapia (16)
8Yπoδox DC IN (16)
9Lambda POWER/CHG (φόρτισης) (16)
10 Yπoδoxn (μικρόφωνο) (PLUG IN POWER)
11YnOdoXn(akouotiká)
12 Iμαντας Βιντεοκάμερας
13 Θηλίγι αμάντα υμου
14 Evωματωμένο κλώδιο USB (17)
15 Akpoδεκτης Multi/Micro USB (35) Yποστηριζει συσκενές συμβατές με micro USB.
16 Ynodoxn trinodou
Suvdeote eva tpiodo (wnleitai xwipota: to
miko ts cfdac npenei va eiva uikpotepo
ano 5,5 mm).
Avaloya me tic npodiaypaqec tou pinoodov,
n bivteokakepa evdexetai va uny tonoeetnthetai
oTn owtn katevuvon.
17 MoXlOc aIeAeUePwOnC BATT (muatapia) (18)
Iva oTepeoOeTe tov iavTa TcBivTeokaepac

Ia va ouvdeoet to kaUma paKou

Evθυγραμισε σωστα το δακτύλιο
προσαρμογής Εη τη βίντεοκάμερα (①) και
στη συνέχελι περιστρέψτε τον προς τὴν
kατεθυνόη του βέλους μέχριο δακτύλιος
προσαρμογής να αφαλίει στη θέση του (②).
Mnpoite va aalae tnt diaetpo qiltpov 37 mm ouvdeovtac to daKTuio npoapouyis, etai wote va mnpoeite va xpnouonoiote to ouviotwveqkoetatpontnc.
- ev πopeite va ouvδeσeτo φακο μεtatpoinic εupεωc ακρου/ενύ φακο μεtatpoini, εav εival ouvδeδμένoc o δακτύλιος προσαρογίς.
Ia va to 8akvtio npoaooync, tov npoc tynavti0etn kateovon
anovtnov
Aoupato tnaexepioptnpio
H xphon aovpuatov tIeepiotnpioiv eiva Xpoum, oTav npoabaTe eyyepauec EIOVEc ano Tn bivteokapeaoc.

1 Koumni DATA CODE (54) Eupavici Tnv npeponyia kai tnv wpa, ta dedoeva pvthetaic ntc kapeac n tic ovvtayvec (ovtela u GPS) tw vyyepauewov ekovov, otav natate auto to koupi kata tn diapkeia tnc avanapayync.
2 Koumni PHOTO (25) Eyyapaei wc akivnt nTv eikova nov eupavicieta stnv o0vny,otav natate auto to koumi.
3 Kouμπia SCAN/SLOW (29)
4 KouμπiA ▪▶ (Προγούμενο/ Επόμενο) (29)
5 Koumni PLAY
6 Koumni STOP
7 Koumni DISPLAY (25)
8 Npuc
9 Koumni START/STOP (24)
Koumpia Coup
Kouπi PAUSE
12 Koumni VISUAL INDEX (28) EmuaviEi ma oovn Eupetnpo kata nV avanapaywy.
13 Koumá /▲/▲/ENTER
Otatane eva ano ovta ta kovmuia,
eqaivcetai eva yalaio nlaioio otny
0hovn LCD. Eanle te eva eintheta kovpi
noiexio xnpouoiwvtac ta kovmuia
A/ 一 / /A/▼kai otnovexia nathe ENTER
yia eioaywn.
Evap
Στοιχεία που παρέχονται
Oaip0oi 0eVIOE6KvovnTyn apexoevn nooTnta.
BvTeokaεpa(1)
Metaoxnmuatiotnc evaalaoooevou peuatoC (1)

Kaalδio tropoδoδoiac(1)

Kaλδδιo HDMI (1)

Kaalδio ouvδεοnc USB (1)

To kawdo oovdeoNC USB eiva oxediaoevo yia xpo nmo voe me autn tn bivteokapepa. Xpnoaonoiote auto to kaawdo otav to evomegaatwevo kawdo USB tnc bivteokapepac (sE.17) evai no lokovtro yia ouvdeltaen.

Kálvúmpa φακού (1)

A T i on, o o o o i (1)

Aoupuato nIeXeiipioTnpo (1)

EnavaoportiCóμevn μntatapia NP-FV50 (1)

"Obnyoc xpnoc" (To npapov eeyxepidio) (1)
∑ημειωεεις
Mnpoeite va npaymuatonoueta hyn tov loyioikov "PlayMemories Home" kau tov "PlayMemories Home Help Guide" aio tnvtono0eia Web tnc Sony ( .44)
Φόρτιοη τής μπαταρίας
1 Anevyonoiote tn BiVTeokaepa kLeivovtac tnv oOovn LCD kai tonoeTnoTe tnv matapia (BεbaWte iE 0ti Exete npwta kLeioi tnv EIKOVOKoTnOn).
Evuypauioteyn0oxn0tn Bivteokapekai nypoeoyn0tny matapia ketaeotepetnyatapia npoc ta enavw.
2 SuVdEoTe to eTaoxnmaIOTn evaalaoo6evou pUmaTOc (1) kai To kaWdsio Tpofo0oiaC (2) Otn BivTeokaepa kai otnv npic a toixou.
H x i POWER/CHG (pOPTIO) avaBepi npotokai.
H luxvia POWER/CHG (qoprti) ontve otav n niatapia eivai npwoc qopriouevn. Aooovdeote to etaoxnmuatotn evaalaoojevov peuatoac any vnooxy DC IN tnc bivteokakepac ac.

Mπαταρία

_X VIA POWER/CHG (oPrtion)
Pioc Tny npicai toixov
ημειωεις
- npoeite va tonooetnoe t aaln n patapia "InfoLITHIUM" ektoa o no natapiec oipac V ot n bivtkeokape.
- Katá τη σύνδεση ενός προβολέα βίντεο (πωλείαι χωριστά), συνιστάται η χρήση μπαταρίας NP-FV70 ἡ NP-FV100.
- o p e i t e va xρησιμοποιησετε την παταρία NP-FV30 "InfoLITHIUM" με τη βιντεοκάμερα σας.
npoepaevyevn pvthetaon, n tropoodooia exei pvthetaiKa tata teio to poto, oote n bivteokapa va anepepyoioiteiauotoma, evd vtn xpnouoioene 1ia 2 eptanov, yia ekoovon evpyeiac nnc mpatapiac [(Eoiokov. evpyeiac], oel.55).
Φóptiən tnc μπaṭapiac xρησιμοπoioiwvτac tov unloayoiŋtn oac
AIEVEpyoIOInote tn bIVTEOKaPepa
kai ouvdeToTe nBIVTEOKaPepa
OE uTOLOyIOtN nou BpioKetai OE
λeIToupyia xpoIIOIOIWVtac to
evOwMaTomegaEvo KaWdelta USB.

Φόρτησι μηαταρίας Με τή χρήσι AC-UD10 USB φορτισή/μετασχηματισή εναλασόμενου Πεύματος (πωλεῖται χωρισά)
Mnopeite va φορτισετην μπατapia εάν συνδεσετο το ενωμαιωμένο καλώdio USB Ε πίζα τοιχου χρησιοποιωντας AC-UD10 USB φορτισή/μετασχημαισή εναλασόμενου ρεύματος (πωλεῖται χριστά). Δεν εἶναι δυνατον va χρησιοποιδετε φορητή συκεύνη παροχής υρεύματος Sony CP-AH2R, CP-AL, ἡ AC-UP100 (πωλεῖται χριστά) γιαν αφοτισετηβιντεόκαμερα.
Xpovoc φρoptionc
Xpovoc katapnooeyyion (eT) nov aataeiitai yia va oopotioe Tn npatapia NP-FV50 nov exi anopopotiotei n npwcs (napexetai).
Me xipn tou eataoxmaatotn evaalaaosoevov peuato; 155 aeTae Me xipn vnooloyiostn ovudesséevov me to evowatwévo kaawto USB*: 280 aeTae
Oi xpvoi optionc nov napovoiiaovtai npaapanv wetav yiveta option tnc bivteokapeac eepokpaoia domegaiov 25^. Svviotatai va optioe teynu atapia o thepokpaoiao evoc aio 10^ eoc 30 C.
* Oi xpovalo poptions n eptwnta wpi c t n pno tn tv kawdeltaou vovseos USB.
Kleiote tv oovn LCD. UpeTe to moXIo aenvEoepwoc BATT (uatapia) ①) ka apaipoeTe tv npatapia ②).

Tia va xpoioioioeTe Tn Bivteokaepa ouvexóeva yia evyalo xpovikó δiaotma
SvduoTo uetaOnuaiotn evaalaoosoeuv oeuatoc kai to kalwdio tpofooiaac ot n bivteokapek aonTnypiotaixov.
Ia IeToupeiec oxetikacovtpoiooovdoeocvotetaoxnataotn evaalaaooevou peuatoC,avatpeEe otny evtnta"ΦOpTioN tnc npatapiac" (eλ.16).
Me xPnON tov eTaoXnMaIOTn evaAaaOoEvov PevuatoC, nOpoeite va XpnooouneTe Tn bivTeokaepa Xwpi c va avnoxie Te mnpwc aediae i npatapia.
Σημειώσεις για το μεταοχμαισίπη εναλασαόμενουρεύμαιτος
Mn aovkawve to b0a DC tov eataoynatotn evaalaoosoevov peuatoC n touc nolouc tnC natapiac me taalukavtkeiema. Evexetai v npokanthetai dovlertoupia.
Aiooovdeote to metaoxnaiotnt evaalaoosoevou peuatoac ano tn bivtekakepa, evw kpatate tavto pova tn bivtekakepa ka to bvoa DC.

Xpovoc yyypaqnc, Xpovoc avapapaywynC (oελ. 59)
Ev8iEJvnoIeIIOeVnC FOpTOnC mataPiac (eA.26)
Φόπιητης μηαταρίας στο εξωτερικό
Mnpoeite va opptioe te nTv mntapia o e onoiadnoote xwpa/epioxh evx npnouoioe to metaoynmuotn evaaosoeovpueatoc nov apexetai tnt bivteokapevtov evpoc AC 100 V - 240 V, 50 Hz/60 Hz. Mn xpnouoieite nEktpoviko metaoxnmuotn taonc.
Evεργοποίηση τής βίντεοκάμερας και ρύθμιοη τής ημερομηνίας και τής ωρας
Ia Ia npopopiec tik e to movtlo tnC bivteokapeac, avatpeTe stnv akolov0n i a ..
Aetoupyiec kai c .7
1 AvoiTe Tnv oOovn LCD Tnc IVTEOKaepac kai Evpyoioinote Tn BVTEOKaepa.
Mtopeite eionc va evpyooinoe tnt bvtekokapea evatnoe to kovmu POWER (0e12).
2 EπiEεTe TnV επiθuμntn yλωσα
kai στη Σνυέχεια επiEεTe [Enóμ].
3 EπiεEτην επιθυμηntην Ψεwypαφική περιχόν με [√/] kai στη Σουνεχία επιελEτε [Enóμ].
4 Puθμiσε [Kaλοκaipivn ωρa], επιδεξετη μοφή Μερομηνίας και την Μερομηνία και ωρα.
Eav opioeTe to [KaIokapivn wpa] oE [Nai], to poIo npoxwpaet kata 1 wpa.
- Otav επιλέξετην ηερομηνia και την ωρα, επιλέξετην ασό τοτογία και ρυθμισε την τιμή με ↗/ ↗.
O Tav OK 0 X, n etoupyia puohmuonc tnc nepounviac kai
wpac oloknpwvetau.




Alambda n tnc p0thmuonc yawooac
Mnpoeite va aalalete tic evdeieic oohvnc, wote ta unnuuata va eupaviovtai oe ma ouykekrmuevn yawoaa.
[ \text{Eπιλέξτε [MENU] → [Pvθμiσεις] → [Γένικές ρvθμiσεις] → [Language Setting] → μια} ]
[ \text{Eπιθυμητή γλωσσα.} ]
Tia anevpyoioiOn
Kλειστέ την oθόνη LG ἡ πατήστε το κουμι Π POWER (σελ. 12).
Eav n eikovosokoŋn eivat rpaβημενn πος τα εξω, kλeioTe ην eikovosokoŋn oπωc φaivetai στην εikova στa δξια.

Σχεικα με ητην ευεργοποίηση ἡ απενεργοποίηση τής βιντεοκάμερας με ητη χρόση τής oθόνης LCD ἡ έκονοσκόπησός
H bivteokáepa eveypoioietai n anevyepyoioietai avaloya e Tnv kataoan Tnc oovn LCD n tnc ekovookOoNc.
| Kατάσταση | Iσχύς της βίντεοκάμερας | |
| Οθόνη LCD | Εικονοσκόπηση | |
| Ανοικτή | Κλειστή | Nαι |
| Τραβηγμένη | Nαι | |
| Κλειστή | Κλειστή | Οχι |
| Τραβηγμένη | Nαι | |
Σημειωεις
Akoukai eav noobvN LCDeivai kLeiOtn, eav n EkoovokoKoNn eivai TpaBnyEvn, n BivTeOKaepa dev eivai anevepyooinuevn. Otav anevepyoounoet eTn BivTeokape, baeawte oTn EikovokoKoNn exEklEoi Otnv apxkn theon tnc.
TpaBnE pOc ta EeW tnv EIKOVooKoON
(1), KLeiOte Tov nivaka LCD kai otN
ovveXeiA pvtheta T N yovia Nov thel
(2).Eav n EvdEiOn otNv EIKOVooKoON
ePaviciTea Ooln, pvtheta Tnv ePavion to pvthetaCtov paKoV
EIKOVooKoONoc Tov Bpioketai oTo enavw
mepoc tnc EIKOVooKoONoc.

Tia va puθμioετe τη γωvia tou πινaka LCD
AvoiTe a Tov nivaka LCD kaTa 90 moipec wic poc tn biVteokaepa (①) kai stn ovveia oVthetaTn yovia (2).

Tia va aanevepyoonioeTe tov nxo mnn
Eπiλετε [MENU]→[Pvθμiσειç]→[Γενικερvθμiσειç]→[Mπιπ]→[Oχι].
∑ημειωεεις
H nepounvia kai npa eyypaqnc kataypavovta autouma tsigmae aea yyypaqnc. dEv epaaviocovtata nTv neyypaqn. OToSoO, mpoite va ta ae lyEte ano tnv enIoany [Kwdkoc ddoevv] kata tn diapkeia tnc avanapaywync. Tia va tic eppavioee, eIIAETE [Menu] [Pvthetaic] [Pvtheta. avanapaywync] [Kwdkoc ddoevw] [Hepounvia/0pa].
Moluc pvthetai to pooi, n wpa poloyiov npoosapocetai autouatae ta [Avr. pno. pooy.] kai [Avt. pno. nepioxnc] pvthetava e [Nai]. To pooi vveexetau mny pvthetaia atotn owtn wpa, avaloya e t n xwpa/epioxnv nov exei eilae yia tn bivteokapea. zavtn th nepiipwn, pvtheta ta [Avt. pno. pooy.] kai [Avt. pno. nepioxnc] oe [Ochi] (movtea u e GPS).
Tia va pvtheta ete Xava tnv npoynvia kai wpa: [Povnep &wpac] (6e5.55)
- a a o o n c: [Ba o ] (6ελ. 55)
PpOeToiuaia Tou mEou Eyypaqnc
Ta eo aeypaqnc nov mopovv va xnpaioonthetav eapavicovtai oyn oovn Tc bivteokakepac wc ta napakatw ekovidia.
Pioeiayevo eo yypaqnc Evaalaktoko eo yypaqns

Eowertepukn uvn

Kapra
ημειωεεις
- ev npopeite va eilétedeltaopetikó mso yyypaqic yia taivies kai wtoypapiec.
Enioy n evoc eou yypnC
EπIλεξτ [MENU]→[Puθμiσεic]→ [Pvθμiσεic μeωv]→[EπIλoyn μeou]→to επιθuμητο μeσo.

Eioayyn kaprtac mvnunc
AvoiTeTo kALUmu kai tonoTheTnOte Tnv kappa tmu nC expi va aopalio.
H oovn [Pioeotuaia apxieiov bao nC v v EIKOVv. IepuveTe.] eapavicetai ev sOayete kaiovpyia kaPra mVnnc. IepuveTe mXp va 0BneI Ooovn.

Eioayayetntnykapra me tyn ywvia nov eivai kouev npoc tnykatevovn nov aeneikovietai.
AvoiTeTo kALuMa KaI PiEoTe Elaappa ia φopa tvN KapTa vHnC.
ημειωεεις
Iia va diaoqaiioe Tc aepn aeitovpyia tnc kaptac mnuhnc, oviotata va diauoppoe tnv kapta nuhnc me tn bivteokakepa npiv ano tn npwtn xpon (eA. 54). H diaopwpon tnc kaptac mnuhnc 0bn0e1 ola ta deoouva nov eiva anothekevvea oe autn kai dev th a evia duvat n avakton twv doevw. Anothekeote ra onauvtka deoouva stov vtooloyotn oac, ktA.
Eav (\varepsilon \mu \varphi \alpha \nu \varepsilon \tau a\eta \varepsilon \nu \delta \varepsilon \xi \eta) [Anotuia (\delta \pi \mu \omega \upsilon \gamma iac\vee ou apxieoi \beta aocn\delta \delta ooevwv Eikovw. Eiva nTavva unapxiei enapknc 5evbepoc xwpoc], diuoppwoTe Tnv kapra uvnuc (oeA.54).
Eπβεβαωτε Νγικανθυνοι Ικόμας Σκρατα μνημας.Ελίσθετηδετε Εμ δύναμι Ιγικανημας Σκρατα μνημας Σκρατα μνημας Σκρατα μνημας Σκρατα μνημας Σκρατα μνημας Σκρατα μνημας Σκρατα μνημας Σκρατα μνημας Σκφορούν.
- Katá tyn εισaaywyn η tyn εξaywyn η tc καρτac μνημκ, προεξτε va μην εξαθει απότουα η καρτα μνημκ καλ πέσει κατω.
Túnoi káptac μνημnc ποι μορείte va χροιμοιοίησετe Μ τη ΒΙντεόκαμερa
| Клабг.TахύνητaςSD | Хωρητικότητa(εἰμβεβαιωμένηλειτουργία) | Περιγράφεται στοπαρόν εγχειρίδι | |
| "Memory Stick PRO Duo" (Mark2) | |||
| "Memory Stick PRO-HG Duo" | - | Εως 32 GB | "Memory Stick PRO Duo" |
| "Memory Stick XC-HG Duo" | Εως 64 GB | ||
| Κάρτα μυήμης SD | |||
| Κάρτα μυήμης SDHC | Клабг.4ήταχύντερη | Εως 64 GB | Κάρτα SD |
| Κάρτα μυήμης SDXC |
H aeitoupyia iaopaaicetai oae tic kaprevcnnc.
ημειωεεις
- o p e i vα χρησμομοιθεi MultiMediaCard με αυτή τη βιντεοκαμερα.
Oitavie nov yyyapnakv otic kaptec "Memory Stick XC-HG Duo"kai SDXC dev mtopoovva eiaoxov n va avanapaoxov oe uoloyotc n ouokevc AV nov dev uonotnpouv to oostma apexiov exFAT* me tn ovoeon tnc bivteokapeac oe avtc tic oovekevc eoow tokawdiou USB. Eibetaaowte ek twv npotepov ori o eoiiaoc oc vovdeon c voosntjei to oostnja exFAT.Eav oovdeote eioianoov den vnooortie to oostneta exFAT kai eupaviotei nohov diaoppwocn,mye kctelaeet Tsi diaoppwoon. Ola ta yyeypaueva deobouva thaohov. *To exFAT evai eva oostneta apxievov nov pnooioietra yia tic kaptec "Memory Stick XC-HG Duo"kai SDXC.
Eyypaq/avapanapayoyi/επεξepaσia μεωv:Evδεiεις Θονηκ κατὰ τη διαρκεια τις εγγαρης (σελ.76)
Xpovoc p a n taivw/ c twv p a m w o p a w (e5.59)
Eyyapn/Avapaywyn
Eyypaqn
Ia Ia npopopiec oxetiká μe to movtélo tnc bivtekapac, avatpeixe styn akolovθn σελiδα:
AεItropyiec ka I eoiλiooic →σελ.7
Σπν προεπιλεγμενην ρθμιση, Π τανίες και Π φωτογραφες εγγραφονται στην εσωτερική μνιμη. Π τανίες εγγραφονται Π ποιότητα εικόνας νηλής ευκρίειας (HD).
Eyyapn taiwv
1 AvoiTeTnV oOvN LCD.
2 NaTnOTe START/STOP ia va EkvnoTe Tnv Evypapn.
Iia diakotn tnc yypaqic, nariote xava to koupii START/STOP.
Mtopeite va eyypavse foToypaqiEc kata tnv eyypaqn taivias eav natnoe to kovpi PHOTO (Ailn kalaypaqn).


∑ημειωεεις
Eav kLeioeTe nOvOn LCD kaTa nEv yypaqn Taivow, n bivteokapea diakoptei Tnv Evypaqn (movo otav n EikovoskOtnon eivau KLeiot).
O (\mu \varepsilon \gamma \iota \sigma \tau \sigma \upsilon \varepsilon \upsilon \varepsilon \upsilon \upsilon \upsilon \upsilon \upsilon \upsilon \upsilon \upsilon \upsilon \upsilon \upsilon \upsilon \upsilon \upsilon \upsilon \upsilon \upsilon \upsilon \upsilon \upsilon \upsilon \upsilon \upsilon \upsilon \upsilon \upsilon \upsilon \upsilon \upsilon \upsilon \upsilon \upsilon \upsilon \upsilon
- Otav eva apxeio taivias vepaivei ta 2 GB, toe denmuovpeita autouata to eouveo apxeio taivas.
To c otav n kapea p i o k e t a i oe ia (tauia).
Eavovexicvayivetayeypaqn deoouevw vto meo yyypaqnc meta tny oloknpwn tnc yyypaqnc, unodekuvovtaoi napakatw kataotaeic. 2e auto to diaotma, mny aokeite mnxavikockpaadaouoc n doynoeic otnt bivteokape kaun apaipeite tn myatapia n to eataoxnatiotn evaalaoosoeuv peuatoc.
-H ia npoσbaonc (ελ.22) eivai avaμeνη n avaooβnye
-To eikovidio eosou o avw deixio tua nC oovc LCD avaooBnye
Evexetai va mnu npopeite va tpaheEeTgwoypaiec avaloya me tn povhoun oTa [Aeroupyia EIT] kai [PvOuoc Kapé].
H oθovn LCD tnc bivteokapeac μnpoei va εμφavioει εikovec εγγραφης οολκηρην ην θονn (oθovn με πληρη pixel). Ωτόσο, auto μnpoei va προλεοει ελαφρία περικοπ Θντην επανω, ην κατω, ην δεξία kai την αρισερι ἀκρη τών εικόνων κατάναρayωγ Ε θηλεροσην Φεν εieval συμβατή μe oθovn με πληρη pixel. Συνισται η εγγραφη εικόνων Ετο [Γρμιπ πλεγματος] ρνθμοενο Ε [Nai] kαι Ετη χρση του εξωτερικού πλαισιον [Γρμιπ πλεγματος] (σελ. 53) ως ὅηγου.

Xpovoc eyypaqnc, ap0thooc eyypaivuowv ootoypaivw (e5.59)
- [Eπλoγη μεσον] (σελ.22)
Xpovoc eyypaqnc, vtoIeIIOeVn xwpntikotnta [IIAnpoopoeic eoov] (eλ.54)
Anynqwtoypaipwv
1 AvoiTeTnV oOovn LCD kai ePiAeTe [MODE]
(Φωτογραφία).
Mnopeite enionc va npaymuotouoetevaalaynetae (taivia)/(awypaia)natovtau to koumi MODE.
2 Παπόσε ελαφρά το κουμι ΦΟΤΟ γιαν αυμθισετην εστίαση και στη συνέχεια παπόσετο μέχρι το τέρμα.
- Otav pvθμσει σωστα η επίαη, η ενδειη κλειδωματος AE/AF εμφανιζεαι στην oθόνη LCD.



- Ia va aλλετe το μέγεθος εικόνας: [Méγ. εικόνας] (σελ. 53)
Tia va εμφανίοετε στοιχεία στην έθόνη LCD
Ta stouxia otnv othovn LCD hiovovn av xeiipotei te n biivteokapepa yi a liya vtepolaenta apov tnv evpyooinse t av alalaete etaev tnc laitovpyiac eyypaqns
taiviow kai ts cieitoupyiac hnysc wfotopypiuv.
AyyiTe onoudbHnote eAnv Wo thov oOvN LCD, EKToC aTo kaoumua, yia va eUqavioTe npopopoeic oeikovidia u eIaIoupyie nov eivaiBoLkcsyTnVeyypaq.

- Ia va εμφανiσετοτοχεια στην οθόνη LCD συνεχεια: [Pvθμοιn προβολής] (σελ.53)
Eδw περγαρονται εικoviδia γλ αειουργίες εγγαρής ταινιών και εγγαρής φωτογραριών. Avatρέξτση οελίδα στό ( ) γλ επτομέρειες.

Koupiζouμ (W: Eupεia γωνia/T: Tηλεφακός), Kouπi START/STOP (σελειτούργια εγγραφής ταιών), Kouπi PHOTO (σε λειτούργια εγγραφής φωτούραφήν)
2 KouvpiI MENU (51)
3 KaTaoan nov avxvevtke ano To Evpvec avtouato (32)
4 Kaataoataon yyypaqns ([ANAMON]/[EETPAH])
5 Kλειδωμα AE/AF (αντόμαπ ἐκθεση/αντόμαπ οεστίαση) (25)
6 KaTaoTaan TpyWviou GPS* (34)
7 Iapakolovθηηστiaonc
8 Zouμ, Yπολειπομενος χρόνος μπαταρίας
9 Metpntnc (o: a: eT o: eVtepolent, Ayn qtoypaia, Eyypa/avapayoyn/ 1 iu eov (76)
10 EkTuMoEvoc vnoAeIIOeVOC xPoVoc Eyypaqnc, IoiotnTa Eikovwv Eyypaqnc, PpuOc Kape, Aetoupyia Eyypaqnc (HD/STD), MyeEoC taviac (MP4) (31)
11 KaT a npooseyyion apiOthoc eyypaumwv wotpypaipwv, Ava loyia diaotaoewv (16:9 n 4:3), MEv8oC qwtoypaipac(L/M/S)
12 Kouvpi aikvpwo napakoloovthonc eotiao nC
13 Kouvpi [MODE] (Aeivovpiaa ) 25
14 KovpiEvpuεcavtoμaTO (32)
15 Λειτονργία ἡχουν (53), Eμφ. επιπ. ἡχουν (53)
16 Kouvpii IpojoaIeikovwv (28)
17 To kovuni ov (μπopeite vα εκχωρησετις αγαπημένες σας λειτούργίες σε εικόνδια πον εμφανικονται σε αντή την περίοχή) (53)
- Movτελa με GPS
AvoiTeToVnivakaLCDkata90oipces o nIbIVTEOKaepa (1) kai stn ovvexia i t e e Tnv 180oipces pocTnv a Toov qakov (2).
Σην Θθόνη LCD εμφανιεται το ειδωλο του θέματος, αλλά η εικόνα θα είναι φυσιολογική αφού εγγραρεί.

Zouμ
MetakivnoTe to moxlo couu yia va meyethetaveTe n va meiwoteTo meyethetaoc Tnc EIKovac.
W (Evpεia γωνια) : Evpúτερο ποτικό πέδιο T (Tηλεφακός) : Kovtivó πλάνο
Mnpoeite va eovte ekovc eXpi 20 opec (Extended Zoom) to apxko eYoc eT o xoL oouu.
Iia npio apyo oovmuetaoaepoc to o o oovmu taxtepo oovmu taoivnoe to o o npeio

∑ημειωσεις
To x oac nperei va napapevei naw sto ooylo cou. Eav anoapkpve to doxufoa aio to , evexetai va yyypaewei kai o jxoc aeitovpyiac tou oxylo.
- npopeite va alambdae te nty taxutnta toouo u e ta kovumia oovu
H elaxiotn duvat anootaon e tnc bivteokapepac kai tov avtkeiEvov yia tn diatipnoan tnc evkpivoc eciaos civai nepitov 1 cm yia qak oevpiac yomegaic kai piterov 80 cm yia tov nlaeepa.
Mnopeite va eikovec meo 12 opec me to otpiok covtic akolov0e c nepiTwoeic; -Otav nputhetaon [SteadyShot] evai diapopetikn aio [Evepyn] -Otav exia eilayei n katasigma (Domegapaia)
-Περισοτερο Κουμ: [Ψηφιακό Κουμ] (σελ. 52)
Avaπaρayωγή
Ia Ia npopopiec oxetiká μe to movtélo tnc bivtekapac, avatpeixe styn akolov0n 0eia:
Aetoupyiec kai c .7
Mnopeite va npayatonoioue avahtnoy ia eyyepauevec eikovec baei nC
neopounviaic kai opaac eyypapnc (PipoBoln ovmbavtoc) nTc tonotheoiac eyypapnc
(IIpoBoln xaptn (ovvtla u GPS)).
1 AvoiTe TnV oOvN LCD kai nTnOte To Koumni Otn BivTeokáμερa yia va εioελθeTe Otn λεitoupyia avanapaywync.
Mnopeite va eioeAte stn aeitovpyia avanapaywnc eianEyovtoc to 0tny ofoyn LCD (eA.26).
2 Eπiλεξτιγia va μετακινησετο Επιθυμητό συμβάν στο κέντρο (①) kai στη συνέχεια επιλεξτε to (②).
H bivteokápepaevapavici avotuata tic yyyepaumvec eikovec wovabvbaon tyn nhepuynvia kai tnwpa.
3 Eπλεξτην εικόνα.
H bivteokáepa kavei avanapaywn aio tyn eilayevn iikova stny televtaia ekovatou ou maavoc.
4 Eπλεξτa kaṭαλλa kouμπiασην oθόνn LCD γia διαφοεςλειουργίες avanapayωγής.




| 'Evtauşön ðxov | / / | Προγούμενο/Eπόμενo | |
| Ⅲ | Διαγραφή | / / | Πα γρήγορη μετακίνηση προς τα πίσω/γρήγορη προώθηση |
| Περιεχόμενo | / / | Αναπαρayωγή/Παύση | |
| Διακοπή | / | Αναπαρayωγή/διακοπή προβολήςδιαφανεών |
Opouva Koupiia nov nepiypavovta npapanawv evdeltaetal va uny evariciovta, avaloya tynekova nov avapapayetai.
- Otav επιλέγετε επανειλημένα [ ]/ [ ] katá τόn δίαρκεια της αναπapaywyncy, o tαvicić αναπapayovtai πο γρήγορα katá περίπου 5 φορες → περίπου 10 φορες → περίπου 30 φορες → περίπου 60 φορες.
Kata tN diapkeia tnc paovonc, eian ae Tgia apyn avanapaywyn tnc taivias.
-Ⅱa va επαναλβετην Προβολή διαφανειών, επιλέτει → [Póθμ. προβ. διαφαν].
Evseicic ofovnoc tyn ofoyn PpoBoaoumuavtoc


Eikovc meiwov meyethocnov osac einnptenovv a te noaIe c Eikovc tauroxpova oia oovn evetnpiov ovouaocvtai "uKpOpyapiec".
∑neiwoeic
Iia Tnv aioopvni anwaleiaic twv deooyevw vikovw oac, ao0hkeve tepiodika oles tic yyyepauevec ekoce oc os eEgtwepioko meo (oeA.48).
- Στην προεπλεγμένην ρθμιση, ᵓχει προεγγραφεί μι απροστανεύνη ταυία επίδειξκ.
Tia avanapaywny taiviwv kaI toypaipw ano Tnv IpoBoa h xaptn (MovTeLa GPS)
MeTaBeiTe oE IpoBoAoI aptn natowvtac → [PiOboAoI xaptn].

- 'O'atav xŋoμoioeite ta δeδoμéva xáptn γia πwtn φopá:
Euavtei eva mnuua touacnta va emebaaote eav ouawveite me touc opouc tou ouawvntkou aedeia cphonctwbdoeuvw xaptn. Mnopeite va xpnauonoiote ta deodoeva xaptn
patovac [Nai] oTnv obov, apouo uawpvnoet e me touc opouc touuawvntkou aedeiacxponc (sigma 71).
μπopeite va χρησιομοιοηετe τα δεδούνενα καρτη αν πατησετe [Ox]. Oμως, ὅταν προσαθησετε va χρησιομοιοηετe τα δεδούνενα καρτη για δεντερη φορα, εμφανιζεται το ἀδι συνμα στην Θόνη κα μπopeite va χρησιομοιοηετe τα δεδούνενα καρτη αν πατησετe [Nai].
Tia va avanapaye EIKOvec aleaec ouokuec
Evexetai va uiv eivai duvatn n kavovikn avanapaywy n eiovov nov exovv eyypaeei ot n bivteokapea aeAec oovkevc. Eionc, evexetai va uiv eivai duvatn n avanapaywy n eiovov nov exovv eyypaeei oe aAec oovkevc es tBivteokapea.
Taiviec neoioteta eikovac tvnkioc evkpieviac (STD) nov yyypaqknav o kaptec mnuhnc SD ev iau duvató va avarapaxoov oE xonlaiov AV alawkataokevaotwv.
PpOyEvEc λeIToupyieC
Eyypaŋ ᵋικόνων με δίαφορες ριθμίσεις
Ia IAnpOopiec oxetika e to movTeLo tnC bivTeokapeac, avatpeEe stnv akolov0n o5iia:
Aetovpyiec kai c .7
Eiioy nTc noiOtnTac Eikovac taivw (Aeitoupyia yypaqnc)
Mnopeite va aalaeet n aeitoupyia
eyypaqns yia va enialee tyn noiotnta
taiwv kata tn v eyypaqntauivov u
noiota eikovac vynlc evkpiieiac
(H).O xpooc eyyapnc (oE.60) n
otnoc tnc oovkeunc meoov sto onioo
mnpovv va atiypawov oi ekovc
evdexta va aalaei, avaloya m Tn
lambdaoupyia eyyapnc nov eiuIexthetaK.
(H npoeilayevn pθmuon eivai [Tuukn HQ].)
1 EπIλεξτΕ [MENU] → [Ποιότ./μέγ. εικόνας] → [ ] Λειτουργία ΕΓ].
2 EπIαεEτην επIθμιnτι λειτουργία εγγραφής.
Aeitoupyia eyypaqnc kai ouakeuec meowv otic oonoie c npovv va avtipapouv EIKOVEC
| Túpiοι μέσων | Λειουργία εγγραφής | ||
| PS* | FX | FH/HQ/LP | |
| Σε αυτή τηβίντεοκάμερα | |||
| Εωτερική μυήμη | ✓ | ✓ | ✓ |
| Κάρτα μυήμις | ✓ | ✓ | ✓ |
| Túnoi μέσων | Λειουργία εγγραφής | ||
| PS* | FX | FH/HQ/LP | |
| Σε εξωτερικές συσκεύές | |||
| Εξωτερική συσκεύη μέσων | ✓ | ✓ | ✓ |
| Δισκοι Blu-ray | ✓ | ✓ | ✓ |
| Δισκοι εγγραφής AVCHD | — | — | ✓ |
* To PS o p e i va i movo otav to [E Pv0hcapé] exi opioTei wc[60p] (ouvtla me xpwataiko oovtma NTSC)/[50p] (ouvtla me xpwataiko oovtma PAL).
Autouatn nanyxaoyελou (Kλειστρo xaoyελou)
Mia toypaia p a e t a i auToMaTa oTav n bivteokapea avxveoTe to XaOyelo atouov kata nI thiApkeia Eyypaic Taiviac (eA.53).H npoeiAeyevn puOuon eivai [Atn] kataypaqn].)

∑ημειωεεις
-
Otav éxéte επλεξει τα πapakāτω, δεν μιοpeiteν va χρησμοποιησετ ηι λειούργία κλειστρου xαμόγελον.
-
[E]Aetovpyia EIT]: [Eeap. noiotnta Fx]
- [E]Pvθμoc kαρε]: [60p] (μovτλa με ρωμatikó σνστημa NTSC) n [50p] (μovτλa με ρωμatikó σνστημa PAL)

Avoloya me tic ovthetake cyypaqih, tic ovthetake tov emuoc kai tn poumuon nC bivteokakepac, mpoep va unv evai duvarnt naixveoanxauoyelov.
- [Evaioθ. avixv. xαióy.] (σελ. 53)
Eiioyn tnc katalnnlnc puoianc autouata yia tnv kataoan eyypaqnc (Euquc autoamu)
H bivteokáepa oac yyypáeɪ taiviec μéta tyn επλογη nτc πιo katáλnλnc ρθμioc γia ta θεμata n tyn katáσtaon autómuata. (H προεπλεγμενn ρθμiσn εivai [Nai].)
1 Eπiδετe [Nai] → OK ΘO kατω δει τμήμa της Θθόνης εγγραφής ταιών ἡ φωτογραφίων.

2 Στρέψτε τη βίντεοκάμερα προς το θέμα και ἐκινήσετε τήν εγγραφή.
Eupaviovta ta ekovidia nov avtotoioyov otic ovthetake nov avxveovta.

Avixveuon npooswnou: (Hoptpaio), (Mwpó)
Avixveuon oknvnc: (Oriotioc wtiouc), (Toia), (Nuxtep.
oyniKO), (OwC npoBoe), (Xaunloc wtiouc), (Macro)
Avixveuon kouvnuatoC tnc kauεpac: λ (Περατημα), (Tpiδo)
Avixveuon nXou: (Avr.ueiwo.0op. avεμ.)
Ia va aKvpuwOeTe to Evpuvc avTomuTo, EπλεξTe [Auta] →[Ox].
Tia va eyypáψeE iKóvec nio φwTeivá
aIó autéc nou eyypáφηkav μe Tn
λεitoupyia Evpuéc autómuTo
Eπiλετε [Mnχavn/Mukρóφωνo] → [TM Xεροκινητες ρvθμισ.] → [Low Lux].
∑ημειωεες
H bivteokapaepa mnpoei va nnv avxveoei tnvaavaevoevn oknvni eua, avaloya ticovthkec eyypaqhc.
Enioyn tnc mopnpc eyypaepn cyia taiviec
H bivteokapepa opei va eyypásei taiviec.
o tpeic diapopetikéc oopéc eyypaqnc.
1 EπiλεξτΕ [MENU] → [Ποιτ./μέγ. εικόνας] → [Pύθμ. ΕΤΟ / ΕΜΡΙ ]
2 Eπλεξτε την επιθυμητή ρύθμιοη εικόνας.
HD:Piotnta HD:
Avtn n oopnp eivau npnp npsiakov bivteo vynlnc evkpiieac.Anoalovte opoppc eikovec se yaln 0bovny.
MP4: MP4:
Avt n oopn eVdEikvTu y aEvkoI avanapaywyTowTaivwOe smartphone kaiavébaσma Oδiktroo Tov ITo.
STD Ioiotnta STD:
Avt n oopn eivau oopn npiaakov
Bivteo tuiknc evkipveic. Eivau xnoi
Yia tyn aoohkeov taivwv o DVD.
XpŋoŋTwv δuvatoŋτtwv xεipokivntnc puθμiσnc
Eivai o i va npaymuatooneite
Xepokivntec pvthetaic ie tvov eioyema MANUAL,avtoixwvtac eva stoityio
evo ([Eotiaon] stny npoeiIeyevn
pvoo) stov eioyema MANUAL.

1 NatnoTe MANUAL yia etabaon oTo xEipokivnto tpOno λeitoupyiac.
Me to naietau MAnUAL yivea aalayn tou tponou aeitovpyiac eTaXeipokivnta kai autouata.
2 Περιστρέψετον επιλογέα γίαν πραγματοποιησετηρύθμιση.
Στοιχεία που μπορείνεν α ελέγξετε μετον επιλογέα MANUAL
- [Eστίαη] (σελ. 52)
E - [IPIΔA] (σελ.52)
[TaXvtnta kLeioTPOU] (e5.52) - [Mεταβ. αντόμ. ἔκθεσ.] (σελ. 52)
[A yi] 10oP.5vKoU] (6E5.52)
Tia va avtioxioTeTo oToiExio oTov Eiloyea MANUAL
1 KpatnoTe pntnEvTo MANUAL yia i devtepoEeTt.
2 IIeipoiTepeTov eiloyeaMANUAL kai eilaleTo oToixio nov thelte va aviioxyoet.

EπλεE [EIIANAPOP] γia tyn επαναρος των στοιχειων πουθμιστηκανχεροκίνητα στις προεπλεγμενες ριθμισεις.
3 MANUAL.
Ta kaepac nov eupavilovtat otyn othovn LCD diapepov, avaloya me tpvuioic yyyapqic nbcivteokapec. Ot pvthetaic th a eupavioiotov m Ta napakatw ekovidia.
AUTO:Avtóμαnt
MANUAL Hek0e0n pv0uicetau xipokivnta.
A:Piotepaotntra IRIS
-AEs:PiotepaioTnTa taxoTnTac kleiostpov
∑neiwoeic
Oi xeipokivntec pvthetaic 0a diatnpnovv akoun kai eav aalae tto stoixio avtroioxionc tov enloayama MANUAL. Otofo, av pvthetae to [Ekeon] apouv eilete xieipokivnta [MeTaβ. auToμ. ektheo], to [Ekeon] 0a vepioxei tou [MeTaβ. auToμ. ektheo].
Eav pv0muoet eva ano ta stoixeia [Ek0eon], [IPIA] n [Taxvtnta kLeiostpou], o pv0muic twv aalwv 2 stoixeiw thakupwovv.

[K di c ] (σελ.54)
Eyypaqn p o o p i v 0e0nc (MovtEla με GPS)
Tia nnpoopiec oxetikae to movte lo tnC bivteokapeac, avatpexi e Tny akolovn oelia:
Aetoupyiec kai .7
'Otau vpuoitceto [Pvthetaqn GPS] oE [Nai] (npoeiileyevn pvthetaqn),to eikovidio tpiywviouo GPS eupaviicetai otyn oohyn kai n biVTEOKaepa Eekiva tn yavaTnO npDopvopopiKw OmaTWPGPS.To eupaviocoevo eukovidio diapeei avaloya me Tny evtaon tou onmuatoc nov laubavetau H aeitovpyia GPS eivau diaeoiotav eupaviocovtata x, x1n xil.
Oi napakatw eitovpyie civai diaeoumuec evxnooioite tn eitovpyia GPS (Piaykoo ovoTma evtoiooovc).
-Eyypaqn 0eOns yia taiivc n qwotypapic (H npoeiAevyEvn pOuon eivai [Nai].)
-Avapaywyh taivowkai o c a o eva xaptn (PiopoBoI h xaptn, 0eA.30)
-Emuavion evoc xaptn tnctpexovosac
Av θελετνα εγγραψετεπηροφορίες τοῦθεσίας
[ \text{Eπιλέξτέ [MENU] → [Puθμίοεις] →} ]
[Γενικές ριθμίοεις] → [PúθμίοηGPS] → [Oχι].
∑ημειωεεις
MTopei va perapaei liyoC xpvoc uexpi va Eekivnoe i n bivteokapeoTov tywiou.
XpnauonoiotnTnIeitoupyia GPS oEgwtepikockai avoiktoocxwopoc, nEiEbn Iyntwvpaiooanatw evai bEaioTnO auroc tovc xwopoc.
- Στο επάνω ἔρος του χάρτη εμφανίζεται πάντα o βόρράς.
Avaapaywyn EIKOVWV O E Tnλερaσn
Eav ovvdeoetn bivteokaepa otny
VIOOxH EIOObH HDMI uac nIeopaocns,
nIoTnTa EIOKovac nou eapaviTeai Otny
Ooovn Tc nIeopaocnc evai NoiotnTa
EIOKovac vynlnc Evkpiiveac (HD).Enionc,
Eav ovvdeoetn bivteokaepa otny
VIOOxH EIOObOv A/V uac nIeopaocnc,
nIoTnTa EIOKovac nou eapaviTeai OTn
TNeopaon iivai NoiOTnTa EIOKovac tviKic
Evkpiiveiac (STD).


Pon oHaToc
1 Eπλεξτην εισδο της ηλεραοής με τη συνδεδεμένην Φιοδόχή.
2 SuVbEoTe Tn BIVTEOKaepa μe μia tnλερaση.
3 Avanapaye taivia n o y p a i i v t e o k a (σελ. 28).
Σημειωεοεις
EπiΩcavatpεtεσaεγεipidiaodnyuovtns tλεραοnc.
Xpnouoioiote tvapexóevo evaalaooóevovpeuatocwc nyn tropodosiaic (eλ.16).
Eav n tnaeopaon deviathetai vnoobx iouodov HDMI, xpoanoiotae kawio AV (wleitau xwiota) ytnovv6o.
- Otav oitauviec eyyapovotuaeioirotna evokvac tunikc evkpiiveiac (STD), avanapayovtaeoiotnta eikovac tunikc evkpiiveac (STD) akoum kai eonlaepaon vynlnc evkpiiveiac.
- Otav avanapayete taiivcε μe ποιόπτa εικόνας τυπικής ευκρίνειας (STD) ος τηλέροση 4:3 πουδεν εΙαι συμβατη με σημα 16:9, θεστε το [Ευpeia λειτουργία] σε [4:3] για την εγγραφή τανιών με αυλογία διαστάσων 4:3.
Eav ovvdeoTe Tn BVTEOKaepa oac oe TnAeopaon Xpnomuonowvtaoc avw ao evav tvno kaawiou yia tnV Edo 6ikovw, n EdoC HDMI expi npotepaortna.
AioλoovTe nxo surround 5,1 kavaaiwv
Σην προεπιλεγμένη ρύθμιση, μιποpeiτε va πραγματοπιησετε εγγραφή ἡχους surround Dolby Digital 5,1 καναιών με to Σενωματωένο μικρόφων. Mιποpeiτε va απολαύσετε ρελιστικό ἡχο κατά την avanapaywyŋ ταιών σε συσκεύες πουνιστηρίζουν εἰσδό ἡχους surround 5,1 καναιών.
DOLBY DIGITAL 5.1 CREATOR
Eav n tIeopaon oac eivai
movopwviKn (Otav n tIeopaon
deltaiMoVIOua unOdoxN EIOoDou
nxou)
Σvδεσετο κιπρινο βύσμα ενός καλωδiου AV (πωλείαι χωρισά) στην ζυοδόχ ἀσόδου βίντεο και το λευκό (αριστέρ κανάλι) ἡτο κόκκινο (δεξί κανάλι) βύσμα στην ζυοδόχ ἀσόδου ὃχου τής τηλεόρασης ἡτο βίντεο.
Σνύδεοι τής τηλέραος, Μέως Σουκεύς βίντεο
Tn 0 O TnV EIOO LINE IN TOU BIVTEO U TO KAWIO AV (Nwaleiata wpiota). PvuoiTe Tov eILOyEA EIoDov STo BIVTEO O Tn EON LINE (VIDEO 1,VIDEO 2, KtA.).
PvthetaaTc aVaioyiaic diaotaeWnov vnooTnpetau ano tv nIeopaan: [TvnoC tnEopaonc] (eA.54)
Σετικα με "Photo TV HD"
H bivteokáepa avtn eivai ovmbeta n 1e to protvno "Photo TV HD". To "Photo TV HD" aac napexi tn duvatotnta anekovicnuhnc hentoepiac, wtoypapikou tovuia hetaa hntc vnc kai xpwatawv.
Svudovtac oovc evcs Sony ubetaec Photo TV HD xrhoon evoc kalomega HDMI*, npopeite va anolaoeet Evav oloknpo kaivovpyio kooio ano wtoypaiec katanlktikn, nipn Toiotnta HD.
* H e o p a o n 0a a t e i avotouata styn kataalnnAeitovpyia kata npoBoIn
Xρήση τού ενοωματωμένου προβολέα
Mnopeite va xnpaouoioeTe mia einiiebn
enipavvia, oWC evav toixo, wc oovn yia
va npoalte Eyyepauvec Eikovec
xnpaouoiovvtac tov evowatwévo
npofoea.

1 Στρέψτε το φακό του προβολέα προς μία επιφάνεία, ὄπως ἐναν τοίχο, και μετά πατήσε Projector.

2 Eπiλεξε [Eikova πou éxει ληφθει με τη συοκεύη] στην oθόνn LCD.
3 Otav εμφανισείη Θούνη του σθηγόν υρήσες, επιλέξετε [Προβολή].

H oboyn autnpavici tnv npot opap nov xnpoioite tov evomegaatwve npofoea, apoue eEe EEPYOnoieta T biTeOKapea
4 Puθμiσε ην εστίαη ηις προβαλλόμενης εικόνας χροσμοποιώντας το μοχλό projector FOCUS.
MoXlOc PROJECTOR FOCUS

H npoBaaLoEvn Eikova evai e p n otav n anostraon mTeXv tnc bivteokakpeac oac kai nC avtavakawevnc Eiupaveiaac avxavetai.
- Suviotata va totothetaeTeTn
Bivteokakepa nepiouo 0,5 n nio aukpia ano tvv eapaveia otnoia npokeiata va ppoBnOovoi EkoEvc.
5 Otav avanapayete Eikovec, xpoaiouoioTe to oxlo couyia va μetakivnoTe to Kapé επioync nou εμaviεtai otnv oθovn LCD kai μeτa πatnoTe to koupi PHOTO.

Ia IeTIOpeIEc OeTeKAc TnV avanapayyn, .eAida 28.
O tav xpoiiooeite to aopuato
tnalexipiotnpio, xpoiaoioiote to
/1/4/7yia va metakivnoeTe to kape
eiloync ka natheTo ENTER yia
va ekeivnoeTe avanapaywn tv
otoxieiov sto kapé.
Ia aenepyonooinon tonpofoea, πahtore PROJECTOR.
XpŋoTou npoBoLa γia tov unoλoγiστñ to smartphone

Pon onmuatoc
TnV vno doxh PROJECTOR IN Tnc bivteokakepac o vno doxh eodov HDMI Tc aalnc oovekveic, xpoiooowvtac to kawdo HMI (napexetai) kai stn ovveiae iuieTe [Eikova ano eewterpki novkeun] sto 2.
Eav o akpoedektnc tnc ovvdeepevnc ouokevn c evai oubetaoc to kawdio HDMI (napexeta), xpnouoionte metatponetEDA
HDMI (wnwleitau wpiotá).
Mnopeite va xeiipoterte to moxlo PROJECTOR FOCUS mvo kata tn npofoi eikovw.
∑neuiwoeic
H o0ovn LCD aTeevpyoioiEiTa evw a a v_a
Na npooexte tic akolov0ec aeitoupyie n kataotadeic evw xpoiooiteita tov npo0a.
-Beaowothe vα μην προβáλετε εικόνες προς τα ματία.
-Bebaowothe vα μην αγγiετe to φακό τον προβολεα.
-HoovnLCDa0qakocpnoBolαe 0epuaivovtarkata nXpOsn.
-H xPnON tov npoBoLa eeuwei tn diapkeia wns nC npatapiac (ovviotatau n xPnON tov napexoEvov eaoxmaioTn evaalaooEvov euvatoc).
Oi akolov0ec 5eitoupyie 8ev ivat dia0eouiec evx npnooioitev to npofoia.
-Xειρισμός χάρτη (μοντέλα με GPS)
-E\xo0oc Avanapaywyic Eiionmuavoeovs Ovoukev onwTnEopaon
- Λειτουργία της βιντεοκάμερας με κλειστή την oθόνη LCD
ApkeTeC aAaEs cAetovpyieC
O'atavoi npoalouvec eikovc nepiexovv
pou maupo, evdexetai va napoviaotei auvdpa
aiovopponia xpwataw. Avto opeiletai
otnv avtavaklaon tov wto cto qako tov
pnoela kai dev anotele duoeitovpyia.
Eπεξεργασί
Eπεεργαοίση βιντεοκάμερά σας
Ia IAnpOopiec oxetika e to movTeLo tnC bivteokapeac, avatpeEe TOnv akolov0n o5iDa:
Aetoupyiec kai c .7
∑nueiwoeic
Mnpovva npayatotnoubovmukebaoukec aeitoupyie eEeepyaociaacnT bivteokapea.Eav thelete va npayatootnoe pponyueves aeitoupyie eEeepyaic,eykataohtote to loyoukuo "PlayMemoriesHome".
- ev μπopeite va επavaφépete εικόνες apov tic diaypáγeτε. Anθηκενοτε πρώτa tici σημαντικές taivies κα φωτογραρίες.
MnvaopaieTe nμaTApia n to metaaoynatotn evaalaoojeov peuataoc aoTn bivteokapeEvwdiaypaetene diawopicete EIKOVC, Mnopei va npokl0e i aen oeo yyapqc.
Mny Eayayete Tn kapta mnuhnc kat aTn diaypaqn n diaxwpioo eikovwv ano Tnv kapta mnuhnc.
Eav diaypaesTe n diaxwpiTe taviec/ o y p a i e c nov peipalaubovvta Oa anoynkevva oevapia,0a diaypapovkai ta oevapia.
Δiaypañ taviw kai ωτογρaφιωv
1 Eπiλεξτι∈MENU→[Eπεεργ./Avtiγραφη]→[Δiayραφη].
2 Eπiλεξε [Πολές εικόνες]
kai μετα επiλεξε τον τύπο της εικόνας που θέλετεν σίαγράψετε.

3 PnOoTheoTcOnuadia eNIOyNc 0tC Taiviec n wtoypapieC IOU Oa diaypaopovkai ENIeEOK

Tia va diaypávesoλeTic taivieC/ ωwotypapieC TNC Eπiλeμevnc Μερομηviac tαuóxpova
1 0 a2, [O a ]
2 Eπλεξτe την ηερομηνia πον θελετe va διαγραψετe χροιμοσιωντaç to [√] kai μετα επλεξτe OK.

Tia va δiaypáψετε ᵓν a μέρος μιας ταιίας
Mnopeite va diaxopiote μa taivia ka va tn diaypavet.
Katapynon npoostaiac; [Piooataia] (6e5.54)
- [Διαμόρφωση] (σελ. 54)
i i c taivia
1 Eπiεξτe → [Δiaxωpiμóc] σην oθovn avanapaywynic taiviac.

2 Eπλεδετο Μημείο ΜΟύου Θελετενα διαχρίσετην ταίνια σεκηνές χροιμοιοιώντας toII και μετά επλεδετε OK.

A: Eπιστροφή στην αρχή της επιλεγμένης τανίας
B:Po3oanTou oneiov anync uε πeipooTe np akpiéia
ημειδωεις
To onneio onov ayyicet e [kai to npayatiko onneio diaxwipiauov evbexetarva diapepovv, kaoh n bivteokapea eniLeyei to onneio diaxwipouov baoei npoavxioeuw nepinou muov devtepolentou.
- ειαίνυνατός o διαχωρισμός τατίας MP4.
Anywn i ano taivia
Mnpoeite va kavete eikovw ano taiviec nov yyypaqknav eTn biVTEOKaepa oac.
1 Eπλεξτε → [Eγγραρη φωτογραριών] που εμφανιζεται στην oθόνη αναπαρayωγής μίας τανίας.

2 Eπλέξετο Μημεio nοι θέλετe va γίνει λήψη μιας φωτογραρίας χροιμοποιώντας το ▶/II και μετά επλέξετe OK.

A: Eπιστροφή στην αρχή της εἰλεγμένης τανίας
B:Poθμοιητον Μημειουλήψης με περισσότηρακρίβεια
Eav n taivia eyyapqnke e eva ano ta akolovtheta eniiedelta noiotntac eikovac, to eeyoc eikovac o pvtheta i onwc eupavietai napakatw.
Piouoteta ekovac vynlnc evkpiiveiac (HD) MP4:2,1 M (16:9)
- Evpeia ava loyia diaoataeov (16:9) πoiotnta eikovac tvuikn ecvpiveiac (STD):0,2 M (16:9)
- Avaloyia diaostaeewv 4:3 epiotnta
Eikovac tvuikjc evkipiveiac (STD): 0,3 M (4:3)
∑neiuwoeic
- ev μπopeite va αοθηκεδοε εικόνες που τραβήκατe ο κάρτα μνήμις (μοντέλα χωρί λειτουργia εἰσόδου USB).
Σετικα με την Μερομηνia kai ωρα εγγραφής φωτογραφιών που λήφθηκαν
H npounvia kai n opa Iynnc twv nov eivai iia 1e Tny npounvia kai tnv opaqhc twv taivwv.
Eav n taivia ano tyn oioia kavete exei kwiodko deoouevw, n npouviia ka n wpa eyypaqnc tnc wfotypapiac 0a evai n npouviia ka n wpa katayn oioia npayatooioutane thn hni ano tnva.
Anθκευση τανιών και χωτογραρίων με Φιπολογισή
Avapaywyn EIKovwv oE uOIoYiOtn
To loyioukió "PlayMemories Home" oac eitnpéi va etiyate taivic kai akivntec ekovc.
stov vnooyoiotn oac kai va tic xpnoiomoinote me diapopouc tponovc.
Δυνατότητες τουλογισμικόν "PlayMemories Home" (Windows)

H tov "PlayMemories Home" o i va p a y a t o o u n i a k o l o v URL.
www.sony.net/pm
Σημειώσεις
- AnaiaTeiAta oovv8eOn 0to DiadikTvo yia Tny EykaTaoTou "PlayMemories Home".
- Anaiteiata oovdelta ono Diadiktrovo ia tn xphon tov "PlayMemories Online" ka aalwv nektpovikw vnpesow. Ov npesiec evdelta tai va mnu eviaol dai theoue c oe opioevc wpeic/epioxec.
Loyioikó yia Mac
To loyioiko "PlayMemories Home" dev vnootpietai yia vnoLoyioTeMac. Ia va eiaayaye iekovc an to n tiyeokapeo mac o Mac oac kai va tic avanapayete, xpoioouote to katalno loyioiko sto Mac oac. Ia aeptoeiecs, eiokeptei ty npakatw dievvvoon URL.
Aεitoupyiec kaεπoπμoc→σελ.7
'ElEyxoc tou ouotnmuatoc unoloyiostn
| OS*1 |
| Microsoft Windows XP SP3*2/Windows Vista SP2*3/Windows 7 SP1/Windows 8 |
| CPU*4 |
| Intel Core Duo 1,66 GHz η ταχύτερος η Intel Core 2 Duo 1,66 GHz η ταχύτερος (Intel Core 2 Duo 2,26 GHz η ταχύτερος αλαιτείαι κατά την επεχργασία τανιών FX η FH και Intel Core 2 Duo 2,40 GHz η ταχύτερος αλαιτείαι κατά την επεχργασία τανιών PS.) |
| Mνήμη |
| Windows XP: 512 MB η περισότερα (συνιστάται 1 GB η περισότερα.) Windows Vista/Windows 7/Windows 8: 1 GB η περισότερα |
| Σκληρός δίακος |
| Αλαιούμενος ὄγκος δίακου γία εγκατάσταση: Πέριανον 500 MB |
| Οβόνη |
| Touλάμστον 1.024 × 768 kουκκίδες |
*Aaataeitai baikn ykataoata. H leitovpyia diaqawaiietai eav to npapanaw
leitovpyko votnmae xei avaathetai n
xnpauonoei tpiabllov noaanhc
ekivnoC.
^2 viooortipocovtai Eko6oeic 64-bit kai to Starter (Edition).Aataeita Windows Image Mastering API (IMAPI)Eko0oNc 2.0 n veotepnC yia va xonmaooinaTe Tn aeiovpyia moupyiac diKov, kTλ.
^3 To Starter (Edition) v a .
*4∑vuiotātai tαχνερος επεξεργαστής.
∑ημειωεοες
Hlambdaovpyia dev diaoapaiaeatau e ola ta περβαλλοντa vπολoγιστή.
EykataoTaon Tou loyiomuKou "PlayMemories Home" oTov uToIooiOtn oac
1 Mεταβείτε Θην ακόλουθη
TOnoθεσia λήψις
χρησιμοποιώντας ενα
πρόγραμμa περίŋγηοις
διαδικτύου Θοτυ Σιολογίοιτή σας
Και Θη Συνέχεια κάντε κλικ στο
[Install] → [Εκτέλεση].
www.sony.net/pm
2 EykataohtnoTe ouμwva μe TIC odnyiec tnc oOvnc.
- Otav εμφανισόνιοι οδηγες της οθουνίς πούθα σας έπητουνν αυσέδεσετην βιντοκάμερα σε εναν Φιολούτή, συδεότετην βιντοκάμερα στόννιολούτή σας με το ενωματωμένον καλώδιο USB.

Evωματωενο κλδδιo USB
'Orav olokAnpwoEi n yekataaTaon, Ekkivitea to "PlayMemories Home".
Σημειώσεις για την εγκατάσταοη
Eav to loyioiko "PlayMemories Home" exi hon ykataoataei stov vtoLoyoiatn oac, ouv6eote tn bivteokapea oToV uOLOyoiotn. OLeitovpyiec nov mnpovva xpoouoinovv me autn tn bivteokapea 0a eiva nEvos diathetaic
Eav to loyioiko "PMB (Picture Motion Browser) exi hon ykataostei oTo vnoIooyoi oac, tha avtikataostei ano to loyioiko "PlayMemories Home". Tnv npirtwn aotn, dev npoipeite va xnpouoinote opouievec leitovpyie. nov tav diathetaic sto "PMB" me auvt to loyioiko "PlayMemories Home".
Tia anoovδεηn tnc βivteokáεpac anó tov unoloyiortn
1 Kávτε κλικ στό Εικούδισω στό τατω δεξι τμήμα της επιφάνειας εργασίας τουνυπολογιστή → [Safely remove USB Mass Storage Device].

2 EπIeTe [Na]σηv oθovn βντεokαερaç.
3 Aioouvδeστo το καλωδιo USB.
Eav xŋσμoioeite Windows 7 n Windows 8, kαντε κλικ στο και στη συνέχεια στο
ημειωεις
Otauaoktno paoaon otn bivteokapepa nto vtoofoiotn, xnpouoioiote to loyioko "PlayMemories Home".H letrovpyia dev iival yyyunuev, eav eneepyaceote ta deoboeva xnpouoiouwvtac, loyioko diapopetiko ano to "PlayMemories Home" h evd siaxeipieoe atxpeia qakelovc aenevoic aano evavntoloyoiotn.
ev eivau dvatn n anothekeovn twv eikovw
oe opiaevoc diokouc avaloya m TNI
diapopwoon nov enlyeetai stO
[ ]Aeitovpyia EIT]. Oiauivc nov
eypavovtai o aeitovpyia [Piotnta 60p
PS] (ovteLa me xpwutko ovteta
NTSC) /[Piotnta 50p PS] (ovteLa me
xpaatiko ooteta PAL) n [Eap. noiortta
FX] npopoovva anothekevtovmvo 6e iio
Blu-ray.
- topeite va i taivie nov exovv eyypaei stn 1eitovpyia [MP4 MP4].
H bivteokapepa diaxwpiéi autóma εva apxio eiovov nov vntepbaivei ta 2 GB ka aotnohkevi ta tniμata wc xexwpiotá apxeia. Oλa ta apxieia eiovov mnpoei va apaviciovtaiwc xexwpiotá apxeia oε evav vnoayoiTη. Otofo, o xeiipiaoc twv apxieiw θa payatatooneiitai owotá μe tn λeitoupyia eiayownc kai tn λeitoupyia avanapaywync tnc bivteokapeac n to loiyuikó "PlayMemories Home".
EKKIVN0N tou λογισμικόU "PlayMemories Home"
1 Káντε διπλό κλικ στο εικούδιo "PlayMemories Home" στην oθόνη του πυλογίστή.

- Otav xρησμοποειτe Windows 8, επιλέξτe το εκούνίδιo "Play Memories Home" από την oθόνη ἐναρξης.
2 Káντε διπλό κλικ στο εικούδιο Συντόμειασης του "PlayMemories Home Help Guide" στην σθόνη του ὄπολογιστή γίαν δείτε του τρόπο χρήσης του "PlayMemories Home".

- Otav xρηομιοσειτe Windows 8, επιλέξτε [PlayMemories Home Help Guide] απο το μενου βόηθειας τον "PlayMemories Home".
Eav to eikovidio dev emuavietai otnv ofoyn tov vnoLooyiotni, kavte klik sto [Start] [All Programs] [Play Memories Home] to eT0uunto soxieio.
Pi c i k a e to "PlayMemories Home", eiaAeTe ("PlayMemories Home Help Guide") 1oTo yoiuikou n Eioekveite Tn oElaOa uooTniqnc PlayMemories Home (http://www.sony.co.jp/pmh-se/).
o i o t n t a i k o v a c tUtiKnC EukpivEiaC (STD) OUsKevun eyypaqnc
UvδoTe Tn Bivteokápepa OE OvOkeun
Eyypaqnc diokwv ME To KaIomega AV (πωλeitai χwiστa). Mnpoeite va kavete
Avtiypapn Eikovw nov avanapayovtai
OTN BIVTEOKápepa OE dio K bivteokaetα.
Σημειωεεις
- Suvodote Tn Bivteokaepa oac otnv npica tov toixov xpoanowvTac toeaoxmuatotn evaalaooevov peuatooc novapexetai yia auTn Tn aeitoupyia (oe.16).
AvatpEeTe oTo yExepidio 08nyw n npaeXeTa uKe i Te n OvD6eEvn OoKevn.

Ponσμatoc
1 Eioayayete to eoo eyypaqnc 0tn ouokean yyypaqnc (ouokean yyypaqnc diokwv, kT).
Eav n oukeun yyypaqnc exe i eiloyea eiofoov,puoioTe tv o e aeitoupyia eiofoov.
2 Suvδεοτε τη Βιντεοκάμερα σε Σουκεύπεγγραφής με το καλώδιο AV (πωλείαι χριστό).
- Suvodote Tn Bivteokaepa otio dooxec eoiodov tnc okeuic yypaqnic.
3 EkvnoTe Tn avanapaywyn 0tn Bivteokapepa kai kEkTeleote Eyypaqn 0tn oukeun Eyypaqnc.
4 Otav oλokλnpωθει to μοντά, Μαμαπότε τη συοκεύν ἀγγραφής και στη συνέχεια τη βίντεοκάμερα.
Σημειωεεις
- ev iival duvatn n avtiypaepiikovw v ovokevec eyypaqnc nov eviat ouvdepevece kaawio HDMI.
Eπειδη n αντίγραφή πραγματοποειται έων aλαογικός έταφοράς δεδούνων, n Νοιότητα των εικόνων ενδέχεται va αλλοιωθει.
taiviec o i a eikovac vynlnc evkpiviaac (HD) yivea atiyapn noiortnaeikovac tvniikcs evkpiviaac (STD).
OtauovvdsTe MOVOVovKNI OvOKevn,ovvdsTeTo kTIPVIO B0maTOU KAOWIOV AV (WaleitaXwpiOra) OTN VIOOxN EIOOsvBIVTEO KAI TOLeVKo (apioTePO KAVAL) N TO KOKAVO (8EIOkavAL) BOVA OTN VIOOxN EIOOsvN XOV TNC OvOKeVnic.
#
AvtypaipnIaInpoopopw nIepoounviaic kaI wpaç; [Kwδικος δεδομενwv] (σελ. 54)
XpnonovokekunpiopoBoaicmuéyeyooc0oync 4:3:[TTOOCtIaOpaanC] (eλ.54)
Aπoθήκευοη εικόνων σε εξωτερική συσκευή μέσων με ποίτητα εικόνας uψηλής ευκρίνειας (HD)
Mnopeite va anoynkevoete taiviec kai
awotypaiec oE xewterpikn oukevun
eowv (ovokevn aonohkevoc USB),
onwc oEvav eWTEPIKO kKnpo dioko. O1
akolovce aeitoupyie 0a eivai diathetauec
apoov anoynkevoete tic eikoec oac oae ma
eWterpikn oukevun eowv.
Mtopeite va ovvdeote tn bivteokapeoac
ue tyn eewterpkn oovkeun meowkai etva
avanapayete ekovc nou evxov anohtkevti
otyn eewterpkn oovkeun meow (eA.49).
Mnopeite va ovudoeote tov voloayotn oac me tvnvEeptiokvOkeun mEvow kai va eiaayete Eikovec stovuoloayotn oac xnpouoiouvvtac to loyouko "PlayMemories Home" (oελ.46).
Σημειωεοεις
IiavtnTnAeitovpyia,chipeiaceoteKaawdio uetaoxnmaotn USB VMC-UAM2 (wAeitai xwiota).
- SuvdsottoetaaonatnEvaaosoevpuatoCkto kawdo tropoosoiaocntvnoooh DC IN tnc bivteokapeac kTnVpiKa toixov.
AvatpEeTe oTo eYxepiio oDnyiw nov npaexetai mci Te Tnv EeWtepkn OoKEv n eOswv.
1 Suvdeote tn BivTeokaepa oac me tnv Ewotepikn oukeun v xpoioiowvtac to kaawio npoapoyea USB (nwiteataxwpiaTa).

Bebaiomegaite va myn apoovv6eTe to kaawio USB evu emuavietai n vvei [Pioeoumaia apxieiov faocn cdeouevw evokvw. Iepueve] otny oovn LCD.
Eav evaricietae n evdiE [EniD apx. faonc 8e9] oyn oovn tnc bivteokapeac, eaiEe OK
2 Eπλεξτε [Avtiypaφn.] σtnv oθóvn tnc βιντεοκαμερaç.
![SONY HDR-PJ660 - Eπλεξτε [Avtiypaφn.] σtnv oθóvn tnc βιντεοκαμερaç. - 1](/content/2020/04/49243/images/8a6d204533e904657f0e53422edf982265d949bf9cb431e96a4b12d3e9cee265.jpg)
AvtnTnOtiyunIpiopovva aOnoThekvotov Otn ovydeEmeyn oovkeyn eowv taiviec kai wotopyapiec nov eviaa anoThekyevec nToe eo yypaoicnc kai dev exovu anoThekytei noh tn oovekny EeWTePikw v meovv.
H aui tivai diaoetou m ovo otav vnapxov eikovec nov exov evypaei npoopata.
Ia va anooovdvoeoTe Tny EeotepiKn oukeun eouw, euiEeT Evw n Bvteokape pbioketai oLeirotoupia avauovnc avanapaywync (uqavicietau IIpofoanuabvtoc npEvtpnio oumbvotw).
Tia avanapaywn EIKovw vtnv EeWTEPIK ouokeu n eoov vton BivTeOKaepa
EniEe [Avanapaywnxwpicavtiypa]. Bna2kai EiAeTe Tyn Eikova nov va npoalae.
Mnopeite 21ionc va npoalte eikovec 0e mtnelopao nov ivai ovvepeyn 0nt bivtokapea (eA.35).
Otau eviaovdeevn ma eewotepikn oovkeun meowv to eikovidio 0a emuavotei otyn ohoyn Ipofoanuubavtoc.

Tia diaypaqn EIKovwO Tnv EeWTEPIK OoKEun MEOwV
1 Eπλετε [Avaanapaywyynxwpi avtypαφη].σtοβμa2.
2 EπλεξτΕ [MENU] → [Eπεξεργ./Avτιγραφη] → [Διαγραφη] και μετά ακολουθησε τις Μθηγίες που εμφανιζονται στήν Θθόνη LCD για να διαγράψετε εικόνες.
Tia anoynkeuon twv einnuuntwv EikovwO nT biVTEOKaepa oTnv EeWTePiK ouKEUn eowv
1 Eπλετε [Avaαραγωγηχωpi ανιγραφη].στο βήμα 2.
2 Eπλετe [MENU] → [Eπεεργ./Avτiγpαφη] → [Avτiγpαφη] και ετα akολονθισε τις οδηγίες που εμαρανιζονται στην οθόνη LCD για να αποθκεύσετε εικόνες.
Eav va avtipayse tikoce sov dev exovu atiypaepiaoka, eiaeMENU [EnEepy./Avtypa]→[Amuo avtipapo] evn bivteokakpe iival ouvdeedeevn otny tepiik oovkeun meow.
Tia tv avanapaywyn taivowu E IOIOTnTa EIOvAc uynlnc Eukpiveiac (HD) oToV unOIoYIOtn OAC
Στο λογισμικό "Play Memories Home" (σελ. 46), επιλέξτε τη μοναδα που αντιπροωπεύβαι τη συνδεδεμένη συοκεύη ἀξωτερικών μέων και Μετά κάντε avanapaywyŋ τανιών.
ημειωεεις
- ev πopeite va xρηοιροιοησετicakolovθεςυκενεςωεξτερικεςυκενεςμεωv:
-ovskevc muowu ME wopntikotnTa nov vepaivei ta 2 TB
-ovvntouevn movadabiodkwo,0wnocovadac CD n movad a DVD
- ovokevec μeowv ovvedεevc μe diavouea USB
- c , , , a USB
-ovokevn avayvwoc kaptwv
Evexetai va unv eviat duvatn npion e p i k w v okeuv moeuv mlaertovpyia kwidiokov.
To ootma apxieiv FAT eivai diaoigyo ia tn bivteokapea. EAV to meoo anothekevontc tnc xotepiknc oukeunc diaopoppwe yia to ootma apxieiv NTFS, kTλ., diaopppwote Tny exotepikn oukeun mewov xnpoiomoiowtac tn bivteokape npiv ao tn xpion. H oboyn diapopwoe cmuavicetai otav n ewtepikn oukeun mewov eiv uovdedeltaevn stn bivtceokapea. Piv avo tn diaopoppwn, bebaowte otrioukveh extepikov meowv dev ete anothekeoei onuavtka deodoueva kaohc n diaupoppwn ta deodoueva.
H t ovpyia dev eviva yyyunueyn e oec tic oovkeevc nov pnpovv tic anaitrnoic yia t ovpyia.
Ia IeTIOepeiec oxetikaeiaoEoue EKETeOeKec OoKEeVC eovw, eTaBeite OTnv TooTheia Web voootnpiEtc Tc Sony Tc Xwpac/epioxnc oac.
O apiohocTw oN kwv Nov popeite va aon0nkevoeTe otny Ewotepik ouokeyu meow evaiwcEic. Otofo, evaN eWotepik ouokeyu mawxexeAevthowpoXwpo, dev uopoei va ato0hkeoote oKnvocu vnpaepbaivouv Tov npakatw apioh
-Taiviec eiootnta eikovac vynlaeukpri\viaC (HD):Mey.3.999
-Taiviec eiootnta eikovac tvuikn c evkpiviaac (STD):Mey.9.999
-MP4 taiviec kai toypaiec: Mey. 40.000 (MP4 taiviec kai toypaiecmu)
Eav n bivteokaepa dev avaywpiTe Tnv EeWtepuKn oovKeun mowv,doKuaTe Tc Ehc diadikaoieC.
-Σvδεστε Εανα το καλωδιο προσαρμογεα
USB στη βιντεοκαμερα.
-Eav n eEwepikn ovokevn mewv exi to kalwio tpofooiaic evaalaooevov peuatoocnuoote oTny npila toixov.
O apioooc twv oknvw vdoivai uivai uipotepoc avaloya teov tuo wiovov tvovv yypapei.
- Ev iival duvato va avtipayete eikovec, aio EKTEPIKIO vOKEUN MEOW vTIV EOWTEPIK NmTN BC IVTEOKapeac.
Ppooapouyn tnc bivteokapeac
Xpólση των μενό
H bivteokapea diathetai diapopa
stoixie aevov oKa0e ia ano tic
6 katnyopie c evov.
Aeitoupyia liync
Mnxavn/Mtkpóφwvo
PiOiot./muEikovac
Aeit. avanapaywynic
EneEepy./AvTYPa#n
Puroic
1 EπιλεξτΕ [MENU].

2 Eπλετε μia katηγορία.

3 Eπiλεετο επιθυμητό στοιχείο μενού.

Σημειώσεις
EπiλεξτXγia va olokλnpωσeτη ρθμση tov μενού ἡγα va επιστρέψετην προγούμενη Θθόνη μενού.
Ia va o p a v a o i x o
Ta v o [MnXavN/MkPóqwvo] kai [Poθμiαεic] δiaθεtovu VNOKaTNyopiε. EπIeE×Te to eIKoviδio VNOKaTNyopiac ωσte n ΘoVη LCD va εμφaviει τλ iστa των v o σTnyv VNOKaTNyopia nov EπIeχθκε.

Ekovidia vokatnyopiac
Otauav nuopetva eIaEeEev a otoixo evou
Ta 0eov n o vioic e ykpu ρωa δεv iai diaθσiε.
Otauε to στοιxeio μενού με γκρι ρωμα, η βιντεοκάερá σας εμφανιει to λόγο πουδεν μποpeiite va επιλεξεte to στοιxeio μενού ἡ την προῦποθεη κατω anó την έσοία θα μποpeiite va υνθμioεte to στοιxeio μενού.

Λειτουργίαλήψης
Taivia. Eyypaevi Taiviec.
Kavei Iyyn ywoTovpaipwv.
OuaI npyEETP. EyypaeI OuaIc taivic e ae npynkivnon
Aynyko Aioe 0vEvexia eyyapovtai wc taivia kai qwotypqic. Kpatote to hemu sto kekape tco kvtpo nctovnc katn yypanf.
Mnyav/Mikpóφwvo
M Xeipokivntc puaia.
Ioopponiaeukou....PvthetaiTnV IoopporiaxpwatawOeXeonmuToπepiaalovEyypaqns.
/ . Povuicai tavoxpova tn qwteivotnta kai tvv eotiaon tov eilayevov thmuatc.
Φωτομετρηση Μποι ... Pνθμικει τη φωτεινότητα των εἰκόνων σε οχέση με ᵓν αγγίετε στην oθόνη.
Eotiaon oon. .PvOuicT nV eTiaon oEva oeu aov ayyicTe oTnv oOvN.
Ek0e0n. PuOmuEi Tn qwTeivotnta Taivov kai qwToypapWv. Eav enuEeTe [Xepokiveta], pv0iote Tn qwTeivotnta (ek0e0) xnpouoioiwvTac to +/ -
Eotiaon. Pvthetai Tnv eortiaon xeiopokivnta. Eav enuIeTe [Xeiopokivnta], enuIeTe yia va pvthetaiote Tnv eotiaon yia eva kovtro heta kai yia va pvthetaioe Tnv eotiaon yia eva kaipiro heta.
IPIA. Kaevi to nio eukpriec 1e to oovto oolwuevo n kavei nio evkpiivn oloklnp tnv ekova.
Taxutnta kleiotpou.... Povtui tnv taxutnta kleiotpov. Otav kave te hyn evoc kivouevou θeiaotc me vnyoepn taxutnta kleiotpov, eupaviietai oav va exi panawei otnv ekova. Me yamloepn taxutnta kleiotpov, to emu eupaviietai oav va kiveita.
Opio AGC. .Pv0muiz1e to eTnEgo AGC (Auto Gain Control).
Metaβ. autóμ. εκθεσ.... Puθμιει την εκθεογ. Ayyiξε [+] εαν το θεμα ειλι λευκό ἡ o onioθιος φωτιομός ειλι εντονος ἡ πατήσε [−] εαν το θεμα ειλι μαύρο ἡ φωτιομός ειλι χαμηλός.
Alambdai oop. eukou ... P0muic tyn Iooppoia eukou.
Low Lux. Eyypaqei eikovec qwTeiva xpuata oovthke cuaonlaov qwtioou.
Pupioeic unxavn
EnIoyn oKnvko. Eunieymu katalan npo0uon yepaqic avaloya eov to noc knvn, onw vxtepin nipn npapalia.
Cinematone.....Poujie to xpuia tnc taiviac ia va maiae ie nTv aIoopaia knuuatoypaikov taiuvw kat aTv yypa.
Fader....Emuavicn aonokpuTetbaoumaia oknvec.
XpovodiaokoTnC...PurovatoXpvodiaokoTnOtav nivteokapea cβpioketai oLeitoupyia yyypaicqwtoypaipwv.
Tele Macro. Eotiaζει στο θεμα με το φόντο του θλωμένο.
SteadyShot....Pou i tN oupvia SteadyShot kata nV yypaipn taivw.
6 SteadyShot....PvthetaiTnIeioypaSteadyShot kata Tn Iyn ywtoypawv.
i .........PvOuiCtToMuEviToEπiTeoQouTuov i o
a k o c e t a p o n i n c...... P u i c e i o v u o o v v d e s d e m e v o v a k o v e t a p o n i n c ( e i t a w p i t a).
Autómuoc φωπιος... Pθμει αντόματa την ἐκθεοῦ για θεματa μe onioθι φωπιού.
Pou mion n ktpw...Avtioxie ma aetovpyia oov eiloya MANUAL.
Inpoosno
Avixyeu. npoownou...Avixveeu avtouata npoowna.
Kλειστρο χαμόγελου....Κανει αυτόματα λήψη ὄταν ανίχνευτεί ενα χαμόγελο.
Euaio. avixv. xauoy....Pvtheta ivaiothoiia vixveoC xaoyelov yia tn laetovpyia KlaeioTpo xaoyelov.
Φλaç
Φλac....Pvθμiει tov tpòno ενεργοπoinoc tov φλας κατα τη λήψη φωτογραφιων.
Φωτεινότητα φλας......Pvθμιζει η ψωτεινότητα τοῦ φλας.
Meiowon kok atiw....EuioDici eTnv Eupavion kokkiivw uatiw katn lyhnye phac.
MikpΦwvo
uvarotepn .Avxveet a npoosna avpawv kai yypapei tyn avaloyn kaqapa.
Evωμ. μικρόφ. Βουμ... ᵑγγαρει τανίες εύντον έχο αὐλογα με τη θεση του ζουμ.
Aut. .0op.aevu.AayvywpicTeucovnKec yyypaqnc kai eivwei to oPovo avou.
Aeitoupyia nXou..... PovmuicTe mOpopnTou nXou eyypaqnc (5,1 kavaiw surround/ 2 kavaaiw oTepoeoovká).
Enineo eyyp.nxou.....Pvthetaiynv evtaon eyypaqnc nxyu.
YIpoBorHgonAnhysnc
To koumiou ...Ekweei Aetoupyie cTo Ta koumuou.
EkTeaEvn eTiaon....Meyeovi Tnv Ekova nov EaaviEtao Kevtpo Tnc oOvnc kaTa 2,0 oporc nepirou.
rpaun nIeYmuotoc.....EupavicIypauecIe ymuatoC oDnyo yia va IeYeTe eav to teMa a c evai opicovtro n katakopvfo.
Puroan npoBoLnC..... Puroi eT n diapkeia eupavionc twv eikovdiw v evdeileewv oovn LCD.
Zépα...Euφavicεμiβo Zépacω σ odnyo yia τη ρvθμοι nτ φωτενονπtac.
Euqaon. EuaaviEi ma eikova otyn oovn me evioxueva ta πeippaata.
Φωτενή προβαλή. . . . . . . . . . . . . . . . . . . . . . . . . . . . . . . . . . . . . . . . . . . . . . . . . . . . . . . . . . . . Pvθμιει τη φωτενόντητα του προβαλα βίντεο.
Euφ. επι. Ὀxou .... Eμφανιει το ΜερτηΤ ἄπεδου Ὀxou στην oθόνn LCD κατά την εγγαρή.
PiOIOr./μEy. EIKoVoc
Aeitoupyia EIT. PuOmuie Tn Aeioupyia yia Tny Eyypaqntaivwv.
Puroc kape. .PvOuiCt o pvOIO kape yia tNv Eyypaqn taivw.
Puθμ. TID/MP4/ STD ....Pvθμiει ηνοίτηα εικόνac για ηνγεγραφι τανιών.
Eupeia etoupyia.... Puthetai tyn avaloyia opovtia npoC kataokopvnc diaoaoc katayn evypaqntaiwuv mioiotaekovac tvikic evkipieiac (STD).
Eyypaepieeyalutepo evpocxpwamaw.Putheta auto to stoiexiootav npapakolovthetaeikovecpeTnAopanov eivai oubatmE x.v.Color.
Méy. éikóvac... PvuicTe to μeγεθoc φωτογραφiac.

Aeit. avanapaywyn
IpoBoaNoumbavtoc....EeKivaei TnV avanapaywy nikovw ano Tnv oThevN IpoBoaNoumbavtoc.
PpOBoLn XApTn*1 .EeKivaei TnV avanapaywyn Eikovwn aTo nTv o0vN IpoBoLn XApTn.
Taivia eionuavoc. Eekvaidynavatapaywnknyovavatapaywnc eionmuavoeuv n oevaviw eniunawovn oauothevtnkav oeoioteta eikovac tmnc evkpiieac (STD).
明 a p i o . Eekiva tyn avanapaywy n oevapiw nov aonthetavtkav e Tny avanapaywy n eioqavoeov.

EeEey/Avtipapn
△iaypaip. .
PpOoTaia. .IpooTeuEi Taivic n Toypaipc yia TnV anopuyn diaypaqnc.
Avtypaqn... Avtypapae iKovc.
Aeoo avipapo ....Aviypaei eikovc nov eivai anothekevmeve ctn bivteokapea o kantoio tuo eXtepiknc ovkeunc meow.

Puθμioεις

Puθμiαεις μεων
Eπλογη μεσου. Eπλέγει τον τύο τοῦ μεσου εγγαφίς (σελ.22).
πληροφορίες μέσων....Euρανιει πληροφορίες στο μέσε ηγγραφής.
i o on ... . i p e i i o w e a
Eniδ. apx. baoc, dεδ... Eπiδiopθwνe to apxio baoc dδoEvw vukovw στο μεσo εγρaφηc (σλ. 58).
ApiOuc apxieou.....Purotoavioantoioxoc topuaiOuapxieov yia wotopyaic.

Puθμ. avanapayωγης
Kwokc Evaricpi npoopiesnov ypaqkav avotma kata to xpvo tn c yppaqnc.
Puθμ. ενταος ἡχου ... Pνθμιει την ενταση τοῦ ἡχου αναπαραγωγίς (σελ. 29).
Anynouoikc* 11paymuotooiI aywnavayanuevovacapxieovouoikcn aToT ovtooloyoiotn otBivteokapeoac (evw nBivteokapea eivai ouvdeuoynt oTv uolooyoi), ta onoia mnpovv va avapanapoxovmu coknevAc anapawnyncenounauov.
. Mouokic*... dIayapaei ola ta movoka apxeia.

Uvδεση
Túnoç τηλεόραοης...... Metatpêπει το σήμα ανάλογα με την τηλεόραοη πον εῖαι συνδεδεμένη (σελ. 35).
AvaluaonHDMI..... Povtui TnV avalvOn eKovac EoDov kata tn oVdsOtn Tc bivteokapea c TnEopaon kaawdoHDMI.
PYOMIANTIKO: HDMI. Povuiei eav to tnaeipotnio tn ae opaoc n 0nouoiaetai otav n bivokakepa evai ouvdeevn o te npao soubatn "BRAVIA" Sync me kaaowdo HDMI.
Σύνδεση USB Eπλέξετο αυτό το στοιχείο ὅταν δεμαφιεζαι καμία σθηγίσι Στην Μθόνηn LCD ὅταν συνδέξετε τή βινετοκάρερα σας εμα εξωτερική συοκεύνη μέων USB.
Pouoiouv. USB.... Poutiie t n aeioypa ouvdoocotav n bivtoekapeivai ouvdeevn μoioyoiotn oovkeun USB.
Pouoiq USB LUN.... Puoiiei th bivteokape yia baltown tnc oovatotntac maccovdeoC USB πeipioicovtac epiikc λietovpyic USB.
Teviképuθμioεi
Mππ. Pθμicει εαν θα ακούγονται oι ενδεικτιοι έλοι της βιντεοκαμερας.
Φωτεινότητα LCD.......Pvθμιζει τη φωτεινότητα της oθόνης LCD.
H θεοι σας*1 ............ Eμφανιει την τρέχουσα τοποθεοίσα εχάρτη.
Aεπ. aερολανου* ... Pθμιση προς χρήση μέσα σε aεροπλάνο.
Pθμση GPS*1. Λαμβανετο σήμα GPS.
Auxvia EGTPAOHΣ..... Εβηνει τι λυχία εγγραφήσο το μπροστύνο μέρος της βιντεοκάμερας.
TnIeipotnpio ....PvOuipato TnIeipotnpio nov Oa npouoio
Language Setting ....Pv0iEi Tn yawoaa oTny oovn (eA.20).
Baθμονόμησι έλει βαθμονόμησι της έθουνης αφής.
πλnpoφ. μπatapiac...... Eμφαvičει τον κατά προδέγγισην ονολειπόμενοχρόνο της μπατapiac.
Eoikov. evpyeiac.... P0muie TnV oovn LCD kai TnV 1ox yia va anevpyoioovta autouata.
Apxikooinon.. Apxikootei oec tic pvthetaic otipnoioyec.
Aeitoup. eidiEiEic..... PuOtici TnV avanapaywn Tnc Taiviac EtiDiEiNc Oxetikae tC λeitoupyie Tnc bVteokapepac.
DpuOmuoicpoAooyiou
Puθμηερ & ωρac...... Pvuilει την ηερομηνia kai την ψα.
Pθμiπ περioxic.... Pθμiει μα χρονικ διαφορά χωρις va σταματει το pλοι (σελ. 19).
Aut. ppoa. poay.*1....PvthetaiE to poloi autouma tae lyyn thc opac ano to ouotma GPS.
Aut. npo.o. nepioxic* ...Atopevai autouata tic diaopocc wapac uyn twv tpexovowv o o i a ano to ovoTma GPS.
1 HDR-PJ650V/PJ650VE/PJ660V/PJ660VE
2 HDR-PJ650V/PJ660/PJ660V
Aoipa/Eupetnpio
Avtɪμετώπιον προβλημάτων
Ia IAnpOopiec oxetika e to movTeLo tnC bivteokapeac, avatpeEe TOnv akolov0n o5iDa:
Aetoupyiec kai c .7
Eavovavntne TnpoBnata kata n XpnoTNC BVTEOKaepac, akoovtheta Ta npakatw nmuata.
① Eλέγετε τη λίστα (σέλ. 56 ὄως 59) και επιθεωρήσε τη βιντεοκάμερα.

(2) Anouvdeote tn Bivteokaepa ano TnV nyn peuatoC, ouvdeote tnV Eava mTa ano nepinou 1 kai Evpyonoinote tn Bivteokaepa.

3 EπiEεTE MENU→[Puθμioεic] → [Evikéc ρuθμiaεic] → [ApxikoToiŋn].Eáv πaIηoεTe kouμπi [ApxikoToiŋn],yivεtai επaVapopá oλωvTwuρθμiaεω σμπepiλαβavovou tou poλoyiou.

④ AneuovtheiEOTovavtnipoosnoTnc Sony n oTo toniko Eouoiodotnveo Kevtro Eunnpetnanc Tc Sony.
Evexa xpeiaetai va apxkoonoe tva aalace tnv tpxovoa eowotepkn nvnBivteokapeac, avolayota me to npobna. Ea npayatotnoeote kati teio, 0a diaypaovu ta deoova nov eivai anohtkeveva otyn eowotepkn nvm. Bebaawtheta ot exete anohtkevoa ta deoedeva tn cewotepkn nvmnc se kaioo alo meo (avtriypao oaoaleiac) npiv stelte tn bivteokapepa yia eniakeun. Eev thocdohei anoohiow yia tvoxanwlaea edooyuv ano tvn ewotepkn nvmn.
Kata tyn eiokevni, evdexetva aeYevoume
mu Eaiaotn noootnta deoouevwov
eivaa ano0hkeuveva ony eoewterpikn uynm
ponokeiEvov va epeuvnooue to npoblanja.
Otooo, o toonkoc avtinpsownoc tnC Sony dev
theta aavipayei oute tha diatnpne ta deooueva
oaac.
eite to Oobjoc xphonc tou "Handycam" (oA. 6) yia IeToupeieec oTeikka e ta oUpiTuata tnc biVteokakepac oac kai to "PlayMemories Home Help Guide" (oA. 46) oxetika me tn ouvdeon tnc biVteokakepac oTov vnoLooyoiTn oac.
H bivTeokáepa δεν ενεργοιeitai.
Too0eTnOte mua φoptuéyn μntapia σtn βvTeokαμepa (σελ. 16).
To a tov etaoxnetaotn evaalaooevov peuatoc exi anoouve0ei ano tynpiicraioxou. Uv6eTe to stny npia toixou (oe.16).
H bivteokáepa δεν λειοργει παρόλo πουη tροφδοσia ρεύματος είαι ενεργοποιηνη.
Apoovteoi e aeitovpyia, n bivteokaepa xpeiaetau mepika devtpolepta mexpi va eivai etoum yia any. dev npoketai yia
Aiooovdeote to eataoxnmuotn evaalaooevov peuatoac ao tnvi pica toixoy aqaipoeote tyn unatapia. Karotiv, ovoideote tov gava metaa ano nepinov 1 aeio.
To "PlayMemories Home" λειτουργει σωστα.
- Διακόψτε το "PlayMemories Home" και επανεκκίνησε τον Φιλογίστή σας.
H bivTeokaepa 8ev avaywpietai ano tov unoloyiotn.
Aioovvdeote olec tic vsokeevc USB aotnV vnooxn USB tov noooyiortn ektoc ano to pAnktpoIyo, to novtikKaTn bivtekokapea.
AiooovdeTo evowmuatweo kaawio USB aOn tov vnooloyiotn kai enavekkiinote ToV noloyoiTn. Katoniv ouvdeTe Xava tov Vnooloyiotn kai tn bivtekokapea me tn oostn oipa.
OTAV TO EVOWATWUEVO KAALDWIO USB KAI nVTOOxyh USB TNC BVTEOKaPEAC eiva OvVDedEeVA OTIC EwTEPIKc OvKEEVc tavToxPova, aONovDcTe auto Nou dEv eiva OvVDedEevo SE vOnoloyiort.
Evδεiξη ατόματης δίαγνωσης/ Προειδοποιπικές ενδειξεις
Ia IAnpOopiec oxetika e to movTeLo TnC bivTeokapeac, avatpeEeTcTnv akolovOn i a
Aetovpyiec kai .7
Eav evarovtaevdeicotnv oovn LCD n otnv eikovokon, eoyxta akolov0a.
Eáv to πρόβλημα πapaúéνει ακόμι
kai meta aπο μερικές προστάθεις,
aπενθυνθείτε στον αντιρόσωno της
Sony ἡ στο τοπικό εξουσιδοθημένο
κέντρο Εξυπέρησης της Sony. ζε αυτή
tnv περιπτωπ, ὄταν επικοινωνησετε μαζì
touc, δωστε touc ὄλουc touc αριθμούς tou
κωδικόν σφάλματος, nouν Εξινούν από C
η E.
Evéxeta va akoyeta evac nxc otav εμφaviovta opioevc πpoeiodoointikéc Evéiεic σtnv oθovn.

C:04:□□
H atapia evai tov "InfoLITHIUM" (eipaV). Xpouoiooiotε μa πatapia "InfoLITHIUM" (eipaV) (eλ. 16).
ka la to a DC tou t i o t evaalaaosoouevov peuatoC vnoox DC IN tnC bivteokapec
(ελ.16).
C:06:□□
- [E Λειτονργία ΕΙΓ]: [Εξαρ. ποιότητα ΕX]
Xpovoc Eyypaqnc Tavivw/aipioc Tsw Eyypaiaowv WToypaqiW
Tia nnpoopiec oxetikae to oovte lo tnc bivteokapeac, avatpexi eonv akolovn 0e1i0a:
Aetoupyiec ka EeOanlouoC 0e7.7
To "HD" σημαίνει ποιότητα εἰκόνας ὑψηλής ευκρίνειας και το "STD" σημαίνει ποιότητα εἰκόνας τυπιής ευκρίνειας.
Avaevóevoc xóvoc éyypaqnc kai avanapaywync με kaθε μπatapia
Xpovoc Eyypaqnc
Xpovoc katapnoeyyionovdiatietaiotavxnpouoieitepinpocoprtiou\nmuataopia.
| Σνυεχόμενος χρόνος Σγγραφής | (μονάδα: λεπτό) | ||
| Mηαταρία | |||
| Ποιότητα εικόνας | HD | MP4 | STD |
| NP-FV50 | 120 | 130 | 130 |
| (παρέχεται) | 130 | 140 | 140 |
| Τυμικός χρόνος εγγραφής | (μονάδα: λεπτό) | ||
| Mηαταρία | |||
| Ποιότητα εικόνας | HD | MP4 | STD |
| NP-FV50 | 60 | 65 | 65 |
| (παρέχεται) | 65 | 70 | 70 |
- Iávw: Otav n oθovn LCD eivai avoixtn
Kátw: Otav εγγραφετe με την εικονοσκόπηon
χωpiς va avoiξετe την oθovn LCD
KaeXPOVOCyypaOcIeTPIeTaOtavN BivTeOKaepaEyypaei Taivic Me NIOiOTnA EkoVac vynlnc Evkpiyeac (HD) Me To [E]AEToupyia EIT] pvOuOevo OE [TuKn HQ].
O tuiokx povoc yyypaoic e qaviie to xpov oTav enavaalauabeve tn evapn/ diakonpiyaypaqnc, aalae [Aetovpyia ] kai kave te ouu.
- Suviotatai n meTpnoT twxpvov otav xpoiooieite tn bivteokape oTouc 25°C. Suviotatai 10^ ewc 30^
O xpvoc eyypaqnc kai avanapaywync 0a evai ouvtovotepoc avaoya me tic ovwnkec katw ano tic onoiec xnpaonooite tn bivteokape, yia npadeiyia otav npnonoei tn bivteokape oe xaqnle cepkoaeic.
Xpovoc avanapaywync
Xpovoc katapnoeyyionov diatietai otav npnouoitepi npoc opotouevn nataopia.
(μoVáδa:λεπτό)
| Mnatapía | |||
| Ποιότητα εικόνας | HD | MP4 | STD |
| NP-FV50 | 200 | 200 | 200 |
| (παρέχεται) | 215 | 225 | 225 |
Iiavw:Otav n obovN LCD eivai avoixn KAtw: Otav yyypafet e Tnv EIKOVoKoPnonxwpic va aovlEe Tnv obovLCD
Avaevóevoc xpovoc yypapnctaiiwv
Eowepikn mvn
HDR-PJ650E/PJ650V/PJ650VE
Ioiotnta eikovac uynlnc evkpiieac (HD) oE w (wpa) kai (eentó)
| Λειουργία ενγραρής | χρόνος Εγγραρής | |
| HDR-PJ650E | HDR-PJ650V/ PJ650VE | |
| [Ποιότητα 50p PS] / [Ποιότητα 60p PS] | 2 ω 30 λ (2 ω 30 λ) | 2 ω 15 λ (2 ω 15 λ) |
| [Eξαμρ. ποιότητα FX] | 3 ω (3 ω) | 2 ω 40 λ (2 ω 40 λ) |
| [Yψηλ. ποιότητα FH] | 4 ω 5 λ (4 ω 5 λ) | 3 ω 40 λ (3 ω 40 λ) |
| [Tυπική ḌQ] | 7 ω 15 λ (5 ω 30 λ) | 6 ω 30 λ (4 ω 55 λ) |
| [Mακρόχρ. λήψη ḌLP] | 12 ω 30 λ (10 ω 15 λ) | 11 ω 15 λ (9 ω 15 λ) |
| Λειτουργia εγγαρής | Xρόνος Εγγαρής | |
| HDR-PI650E | HDR-PI650V/PI650VE | |
| [Tuπική ḪQ] | 7 ω 30 λ(6 ω 55 λ) | 6 ω 45 λ(6 ω 15 λ) |
HDR-PJ660/PJ660E/PJ660V/PJ660VE
PiOiOtna EIKoVAc UψNλnc EUKpiveiaC (HD) Oε W (wpa)
Kai λ (επτό)
| Λειτουργία εγγαράς | Xρόνος Εγγαράς | |
| HDR-PJ660/PJ660E | HDR-PJ660V/ PJ660VE | |
| [Ποιότητα 50p PS] / [Ποιότητα 60p PS] | 5 ω 10λ (5 ω 10λ) | 4 ω 55λ (4 ω 55λ) |
| [Eξαμρ. ποιότητα FX] | 6 ω 5λ (6 ω 5λ) | 5 ω 45λ (5 ω 45λ) |
| [Yψηλ. ποιότητα FH] | 8 ω 15λ (8 ω 15λ) | 7 ω 50λ (7 ω 50λ) |
| [Tυπική ḌQ] | 14 ω 30λ (11 ω) | 13 ω 50λ (10 ω 30λ) |
| [Mακρόχρ. λήψη LP] | 25 ω 5λ (20 ω 40λ) | 23 ω 55λ (19 ω 40λ) |
| Λειούργia εγγαρής | Xρόνος Εγγαρής | |
| HDR-PI660/PI660E | HDR-PI660V/PI660VE | |
| [Tυπική ḤHQ] | 15 ω 5λ (13 ω 50λ) | 14 ω 20λ (13 ω 10λ) |
Eav thelete va eyypaes te mexpo to meyio To xpov Eyypaqnc nov vnoeikveta oTo nivaka, npenei va diaypaes te tvia eideiGc stn biTeokapeaac.
Káρτa μνήμς
Ioioteta eikovac uynanEukpiveiac (HD)
(μoνáδα:λεπτό)
| Λειουργία ενγαφής | 16 GB | 32 GB | 64 GB |
| [Ποιότητα 50p PS] / [Ποιότητα 60p PS] | 75 (75) | 150 (150) | 305 (305) |
| [Eξαρ. ποιότητα FX] | 85 (85) | 180 (180) | 360 (360) |
| [Yψηλ. ποιότητα FH] | 120 (120) | 245 (245) | 490 (490) |
| [Tυπική HQ] | 210 (160) | 430 (325) | 865 (655) |
| [Μακρόχρ. λήψη LP] | 370 (300) | 740 (610) | 1490 (1225) |
MP4
(μoVáδα:λεπτό)
| 16 GB | 32 GB | 64 GB |
| 320 | 650 | 1305 |
| (320) | (650) | (1305) |
Hoioteta eikovac tomikc eukpiveiac (STD)
(μoVáδα:λεπτό)
| Λειτουργia ευγραφής | 16 GB | 32 GB | 64 GB |
| [Tυπική] | 220 | 445 | 895 |
| (200) | (410) | (825) |
- 'O'Tav xρησμοιοειτε κάρτα μνήμις Sony.
Σημειωεεις
O xpovc eyypaic mtpoe va diaeppei avaloya me tic ovtheta c eyyapaoqk kai tic ovthetakec tov emuoc kai ta [Aetoupyia EIT] kai [Pv0uoc kape] (eA.53).
O aip0uoc stic () evai o laxiaotoc xpovoc eyypaqnc.
Mnopeite va eyyapae taiviec 3.999 oknvec to meyto ro meoioiTt aekovac vynlnc evkpiieac (HD) ka 9.999 oknvec to myoto meoioiTnca kuvocic (STD). Ka mpeite va eyypase 40.000 taiviec MP4 ka wftoypapie to meyto sovoiaka.
O meyioToc ouvexoEvoc xPoVoc yypaPc taivwivaipeipou13wpes.
H bivteokapaacx npnouoiei tn oopfn VBR (Variable Bit Rate) yia tynavtoaun puoontns noiotntac eikovac avaloya me tn oknvv Eyypaicn H texvoLoyia autn npokaai diakuavoeic sto xpovo Eyypaoc tou meoou. Otaivc noupiexovn oulaoec ekovec me ynpyopec kivnoeic Eyypaovtai me vnsloTepo pvho bit ka uroEiwve to ouvoLko xpovo Eyypaicn.
Avaevóevoc apiθoC εγρaψμwν φωτογρaφιwv
Eowetepikn uvn
Mnpoeite va eyypaes te mexkai 40.000 MP4 taiiec kai wtoypapieic ovoolka.
Kápta μνήμς
| 169 20,4 M | |
| 16 GB | 1850 |
| 32 GB | 3800 |
| 64 GB | 7500 |
- 'O'Tav xρησιμοποίeite καρτα μυνής Sony.
O apiohoc twv eyypaivov wtoypaipwv tnC kaptac mvnnc nov eapivietai 1oxuei yia to meiyoto meyeoc ekovac tnC bivteokapepac oac. O npayatikoc apiohoc twv eyypaivwv wtoypaipwv eapivietai otynb0vN LCD katan diapkeia tnC eyypaipn (oA.76).
O apiohoc twv eyypauyuv wtoypaipwv tnC kaptac vnuuuc evdexeta va diapepei avaloya tic ovvnkecs yypapnic.
∑ημειωεεις
H movadikj diataxij pixel tov ClearVid tnc Sony kai to ootma eEeepyaoiac eKovwBIONZ Tc Sony eitipenovu avalvonakivtwv EIKOVW IOoDuvqum n ta ueytheta noupiypaqknav.
Σετικα με το ριθμό bit και ta pixel εγγραφής
O pvθμoc bit, ta pixel kaɪ η avaloyia δiσταεων γι κάθε λειτουρία εγγραφής για τανίες (tauία + ἡχος, κλπ.)
Movéλa με χρωματικό σύστημα NTSC:
-Пиотета εικόνας υνηλής ευκρίνειας (HD): PS:Му.28 MbpS 1.920x1.080 pixel/60p, AVC HD 28 M (PS), 16:9
FX: Mγ. 24 Mbps 1.920 × 1.080 pixel/60i
η 1.920 × 1.080 pixel/24p, AVC HD 24 M (FX), 16:9
FH:Πεπιουν 17 Mbps (μέσος ὁρος) 1.920 × 1.080 pixel/60i η 1.920 × 1.080 pixel/24p, AVC HD 17 M (FH), 16:9
HQ: Περισου 9 Mbps (μεδος ὁρος) 1.440 × 1.080 pixel/60i, AVC HD 9 M (HQ), 16:9
LP:Περιπου5 Mbpss (μεδος ὁρος) 1.440 × 1.080 pixel/60i, AVC HD 5 M (LP), 16:9
- MP4: Περιπου 6 Mbps (μέσος ὅρος) 1.280 × 720 pixel/30p, 16:9
-Полотга εικόνаς τυπικής ευκρίνειας (STD): HQ: Περίπου 9 Mbps (μέσος ὁρος) 720 × 480 pixel/60i, STD 9 M (HQ), 16:9/4:3
MovTeλa με χρωματικό σύστημα PAL:
-Пиотета εικόνας ψηλής ευκρίνειας (HD): PS:Му.28 Mbpss 1.920x1.080 pixel/50p, AVC HD 28 M (PS), 16:9
FX: Méy. 24 Mbps 1.920 × 1.080 pixel/50i
η 1.920 × 1.080 pixel/25p, AVC HD 24 M (FX), 16:9
FH:Πεπιουν 17 Mbps (μεσος ὁρος) 1.920 × 1.080 pixel/50i η 1.920 × 1.080 pixel/25p, AVC HD 17 M (FH), 16:9
HQ: Περισου 9 Mbps (μεδος ὁρος) 1.440 × 1.080 pixel/50i, AVC HD 9 M (HQ), 16:9
LP:Περιπου5 Mbpss (μεδος ὁρος) 1.440 × 1.080 pixel/50i, AVC HD 5 M (LP), 16:9
PAnpoopoiεγia To xεiρισμó tnc βivTeokáμερaç
- MP4: Περιπον 6 Mbps (μεδος ὁρος)
1.280× 720 pixel/25p,16:9
-Пиоцтana εικόνаς τυπική εύκρίνειας (STD):
HQ: Περιπου 9 Mbps (μέσος ὅρος) 720 × 576
pixel/50i, STD 9 M (HQ), 16:9/4:3
Ta pixel p c p a avaloyia diaotaeuw.
- Λειτουργία εγγραφής φωτογραφών, Διπλή καταγραφή:
6.016× 3.384 kovkikεc/16:9
4.512× 3.384 kovkkiδεc/4:3
4.224 × 2.376 KOUKKiδεc/16:9
2.592× 1.944 kovkkiδε/4:3
1.920× 1.080 KovKkiδεc/16:9
640× 480 KovKkiδε/4:3
- Ληη φωτογραφίας πό τανία:
1.920× 1.080 kovkikεc/16:9
640× 360 Koukkicεc/16:9
640× 480 Kovkkiδε/4:3
Pnpoopiec yia tn xpnon kai tn 0povtida
H t 0 eaepa dev ev iival adiaianepaotn ano tn oKovn, tic stayovec n to vepo.
MnV kpatate tn biTvTeKaMepa ano ta npakatw hepno t a kaVmuata vno doxov.


Oboyn LCD

Mnatapia

Evωμaτωμévo kaωδiO USB

Káμμα φακού

Eikovokonon
Mn stpeet nivteokaepa npoc tv hAo. Eav to kave t auto, mtopei va pokalne i6ovleitovpyia tn civteokapac. Ipaayatonoainte lyieic tohiov mvo se ovwnkec qanlov qartouo, ownc to oovpovo.
Mn xnpaouoie ta m npovlaosote tn bivteokakepa ka t a ekaptmaata nC otic akolovcEtseic:
-
Σε μέρη με ἐξαμετικάν ψηλ, χαμλή θερμοκρασία ἡνραία. Mny ta αφηνετe πότε ἀκτεθειμένα σε θερμοκρασίες ἀνω τών 60°C, ὄπως σε Θημεία ένεθείας ἕκθεοης στο Μλικό φως, κοντά σε Ετίες θερμανός η ευτούκητον Φου εἰναι σαθμεύνε θόν τόν λήμο. Mntópei αν προλήθουν ὅνολειτουργίει πάραρρωσείς.
-Kovtə 06xupa maayvntuka πedia n μηχανiες dovnoseic. Evδεxetai va npokλθe i duoileioupyia tnc bivteokápepac.
Kovta oE padiokouata n aktivofoia
eYalnc evtaonc. Evexetai va enpeaotei n
Aitoupyia eyypaqnc tnc biyeokapeac.
-Kovtaeovokevocvvtovouoovoc TnAeopaoei npadioqwa.Edvexetai va o OpOBC.
-επapalieεμe aμno ησeρηm eσokvN.Eav eiελθei aμooc η oκovn σtn BVteokapea, εδεχetαν προληθε δωλeitoupyia. Meipke φορε η σγκεκριενn δωλeitoupyia δεν μιθην ανοκataσταθεi.
KovtarenapaovapnEeWTePikoCxuPouc, oavou nOtoNvIeAeTHeVoi eaeuo noiao wfoc. Eotai npoknEi nmao stoeewpik Tnc eukovoskOtnnC nTNC oovcLCD.
IaAeitovpyia eouvexc n evaalaaooevo peu, xnoiouoinote ta Eaaptmuata nov vtoidekvovtaie autc tic odnyiac Ateupyiaac.
Φpovriote wot e n bivteokápepa va un bpaxei, yia npapadeyua, ano tn bpoxn ano to vepo tnc aalaosac. Eav n bivteokápepa bpaxei, evdexeta va pokonthe duolitovpyia. Mepukc φopec n ouykepiév uolletovpyia mtopei va atokataotaiei.
Eav kantoio stpeo avtikeiuevo n ypv oieAeI 10To eowteipko tnc thknc, anouvseTe Tn bivteokapepa kai dwoTe Tn ia eleyxo 0Ev avvtipnooTc Sony, npotou Tn xpoaonoiote EaVa.
Anopuyete tov aedxioo xepiao,tny anoovapuoloyon, tnvpontoinoyn, tic kpooeic n ta ktonmuata, , . ovpui, ano n natma tov npoiovtoc. Iposexete idaiertepa to qakó. -
Διαπηρείτε κλειστή την Μθόνην LCD και τήν εικονοσκόπησι Θ ὄταν δέ χρησμοτοίεις τή βιντεοκάρε.
Mn xeiipieote T nivteokapeo tav eivai tvaiyevn me avtkeiuevo, yia napadeiymu e pTeTa. - Otav aioovdvete to kalwio tvpovodosiac, tpahte to bouma kai oix to kalwio.
Mny kataotpepeto kalwodio tpoopodooiac, tooetawtac, yia npadeymu, kati papv enayw tov.
Mn xpoaioie T npapopwovn n kateoTpauev npatapia. - latnpeite kathetapec tic i
- Σε πεπτωπ diapρος του ἀλεκτρολύτη τής μιαταρίας:
-Aπενθυνθειτο στο εξουσιδοτημένο κέντρο σέρβις της Sony.
-επλννετονγρ,éavéxεiερθεισεπαφη μεtoδερμaσac.
-Eav to vpyo ep0e1 oe enaqn me ta maia oac, eanovte me afoovo vp0 kntnoct aeoc noubou hiatpov.
Otauev xpoaioioieTe n Bivteokaepa yia eya lo xpovikó diaotma
Ia va diatnpnoTe tn bivteokapeoTn
Baiotn kataoaon yia nolu kaipo,
Eeyponoiote tn kai theote tn oeitovpyia
Eyypapovtac kai avanapayovtac Eikovec ia
qopa to miva, pepinov.
Xpnouoioiote nvy matapia ewc otov i, .
Σημειωσ Μχεικα με τη Θερμοκρασία της βΙντεοκάμερας/της μπαταρίας
O A v 0epkoopaia tnc bivteokapeac n tnc mataapiac eiva ucepboika vynn h vnpboikacaunn, evdxetau va unv exete tn duvatotnta va npayatooioeote yyypapn avanapaywny n tnv bivtokepa, loyw tov aeivopyiw npoataoiac ntc bivteokapeac nov epeyonioovtai o te toeic kataotaec. Tnv nepiintow autn, eupavicieta maevdeiOn tnv othvN LCD n otnv ekuovoskoinon.
Σημειώεις γία τη φόρτιον Μέσω του καλωδιού USB
Evdexetai va unv evai duvatn n opotn m e olouc touv uoloyiotec.
Eavovsdete nBivTeokapea e eva qopnto vOnoloyotn nov dev ivauovdsdeevoc o maPiyn peuatoc, n mtatapia tou qopntou vOnoloyotn th aovexioe va katavalwei tn opotan tnc. Mny apvete n BivTeokapea ouvdsedeevn e eva vOnoloyotn me avtovtov tpno.
pnooWnka oovapmooyneov vnooyoiotn, trooonoueov uOoloyoiotn n eow diavouea USB.H bivteokapeva u na Ieiovyoei owoata avalova y e tn oovekevn USB noov npnooioitea m tov vnooyoiotn.
Otav n bivteokaepa eivai ouvdeevn o unoloyiotn éapntmuata
Mny eieeite va diaopwpoeTe to eoo yypa nC bivteokapac u vtooayotn. Eav to kaveT auto, n bivteokapevdsexta va un letoupyei owta.
Kata novdeon nC biVteokakepac,oe ia aaln oovkeuv meow kalwdiow eikoivwiac, w e i t e otexe totoetneoiomega
to bva oovdeo. Eav onpwe to buqa
otov akpoedktn aokwvtac duvua, evdexetai
va pokalthei nmu aotov akpoedktn kai
dvoleioupyia tnc biVteokapeac.
Otau n bivteokape eivai ouvdeevn oe aalccovkevc meow ouvdeonc USB ka i 0xuc tnc bivteokapeac eivai evpyoanueyn, mnu kelaote tov ivaka LCD.Mnopei va xaohov ta ooeva eikovac nov exov eypapei.
Σημειώσεις γία τα προαρετικά Εξαρτήματα
- SuvioTooue Tn Xpnoyn Yvnoov EApntmuatw v Tns Sony.
Ev6exra va univ evai diaoiaa yvnoia
Eeaptmaata tnCSony oepouievec wpc/
πepioxεc.
Ieio nolanawv diaovdvoewv
- Otav xρησιοποιeite Εεδιδικευμένο μικρόφωνο ἡ φορτό ηχείο, αὐτά ευργοποιουνται και aπενργοποιουνται ὅταν ευργοποιεῖται και aπενργοποιεῖται και η βιντεοκάμερα.
IaIeToupeiec,avatpETe Otic oNiyie c Ieitoupyia nov npexovtai ma i e to EApTma.
Ia va ovvdsoeEva eXapTma, Esiayayete kai stpeewote to xapTma sto Ieilo nolaaanawdiaovvdsewv niocovtac npoc ta katw kai oupvotac to expi va koupiwoei.
Otauevypaeteraiviee uovdebeevo Ekeptipko faoac (waeitai wpiotar) stn faon Eapntmuw, anevpyoioane to ekeptipko phac yia va mnu evyypaei o bvpoc tn c opionc. - ev μιορείτε va χρομιούπουσετέ εναξωτερικό φλας (πωλεῖι αχρισά) και το ευωματωνεν φλας ταυτόχρονa.
Otauivouvdsémevo evxwotepiokuikpφwo (πωλeitai χwiστa), nponyeitaevavtov evωμatωevo kipφvov.
Σεπια με ο Αούρματο τηλεχεριστήρι
Apaipote to mvotikovu a npiv ano tn xon tov auopatov tnexeiptnpiou.

Σπρεψτe το ασύνματο τηλεχειριστήριo προς τον αιθητήρα τηλεχειρισμου για va χροσμοπούησετη έντεκόμερα (σελ.11).
Eav dev oTaale kaveva onma ano to aoBpuato tnlexeiortnpio yia ovkyekpivoxoPVIOdeltaeta, to yaalao IAAIO Ekaoviceta. Eav natnoe te eva eno ta koupiia
A/▲/▼ n to koupi ENTER, to πλaiio εμαviετaσην iδia θεοι πον εixε εμαviστei την προγούενη φορά.
- ev iival dvatn n eiloyn opioevwovoupiow stnv oovn LCD n tnv Eikovosoknonn mtnxion twn ktpw
4/10/△/V.
Tia va aaaaEET Nv mntapia tou aoopmuot Tnlexiipntpiou
① KaohwcpiEeTe TnV npoeExoy,TooOeThote To vuxoacTn oxioun yia va TpaBnEe EeW tn Thekn Tnc matapiaac.
② ToTOnoTeHToTe mua vea unatapia me TnV nLevpa+ TpauevynpocTa enavw.
③ ToiootheTne EaV aTn thnTnc nataapiac oTo aovpuato TnAeXeiptipntipu mexvi aospaioei.

NPOEIANOIOIHEN
YapexivocvaekpayeI nunatapia loyakou xepioou. Mny enavaopopte Tnnuatapia, mny tny anooovapoloyeite kai nuynTny netaTe OTN qwiia.
- Otav n μπatapia λιθον ελυτηθει, n εμβελεια του ασύρματου τλεχερίστηριον μιορειν αμειωθει ἡ το σαύρμato τηλεχερίστηριον ενδέχεται νι Μλειονγεί υοται. ζ ευτή την περπτωπ, ανικataστότε τὴν πμatapia με μι απatapia λιθον CR2025 ης Sony.Εav xρησασησοῦς δαφορετικό τύπο Μπατapatiac, vαπαχε κίνδυος πύρκαγίς ἡ εκρηξες.
Σχετικα με το Κελρίσμό της oθόνης LCD
Eav apyvetexaytuliec, kpea xepiw, kT. εnaw σtnv oovn LCD, n ειkálvyn tnc oovnc LCD θα φγe i evkola. KaapioTe ta oso to δuvato ouvtouótepa.
EavokoupiotynovocnLCDvvara Xaprotouavilo,KTLv6eatava8aptheta n EikakuynTcOovncLCD.
Eav 0 LCD daxtuliec nokovn,ovviotata va ta aqaipeoetep npoektika ano tv oovn kai otouvexeia va tyn kaqapiote eva maako navi, k.
Oθóvn LCD
Mnvaokite vερβoλικπiεσηστην oθovn LCD, kaθωc μιοpei va προληθει avouoiopφia στην εμφáviδ των χρματων ἀλλη βλαβη.
Eav n bivteokamaepa xnpoioloieita o yvxpó
muoc, evdeltaia va epaavieta eva kataloiio
tns eikovac stny oovn LCD. dvi poketai yia
deltaioupyia.
Kata tn xpon tn civteokakepac, to niow mepoc tnc oovns LCD evdelta tva 0eepaavthetai. npokeir yia dvoaetovpyia.
Tia kaθaioo tnc θnKnc kai tou φakou πpOβoλεa
Kovniote aana tN oKn kai to paKo e eva alak oavi, onw cavi kaapiou n navaku yvaawv.
Eav n o kn kai o kaoc npoolea eivai nolu ,ka, kato pki Tn okn Tnc bivteokapeac kai to o ka o eva maalako navi nov exete vayapei eaappa me vepo kai otvveia oouniote n thon kai to o kaobivteokapeac eva oteyvo malakonoavi.
Aioovyete ta akolovtheta va ma npapauopawtheta n thkn, vtoote cmu to qviipuma n ypatouviote o qakoc:
Tn xpnon xnnukov ovniow, o7wc dlauvko, bevivn, akkooan, naiva eptoioueva nukec ouoic, evtoumaawthetaiká, evtouoktova kai avtniaika
-To xeiipioo tnc bivteokapepac otav exeTe πaoei tic npapanaw ooviec ie yuvva xepia
Tyn eanopn tnc bivteokapeac aevtkeieeva ano kaovtovuk n bivvlo yia eyalxovikdoaotma
Σχειτία με ο θελερού του τμήματος του φλάς που εκπέμεις φως
Eav vnapoxv anotvawmuata n okvn eavw stnv othv LCD,oviotata o kathetaiouc tnc eva maako navi.
II npoopoeic yia tn oovtida kai tn 尔 tou qakou
Kaθaipotε την επιφανειατον φακουμε ενα μλακό πανι στις παρακατω περιπώσεις;
- Otav vnapoxov anotvwnuata stny επφανειa tov φακού
-
- Otav o paKoc ektiθεtaστον aερa tnc θαλασας, σπως π.χ. στην παραλia
ΦuλaTeTOφaOσEevavkaαεριεvoxwpo,0novδeVμπopeivaειδλθειokovnβpouia.
Ia va aOooyete to oxnauo muovlaac, katheta taikatao paokai aonthetaovotov ownc npipapetai npanawv.
Σχετικα με τη φόρτιον της προεγκατεοτημένης επλαφορτιόμενης μιπατίαις
H bivteokáepa diaθéτi μia
πρoeykateotnμevn, εnaivaφopticóevn
μatapia yia tn diatnpon ntc
ηeopounviac, ts ωpac kai alawv
pvθiioεov, akoun kai otav n oθovn LCD
eivai kλeiotn. H πoeykateotnμevn
enavaφopticóevn μatapia φopticetai
navta, otav n ηbivteokáepa eivai
ovdeδεμevn σtny πiça toixov μεω
tou metaoxnatiotn εvaalaaosóevov
peuatoç n otav eivai tonoθetnuev
n μtatapia. H εnaivaφopticóevn
μatapia anoφopticetai πlρωc σε
πεpiou 3 mνec, eav δν xρσιoŋoɪəte
kaθólov tn bivteokáepa. Φoptiote tnv
πoeykateotnμevn εnaivaφopticóevn
μtatapia πipv apxioete va xρσιoŋoɪeite
tn bivteokáepa.
Ωοτόσo, akoun kai eav n
πoeykateotnμevn εnaivaφopticóevn
μatapia dev eivai φoptioueν,
δεν επηραclεtai n λειούργia tnc
βivteokáepac, ekto cαο την εyypaŋ n tc
ηeopounviac.
PpOdeltapaΦες
TpOIOc φoPTIONC TNC
πPoeYkATEoTηEvNc
εNaVApOptiζoEvNc μnatapiac
Svndote Tn Bivteokaepa oac otynpiica toixou t n xhon tou metaoxmaiotn evaalaaoovevpuvaatoc npapexetai kai aphiote Tn me Tny oovn LCD klaioth yia nepiosotepc an 24 wpc.
Σημειωη γία την απόρριψη/
μεταβίβαοι έδιοκτησίας τής
βιντεοκάμερας
Akoum kai eav diaypaseTe oLeC tic
taiviec kai tic wftoypaipiec n ekteleoeTe [Diaoppwon] (oEλ.54), ta δedoueva
otny eoewterikn mvnin evdexetai va un
oBnoToov teleiwc. Evviotatai va eIIAEeTe
[Menu] [Pvthetaic] [Pvthetaic
meov] [AiaOpwo] [Aanaoiq]
yia tnv anotponn tnc avaktnoc twv
δedouevw.
UoTnua
Mopqn oetaoc; Xpwa NTSC, npotua EIA (HDR-PJ650V/ PJ660/PJ660V) Xpwa PAL, npotua CCIR (HDR-PJ650E/ PJ650VE/PJ660E/PJ660VE) Tnleopaon HD
Mopqn eyypaqnc tauiac: AVCHD (AVCHD mOpqn ovmbeta n 2.0): BivTeo:MPEG-4 AVC/H.264 Hxoc:Dolby Digital 2 kavalw/5,1 kavalw Dolby Digital 5.1 Creator*1 MPEG-2 PS: BivTeo:MPEG-2 (BivTeo) Hxoc:Dolby Digital 2 kavalw/5,1 kavalw Dolby Digital 5.1 Creator*1
MP4: BivTeo:MPEG-4AVC/H.264 Hxoc:MPEG-4 AAC-LC 2 kavala *1 Kataokevaetau mTa aio adia Ta Dolby Laboratories.
Mopq an apxieov qwtoypaipow: a DCF Ver.2.0 a Exif Ver.2.3 a MPF Baseline
Méso éyypaçic (Taivia/Φwotypaqia):
Eωτερικη μνήμη
HDR-PJ650E/PJ650V/PJ650VE: 32 GB
HDR-PJ660/PJ660E/PJ660V/PJ660VE: 64 GB
"Memory Stick PRO Duo"
Káρτa SD (Kλασι Κι ταχότερη)
H χωρητικότητα πούπορεινα
xρηαμοσιοίει ενας χρηστης (περιον)
HDR-PJ650E: 31,1 GB3
HDR-PJ650V/PJ650VE: 28,1 GB2
HDR-PJ660/PJ660E: 62,4 GB3
HDR-PJ660V/PJ660VE: 59,4 GB2
^2 1 GB iooovuaei ie 1 dioekarotmuupio byte, ta 2,8GB xpnoiomoiovvta ia tov npoeykaetotnevo xaptn kai eva aIlo mec xnpoiomoiiteia yia tic aeioupyic dxayeiipnc ddoevnv. Mtopei va diayopaei movo pno-eykataotnevtan viaia nidei
^3 1 GB iOoDvuaei me 1 dioEkaToumuPio bytes, mepouc tou oonoiov xnoaoutoieTaia vyn diaxeipion ovotmaoc /kai apxieia eapaoync. MTopei va diaypaepi movo npo-eykataoTneivn taivia nideiknc.
EkoovokoPnO:
Hεκτρονική εἰκονοσόπησ (εγχρωμη)
Σωσκεύν εικόνας:
Aioθητηρας CMOS 4,6 mm (τύπος 1/3,91)
Pixel ( i , 16:9):
Méγ. 20,4 mega (6 016 × 3 384) pixel*4
Mekto:Iepiouv5430000pixel
Evépya (Taivia, 16:9)*5:
5020000 pixel
Evεργά (φωτογραφία, 16:9):
5020000 pixel
Evépyá (φωτογραφία, 4:3):
3760000 pixel
Φakoc:
ΦakocG
12× (O ti o)^*5,20× (E t a o,k a
εγραφη (τανιων)*6, 160× (Ψηφιακό)
:46mm
37 mm (Mε προθήκη δακτυλίου
προσαρμογής
F1,8\~F3,4
Eotn anoTaon:
f = 2,9 ~mm 34,8 ~mm
πατημα], [Εωστερικός, [Εξωτερικός]
Elambdaioctoc wtoiouc
6 lx (lux) ( ,
taxtnta kλeioptpv 1/60 δεντερολεπιον
(HDR-PJ650V/PJ660/PJ660V)
1/50 t o t o v (HDR-PJ650E/PJ650VE/
PJ660E/PJ660VE))
3 lx (lux) (to [Low Lux] eivai pvθμαενoσe [Na],tauθτητα κλειστρου
1/30 o o (HDR-PJ650V/PJ660/
PJ660V) 1/25 o v (HDR
PJ650E/PJ650VE/PJ660E/PJ660VE))
^4* H Muovadikn diataxq pixel tov Clear Vid Tsc Sony ka to vottnua eEepyaoiac Eikovw (BIONZ) eItpenov avalvon akivtwv EIKOVW Io0dvamu teg Ta eYeOthoupEpyapKav.
*5 To [E E SteadyShot] eivau pvθμσενo ε [Tvπικι] η [Oxu].
*6 To [E E SteadyShot] ειναι ρθμσενο σε [Evερη].
Σνδεσμοι ειοδδου/εξόδου
Yπoδoxη HDMI OUT: Σνδεσμος micro HDMI
Yπoδoxηn PROJECTOR IN: Σύνδεσμος micro HDMI
YIpOoXn EIOOOv MIC: TpEoovwukn iivu OIOOxN (Φ 3,5 mm)
YIpOxyaKoovotikwv:Tepeoovvki nmuvi uOdox(Φ3,5mm)
YnOdoxn USB:TOnocA(Evwoaatomega USB)
Ako8ekTnc Multi/Micro USB*
- Ynootnjpiει συνκενες συμβατες με micro USB.
H ouvδεη USB ειαι μόνο για Ḍεδo (HDR-PJ650E/PJ650VE/PJ660E/PJ660VE).
Oboyn LCD
Eikóva: 7,5 cm (túnoç 3,0, avaλoγia δiστáσεων 16:9)
Σνυλικός αρτθμός pixel:
921600 (1920× 480)
PpOβoλεaC
TnoC npoBoAεa: DLP
Piyni c :LED(R/G/B)
Eotiaon: Xeipokivnta
67 mm × 72,5 mm × 134 mm (π/v/β) με τα προεξέχοντα μέρη
92 mm × 80,5 mm × 156 mm (π/v/β) με
τa ποεξέχοντα μέρη, ηιν παρεύμενη
επαναροριςόμενη μπαταρία και το καλυμμα
φακου
Bapoc (περιον)
HDR-PJ650V/PJ650VE/PJ660V/PJ660VE:
450 g muovo n κύρια μováδa
540 g oupteiauavoevnc tnc
panexoevnc enavaropotooevnc mpatiac
kai tov kaluaatoc kaov
HDR-PJ650E/PJ660/PJ660E:
445 g muovo nguipia movada
535 g oupteiauovoevnc tnc
panexoevnc enavapopotoevmucnatapiac
kau tov kaluamuotc kaakov
Metaoxnmuatiotnc evaalaoooueou pεuμaTOC AC-L200C/AC-L200D
Aπaɪrθησεις icos: AC 100 V - 240 V, 50 Hz/60 Hz
Kataváλωη ενταοης ρεματος: 0,35 A - 0,18 A
Kataváλωσιοχνος: 18 W
Tao : Uvexc pUa 8,4V*
; 0^ C c 40^ C
a 0 c: -20^ C c + 60^ C
( i ): 48 ~mm × 29 ~mm × 81 ~mm ( / / ) o o v p a
Bapoc (περιπου): 150 g χωpiς το καλώδιο τροφόδοσιας ρεύματος
*EITE TNY ETIKA tOu mTaOnaHnAtiOnT evaalaooEvovpeuatoC yia aAee npodaypapc.
Enavaoportcóeyn μatapia NP-FV50
Méviot ταον έξόδου: Συνεχές ρεύμα 8,4 V
TaonEio6ou:Uvexcρeua6,8V
Méviotn tao n φóptioc: Suvexεc pεvμa 8,4 V
Méviótro pεvúma φόptiσης; 2,1 A
Xwpntikotnta
Tuπikn:7,0 Wh (1 030 mAh)
Eλαιστη: 6,6 Wh (980 mAh)
Túnoc: Ióvτων λιθίου
O _ i ka o npodaypaape ts
BivTeokapacKa twv EApntawv vOnkeivTa
0aalayecxwipic npoeidonoinon.
Σετικα με τα εμπορία σήματα
- Ot επωνυμίες "Handycam" και
- HANDYCAM εἶναι σήματα κατατεθέντα της Sony Corporation.
Ot "AVCHD", "AVCHD Progressive", to loyotvno "AVCHD" ka t o loyotvno "AVCHD Progressive" eivai eumopiká ta nC Panasonic Corporation ka Sony Corporation. - Ot επωνυμες "Memory Stick", "Memory Stick Duo", "MEMORY STICK DUO", "Memory Stick PRO Duo", "MEMORY STICK PRO DUO", "Memory Stick PRO-HG DUO", "MEMORY STICK PRO-HG DUO", "Memory Stick XC-HG DUO", "MEMORY STICK XC-HG DUO", "MagicGate", "MagicGate", "MagicGate Memory Stick Memory Stick DUO" εια εμτορία σηματή σηματα κατατέθεντα τής Sony Corporation.
H eWvua "InfoLITHIUM" eivai eNopiko onma Tc Sony Corporation.
H enwuvua "x.v.Color" ka to ooubao x.v.Color" evia eunopka onmuata tnC Sony Corporation.
H Eπωνμia "BIONZ" εια εμπορύ σημα της Sony Corporation.
To S-master eivai oma katae the Sony Corporation.
H Eπωνυμia "BRAVIA" ειαι εμπορικό σημα της Sony Corporation.
H enwuyia Bla-ray Disc^TM kai to ouipoLo Bla-ray eivai eutopka onata tnC Blau-ray Disc Association.
H eWvua Dolby ka to oUo double-D evai eupka ona tnc Dolby Laboratories. - Ot öpòi HDMI και HDMI High-Definition Multimedia Interface καθως και to λογότυπo HDMI εἰναι εμπορίκα σηματα ἡ Μηματα κατατεθέντα της HDMI Licensing LLC σις Hνωμενες Πολιτείες και σε αλλες χφες.
- Ot επωνυμεις Microsoft, Windows, Windows Vista και DirectX ειναι εἰτε σηματa κατατεθέντα ἡμπορίκα σηματα τής Microsoft Corporation στός Hνωμεύες ΠΟλιτείες ἡ/και σε ἀλλες χώρες.
Otewvuiie Mac ka Mac OS ivai ojuata
KatateoVtata nC Apple Inc. otC H.I.A. kai oA
aAlessc
Oi eWvuiiec Intel, Intel Core ka Pentium ivai eumopika oHaata n oHaata katoeVtA Tc Intel Corporation noyatapikovavtc, stic HvomegavecPiotreiec Ka oAlessc wpc.
Ta"Kaai"PlayStation"anotelovv eumopika onjmuata katatethetaVra Tc Sony Computer Entertainment Inc.
H enovuia NAVEQ Kai ta loyotuna xaptn NaVEQ eivai eupoka omaata tnC NAVEQ 0tC H.II.A. Ka oe aAeeXwpec.
To loyoturo SDXC eivai eumopko oma tnc SD-3C,LLC.
H eWvua MultiMediaCard eivai eunopko oJma Tc MultiMediaCard Association.
H Etwovuia Facebook kaio loyoturo "f" anotelovu euponka o nma t a npouk a onjata kataatethetavtata tnc Facebook, Inc.
H eWvua YouTube kai to loyotvo YouTube anoteAovv eunopika oH mata h eunopika oHATA KAATATEeVTA Tc Google Inc. Ola ta aaaa ovoua npoiovtwov nov avapepvotai sO napov mopoie vaivai eunopika oHATA n oHATA KATATEeVTA wv aviatoxewe taoiwv toc EUNeov, ta TM kaB dev avapepvotai oe oLec tic nepiHTwoic sto napov eXepidio.

Metaβiaon ΜΟΙΤΜΙΚΟΥ. Mnopeite va
μεαβiaσετο ποσικα δλα ταδιαμωτα σα στο
πλαιονιτης ΚΑΔΕΙΑΣ XPHΣΗ Μου ως
μερος υλιηός Μ εμαβiaσοις του ΠΙΟΙΝΤΟΣ,
ε μητηνρούθεις τοῦ δεν θα κραίσετε αντίραρα
tou ΛΟΙΤΜΙΚΟΥ, στι έγεραβασεός τολο
ΛΟΙΤΜΙΚΟΥ (συπερλαμανομένου) λον του
aντίραφων (μονο ερόσου επιρέπεται Αντίραρη
σύμωνα με την papanáνω πραράρο "Περιρίος
χετικα με την ασούμιληρ, την αντίρορη
mæγλʊτισκα και την ασούναρμόληση"
παραπανω), τὴν συσταικόν εμρων, τῆν εμανω και
tou εντυνούνι λικόου, λόνων του ἐκόδεων και φάθ
aναβαθιασε του ΛΟΙΤΜΙΚΟΥ και της παρονος
AAEIAXPHSEH),Ko aioNtEKTncovuowvei e Tooc opouc kaTic npovtoeaeic auTc Tc AAEIAX PHSHEZ
Aioqn. Me nyn eaiualek ake alauov dikauwatooc,
n SONY moptoe vaiae auvt n AAEIA XPHSHZ
evdav nnpaete touc opouc kai tnc pioioutoaeic
aurotic nC AAEIAXPHSHZ. TnV npinptowaei
pneievaiaokoyote tn xphon toAOIEMIKOY
kai oawv oovatukw mepvow tau. Oiatadac
twovotnvtrnapoaoa AAEIAx XPHSHZ
me titlouoc"AIKAIOMATA INYEYMATKHZ
11IOKTH2IA", "PAASTPIOTHTE YPsiAOY
KINAYNOY,"EAIAPEESH EITYHEHSEII TOY
AOIEMIKOY, "TIPIPOIMOS EYONHZ",
"AIATOPEYsE H EAOTIHZ, "AIAPETOTHTA
kaT 11XYYOYSA NOMOE6IA KAI
11KAIOAO2IA, n napaypoc "Emiotevtikoteta
avtnc nEvotntac kai npapova o npapaypoc 8a
napaeeivoue ae iayo meta tN hNtov tepaatioo
avtnc nC AAEIA XPHSHZ.
Euioevtikoteta. Suovweite va diatnpnoete tvn
euioevtikoteta tvn Aloiopoipov nov nepieoxvatai
OTo AOIEMIKO oioeics dev iival ywoetc
douoic kau va nvi tnc atokaioyete eptiro
xwcip tn pponyouevyn paan th eykpion ts SONY.
IKAIOMATA INEYMATIKH IIOKTHEA
Ooi o titloi ka ta dikoaiwpatana nevuaatikn c idokntiaac tov AOIIMIKOYIA yia too AOIIMIKO (ounepeiamaabavouevuv, metae aalww, olawtwseodoeovw xaptn, eikovw, wotoypaowiv kiovbeevw eikovw, bivteo, hcvw, moukiNc, keivovk aapplet" tov evai vovawatmeva oro AOIIMIKO), ka kae atyivapoTO AVIOIIMIKOY, aototeauovioidokntia TCS OSON, twdikaiopaoxw kawTw npoimvevtnc SONY KA tw avtioaoyw vnu6deovewv me auovc etaipuw (oi ev loyw dikoaiopaoxoi Ka npoimhevtc TCS OSON, maicu icv tviatoxoc vnu6deovce me auovc etaipiec eepcn 0a vaapepvotra oulaoyika wc "AIKAIOIAPOXOI THE SONY"). Ola ta dikoaiwataov dev ekxupovvatie ioka oubwva me npu npova AAEIA XPHESI diatnpovtai an to s TSON YOTUCAIOANPOXOC TCS SONY.
PASTHPIOTHTTEY HAOY KINADNOY
To OTIISMKO EV ev iva avthetaktiko oe bacekai
ev exei oxiaetei n katakeuaote ote npoeipctea
via xhnpo e neuikviava nepiaalovntou aotatov
anodoo anopaln anto aotoxia, onwc otn letuvpyia
pnyivkyov kyaataaewv, oovtjnatw loohynoc
enukovniae aeopokapv, elyxyov evaaepic
kvloopopiac, svotnjmatwy aleomc vnootpiigcn
zwtkowv leitovaynv o naikaw osotujav, otou
nbaibou tov OTIISMKOY mopei va odnyaei
0e thavo, pnoosnkto paunatiogio noabapn
omegaikn ti nepiaalovtkn jmu (Dpaotnpiotntec
vyhov kivdvov).H SONY, oi vseoboevece me
aivtetaeapie, ov aivtotoxoi npojnevtoc
Kai ot iAikoiapoyoi tnc SONY aotoiowvtau ovykepimiva kafe pnti nvtosnloouevn eyyunon katalanlotaTAC ydaopntpiotntec vnyLoov Kivsvou.
EAIPEZH EITYHZH ESNI TOY AOTIIGMIKOY
Avaywipicetekai oupvapeite pntoc 0t i xponoTou AOTIEMIKOYivetaa anokleiotika me dikn oac euvbnu. To OAIOTIMIAPeexeiTcEXEiKai xwcipoeudemaeyunonkai TSONy,oi ouvdeoeuevec e auvtiv taeie, o avtiotaoj npoepveuc tocc kai o dkaiaotapoxo nTc SONY (0e aurtn tvv eovtna, nSONY, ouvdeoeueve c e auvtiv taeie, o avtiotaoj npoepveuc tovc kai o dkaiaotapoxo TcSONY oavapoevtau ovayoo wc "SONY) AIIOIOTIOYNTAI PHTOSKAOEITYHXKAI SYNOHKH, PHTH H YIIOAHOYMENH, H OIIOA IPOKYYITEBAEIN NOMOEOEAIAJ H AAANZ, SYMIEPIAAMBANOMENON, METAETY AALON, TON YIIOAHOYMENON JETYHEEQN KAI SYNOHKNIOIOTHTA, MH IAPABIAHNS, EMIOPEYEZIMOTHTAS KAI KATAAAHAOTHTAIS IYA STYKEKIPIMENO KOIIIO.H SONY DEN EITYATAI OTI OAI EITOYOPTIE IOY IEPIAAMBANONTAI TTO AOTIEMIKO OAANTAIOKPINANTOI T1S AIIAITH2EIZ ZAO, OTI H AEITOYOPTIA TOY AOTIEMIKO OEAINTAIOKPINANTOI T1S AIIAITH2EIZ ZAO, OTI H AEITOYOPTIA TOY AOTIEMIKO OEAINAI AIAKOIH OHYTEO1 AND IMTEOTIIEZI ZMAAMATA. H SONY DEN EITYATAI OYE IPOBAINEI ZE OIIOAAHIIOTE ANTIPOQITEYEH ZE XEESH ME TH XPH2H, TH AN DYANAMX APH2HS H TA AIOTIEAEMATA THXPH2HS TOY AOTIEMIKO YEOTI APOTA TH OPOTHTA, AKIPBEIA,A2IOIETIAYTOH AALANZ. OPIEMENES DIKAIOAOESIEAN ENIITTEIOYN THN EEAIPEEH TON YIIOAHOYMENON EITYHEEN, KAI 2THN IIEPIITTOsH AYTH ENAXOMENsNA MHN IEXYOYN IIA EZA OI ANTEPOEAEPEEZI.
Katavoite pntwoc otatdeooueva oTo AOTIEMIKO npoei va nepieoyov avakpuieh eAuianei
Pnnpoopiec loywnpapodov tov poovov, ta
metaalooevuvovnkwov, vovxnpoioutoiouveuv
nyawkai nncnncvovlaooynic nepiektuov
yeowpaikwvedoouvuk, otoioohtnote ano
ta otoia npoei va odnojne1e aeavthetaue
anotelaeqata.
NEPIOPIMOZ EYOYNH2
STHN IAPOYSA ENOTHTA H SONY, OI
SYNAEOMENEZ ME AYTHN ETAIPIEZ, OI
OAI ANTISTOIXOI IPOMH@EYTSE TOYZ
KAI OI ΔIKAOIIAPOXOI THE SONY ΘA
ANAΦEPONTAI ΣΥΑΟΙΚΑ ΩΣ 'SONY' ΣTO
MEITIO BOAMO ΠIY ΕΠIPTEITAI AIO
THN IXYZOYZA NOMO@EIA. H SONY ΛEN
ΦEPI KAMIA EYΘYNH ΠΑ ΑΟΙΑAHIOTE
AESΩZH, AIAITHESH H IPOΣΦYTH, ANEAPHTTA AIIO TH ΦΥSZ THZ AITIAZ THZ
AEIOJHSAIATHEHS'HIPOSOYTHES,ME
THN OIOIA IINETAI 12XYP1MOE AIOIAEIA
'HZMIAS,AMESHs HEMMESHO,HIOIA
MIOPEI NA AIOPPEEI AIO TH XPH2H
H KATOXH TOY AOITMIKOY, OYTE IIA
THN AIOIAEIA KEPDOY,EIOOHMATOSE
SYMBAUSHAIOTAMIEYSH,H TIA
OIOIAAHIOTTE AAAH AMESH,EMMEH
TYXAIAEIKH SYMTIMQATIKH ZMHIA
IOY IPOKYYITE AI IO TH ADIKH SAZ XPH2H
H AAYNAMIA XPH2HO TOY AOITMIKOY, IIA
OIOIAHDIOTE ZAMMA STO AOITMIKO
THHN IIAPABIAZH TQN OPON KAI
IPOYIOOOEEN, EITE SE IPOOSFHTHBASEI
YMBAOSH H E AADIKOPIAEAIH H BAEI
EETHYH2K, AKOMH KAI EAN H SONY EXEI
ENHMEP0EII TIAN THIO ANOTHTA TQN
EN AOTG ZHMION EKTOE THI EPIITIO2H2
ZOBAPHE AMEAEIAH EKEMMEMH2
IAPABAZH AIO THN IIAEYPA THE SONY
OTANATOY'H IPOSOIIIKOY TPAYMATIOMO
KAI ZHMOI NOI YIPOKAHOHKHAN
AIO THN EAATTOMATIKH FYSH TOY
IPOIONTOZ. EKAOE IPEIIHTNOH, EKTOS
AOI TIE IPOANAEPEOEIEE AIAPEEISE, H IIAHPH EGYNH THS SONY SYMFONA
ME OIOIAAHIOTIE DIATAEH AYTHZ THSE
AAEIAEX PCHNSO AE IIEPIOJPETAI 2T0
IIOZO IIOY IIPATMATIKA KATABAHHOKE IIA
TOAIOIIMKO. OIPIMENES IAIAIOAOIES
DEN EIIITPEIOYN THN EEAIEPSH H TON
IIEPIOIPMO TON ZMYMITGMIXKON
HYXAIQN ZHMOI, KAI EIIOMENO
ENAXOMENQ NA MHN IEXYEI TIA EEA2 H
ANOTEPEOEAIEPSH H IIEPIOPISO2M.
ANAGOPEYZHEAIGH
ANAGNQPIZETE OTIH XPHSH TOY
ANOIIMKOY EOEPIMENEX OQPEZ,
IEPIPEPJEIEZ, IIEPIOEXH EIKATASTAEIEZ, H
HEAIGTH TON IIPOIONTQN AIO TH XQPA
STHN OIOIA IPOOPZONTNA NIAOHOOYN
TA EN AOTIO IPOIONTA, MIOPEI NA EINAI
IIPOPIOMENH H NAIIATOPHEYETAI.
SYMQONEITE NA XPHEIMOIOIHESETETO
AOIIGMOKHO NAEATETATE IPOIONTA
SYMQDNAMEMTOYSEXYONTENSOMOYS
TA IXYZONTA DIATAΓMATA KAI TOYΣ
IXYONTEEKANONESEKAKANONIEMOYS
TQN ANTIETOIXQN XQPQN, IIEPIPEEIQN,
IIPEOXQN KAI EIKATASTAEΩN.
DIAIPETOTHTA
Eav oiooohntore tuimu autiric nC ADEIAZ XPH2H5 kataotie akpu h np eapaoet, ta vnoaiau tuimuata h naapeivovc so xoy.
IXYOYZA NOMOQEIA KAI DIAIOAOZIA
H napovsa AAEIA XPHS2H dietai ano touc vouoc ts Ianwviax wipic xoyu yia tic diataeic erpi oynkpovcn vovm n Tn Suabmaon tv Hwuivev OEvw yia tic Supeaeic Aiehvoic IiAnlomn Ayawv, no otioia anokklaeiota npa. ToxydiveeN stno paoac AAEIA XPHS2H 6a vnokeiato stny anokklaotikn katotov apodoiTn ta Iparotobikeivou to TKko kai ta onuBaaOeva mep onpovovv me tynt kataoTov apodoiTn ka dkaiaosoiia tov ev loydwakotpiiov. TA YMBALAMENA MEPAHIOIIOYNTAI TOY DIKAIOMATOZ AIKHZ ENIONIION OPKTOY\SOMATOVII ZHTMHATA IOY TPOKYITIOYN STA IIAAIEA THI IPOAYEAAS XPHEZ'H FIA ZHTMHATA IOY EXETIZONTAI ME AYTH. OPIEMENE DIKAIOAOSEN DE N EITPTEIOYN THN EEAIPESH TOY DIKAIMATOZ AIKHZ ENIONIION OPKTOY OMATOX, KAI STHN IEPPIITOH AH ENDEXOMENQ NA MHN IXYEI IAEAH ANOTEPQ EEAIPESH.
IIAHPEZYMΦΩNHTIko
Auroi oipoi kai npovnotheic anotetoleovv to nlapec ovpuwovtik oavaeoa st NONY kai eac os xeon me to tha nao anotelei o atvikelevo tnc kai vnepioxovuovnuolka ola ta nponyouveva parta npoopopika ovpuwovtik maetabv mac os xeon me to thea auvo.
KYBEPNHTIKOITAEIKOIXPHETES
EoA OIOMIKO Eeiaotn0ei aio nE
eouc Tnc KbepvnoTc Vnu HwEvov IoAteuw
noaolntote aannc ovtntac n oonia avacnta n
epapoei dikawmuata npaoia me auva n aoatei
ouhoo n kupevnoT WnuHwEvov IoAteuw,
to AIOIMIKO auo anoteai "eutopiko eidoC" me
tny evoia nov divetai oToV opo auTo 38 F.C.R. ("FAR") 2.101, aeiodoteari oupawva me auT nTV
AEEIA XPHZHS, Evw to ev loywo AIOIMIKO nuo
panadietai n npaeXeTAAlooc thn
ka 9a peiauabeivn YeyKkLio Xpnoc" otwn
kabopictai an to tSONY h/Kai ts ouvdeoevec me
auTnv etaipiec ka 9a auTmeTwielatoupawva me
tny yekkuioavt.
IInpopopiec diakaiupatw nveuatikic idioktnoiac kai eumopikov onatow
©1993-2011 NAVTEQ
©2012 ZENRIN CO., LTD.
Auotpaia
| Eνδειη | Σημαία |
| MENU | Κουμπι MENU (51) |
| ∅ | Εγγραφή μεχρονδιακόπη (52) |
| XII | Κατάσταση τριγωνιομόνGPS (34) |
| ↑ | Η επιλογή [Λειτ.αεροτλάνου] ἔχει σριστέισε [Nai] (55) |
| ΞΟ | Προβολέας βίντεο |
| 4:3 | Ενερεία λειτουργία (53) |
| D W | ΕFader (52) |
| θOFF | Η επιλογή [Aviχεύσ.προσωνιον] ἔχει σριστέισε [Oxι] (53) |
| θOFF | Η επιλογή [Κλείστροχαμόγελου] ἔχει σριστέισε [Oxι] (53) |
| Φ | Ξεροκίνητη εστίαση (52) |
| Φ | Επιλογή σκηνικόν (52) |
| Φ | Ισορροία Λευκόν (52) |
| (ψ) | ΑπενεργοποιμένoSteadyShot (52) |
| WS | Αλλαγή σιορροπίαςλευκόν (52) |
| TV | Tele Macro (52) |
| Bf | Φακός μετατροπής (53) |
| 70 100 | Zέβρα (53) |
| PEK PEK PEK | Εμφαση (53) |
| CINEMA | E Cinematone (52) |
| Προρισμός (55) | |
| Ενφυες αυτόματο (ανίχνεωση προσώπου/ ανίχνεωση Μκηνικόν/ ανίχνεωση κουνηματος της κάμερας/ανίχνεωση ηχού) (32) |
Kévτpo
| Evδειη | Σημαία |
| → | Pύθμ. προβ. διαφαν. (29) |
| ← | Προειδοποίηση (58) |
| Δ[1] | Λειτουργία αναπαραγωγής (29) |
| Evδεξη | Σημαία |
| HDP 60i HQ HMP 720 | Ποιστητα εκόνων εγγραφής (HD/MP4/ STD), ρυθμός καρέ (60p/50p/60i/50i/24p/ 25p), λειτουργία εγγραφής (PS/FX/FH/HQ/LP) και μέγεθος ταινίας (31) |
| 60λεπτά | Υπολειπόμενος χρόνος μπαταρίας |
| Εγγραφή/avanapayωγή/ επεξεργασία μέων (22) | |
| 0:00:00 | Μετρητής (ώρλεπό: δευτερόλεπο) |
| 00λεπτά | Εκτμμεμενος νιολειπόμενος χρόνος εγγραφής |
| 9999 169 | Kata προσέγιοι Αριθόμός |
| 20,4 M | εγγράψμων φωτογραρίων Και μέγεθος φωτογραρίων (53) |
| Φάκελος αναπαρayωγής |
| 100/112 | Tpèxovσa avanapayóμενη ταίνια ἡ φωτογραφία/ Aριθός συνολικύν εγγεραμένων τανιών ἡ φωτογραφίων |
| Σύνδεοη στην εξωτερική συσκεύν μέσων (49) |
Kατω
| Eνδειη | Σημαία |
| Φ+ | Επίπεδο εγγρ. ἡχου (53) |
| ΦOFF | H επιλογή [Aυτ.μειωσ. θορ.ανέμ.] ἕχει σριστεί σε [Oχι] (53) |
| θOFF | H επιλογή [Δυνατότερη φωνη] ἕχει σριστεί σε [Oχι] (53) |
| Φ- | Eνσωμ. μικρόφ. ζουμ (53) |
| Φ5.1ch Φ2ch | Λειουργία ηχου (53) |
| Φ | Low Lux (52) |
| AGCF | Οριο AGC (52) |
| Φ- | Φωτομ./εστ. σποτ (52)/ Φτομέτρηση σποτ (52)/ Εκθεση (52) |
| EV | Μεταβ. αυτόμ. εκθεσ. (52) |
| 10000 | Tαχόντητa κλείστρου (52) |
| F1,8 | IPIΔΑ (52) |
| ΦAUTO | Ενφύς αυτόματo (32) |
| Φ-101-0005 | Ονομα αρχείου δεδομένων |
| Φ- | Προσταία (54) |
| Φ-Φ-Φ-Φ-Φ-Φ-Φ-Φ-Φ-Φ-Φ-Φ-Φ-Φ-Φ-Φ-Φ-Φ-Φ-Φ-Φ-Φ-Φ-Φ-Φ-Φ-Φ-Φ-Φ-Φ-Φ-Φ-Φ-Φ-Φ-Φ-Φ-Φ-Φ-Φ-Φ-Φ-Φ-Φ-Φ-Φ-Φ-Φ-Φ-Φ-Φ | Φλας (53)/Φωτείνότητa φλας (53)/Mειωση κόκ ματιών (53) |
Oi evseieic kai oI theeic tov napovoiacovta kata pnoeyioi kai evexetai va diaepovu ano ta stoixia nov eupavicovta otny npaymuikotnta.
Opouevc evdeic evdexetau va unv eupavicovta, avaloya e to ovtelo tnc bivteokapeac.
Eupετήριο
E Extended Zoom. 27
F
FH. 31
FX. 31
GPS 34
HQ. 31
L LP. 31
Mac. .43
"Memory Stick PRO Duo"
(Mark2). 23
"Memory Stick PRO-HG
Duo". 23
"Memory Stick XC-HG Duo"...23
P PlayMemoriesHome.....15,43,44 PlayMemoriesHomeHelp Guide.....15,46 PS. 31
T
Thumbsils. 29
U
USB.17
V VBR. 62
W Windows. 44
A
Ameoavitipapo. 49
Avanapaywyn.. 28
Avtietwian npoBlambdaWv....56
An0hkeovn eokovw oE
eWepuk nOOKevn mew...47,48
Apiouc yyypaayuw
awotypaow.. 62
Apxikp0hmuon. 19
Apxikooino.. 56
Aoovmuato
tnlambdaeipoiatnpio 13,66
F
Twosaa 5
a t lio o i . 13 ni p ia i w . 47 i p . 40 i i . 41 i kataypaq.24 i p AVCHD...6,31
E
Eyypaqni 24
Eyypaqiawv.41
Eykarotaon..44
EkkivonTov PlayMemories Home. 46
Euapvionoov 25
Oevieic oovn.. 26,75
EvdeN auTouaTnc
diayvwon. 58
Evpyoioinon.19
Evomegaouevo kaawio USB..17
Eapntnata kai xepiortpiia.....11
Ewotepikn oovkevni
ouow.. 47,48
Eπεξεργασι. 40
Eπιδίορθωση. 56
Eπλογεας MANUAL. 33
Euloyni meosou 22
Evpuoc auroauro. 32
Z Zouu. 27
H Hερομηνια/Ωρα....21 Hxoc surround 5,1 καναλων....36
Θ ΘópuBoc avéμov. 53
I
Imuavac bivtokakepac 13
IPIA 52
K Kaokaipviip 19
Kakvmaqakov 13
Kaλωδιo HDMI. 35
Kaaw8io npoosapouoya USB....48
Kaaw8io oov8eoc USB.15
Kapra SD. 23
Kaprauunnnc 22
Kleiopto xauoyeou. 31
Kwdiokc 8e0douv..21
A
Aetoupyia eyypaqic. 31
Aetoupyia eioawlov. 27
AioTeC muov.. .52
M
Mevov .51
Meo eyypaqnc 22
Mnatapia. 16
Mπuπ. 21
O OenyoCxpiogntov "Handycam" 6
OovLCD 25
Pi Ieilo pOaIaIawv diaovdeltaewv. 11,65 Iivakac apnC .25
PiipnCFOpTOn 17
PiicTaioxov. 18
PiopoBolac 37
Pi0pOaI oUpaVtoc. 28
Pi0pOaI aPrtn.. 30
Pi0diaypaqεc. 68
Pi0eiDooiunTkeεvdeiEic..58
P
Pv0muieic uov 22
Σημειωσεις για τοχερισότης
BivTeokaepac. 63
2toivia nov napexovra.15
T
Taviec 24
TnEoPaaon. 35
Tpi0do. 12
Y
YIPOLOyoiotns. 44
#
ΦoPtiŋ της παταρίας............16
ΦopTn Tn μπatapiac
Xpnooioiwvtauov
vnoooyiotn oac 17
Φροντιδα 63
25
X
Xpnon autou tou yexyepidiov...7
Xpovoc 2yypaqnc kai
avapapaywyn59
Xpovoc a c taivuw...59,60
Eupωπaikn Eyyúnɒn SONY
AyannteNelatn,
Sac evxapotoupe nov ayopaoate avto
to npoiov tnc Sony. Eanizoume va meive
ikavonounievoi ano tn xphon tov. Tnv
anithetav nepiittwn noov to npoiov oac
xpeiaotei eepic (eiokevn) kat aTn
diapkeia tnc eyyunoc,napakaaleiote
va eikoiovwntoe To kataoTma
ayopac n m' eva meloc tov dktov
Eeovioodotnevovsepic mac (ASN)tnc
Evpwaikc Oikovoukic Zovnc (EOZ)
n kai alawv xwpov nov avapepvotai o
autn thnv eyyinon n ota ovodevovta
auty qulambdaia (Nepioxk Kakuusnc
tnc Eyyunoc). Mnpoeite varbetaite
Aentoupeiec yia ta m eIn tov diktbou mac
ASN, stouc tnlepwivkobc kataloyouc,
stouc kataloyouc npoiovtwv muc kai otic
totoeaiidec mac.
Ia va aiooqvetye ka3e nepiittn taalipwaia, oac ovviotouve va diabaote npoeektka to eYxepidio xphnnc npotov va ePtheta 2 enapn me tov npounthevtn ac n to diktuo exovoiodotnnevov oepicuac.
H Eyyunən Eac
H napovsa eyyunon ioxvei yia to npoiov
tnc Sony nou ayopaoate, e' 0oov
kati teio avapepeet a stq vlambda
nou ovvodevay to poiov osac, vno tnv
npovntoen otayopaoNTke evtoc tnC
Piepioxnc KALUVNC TNC Eyyunoc.
Me npapovoa, n Sonye eyyvatai oti to pioiov eivai anaalaymevo ano katoe aattwa ytaokevn, yia uia nepiodo ENOESTOYs ano Tny nepouynvia tnc apxikc ayopac. H apoodia yia va npoopepi kalknnpwoei Tny npapovoa eyyunon, etaipieia Sony, eivai autn nov avapeptai o' autny Tny Eyyunon
n 0to oovodov avntc qvlladio stn Xwpa onov epiidwkeita n eniokevn kata tn diapkeia tnc yyyunons.
Eav, evtoc tnc nepiodov eyyunong,
anodextheta i elattwmuatko to npoiov (kata nyn neepoouvia tnc apxukncs
ayopac) loyaw akatalaannv vlikow n kataokevhc, n Sonye h eva meloc toud
dktov Eovsiodotnvev Evpuc ASN
tnc IIepioxnc KALvpsi nTc Eyynuonc th a
enikvadai n th a vtikataotnei (kat'
enlouyn tnc Sony) xwpic eniapuvon yia
epyatika n avtaalakntka, to npoiov n ta elambdawtatika eaptnhata tou, evtoc
euloyov xpovov, baoei twv opwov kai
ovvthnkov nov ektivetai napakatw.
H Sony kai ta melton toudktov
Eevosiodotmvev wepic ASN npopoov
va atukataotnov elambdawtuata
poiovta n eaptnhata me vae n
avakvkwmeva poinov t n eaptnhata. Ola ta poiovtka eaptnhata nov
exovv atukataoatahei yivovtai idoktnia
tnc Sony.
'0poi
- Eπιακενες δυνάμει της παρούσας εγγύησης θα παρέχονται μόν εάν προσκομιθει το πρωτότυτο τμολόγιο ἡ η απόδειξη πωλησός (με την ἐνδείξη της ιμερομηνίας αγοράς, του μόντέλου του προίόντος και της επωνυμίας του εμπόρου) μαζι με το ελαττωματικό προίόν εντός της περίδου εγγύŋσς. H Sony και τα μέλη του δικτύου Εξουσιδοτημέναν Σερβις ASN μπορουνν αρήθουν τη δωρεάν επιακεύνη κατά την περίδο εγγύησες εάν δεν προσκομιθουν ται προαναφέρόμενα εγγραραή εάν δεν προκύπτουν από
avτημερομηνia ayopac, to προίν η to μοντέλο τοῦ προίντος η επωνυμia tou εμπόρου. H napoúσα εγγύηση δενιαχει εάν o τύπος τοῦ μοντέλου η o σεριακός αριθός τοῦ προίντος εχει aλλοιωθει, διαγραεί, αφαρεθεί η kataστει δυσαγαννωτος.
- Ia va aioqevxthetai bαβn n anwla / dtaypaqn o e apapovuva n anoanueva moe na n eaptnmuata anohtkevoc n 8doevwv, oeiIe v ta aapapeoet npiv npadawotno poiov osia eiokeun kata tny πepiodo eyyunonc.
3.H npovsa eyyonon dev kaunptetatae0da kai tovc kivdvovoc metaopapac nov ouvdeovtae nTn metaopapotov npoiovtoc aopc kai ano tn Sony n meloc tov diktbov ASN.
- H napoovσa εγγύηση δεν καλύπει τα εξής:
Ieipoiokn ovvtnpon kai eiokeun n avtikataoan EapntaWv o anoteloeqa vovioloyikc qhopac.
Avaawoua (ovotatika epn yia ta oioia npoB5eTaa nepiodikn avtkataoan kata n diapkeia cwhc evoc poiiovtoc onwc m enavapoprticoevc matapiciec, vviyyia ektwnonc, ypaipiec,lambda, kalwdi a kllpi.),
Znua n eattwata nov npokkthkav loywohong, aeitoupiaic hεipioou aosbaow me tvkavovikn atoukni okiakn xphon
Znmuεç n aλλayεc στο προίov nouv προκληθκαv από:
-Kakn xphon, oumeplaaouavouov:
- tov xieipouov epipei qoikn, aoTheuKn n Eupaveiakn Cmu n aalayec oTo poiov n Bao n oOvec vpyw kpuotaalww
- μη κανονική η μη σύμφωνη με τις
οδηγίες τής Sony εγκατάσταση ἡχρόητου προίντος
- oovtnpnoT ov pioovtoc oovwva tic odnyie c owotnc oovtnpnoC tnc Sony
- ykataoan n x npon tov npoiovtoc tpno n o umpwvo tic texvike
npodiaypapec kai ta npotua
aospaleic nov ioxovov stn wpa onov
exei ykataoataeikai xpnouoieitai
to npoiov.
Molvoeic ano 1ouc n xphon tov pioiovtoc m loyiauko nov npaexetau m to pioiov n avthetaevn ykataostan to loyioikov.
Tny karataoan n ta eattwata tw ovotnatawve ta oioia xpoaipooteita n oioia evowatwetai to npoiov ektoac ao aaaa npoiovta tnc Sony eikka oxdeltaeva yia va xpnoopoiovvtae to ev loywo poiov.
XpnoTov pioovtoc Eaptnmuata, i e e i o O I O a a pioovta twv oOniov o TOnoc, n
kataoataon kai to potvno dev
ouviotovta ano tn Sony.
Eπiokevn n επiεipnθeioa επiokevn aot αtoα πον δεν εival μελη της Sony n tou δικτύου ASN.
Pvthetaic npoosapoyec xwpic tny nponyouevynpantn ovkyatadean ts Sony, otioiec oupeiaqavovtat:
-η avαβαιση τοῦ προίντος ερα από τις προδίαγραφές ἡ τα χαρακτηριστικάνου περιγράφονται στο εγχειρίδιο χρήσις ἡ
-oi troponoioiogtov npoiovtoc OKO va ouupopw0ei npoc eVikc
nToiKcTevVKcnpodaypaqcskai aopaiaac nov IOxovnu
Xwpc yia tic onoiec to npoiov dev eixe
oxediaosteikai kataokveaotei Eidika.
Aéλεια.
Atvxqata, vprkayia, vypa, xnukec
kai aaaaoc oviec, pannmuopa, dovnoic,
vnepboiakn thepota, akataaalno
Eeapioou, vnteptaon, vnpboiik
n eopalneyn tropoosia n taon
eiofoav, aktivobolia, nektpoatikec
ekveoeic ounepilauvaovou Tov
kepauvov, aalwv Ewtepikov dvuaewv
kai πipaeewv.
5.H napovsa eyyunon kaunpei movo ta vlaikénpotn npoiovtoc. kauvtnei to loyiaikó (eite tnc Sony, eite tpitwv kataokevaotwv) yia to onoio napexetai n poketai va ioxoei ma aedeia xphonc ano tov telambda xphotn xwpiotec eyyunonc n eapoeic ano tnv eyyunon.
Στο μετρο πον ηισχύουσα vομθεσία
aπayopoeδει ἡ περιρίει autες τις εξαρεδεις
ευθυνης, η Sony εξαρει η περιρίει τήν
ευθυνη της Μόνο στη έγιστη ἐκταοη πον
της επιρέπει ηισχύουσα vομθεσία. Πα
napaδεγμα, ερικα κρατη anayopενουν
tŋv εξαρεση ἡνο περιρισό ημιών πον
oφεilovται σε μελεία, σε βαρία μελεία,
σε εκ προθέσεως πάπτωμα, σε δόλo και
napoúοες πράεις. Ε καμία περιπτωση,
η ευθυνητης Κόγ Ακτατη παρούσα
εγγνοῦση, δεν Φερβαíeι τήν τήμη πον
kataβλθηθκε για τήν αγορα tou Προίóντος,
ωτόσα αν ισχύουσα vομθεσία επιρέπει
mόνο περιρισόμος ευθυνών ψηλότερου
βaθμού, θα σιχύουν οι τέλευτaiοι.
Ta επιφυλαούμενα νόμμα δικαιώρατα σας
O katavaawntc exeivavtnc Sony ta dkaiauata nov anoppoeuv ano tnv napova eyyunon, ouqwva me touc opouc nov peixovtai oeavtnv, xwpic va npapaalantovta t a dkaiauata tov nou nnyacovn ao tnv 1oxvouoa eovkn vuotheia oxetikae tnnv wlonk katavaawtukov npoiovtw. H napova eyyunon dev thiyea tv vomuia daikauiata nov evdeoxeewoc va exete, ote Ekeiva nov dev mopovv va eapeoovn va
περιοστούν, oτέ δικαιώματα σας
εναυτίουν των προσωπων από τα ΑΟΙA
αγοράσατe το προίν. H διεκδικηθη
οιοιωνδήnotε δικαιώματων σας
εναπόkeɪtai απολλειστιὰ σε εος.
Sony Hellas A.E.E.
Baα. Σοφiας 1
151 24 Mαρούσαι
TuMaEEuUmpetnncIeAatwv Sony
Tηλ. 801 11 92000
e-mail: cic-greece@eu.sony.com
Version 01.2009
ΕύκολοΕγχειρίδιο