LSLB 10 A1 - LED-Strahler Livarno Lux - Kostenlose Bedienungsanleitung
Finden Sie kostenlos die Bedienungsanleitung des Geräts LSLB 10 A1 Livarno Lux als PDF.
Laden Sie die Anleitung für Ihr LED-Strahler kostenlos im PDF-Format! Finden Sie Ihr Handbuch LSLB 10 A1 - Livarno Lux und nehmen Sie Ihr elektronisches Gerät wieder in die Hand. Auf dieser Seite sind alle Dokumente veröffentlicht, die für die Verwendung Ihres Geräts notwendig sind. LSLB 10 A1 von der Marke Livarno Lux.
BEDIENUNGSANLEITUNG LSLB 10 A1 Livarno Lux
Coherweg 45
DE 50423
DE-57494 3688 GERMANY
Stand der Informationen - Last Information Update Version des Informations
Datum neuwste verse - Akulizacze na zlokade nejovářich informáLithuaactualizac de conteile. Ultima actualizac de conteile:
02/2017 - Ident-No.: LSIB 10 A1 022017-1
CE AT Bedienungsanleitung und Sicherheitsinweise
OB IE Operating instructions and safety instructions
FR BE Mode d'emploi et consignes de sécurité
NBE Handleding en veiligheidsaanwijzingen
Cz Nadvokobslzeabebepechnolpolyny
ES Manual de instrucciones e indicaciones de seguidad
PT Manual de instruções e instruções de segurança
IAN 285328
IAN 285328
DE 电
N L C2





Deutsch 2
English 13
Français 23
Nederlands 35
Cesky 46
Espanol. 56
Portugues 67
Inhalt
- Bestimmungsgemäß Verwendung 3
- Lieferumfang 3
- Technische Daten 4
- Sicherheitshinweise 5
- Urheberrecht 7
- Vor der Inbetriebnahme 7
6.1.Montage
- Inbetriebnahme 9
7.1.Bewegungsmelder ausrichten 9
7.2.Leuchtdauer einstellen (TIME) 9
7.3. Sensorempfindlichkeit einstellen (SENS) 9
7.4. Lichtempfindlichkeit einstellen (LUX) 9
8.Wartung/Reinigung. 10
8.1.Wartung 10
8.2. Reinigung 10
9.Problemlösung 10
- Umwelthinweise und Entsorgungsangaben 11
- Konformitätsvermerke 11
- Hinweise zu Garantie und Serviceabwicklung. 12
Herzlichen Glückwunsch!
Mit dem Kauf des 10 Watt LED-Strahlers mit Bewegungsmelder LIVARNO LUX LSLB 10 A1, im Folgenden als LED-Strahler bezeichnet, haben sich für ein hochwertiges Produkt entschieden.
Die Bedienungsanleitung ist Bestandteil deses Produkts. Sie enthalt wichtige Hinweise für Sicherheit, Gebrauch und Entsorgung. Machen Sie sich vor der Benutzung des Produkts mit allen Bedien- und Sicherheitshinweisen vertraut. Benutzen Sie das Produkt nur wie beschreiben und für die angegebenen Einsatzbereiche. Handigen Sie alle Unterlagen bei Weitergabe des Produkts an Dritte mit aus.
1. Bestimmungsgemäß Verwendung
Der LED-Strahler ist nicht für den gewerblichen Einsatz bestimmt. Er ist für den Betrieb im Außen- und Innenbereich geeignet. Das Gerät erfüllt alle, im Zusammenhang mit der CE-Konformität, relevanten Normen und Standards. Bei einer nicht mit dem Hersteller abgestimmten Änderung des LED-Strahlers ist die Einhaltung dieser Normen nicht mehr gewährleistet.
2. Lieferumfang
LED-Strahler LIVARNO LUX LSLB 10 A1
- Montagematerial (2 Schrauben und 2 Dubel)
Bedienungsanleitung mit Sicherheitshinweisen
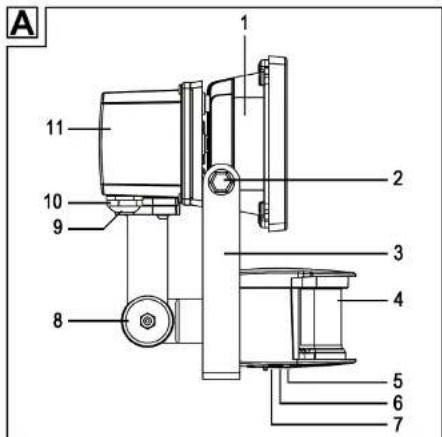
These Bedienungsanleitung ist mit einem ausklappbaren Umschlag versehen. Auf der Innenseite des Umschlags ist der LED-Strahler mit einer Bezifferung abgebildet. Die Ziffern haben folgende Bedeutung:
1 LED-Strahler
2 Schraube
3 Montagebügel
4 Bewegungsmelder
5 Regler LUX
6 Regler SENS
7 Regler TIME
8 Einstellgelenk mit Feststellschraube
9 Kabeldurchführung
10 Kabelverschraubung
11 Anschlussdose
12 Stromkabel (nicht im Lieferumfang / Hausanschluss)
13 Lusterklemme
3. Technische Daten
Strahler:
| Marke: | LIVARNO | LUX |
| Modellbezeichnung: LSLB 10 | A1 | |
| Betriebsspannung: 220 - 240 V | ~, 50/60 Hz | |
| Leistungsaufnahme kompletter LED-Strahler: | ca. 10 W (+/- 8%) | |
| Leistungsaufnahme LED: | ca. 8 W (+/- 8%) | |
| Schutzklasse: I (mit Schutzleiteranschluss) | ||
| Schutzart: | IP44 | (Strahlwasserschutz) |
| Leuchtmittel: | Citizen | LED |
| Gesamtlichtstrom: ca. 900 lm | +/-5% (mit Abdeckung) | |
| Farbtemperatur: ca. 5000 K | (Neutralweiß) | |
| LED-Abstrahlwinkel: | ca. | 120° |
| Ra (Farbwiedergabeindex): | 80 | |
| LED Lebensdauer: ca. 20000 | Stunden | |
| Betriebslage: senkrecht - Strehler oben, Bewegungsmelder unter | ||
| max. projizierte Lichtfläche: ca. | 30m² bei Montage in ca. 2m Höhe | |
| Abmessungen (B × H × T): ca. | 11,5 × 16,1 × 16,5 cm (mit Bügel) | |
| Gewicht: ca. 600 g | ||
| Geprüfte Sicherheit: | DEKRA | geprüftesSicherheit |
Bewegungsmelder:
| Erfassungswinkel Sensor: max. | 180° |
| Erfassungsreichweite: max. | 12 m (Erfassungsempfindlichkeit über Drehregler einstellbar) |
| Lichtempfindlichkeit: | über Drehregler einstellbar |
| Schwenkbar (mechanisch): | ca. 150° horizontal / ca. 80° vertical |
| Leuchtdauer: | ca. 10 Sek +/- 5 Sek bis 4 Min +/- 1,5 Min |
Änderungen der technischen Daten sowie des Designs können ohne Ankündigung erfolgen.
4. Sicherheitshinweise
Vor der ersten Verwendung des LED-Strahlers lessen Sieitte die folgenden Anweisungen genau durch und beachten Sie alle Warnhinweise, selbst wenn Ihnen der Umgang mit elektronischen Geräten vertraut ist. Bewahren Sie diese Bedienungsanleitung sorgfältig als zukünftige Referenz auf. Wenn Sie das Gerät verkaufen oder weitergeben, handigen Sie unbedingt auch diese Bedienungsanleitung aus.

Jede zersprungene Schutzabdeckung ist zu ersetzen.
Der LED-Strahler hat einen

Schutzleiteranschluss. Der
Schutzleiter (gelb/grün) muss an die gekennzeichne Klemme angeschlossen werden.
WARNING! Dieses Symbol

kennzeichnet wichtige Hinweise für den sicheren Betrieb des LED-Strahlers und zum Schutz des Anwenders.

GEFAHR! Dieses Symbol warnt vor gefährlicher elektrischer Spannung!

Elektrische Geräte gehören nicht in Kinderhände. Lassen Sie Kinder niemals unbeaufsichtigt elektrische Geräte benutzen. Kinder konnen mögliche Gefahren nicht immer richtig erkennen.
Halten Sie auch die Verpackungsfolien von Kindern fern. Es besteht Erstickungsgefahr.
A
Falls Sie Rauchentwicklung, ungewöhnliche Gerausche oder Gerüche feststellen, schalten Sie den LED-Strahler(sofort aus. In diesen Fällen darf das Gerät nicht weiter verwendet werden, bevor eine Überprüfung durch einen Fachmann durchgeführt wurde. Atmen Sie keinesfalls Rauch aus einem möglichen Gerätebrand ein. Sollten Sie dennoch Rauch eingeatmeth haben, suchen Sie einen Arzt auf. Das Einatmen von Rauch kann gesundheitschädlich sein.
A
Das Gehäuse des LED-Strahlersarf nicht beschädigt werden. Bei beschädigtem GehäusebestehtGefahr durch einen elektrischen Schlag.
A
Öffnen Sie niemals das Gehäuse des LED-Strahlers, da dieser keine zu wartenden Teile enthalt. Bei geöffnetem Gehäuse besteht Gefahr durch einen elektrischen Schlag.
A
Es dürfen keine Gegenstände an den LED-Strahler gehängt werden. Das Gehäuse ist nicht zum Tragen von Lasten geeignet. Andernfalls konnte der LED-Strahler beschädigt werden.
A
Benutzen Sie keinesfalls optische Instrumente, wie zum Beispiel ein Vergroßerungsglas, um direkt in den
Lichtstrahl zu schauen. Dies kann zu Augenschäden führen. Bei dem Verdacht auf Augenschäden suchen Sie einen Arzt auf.

Achtung: In der Leuchte und an der Lichtquelle konnen gefährliche elektrische Spannungen anstehen und eine akute Gefahr für Personen darstellen.
5. Urheberrecht
Alle Inhalte dieser Bedienungsanleitung unterliegen dem Urheberrecht und werden dem Leser ausschließlich als Informationsquelle bereitgestellt. Jegliches Kopieren oder Vervielfältigen von Daten und Informationen ist ohne ausdrückliche und schriftliche Genehmigung durch den Autor verboten. Dies betriftt auch die gewerbliche Nutzung der Inhalte und Daten. Text und Abbildungen entsprechen dem technischen Stand bei Drucklegung. Änderungen vorbehalten.
6. Vor der Inbetriebnahme
Entnehmen Sie den LED-Strahler und das Montagematerial aus der Verpackung.
Prufen Sie den LED-Strahler auf Beschädigungen. Bei Beschädigungen darf der LED-Strahler nicht im Betrieb genommen werden.
6.1. Montage

Die Montagearf nur von einer autorisierten Elektrofachkraft durchgefuhrt werden!

Der Stromkreis muss während der Montage abgeschaltet sein!

Verwenden Sie geeignetes Werkzeug zur Montage.

Achten Sie beim Bohren der Bohrlocher darauf, dass keine in der Wand liegenden Leitungen beschädigt werden.

Verwenden Sie zum Beispiel ein Stromkabel (12) mit der Bezeichnung H05RN-F.
- Losen Sie den Montagebügel (3) vom LED-Strahler. Entfernen Sie dazu rechts und links am Montagebügel (3) die Schrauben (2) und die dazugehörigen Federringe und Unterlegscheiben.
- Nutzen Sie den Montagebügel (3) als Vorlage zum Anzeichnen der zwei äußerten Bohrlicher.
- Bohren Sie nun die zwei Bohrlicher und befestigen Sie den Montagebügel (3) mittels des mitgelieferten Montagematerials (2 Dübel und 2 Schrauben).
- Öffnen Sie die Anschlussdose (11), indem Sie die vier Schrauben an den Ecken der Anschlussdose (11) losen und die Abdeckung abnehmer.
- Losen Sie die Kabelverschraubung (10) und entnehmen Sie die Gummidichtigung.
- Stecken Sie nun die Mutter der Kabelverschraubung (10) und dann die Gummidichtigung mit der flachen Seite zuerst auf das Stromkabel (12).
- Führn Sie das Stromkabel (12) durch die Kabeldurchführung (9).
- Schlieben Sie das Stromkabel (12) mittels der Lüsterklemme (13) an. Achten Sie darauf, dass die einzelnen Adern des Stromkabels (12) korrekt angeschlossen werden.
| Ader | Symbol | Bezeichnung |
| schwarz oder braun L Phase | ||
| blau | N | Neutral |
| gelb/grün | ⓷ | Schutzleiter |
- Schrauben Sie nun das Stromkabel (12) mit der Gummidichtung in der Kabeldurchführung (9) fest, indem Sie die Mutter der Kabelverschraubung (10) wieder aufschauben.
- Verschreiben Sie die Anschlussdose (11), indem Sie die Abdeckung mit den zuvor entfernten vier Schrauben wieder festschrauben. Achten Sie beim Verschreiben der Anschlussdose (11) darauf, dass der Dichtungsring in der Nut liegt. Ansonsten ist der IP-Schutz nicht gewährleistet.
- Befestigen Sie nun den LED-Strahler an dem Montagebügel (3). Verwenden Sie dazu die zuvor entfernten Schrauben (2), Federringe und Unterlegscheiben. Achten Sie darauf, dass sich die Unterlegscheiben zwischen LED-Strahler (1) und Montagebügel (3) befinden. Die Federringe mussen zwischen Schraubenkopf und Montagebügel (3) liegen.
- Schalten Sie den Stromkreis ein.
7. Inbetriebnahme
7.1. Bewegungsmelder ausrichten

Achten Sie darauf, dass im Erfassungsbereich des Bewegungsmelders (4) keine Bewegungen vorkommen, die nicht erfasst werden sollen (z.B. Gehwege, Straßen).

Die Einstellung der Lichtempfindlichkeit des Bewegungsmelders (4) sollen den Sie am besten zu dem Zeitpunkt der Lichtverhältnisse vornehmen, bei welchen der LED-Strahler aktiv werden soll.
- Richten Sie den Bewegungsmelder (4) so aus, dass dieser den gewüchtschen Bereich möglichst gut erfassen kann. Die Sicht darf nicht durch Gegenstände o. ä. befindert werden.
- Sie können den Bewegungsmelder (4) horizontal durch Drehen ausrichten.
- Um den Bewegungsmelder (4) vertikal auszurichten, müssen Sie zuerst die Feststellschraube am Einstellgelenk (8) losen. Behindet sich der Bewegungsmelder (4) in der gewündchten Position, drehen Sie die Feststellschraube am Einstellgelenk (8) wieder fest.
7.2. Leuchtdauer einstellen (TIME)
Über den Regler TIME (7) an der Unterseite des Bewegungsmelders (4) stellen Sie die Leuchtdauer (ca. 10 Sek bis 4 Min) ein. Drehen Sie den Regler TIME (7) im Uhrzeigersinn (Richtung +), um die Leuchtdauer zu verlangern bzw. gegen den Uhrzeigersinn (Richtung -), um die Leuchtdauer zu verkürzen.
7.3. Sensorempfindlichkeit einstellen (SENS)
Über den Regler SENS (6) an der Unterseite des Bewegungsmelders (4) stellen Sie die Sensorempfindlichkeit ein. Drehen Sie den Regler SENS (6) im Uhrzeigersinn (Richtung +), um die Empfindlichkeit zu erhöhen bzw. gegen den Uhrzeigersinn (Richtung -), um die Empfindlichkeit zu verringn. Je higher die Empfindlichkeit,esto greater der Erfassungsbereich (maximal 12 Meter).
7.4. Lichtempfindlichkeit einstellen (LUX)
Über den Regler LUX (5) an der Unterseite des Bewegungsmelders (4) stellen Sie die Lichtempfindlichkeit ein. Hier legen Sie fest, bei welchen Lichtverhältnissen der Dämmerungssensor reagiert und damit der LED-Strahler ein-bzw. ausgeschaltet wird.
Drehen Sie den Regler LUX (5) im Uhrzeigersinn (Richtung), damit der Bewegungsmelder (4) bei helleren Lichtverhältnissen reagiert.
Drehen Sie den Regler LUX (5) gegen den Uhrzeigersinn (Richtung ), reagiert der Bewegungsmelder (4) erst bei dunkleren Lichtverhältnissen.
8. Wartung/Reinigung
8.1.Wartung
Das Leuchtmittel des LED-Strahlers besteht aus einer langlebigen LED. Diese ist nicht auswechselbar und muss nicht gewartet werden.
Die Lichtquelle dieser Leuchte ist nicht ersetzbar; wenn die Lichtquelle ihr Lebensdauerende erreicht hat, ist die gesamte Leuchte zu ersetzen.
8.2. Reinigung

Stellen Sie sicher, dass keine Flüssigkeiten in das Gehäuse eindringen können. Es besteht die Gefahr eines elektrischen Schlages.
Verwenden Sie zur Reinigung des LED-Strahlers ein weiches, trockenes Tuch und keinesfalls Lösungsmittel oder Reiniger, die Kunststoff angreifen. Verwenden Sie bei stärkerer Verschmutzung nur ein leicht angefeuchtetes Tuch.
9. Problemlösung
Das Licht schaltet sich nicht ein
- Der Bewegungsmelder (4) ist nicht richtig ausgerichtet. Korrigieren Sie die Ausrichtung.
- Der elektrische Anschluss ist defekt. Lassen Sie den elektrischen Anschluss von einer Elektrofachkraft prufen.
Das Licht schaltet Schnell ein und aus
- Der Sensor wird durch Fremdlicht oder helle reflektierende Flächen gestört. Entfernen Sie die Fremdlichtquelle, bzw. die störenden Oberflächen.
Das Licht schaltet nicht aus
- Im Erfassungsbereich des Bewegungsmelders (4) befinden sich Personen oder Gegenstände. Entfernen Sie diese.
- Der LED-Strahler bewegt sich im Wind, wodurch der Bewegungsmelder (4) ständig auslõst. Befestigen Sie den LED-Strahler nur an einem stabilen Montageort.
10. Umwelthinweise und Entsorgungsangaben

Wenn these Symbol eines durchgestruchen Abfalleimers auf einem Produkt angebracht ist, unterliegt these Product der europäischen Richtlinie 2012/19/EU. Alle Elektro- und Elektronikaltgeräte müssen getrennt vom Hausmüll über dafür staatlich vorgesehene Stellen entsorgt werden. Auch das Leuchtmittel muss ebenso fachgerecht entsorgt werden.
Das Gerät darf nicht mit dem Haus- oder Sperrmüll entsorgt werden. Informationen zu Sammelplatzzen oder Abholungsterminenethoden Sie über ihre Gemeindeverwaltung oder über ihr örtliches Entsorgungsunternehmen.
Führer Sie auch die Verpackung einer umweltgerechten Entsorgung zu. Kartonagen können bei Altpapiersammlungen oder an öffentlichen Sammelplatzzen zur Wiederverwertung abgegeben werden. Folien und Kunststoffe des Lieferumfangs werden über ihr örtliches Entsorgungsunternehmen eingesammelt und umweltgerecht entsorgt.
11. Konformitätsvermerke

Dieses Gerät entspricht den grundlegenden Anforderungen und den anderen relevanten Vorschriften der EMV-Richtlinie 2014/30/EU, der Richtlinie für Niederspannungsgeräte 2014/35/EU, der ErP-Richtlinie 2009/125/EC sowie der RoHS Richtlinie 2011/65/EU.
Um die vollständige EU-Konformitätserklarung zu erhalten, senden Sie eine E-Mail on folgende E-Mailadresse:
ce@targa.de
12. Hinweise zu Garantie und Serviceabwicklung
Garantie der TARGA GmbH
Sie erhalten auf diesen Gerät 3 Jahre Garantie ab Kaufdatum.itte bewahren Sie den originen Kassenbon als Nachweis für den Kauf auf.itte lessen Sie vor Inbetriebnahme Ihres Produktes die beigeufige Dokumentation. Sollte esomal zu einem Problem kommt, welches auf diese Weise nicht gelöst werden kann, wenden Sie sichitte an unsere Hotline.itte halten Sie fur alle Anfragen die Artikelnummer bzw. wennvorhanden die Seriennummer bereit. Fur den Fall, dass eine Telefonische Lösung nicht möglich ist, wird durch unsere Hotline in Abhängigkeit der Fehlerursache ein weiterführrender Service veranlasst. In der Garantie wird das Produkt bei Material- oder Fabrikationsfehler - nach unserer Wahl - kostenlos repariert oder ersetzt. Mit Reparatur oder Austausch des Produktis beginnt kein neuer Garantiezeitraum. Verbrauchsmaterial wie Batterien, Akkus und Leuchtmittel sind von der Garantie ausgeschlossen.
Ohre gesetzlichen Gewährleistungen gegenüber dem Verkauf bestehen...,
naben dieser Garantie und werden durch diese nicht eingeschränkt.

Service

Telefon: 02921-8913000
E-Mail: service.DE@targa-online.com

Telefon: 01-2676195
E-Mail: service.AT@targa-online.com

Telefon: 044-5510057
E-Mail: service.CH@targa-online.com
IAN:285328

Hersteller
TARGA GmbH
Coesterweg 45
DE-59494 Soest
DEUTSCHLAND
Content
3. Technische gegevens
Armataur:
Notice-Facile