WS3080 - Wetterstation VELLEMAN - Kostenlose Bedienungsanleitung
Finden Sie kostenlos die Bedienungsanleitung des Geräts WS3080 VELLEMAN als PDF.
Questions des utilisateurs sur WS3080 VELLEMAN
0 question sur cet appareil. Repondez a celles que vous connaissez ou posez la votre.
Poser une nouvelle question sur cet appareil
Laden Sie die Anleitung für Ihr Wetterstation kostenlos im PDF-Format! Finden Sie Ihr Handbuch WS3080 - VELLEMAN und nehmen Sie Ihr elektronisches Gerät wieder in die Hand. Auf dieser Seite sind alle Dokumente veröffentlicht, die für die Verwendung Ihres Geräts notwendig sind. WS3080 von der Marke VELLEMAN.
BEDIENUNGSANLEITUNG WS3080 VELLEMAN
BEDIENUNGSPANLEITUNG 55
INSTRUKCJAOBSLUGI 68
MANUAL DO UTILIZADOR 81












USER MANUAL
1. Introduction
9.1 Systemeumvereisten
Besturingsystem:WindowsXP,Vista 7,8
Webbrowser: Internet Explorer 6.0
CPU: Pentium III, 500 MHz
- Geheugen: 128 MB (256 MB aanbevolen)
- Cd-romdrive + vrij USB-poort
BEDIENUNGSCANLEITUNG
1. Einführung
An alle Einwohner der Europäischen Union
Wichtige Umweltinformationen über these Produkt

Dieses Symbol auf dem Produkt oder der Verpackung zeigt an, dass die Entsorgung these Produkte nach seinem Lebenszyklus der Umwelt Schaden zufugen kann. Entsorgen Sie die Einheit (oder verwendeten Batterien) nicht als unsortinges Hausmull; die Einheit oder verwendeten Batterien müssen von einer spezialisierten Firma zwecks Recycling entsorgt werden. Diese Einheit muss an den Handler oder ein örtliches Recycling-Unternehmen returniert werden. Respektieren Sie die örtlichen Umweltvorschriften.
Falls Zweifel bestehen, wenden Sie sich für Entsorgungsrichtlinien an ihre örtliche Behörde.
Wir bedanken uns für den Kauf des WS3080! Lesen Sie diese Bedienungsanleitung vor Inbetriebnahme sorgfältig durch. Überprüfen Sie, ob Transportschäden vorliegen. Soltte dies der Fall sein, verwenden Sie das Gerät nicht und wenden Sie sich an ihren Handler.
2. Sicherheitshinweise

Halten Sie Kinder und Unbefugte vom Gerät fern.
3. Allgemeine Richtlinien
Siehe Velleman® Service- und Qualitätsgarantie am Ende dieser Bedienungsanleitung.
| Verwenden Sie das Gerät nur im Innenbereich. Schützen Sie das Gerät vor Regen und Feuchte. Setzen Sie das Gerät keiner Flüssigkeit wie z.B. Tropf- oder Spritzwasser, aus. | |
| Schützen Sie das Gerät vor Staub. Schützen Sie das Gerät vor extremen Temperaturen. | |
| Vermeiden Sie Erschüttierungen. Vermeiden Sie rohe Gewalt während der Installation und Bedienung des Gerätes. |
- Nehmen Sie das Gerät erst in Betrieb, nachdem Sie sich mit seinen Funktionen vertraut gemacht haben.
- Eigenmächtige Veränderungen sind aus Sicherheitsgründen verboten. Bei Schäden verursacht durch eigenmächtige Änderungen erlischt der Garantieanspruch.
- Verwenden Sie das Gerät nur für Anwendungen beschreiben in dieser Bedienungsanleitung sonst kann diese zu Schäden am Produkt führen und erlischt der Garantieanspruch.
- Bei Schäden, die durch Nichtbeachtung der Bedienungsanleitung verursacht werden, erlischt der Garantieanspruch. Für darauf resultierende Folgeschäden übernimmt der Hersteller keine Haftung.
4. Eigenschaften
- Solarsender
- Pluviometer
- USB-Port für Anschluss an PC (Software mitgeliefert)
- alle Daten der Basisstation und bis 4080 Speicherplätze mit einstellbaren Messintervallen konnen gespeichert und auf PC hochgeladen werden
Anzeige:
Windgeschwindigkeit: mph, m/s, km/Std., Knoten, Beaufort
Windrichtung: Windrose auf LCD-Display
Uhrzeit: funkgesteuert über WWVB-, DCF-Signal
UV-Index
Daten Regenfall: Inch oder mm, 1 Std./24 Std./1 Woch/1 Monat/total seit letzter Rücksetzung
Wettervorhersage: beruht auf Änderungen im Luftdruck
Luftdruck: Hg oder hPa
Innentemperatur: ^ C,^ F
AuBentemperatur: ^ C,^ F
o gefuhlte Temperatur: ^ C, F
Taupunkt: ^ C ^ F
Innen- und Außenluftfeuchte
Alarm: Temperatur, Feuchtigkeit, gefühnte Temperatur, Regenfall, Windgeschwindigkeit, Luftdruck, Sturm
- synchronisierter Empfang
12/24-Stunden-Anzeige
ewiger Kalender
einstellbare Zeitzone
- Uhr mit Alarm
- LED-Hintergrundbeleuchting
- Wandmontage oder eigenständiges Gerät
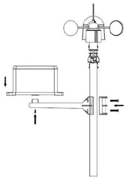
5. Beschreibung
Siehe Abbildungen, Seite 3 und 4 dieser Bedienungsanleitung.
| A | der obere Mastteil | F | Seitenhalter |
| B | derunte Mastteil | G | Pluviometer |
| C | obere Halterung | H | Solarzellenplatte |
| D | Anemometer | I | Schutz für Sensor |
| E | Windfahne + Richtungssensor | J | Thermo-Hygrometer (geschützt) |
| a | MENU | d | nach unten (▼) |
| b | ENTER | e | ALARM ON/OFF (▲) |
| c | nach oben (▲) | f | HISTORY |
| 1 | Wettervorhersage | 10 | Empfangssignal Sender |
| 2 | Luftdruck | 11 | Außenluftfeuchtigkeit |
| 3 | historischer Balkendiagramm für Luftdruck | 12 | Außentemperatur |
| 4 | Datum | 13 | Windrichtung |
| 5 | Speicher | 14 | Windgeschwindigkeit/Böen |
| 6 | Uhrzeit | 15 | UV-Index |
| 7 | Innenluftfeuchtigkeit | 16 | Regenfall |
| 8 | Innentemperatur | 17 | Lichtstärke |
| 9 | Lo-Bat-Anzeige Sender | 18 | Anzeige ferngesteuerte Uhr (RCC) |
6. Die Geräte installieren
- Stecken Sie den unteren Mastteil [B] in den oberen Mastteil [A].
- Befestigen Sie das Anemometer [D] an der Halterung [C] und befestigen Sie mit einem Bolzen und einer Mutter.
- Befestigen Sie die Windfahne [E] an der Halterung [C] und befestigen Sie mit einem Bolzen und einer Mutter.
- Befestigen Sie die Halterung [C] am oberen Teil des oberen Mastteils [A] und befestigen Sie mit einem Bolzen und einer Mutter.
- Befestigen Sie einen Seitenhalter [F] an beiden Masten [A + B] und befestigen Sie das Pluviometer [G] an einer der Halterungen. Befestigen Sie mit einer Schraube.
- Befestigen Sie die Solarzellenplatte [H] offen am Schutz [I] und befestigen Sie mit einem Bolzen und einer Mutter.
- Verdrahtung:
Verbinden Sie das Anemometer [D] mit dem Anschluss der Windfahne [E]. Verbinden Sie die Windfahne [E] mit dem WIND-Anschluss des Thermo-Hygrometers [J]. Verbinden Sie das Pluviometer mit dem RAIN-Anschluss des Thermo-Hygrometers [J].
- Legen Sie 2 wieder aufladbare AA-Batterien (mitgeliefert) in das Thermo-Hygrometer [J] ein. Beachten Sie die Polarität. Verwenden Sie nur wieder aufladbare Batterien!
- Legen Sie ebenfals 3 AA-Batterien in den Empfänger ein. Beachten Sie die Polaritat. Siehe §8.1 Initialisierung für mehr Informationen zum DCF-Signal. Bemerken Sie, dass der Empfänger sich in das Thermo-Hygmeter befindet.
- Schieber Ben Sie das Thermo-Hygrometer [J] in den Schutz [I].
- Befestigen Sie de Thermo-Hygrometer [J] oben an der zweiten Halterung [F] und befestigen Sie mit einer Schraube.
-
Testen Sie die Station bevor Sie diese installmenten.
-
Warten Sie bis die zwei Geräte synchronisieren. Dies kann einige Minuten dauern. Drücken Sie während der Synchronisierung auf keine Taste. Überprüfen Sie nach thisem Verfahren, ob alle Teile korrekt Funktionieren.
- Nach dem Testverfahren konnen Sie die Station mit dem mitgelieferten Befestigungsmaterial am Mast (nicht mitgeliefert) befestigen. Wahlen Sie einen geeigneten Montageort für den Empfänger aus. In der Regel beträgt der Sendebereich etwa 100m , wenn es da keine Hindernisse wie z.B. Gebäude, Bäume oder Fahrzeuge zwischen dem Sender und dem Empfänger gibt. Funkstorungen von PC, Rundfunkgeräte und Fernseher konnen das Signal unterbrechen.
Bemerkungen
- Auf der Windfahne [E] wird die Windrichtung angezeigt ("N" = Nord, "E" = Osten, "S" = Süden und "W" = Western). Beachten Sie, dass diese Anzeigen mit der wirklichen Windrichtung übereinstimmen. Verwenden Sie hierfür einen Kompass (nicht mitgeliefert).
Richten Sie die Solarzellenplatte auf die Sonne bis die Batterien immer wieder aufgeladen werden.
7. Grundeinstellungen/Anwendung
- Scrollen Sie mit MENU [a] durch das Menu, wahren Sie mit ENTER [b].
- Ändern Sie den Wert mit [c] oder [d].
Bemerkungen:
- Halten Sie [c] oder [d] gedrückt, um den Wert schneller zuändern.
- Verlaat das Menu mit HISTORY [f] oder warten Sie etwa 30 Sekunden bis der Empfänger automatisch das Menu verlasst.
- Drücken Sie bei einer normalen Anzeige auf HISTORY [f] um die Hintergrundbeleuchtung 10 Sekunden einzuschalten.
- Der Empfänger können Sie auch über die Software einstehen (siehe §9 PC-Anschluss).
- Siehe nachfolgende Beste für eine Übersicht des Menüs und die Optionen.
| MENÜ | Funktion | Beschreibung |
| Uhrzeit | Kontrast LCD | stellen Sie den Kontrast des Bildschirms von 0~8 (Standard = 5) ein |
| Zeitzone | stellen Sie die passende Zeitzone ein: -1 = GMT / 0 = GMT+1 / 1 = GMT+2 ... (Standard = 0) | |
| Uhrzeitformat | stellen Sie das Uhrzeitformat ein (12/24 Std., Standard = 12 Std.) | |
| manuelle Einstellung | stellen Sie die Uhrzeit und die Minuten manuell ein | |
| Datum | Anzeige | wahlen Sie de gewünschte Anzeige: Tag-Monat-Sekunden (Standard) / Tag-Monat-Wochentag / Uhrzeit Alarm |
| Format Datum/Monat | wahlen Sie zwischen DD-MM oder MM-DD (dM oder Md) | |
| Jahr | stellen Sie das Jahreszahl ein | |
| Monat/Datum | stellen Sie den Monat und das Datum ein | |
| Uhrzeit Alarm | stellen Sie den Alarm ein Schalten Sie den Alarm mit ALARM ON/OFF ein oder aus; Ist der Alarm eingeschaltet, so erscheint | |
| Luftdruck- Übersicht | Grafik | stellen Sie die Grafik ein wenn Sie eine Übersicht der letzten 12 bis 24 Std. haben möchten |
| Luftdruck | Anzeige Luftdruck | wahlen Sie zwischen dem relativen (rel) oder dem absoluten (abs) Luftdruck (Standard = absolut) |
| Einheit Luftdruck | wahlen Sie de Einheit aus (hPa, mmHg oder inHg, Standard = hPa) | |
| relativier Luftdruck | stellen Sie den relativen Luftdruck ein (nur bei ausgewähltem relativen Luftdruck) | |
| Alarm hoch | stellen Sie das Alarmniveau hoch ein drücken Sie auf ALARM ON/OFF um den Alarm ein-/auszuschalten; Ist der Alarm eingeschaltet, so erscheint | |
| Alarm niedrig | stellen Sie das Alarmniveau niedrig ein drücken Sie auf ALARM ON/OFF um den Alarm ein-/auszuschalten; Ist der Alarm eingeschaltet, so erscheint | |
| Max. zusücksetzen | (Luftdruck- [2] und max-Symbol (zwischen [14] und [15]) blinken) | |
| halten Sie ENTER gedrückt, um den Maximum-Wertzurückzusetzen | ||
| Min. zurecksetzen | (Luftdruck- [2] und min-Symbol (zwischen [14] und [15])blinken)halten Sie ENTER gedrückt, um den Minimum-Wertzurückzusetzen | |
| Wettervorhersage | siehe §8.2 für mehr Information | |
| Trend | wahlen Sie den Trend aus | |
| Schwelle Luftdruck | stellen Sie Schwelle zwischen 2 ~ 4 hPa (Standard = 2 hPa) ein | |
| Schwelle Sturm | stellen Sie Schwelle zwischen 3 ~ 9 hPa (Standard = 4 hPa) ein | |
| Innenluft-feuchtigkeit | Alarm hoch | stellen Sie das Alarmniveau hoch eindrücken Sie auf ALARM ON/OFF um den Alarm ein-/auszuschalten;Ist der Alarm eingeschaltet, so erscheint |
| Alarm niedrig | stellen Sie das Alarmniveau niedrig eindrücken Sie auf ALARM ON/OFF um den Alarm ein-/auszuschalten;Ist der Alarm eingeschaltet, so erscheint | |
| Max. zurecksetzen | (Luftfeuchtigkeit- [7] und max-Symbol (zwischen [14] und [15])blinken)halten Sie ENTER gedrückt, um den Maximum-Wertzurückzusetzen | |
| Min. zurecksetzen | (Luftfeuchtigkeit- [7] und min-Symbol (zwischen [14] und [15])blinken)halten Sie ENTER gedrückt, um den Minimum-Wertzurückzusetzen | |
| Innentemperatur | Einheit | wahlen Sie °C oder °F aus |
| Alarm hoch | stellen Sie das Alarmniveau hoch eindrücken Sie auf ALARM ON/OFF um den Alarm ein-/auszuschalten;Ist der Alarm eingeschaltet, so erscheint | |
| Alarm niedrig | stellen Sie das Alarmniveau niedrig eindrücken Sie auf ALARM ON/OFF um den Alarm ein-/auszuschalten;Ist der Alarm eingeschaltet, so erscheint | |
| .Max. zurecksetzen | (Temperatur- [8] und max-Symbol (zwischen [14] und [15])blinken)halten Sie ENTER gedrückt, um de Maximum-Wertzurückzusetzen | |
| Min. zurecksetzen | (Temperatur- [8] en min-Symbol (zwischen [14] und [15])blinken)halten Sie ENTER gedrückt, um de Minimum-Wertzurückzusetzen | |
| Außenluft-feuchtigkeit | Alarm hoch | stellen Sie das Alarmniveau hoch eindrücken Sie auf ALARM ON/OFF um den Alarm ein-/auszuschalten;Ist der Alarm eingeschaltet, so erscheint |
| Alarm niedrig | stellen Sie das Alarmniveau niedrig eindrücken Sie auf ALARM ON/OFF um den Alarm ein-/auszuschalten;Ist der Alarm eingeschaltet, so erscheINT | |
| Max. zurecksetzen | (Luftfeuchtigkeit- [11] und max-Symbol (zwischen [14] und [15])blinken)halten Sie ENTER gedrückt, um de Maximum-Wertzurückzusetzen | |
| Min. zurecksetzen | (Luftfeuchtigkeit- [11] und min-Symbol (zwischen [14] und [15])blinken)halten Sie ENTER gedrückt, um de Minimum-Wertzurückzusetzen | |
| Außentemperatur | Anzeige | wahlen Sie für eine Anzeige der Außentemperatur, der gefühltenzern Temperatur oder des Taupunkts [12] |
| Einheit | wahlen Sie °C oder °F aus | |
| Alarm hoch | stellen Sie das Alarmniveau hoch eindrücken Sie auf ALARM ON/OFF um den Alarm ein-/auszuschalten;Ist der Alarm eingeschaltet, so erscheint | |
| Alarm niedrig | stellen Sie das Alarmniveau niedrig eindrücken Sie auf ALARM ON/OFF um den Alarm ein-/auszuschalten;Istder Alarm eingeschaltet, so erscheint | |
| Max. zürücksetzen | (Temperatur- [12] und max-Symbol (zwischen [14] und [15]) blinken)halten Sie ENTER gedrück, um den Maximum-Wert zürückzusetzen | |
| Min. zürücksetzen | (Temperatur- [12] und min-Symbol (zwischen [14] und [15]) blinken)halten Sie ENTER gedrück, um den Minimum-Wert zürückzusetzen | |
| UV-Index | siehe §8.2 für mehr Information | |
| Alarm hoch | stellen Sie das Alarmniveau hoch ein drücken Sie auf ALARM ON/OFF um den Alarm ein-/auszuschalten; Ist der Alarm eingeschaltet, so erscheint | |
| Alarm niedrig | (UV-Index- [15] und max-Symbol (zwischen [14] und [15]) blinken)halten Sie ENTER gedrück, um den Maximum-Wert zürückzusetzen | |
| Wind | Windgeschwindigkeit | wahlen Sie zwischen der durchschnittlich oder Windstoßgeschwindigkeit (Standard = durchschnittlich) |
| Einheit | wahlen Sie zwischen km/h, mph, m/s, Knoten oder bft (Standard = mph) | |
| Alarm hoch | stellen Sie das Alarmniveau hoch ein drücken Sie auf ALARM ON/OFF um den Alarm ein-/auszuschalten; Ist der Alarm eingeschaltet, so erscheint | |
| Alarmrichtung | wahlen Sie die Alarmrichtung aus drücken Sie auf ALARM ON/OFF um den Alarm ein-/auszuschalten; Ist der Alarm eingeschaltet, so erscheint | |
| Max. zürücksetzen | (Windgeschwindigkeit- [14] und max-Symbol (zwischen [14] und [15]) blinken)halten Sie ENTER gedrück, um den Maximum-Wert zürückzusetzen | |
| Licht | Einheit | wahlen Sie zwischen fc und lux |
| Alarm hoch | stellen Sie das Alarmniveau hoch ein drücken Sie auf ALARM ON/OFF um den Alarm ein-/auszuschalten; Ist der Alarm eingeschaltet, so erscheint | |
| Max. zürücksetzen | (Lichtstärke- [17] und max-Symbol (zwischen [14] und [15]) blinken)halten Sie ENTER gedrück, um de Maximum-Wert zürückzusetzen | |
| Regen | Anzeige | wahlen Sie zwischen 1 Std., 24 Std., 1Woche, 1 Monat und insgesamt |
| Einheit | wahlen Sie zwischen mm und inch (Standard = mm) | |
| Alarm hoch | stellen Sie das Alarmniveau hoch ein drücken Sie auf ALARM ON/OFF um den Alarm ein-/auszuschalten; Ist der Alarm eingeschaltet, so erscheint | |
| Max. zürücksetzen | (Regenfall- [16] und max-Symbol (zwischen [14] und [15]) blinken)halten Sie ENTER gedrück, um de Maximum-Wert zürückzusetzen | |
| alles zürücksetzen | (Regenfall [16], TOTAL und CLE [4] blinken)halten Sie ENTER gedrück, um de TOTAL-Wert zürückzusetzen | |
- Drücken Sie auf HISTORY [f] um den Speicherinhalt anzuzeigen.
- Bemerkung: Die Station speichert die Daten alle 30 Minuten. Das Interval ist nur über die Software einstellbar (siehe §9 PC-Anschluss).
- Scrollen Sie mit [d] und [c] durch den Speicherinhalt.
Bemerkung: Die Station kehrt am Ende des Speichers zur normalen Anzeige zusück. - Drücken Sie auf ENTER [b] um den vollständigen Speicher zu Löschen. CLE [4] und das Speichersymbol [5] blinken. Halten Sie ENTER [b] gedrückt, um zu bestätigen.
Bemerkung: Siehe §9 PC-Anschluss wenn Sie den Speicherinhalt auf ihren PC kopieren möchten.
8. Zusätzliche Informationen
8.1 Initialisieren
RF-Anschluss
- Nach dem Einlagen der Batterien sicht die Basisstation während 144 Sekunden Kontakt mit dem Sensor. Nach Verbindung empfängt diese alle 48 Sekunden die Temperatur-, Luftfeuchtigkeit-, Wind- und Regendaten, und alle 60 Sekunden die Lichtstarke. Drücken Sie keine Taste, solange die Daten nicht im Display erschienen.
- Misslingt die Verbindung, dann erscheint '----' [11, 12] im Display und versucht die Station alle 144 Sekunden wieder.
- Halten Sie [d] gedrückt, um das Funksignal manuell zuuchen.
DCF-Anschluss
- Nach dem Einlagen der Batterien sendet das Thermo-Hygrometer (Sensor) während 24 Sekunden die Wetterdaten.
Danachucht es das DCF-Signal während etwa 5 Minuten. Findet das Gerät kein Signal, dann sicht es jeder Stunde wieder, bis es das Signal gefunden hat. Inzwischen konnen Sie die Uhrzeit manuell einstellen (siehe: §7).
Das empfangene DCF-Signal wird zur Basisstation geschickt und die Uhrzeit wird automatisch geregelt; die RCC-Anzeige [18] erscheint im Display. Bemerkungen: - Stellen Sie ihre Zeitzone manuell ein, so dass die automatische Regelung korrekt geschieht.
Die Station empfängt dart Signal am besten zwischen 00:00 Std. und 06:00 Std.
Das DCF-Signal

Die WS3080 empfängt Radiosignale von der Atomuhr in Mainflingen.
These DCF77-Signale auf Langwelle (77,5 kHz) enthalten Zeit- und Datuminformation basiert auf Atomuhrn. Für mehr Information, siehe www.ptb.de (PTB = Physikalisch- Technische Bundesanstalt).
Die WS3080 synchronisiert beim Empfang des DCF-Signal, die angezeigte Uhrzeit automatisch mit der Atomuhr.
Das Radiosignal ist einlich im Innenbereich zu empfangen. Der Empfang kann aber schwach werden wenn es Beton und Metall gibt. Installieren Sie die Uhr deshalb weder in Kellern noch innerhalb eines Metallkäfigs. Der Beste Montageort im Büro oder Appartement, ist kein einem Fenster. Vermeiden Sie Denn auch eine Installation in der Höhe von magnetischen Feldern oder Geräten, die ein elektrisches Rauschen erzeugen (z.B. Motor).






8.2 Wettervorhersage
Übersicht der Symbole
| sonnig | ||||
| teilweise wolkig | ||||
| bewölkt | ||||
| Regen möglich | ||||
| Schnee möglich | ||||
| Sturm | ||||
| Schneesturm | ||||
| klare Nacht | ||||
| Nacht:bewölkt | ||||
Die Luftdruckempfindlichkeit
Die Empfindlichkeit kann von 2 bis 4 hPa (Standard 2 hPa) eingestellt werden. Stellen Sie eine niedrigere Empfindlichkeit (4 hPa) ein für ein Gebiet wo der Luftdruck sich vieländert. Stellen Sie eine höhere Empfindlichkeit (2 hPa) ein für ein Gebiet mit einem stabileren Luftdruck.
Die Sturmschwelle einstellen
Bei einer drastischen Änderung des Luftdrucks blinken die Wettersymbole (Regen und Wolken) um ein heraufziehendes Sturmwetter anzuzeigen. Genauso wie die Luftdruckempfindlichkeit ist die Sturmschwelle von 3 bis 9 hPa einstellbar (Standard 4 hPa). Bei einem abnehmenden Luftdruck größter als die eingestellte Schwelle blinken die Wolken-, Regen- und Trendsymbole während 3 Stunden, um den Sturmalarm anzuzeigen.
8.3 UV-Index
| UV-Index | UV-Intensität | Schutzmaßnahmen | Code |
| 0 ~ 2 | schwach | nicht erforderlich | Grün |
| 3 ~ 5 | mittel | sehr empfehlenswert | Gelb |
| 6 ~ 7 | hoch | erforderlich | Orange |
| 8 ~ 10 | sehr hoch | unbedingt erforderlich | Rot |
| 11+ | extrem | ein Muss | Violett |
Bemerkung: Die Beste (siehe oben) gilt fur hellhautige Menschen und dient nur zur Verdeutlichung. Kinder und Personen mit einem empfindlichen Hauttyp konnen schon bei einer niedrigen UV-Intensitat Gefahr laufen.
8.4 Werkseinstellungen zusückstellen
Halten Sie [c] lang gedrückt, um die Werkseinstellungen zurückzusetzen. Der Speicher wird vollig gelöscht.
9. PC-Anschluss
-
Der Empfänger kann bis 4.080 Daten (mit Datum und Uhrzeit) speichern. Diese Speicher ist vom Typ EEPROM und wird bei Stromunterbrechung (z.B. Batteriewechsel) nicht gelöscht. Bei vollem Speicher werden die altesten Daten überschieden.
-
These Daten können gelesen, kopiert, gespeichert und abgedruckt werden, indem Sie den Empfänger mit dem PC verbinden.
9.1 Systemvoraussetzungen
- Betriebssystem: Windows XP, Vista®, 7, 8
Webbrowser: Internet Explorer 6.0 - Prozessor: Pentium III, 500 MHz
- Speicher: 128MB (256MB empfohlen)
CD-ROM-Laufwerk + freier USB-Port
9.2 Die Software installieren
- Befestigen Sie die mitgelieferte CD-ROM in das CD-ROM-Laufwerk des PC. Verbinden Sie den Empfänger noch nicht mit dem PC.
Klichen Sie eventuell zweimal auf setup.exe und befolgen Sie die Anweisungen im Bildschirm.
Bemerkung: Beachten Sie, dass Sie mit einem Administratorpasswort eingeloggt sind.
Wahlen Sie ihre Sprache und klichen Sie auf NEXT.
- Klichen Sie auf NEXT und wahren Sie den Zielordner aus.
- Klichen Sie auf NEXT. Die Software wird automatisch installiert.
- Klichen Sie auf OK um die Installation zu beenden.
- Starten Sie den Rechner neu.
- Verbinden Sie den Empfänger über das mitgelieferte USB-Kabel mit dem PC.
9.3 Die Software verwenden
- Beachten Sie, dass Sie zuerst die genaue Uhrzeit auf PC und Empfänger eingestellt haben.
- Gehen Sie zu Start > All Programs > EasyWeatherPlus um die Software zu starten. Klichen Sie danach auf das EasyWeatherPlus-Symbol.
Bemerkung: Beachten Sie, dass Sie mit einem Administratorpasswort eingeloggt sind.

- Der PC startet mit dem Herunterlagen aller Daten auf die Wetterstation. Dies kann einige Minuten dauern. Stellen Sie die Station nicht während these Verfahrens ein, um Datenverlust zu vermeiden.
Setup
- Ändern Sie alle Einstellungen der Basisstation und schalten Sie alle Alarme über diesen Menu ein.
- Klichen Sie auf SAVE um die Änderungen zu speichern und diese zur Basisstation zu setzen.
Bemerkung: Der Intervalbereich beträgt 5 bis 240 Minuten.


- Stellen Sie alle Alarmdaten über these Menü ein.
- Klichen Sie auf SAVE um die Änderungen zu speichern und diese zur Basisstation zu senden.


Minimum- und Maximum-Werte
- Überprüfen und setzen Sie alle Minimum- und Maximum-Werte zurück.
Gewünschte Dateneinträge wahlen. Es dauert etwa 1 Minute bis die Aktualisierung wirksam wird.


Sprache wahlen
- Verwenden Sie diesen Menu, um ihre Sprache zu wahlen.
Gewünschte Sprache wahlen. Es dauert etwa 1 Minute bis die Aktualisierung wirksam wird.


Display history
- Überprüfen Sie die Übersicht über diesen Menu.
- Stellen Sie das Intervall links offen ein (1 Stunde, 24 Stunden, 1 WOche, 1 Monat oder user defined).
- Klichen Sie auf Suchen, um die Daten zuuchen.


Graph Data
Überprüfen Sie die grafische Vorstellung der Daten über these Menu.
Gewünschte Daten in der Drop-Down-Liste wahlen.
- Stellen Sie das Intervall links oben ein (1 Stunde, 24 Stunden, 1Woche, 1 Monat oder user defined).
- Klichen Sie auf EXPORT um die Grafik als eine JPEG-Datei zu speichern.


Datum hochladen
Verwenden Sie diese Menu, um Daten hochzuladen.
- Registrieren Sie sich bei wunderground.com, um Daten auf die Website hochzuladen.
- Wahlen Sie Kunde, um Daten auf ihre eigene Websites hochzuladen.

Hilfe-Option
Mit dieser Option konnen Sie die Version der EasyWeatherPlus-Software anzeigen.

Bemerkung
Gehen Sie vor wie folgt, wenn die Grafik nicht korrekt angezeigt wird:
- Gehen Sie zu EasyWeatherPlus.exe.
- Offnen Sie eine neue Textdatei (mit Notepad oder WordPad) und geben Sie ein: regsvr32 easyweatherplus.ocx
- Speichern Sie die Datei als reg_graph.bat.
- Klichen Sie zweimal auf den Dateinamen, um den grafischen Treiber zurückzusetzen.

10. Technische Daten
| Stromversorgung | Basisstation | 3x 1,5 V AA-Batterien (LR6C, nicht mitgeliefert), oder 6VDC-Netzteil (nicht mitgeliefert) |
| Sender | 2x wieder aufladbare 1,5 V AA-Batterien (mitgeliefert) | |
| Abmessungen (Basisstation) | 165 x 148 x 27 mm | |
| Bereich Innentemperatur | 0°C ~ 50°C | |
| Bereich Außentemperatur | -40°C ~ 65°C | |
| Genauigkeit Temperaturanzeige | ± 1,0°C | |
| Bereich Luftfeuchtigkeit | 1% RH-99% | |
| Genauigkeit Luftfeuchtigkeit | ± 5% unter -20°C bis 65°C & 20%-98% | |
| Bereich Windgeschwindigkeit | 0 ~ 50,0 m/s | |
| Genauigkeit Windgeschwindigkeit | ± 1 m/s (Windgeschwindigkeit <10 m/s), ± 10% (Windgeschwindigkeit >10 m/s) | |
WS3080
| Bereich Regenfall | 0 ~ 99,999 mm |
| Genauigkeit Regenfall | ± 1,5 mm |
Verwenden Sie diesen Gerät nur mit originellen Zubehörteilen. Velleman NV übernimmt keine Haftung für Schaden oder Verletzungen bei (falscher) Anwendung these Gerätes. Für mehr Informationen zu dieser Produkt und die neueste Version dieser Bedienungsanleitung, siehe www. velleman.eu. Alle Änderungen ohne vorherige Ankündigung vorbehalten.
Alle eingetragenen Warenzeichen und Handelsnamen sind Eigentum Ihrer jeweiligen Inhaber und dienen nur zur Verdeutlichung der Kompatibilität unserer Produkte mit den Produkten verschiedener Hersteller. Windows, Windows XP, Windows 2000, Windows Vista, Windows Aero, Windows 7, Windows 8, Windows Mobile, Windows Server sind eingetragene Warenzeichen von Microsoft Corporation in den VS und anderen Ländern.
URHEBERRECHT
Velleman NV besitz das Urheberrecht für diese Bedienungsanleitung. Alle weltweiten Rechte vorbehalten. Ohne vorherige schriftliche Genehmigung des Urhebers ist es nicht gestattet, diese Bedienungsanleitung ganz oder in Teilen zu reproduzieren, zu kopieren, zu übersetzen, zu bearbeiten oder zu speichern.
INSTRUKCJA OBSŁUGI
1. Wstep
Erklärern voll verantwortlich dass nachfolgenden Produkt :
auf das sich diese Erklärung bezieht, den grundlegenden Anforderungen und anderen relevanten Vereinbarungen der R&TTE-Richtlinie (1999/5/EC) entspricht.
cumple los requisitos esenciales y las otherestipulaciones relevantes de la Directiva R&TTE (1999/5/EC).
cumpre com os requisitos essenciais e quaisquer otheras disposicaores relevantes as Directiva R&TTE (1999/5/EC).
stanowiatcym przedmiot niniejszej deklaraci jist jest zgodny 己 zasadniczymi wymaganiami oraz pozialymi
stosownymi postanowieniami R&TTE (1999/5/EC).
Die technische Dokumentation zu den oben gennanten Produkten wird geführt bei:
Velleman® Service- und Qualitätsgarantie
Seit der Gründung in 1972 hat Vellemann ^3 sehr viel Erfahrung als Verteilner in der Elektronikweit in über 85 Ländern aufeobaut.
Alle Produkte entsprechen den strengen Qualitätsforderungen und gesetzlichen Anforderungen in der EU. Um die Qualität zu gewährleisten werden unsere Produkte regelmäßiger einer zusätzlichen Qualitätskontrolle unterworfen, sowoh von unserer eigenen Qualitätsbeteiligung als auch von externen spezialisierten Organisationen. Sollten, trotz aller Vorsichtsmaßnahmen, Probleme auftreten, denen Sieitte die Garantie in Anspruch (siehe Garantiebedingungen).
Allgemeine Garantiebedingungen in Bezug auf Konsumgüter (für die Europäische Union):
-
Alle Produkte haben für Material- oder Herstellungsfehler eine Garantieperiode von 24 Monaten ab Verkaufsdatum.
-
Wenn die Klage berechtigt ist und falls eine kostenlose Reparatur oder ein Austausch des Gerätes unmäßlich ist, oder wenn die Kosten dazu
unverhältnismäß sind, kann Velleman® sich darüber entscheiden,这点es Produkt durch ein gleiches Produkt zu ersehen oder die Kaufsumme ganz oder teilweise zurückzuzahlen. In dieser Fall erhalten Sie ein Ersatzprodukt oder eine Rückzahlung im Werte von 100% der Kaufsumme im Falle eines Defektes bis zu 1 Jahr nach Kauf oder Lieferung, oder sie gekommen ein Ersatzprodukt im Werte von 50% der Kaufsumme oder eine Rückzahlung im Werte von 50% im Falle eines Defektes im zweiten Jahr.
Von der Garantie ausgeschlossen sind:
-
alle direkten oder indirekten Schäden, die nach Lieferung am Gerät und durch das Gerät verursacht werden (z.B. Oxidation, Stöbe, Fall, Staub, Schmutz, Feuchigkeit, ...,), sowie auch der Inhalt (z.B. Datenverlust), Entscheidigung für eventuellen Gewinnausfall.
-
Verbrauchsguter, Teile oder Zubehörteile, die durch normalen Gebrauch dem Verschieb ausgesetzt sind, wie z. B. Batterien (nicht nur aufladbare, sondern auch nicht aufladbare, eingebaute oder ersetzbare), Lampen, Gummiteile, Treibriemüw, unbeschränkte Stücke).
-
Schaden verursacht durch Brandschaden, Wasserschaden, Blitz, Unfälle, Naturkatastrophen, usw.
-
Schäden verursacht durch abschnittliche, nachläufige oder unsachgemäß Anwendung, schlechte Wartung, zweckent Fremdete Anwendung oder
Nichtbeachtung von Benutzerhinweisen in der Bedienungsanleitung.
-
Schaden infolge einer kommernziellen, professionellen oder kollektiven Anwendung des Gerätes (bei gewerblicher Anwendung wird die Garantiepiode auf 6 Monate zurückgeführ),
-
Schaden verursacht durch eine unsachgemäße Verpackung und unsachgemäßen Transport des Gerätes.
-
alle Schaden verursicht durch unautorisierte Änderungen, Reparaturen oder Modifikationen, die von einem Dritten ohne Erlaubnis von Velleman® vorgenommen werden.
-
Im Fall einer Reparatur, wenden Sie sich an ihren Velleman®-Verteiler. Legen Sie das Produktordnungsgemäß verpackt (vorzugsweise die Originalverpackung) und mit dem Original-Kaufbeleg vor. Fügen Sie eine deutliche Fehlerbuchgebung hinzu.
-
Hinweis: Um Kosten und Zeit zu sparen, lessen Sie die Bedienungsanleitung nochmals und überprüften Sie, ob es kein auf die Hand liegenden Grund gibt, ehe sie das Gerät zur Reparatur zurückschicken. Stellt sich bei der Überprüfung des Gerätes heraus, dass kein Geräteschaden vorliegt, konnte den Kunden eine Untersuchungspauschale berechnet.
-
Für Reparaturen nach Ablauf der Garantiefrist werden Transportkosten berechnet.
Jede kommerzielle Garantie lasst these Rechte unberuht.
EinfachAnleitung