Pico WiFi - Radio REVO - Kostenlose Bedienungsanleitung
Finden Sie kostenlos die Bedienungsanleitung des Geräts Pico WiFi REVO als PDF.
Benutzerfragen zu Pico WiFi REVO
0 Frage zu diesem Gerät. Beantworten Sie die, die Sie kennen, oder stellen Sie Ihre eigene.
Eine neue Frage zu diesem Gerät stellen
Laden Sie die Anleitung für Ihr Radio kostenlos im PDF-Format! Finden Sie Ihr Handbuch Pico WiFi - REVO und nehmen Sie Ihr elektronisches Gerät wieder in die Hand. Auf dieser Seite sind alle Dokumente veröffentlicht, die für die Verwendung Ihres Geräts notwendig sind. Pico WiFi von der Marke REVO.
BEDIENUNGSANLEITUNG Pico WiFi REVO
Copyright und Danksagungen
Copyright © 2006 Revo Technologies Ltd.
Alle Rechte vorbehalten
Revo Technologies Ltd
Das Inox Gebäude
Caldwellside
Lanark
Scotland
United Kingdom
ML11 7SR
Tel. 01555 666 161
Fax. 01555 66 33 44
Email. enquiries@revo.co.uk
Website: www.revo.co.uk
Die Informationen in dieser Bedienungsanleitung gilt als safer zum Zeitpunkt der Veröffentlichung. Wir haben eine kontinuierliche Entwicklungspolitik, d.h. die Information wird laufend angepasst um Veränderungen zu berücksichtigten.
RevoTM, PicoTM und M-PortTM sind Handelsmarken oder registrierte Handelsmarken von Revo Technologies Ltd.
iPod® ist eine registrierte Handelsmarke von Apple Computer, Inc.
Sicherheitshinweis

Dieses Radio nicht in der Höhe von Wasser gebrauchen. Verhindern Sie das keine Objekte und Flüssigkeiten in das Produkt gelangen. Entfernen Sie keine Schrauben oder Kleinteile. Benützen Sie nur das mitgelieferte Netzeil.
EEC: Dieses Produkt wurde konform mit den EU Bedürfnissen konzipiert und getestet undträgt eine CE-Marke.




Technische Unterstützung
Sollten Sie irgendwelche Schwierigkeiten mit der Bedienung von Ihrrem Revo PicoTM vorfinden, oder sollen den Sie feststellen, dass es zeitweise falsch Funktioniert, dan nkontaktieren Sieitte unseren technischen Unterhaltsabteilung unter der Nummer: 043 355 01 55 Fa. Pocketmedia AG, Im Schossacher 12, 8600 Dubendorf
Andernfalls, Email support@revo.co.uk [in E], support@pocketmedia.ch oder besuchen Sie unsere technische Unterstützungsbteilung auf der Website: www.pocketmedia.ch
Inhalt
■ Willkommen zu Revo! 4
Vorteile von DAB Radio 4
Pico™ Übersicht und Hauptmerkmale 4
Garantie 4
Garantie Registration 4
Bedienung und Verbindungen 5
Einschalten von PicoTM 5
DAB Operation 6
Anzeige Modusändern 7
Anzeige von Verbindungssträke 7
Suchen und hinzufugen
von neuen Stationen 7
Entfernen von "nicht
vorhandenen" Stationen 7
■ Menu Optionen 8
Stationsreihenfolgeändern 8
Manuelles Einstellen 9
Einstellen DRC 9
Anzeige von Software Version 9
FM Bedienung 10
Station presets 10
■ M-PortTM 11
■ Aufladen + Wetterbeständigkeitshaltung 12
PicoTM Batterie Information 12
PicoTM aufladen 12
Charge Management Circuit 12
Pico's Splashproof Design 12
Wie Wasserfest ist PicoTM? 12
Störungen und mögliche Ursachen 13
Technische Spezifikationen 14
■ Zubehor und Ersatzteile 15
Willkommen zu Revo DAB
Danke, dass Sie Pico™ DAB Digital Radio gekauft haben, wir sind überzeugt dass es Ihnen jahrelange Freude und zuverlüssige Dienstleistung gewähren wird.
These Bedienungsanleitung ist so konzipiert, dass Sie rasch den Einstieg und das Zuhören von DAB Digitalradio erfahren. Gleichzeitig gibt Sie Ihnen Anleitung zu den komplexen Varianten theses Produkts und Information zu Sicherheit, Garantie und Registrierung.
Vorteile von DAB Radio
■ Klare, Inteferenzfrei, digitaler Ton
Mehr Radiostationen, mehr Spass
Keine Frenquenzen, wahlen nach
Stationsname
Text Information auf dem LCD Bildschirm
Pico™ Übersicht
Pico™ ist das überall verfügbar DAB Digitalradio.
PicoTM kombiniert hochqualitatives DAB- und FM- Radioempfang in einem spritzfesten Gehäuse mit der Verfügbarkeit der internen Batterien.
Pico™ kann auch als hochqualitatives Lautsprechersystem für ihren iPod™ (oder anderen MP3 Spieler oder andere Quellen benutzt werden).
Verbinden Sie einfach Ihr Gerät mit Pico's M-PortTM unter Benützung des mitgelieferten Audiokabels.
Garantie
Revo Technologies Ltd garantiert dem Käufer, dass das Produkt frei von Teilen- und Herstellungs-defekten im ordentlichen Gebrauch während 1 Jahre des Kaufdatumssin wird.
These Garantie ist nicht verfügbar im Fall von Unfallproblemen, wo das Gehäuse entfernt worden ist, Nachlüssigkeit, Modifikation oder unsachgemassen Gebrauch.
Sollten Sie Probleme mit diesen Produkt vorfinden,kontaktieren Sie den Handler oder andernfalls siehe Seite 2 dieser Richtlinie für technische Unterhaltdetails. Garantieregistrierung
Es gilt die Garantiebestimmung gemäss Quittung
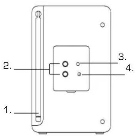
Bedienung


- Teleskopische Antenne
- Stereo-Ausgang
- 3.5mm Kopfhorerbuchse
- DC Power-Buchse
Einschalten von Pico™
Ihr PicoTM Radio kann vom Stromnetz mit dem mitgelieferten Adapter oder von den internen Batterien Versorgungen betrieben werden.
Um vom Netz betrieben zu werden, stecken Sie den Adapter an das Stromnetz am Ende des PicoTM. Eine Betätigung der Taste schaltet das PicoTM ein.
Benützen Sie nur den mitgelieferten Adapter. Ersatzteile können bei ihrem Handler e ww gekauft werden, oder andernfalls kontaktieren Sie uns unter 01555 666 161.
DAB Bedienung
■Fahren Sie die Teleskopantenne aus, welche sich auf der Hinterseite von PicoTM befindet.
Drucken Sie de ON/OFF Knopf, um Ihr Radio einszuschalten
Falls Sie zum ersten Mal PicoTM benützen, drücken und halten Sie den SCAN-Knopf. Pico™ wird nun nach DAB-Stationen in Ihrer Höhe suchen und diese abspeichern.
Sobald die Suche nach Stationen abgeschlossen ist, werden die Stationen numerisch und in alphabetischer Reihenfolge angezeigt. Die erstes Station in der Listewirg gewählt.
Falls kein DAB-Signal gefunden wurde,
wechseln Sie den Standort des Radios.
Andernfalls besuchen Sie
http://www.dab-digitalradio.ch, ob DAB
bei Ohnen verfügbar ist
Die erstige Linie von Pico's LCD Anzeige zeigt die momentan ausgewählte Station. Drehen sie Pico's Drehrad, um die verfügbarbaren Stationen abzulaufen. Drucken Sie das Drehrad, um die ausgewählte Station zu Selectieren.

Das Sichtanzeigemodusändern
PicoTM hat sieben verschiedene Sichtmodi.
Drucken Sie den INFO/SCAN-Knopf, um jeder Modus abzulaufen.
These Sichtmodi sind in der folgenden Tabelle erlautert:
| Sichtanzeige Optionen | Beispiel |
| Normale Sichtanzeige mit Text rolten | BBC Radio 1 calls cost max |
| Art der Austrahlung | BBC Radio 1 Pop Music |
| Der Rundfunksprecher | BBC Radio 1 BBC National DAB |
| Zeit und Datum | BBC Radio 1 12:34 22-02-2005 |
| Stationsname und Freqenz | BBC Radio 1 12B 225.64MHz |
| Datenrate und Stereo/Mono | BBC Radio 1 128kbps Stereo |
| Signalstärke | BBC Radio 1 Sig strength 96 |
Die Signalstarke anzeigen
Drucken Sie das Drehrad..
Die Sichtanzeige zeigt mit dem Signalbalken die Stärke der ausgewählten Station an:

Die Anzeige auf dem Signalbalken zeigt die minimal erforderliche Stärke an.
Stationen mit einer Signalstarke unterhalb dieser Niveau liefern keinen konstanten Audiofluss.
Suchen und hinzufugen von neuen Stationen
Im Laufe der Zeit stehen Ohnen neue Stationen in ihrer Umgebung zur Verfügung. Um sie ihren Stationen hinzufugen, drücken und halten Sie einfach den SCAN-Knopf für mindestens zwei Sekunden.
Die 'fehlenden' Stationen entfernen
Um die 'fehlenden' Stationen von der Pico Stationsliste zu entfernen, z.B. diese welche ein ?' vor dem Stationsnamen anzeigen. siehe 'Menu-Optionen' auf Seite 8
Menu-Optionen
PicoTM hat eine Funktionen, welche mit dem MENU-Knopf zugegriffen werden.
Die Stationsreihenfolge ändern
Drucken Sie MENU, drehen Sie das Pico Drehrad solange, bis der Name der Option angezeigt wird.

or SELECT

tion order
- Drucken Sie das Drehrad, um ihre Wahl zu selektieren.
Festlegen in welcher Reihenfolge die Stationen angezeigt werden

Sahlen Sie die Station-Order Option.
Die erstige Linie der Anzeige zeigt die ausgewählte Stationsreihenfolge und erlaubtes Ihnen, diese zuändern.
Drehen Sie das Drehrad, um zwischen den verschiedenen Stationsreihenfolgen zu wechseln.
Alphanumeric
Fav station
Drucken Sie das Drehrad, um die momentan ausgewählte Option zu wahlen.
Die folgende Tabelle beschreibt die verfügbaren Optionen unter dem Menu 'Station Order':
Beschreibung der Stationsreihenfolge
Fav station Fuhrt die meist gewählten Stationen auf.
Alphanumeric Zeigt alle Stationen in alphabetischer Reihenfolge.
Active station Fuhrt die aktiven Stationen [welche momentan ausgestrahlt werden] vor den Inaktiven.
Prune stations Entfernt die inaktiven Stationen von der Stationsliste.
Wie manuell eine Station wahlen
■ Selektieren Sie die Manual-Tune Option.
Die Anzeige zeigt die aktuelle Stations nummer und Freqenz:
12C
227.36MHz
- Drucken Sie oder , um zwischen den Stationen zu wechseln und drucken Sie SELECT, um die derzeitige Station zu wahlen.
Falls eine Station mit der entsprechenden Stationsnummer und Frequenz vorhanden ist, zeigt die Anzeige den Stationsnamen und das Einstellungsmeter die Signalstarke.

国国国
12B
BBC DAB
Dynamischer Regelbereiche einstellen
Pico™ umfasst einen dynamischen Regelbereich, welche automatisch die Lautstärke leiser Musik für das Horen in lauter Umgebung erhöht.

DRC
Wahlen Sie die DRC-Value Option.
Die Anzeige zeigt den aktuellen DRC Wert und erlaubt Ohnen, diesen abzustimmen:
Der DRC Wert kann zwischen folgenden Optionen gewechselt werden:
DRC Beschreibung
DRC O Dynamischer Regelbereich ist ausgeschaltet.
DRC 1/2 Dynamischer Regelbereich ist bei halb normalem Niveau eingestellt.
DRC 1 Dynamischer Regelbereich ist eingestellt; die Voreinstellung ist für laute Umgebung empfehlenswert.
Die Software-Versionsnummer anzeigen
- Drücken Sie den MENU-Knopf und benützen Sie die und Knöpf, um zu SW-VERSION zu blättern.
Die Software-Versionsnummer ist auf der ersten Zeile auf der Anzeige. Sie sollen在这种, falls Sie den Revo Technischen Dienst kontaktieren, angeben.
FM-Bedienung
Um FM-Radio zu horen, schalten Sie PicoTM ein und drucken Sie den DAB/FM-Knopf.
Falls PicoTM das erstee Mal in FM-Modus ist, wird es am Anfang des FM Frequenzbereichs beginnen. Ansonsten, wird die zuletztgewählte FM-Station, die gehört wurde, selektiert.
Um den FM Frequenzbereich zu durchsuchen, drehen Sie das Pico-Drehrad im Uhrzeiger- oder Gegenahrzeigersinn. Um die aktuelle Station auszuwahlen, drucken Sie das Drehrad.
Um bei 'SEEK' die{nachste aktive Station zuuchen, drucken und halten Sie den SCAN-Knopf.
Stations Voreinstellungen
PicoTM kann fünf FM-Voreinstellungen speichern, aber nur falls sie den optionalen PicoTM infrarot Fernbedienung haben (siehe Seite 15).
Um die aktuelle Station abzuspeichern, drücken und halten Sie einen der Voreinstellungsknöffe (1-5) auf ihrer Fernbedienung. Um eine gespeicherte FM-Station zu wahlen, einfach den dazugehörigen Voreinstellungsknopf (1-5) drücken. Durchsuchen.
DAB/FM
SCAN
Searching...
1
94.50MHz FM
1
M-Port™
Benutzung des M-PortTM
Revo's M-PortTM-Technologie erlaubt einechnelle und einfache Verbindung zu einemiPod® [einem anderen MP3-Spieler oderexternen Musikquelle]
Wird das mitgelieferte Verbinungsstück verwendet, transformiert sich Pico™ zu einem hoch-qualitativen digitalen AudioLautsprechersystem.
- Verbinden Sie das eine Ende des mitgelieferten Verbindungsstücks mit dem Kopfhörerausgang (oder Auxiliary Out) Ihres Ausgangs- geräts. Danach verbinden Sie das andere End mit dem M-Port™ auf der anderen Seite von Pico™.
Pico's LCD-Anzeige wird die Worte "M-Port Active" anzeigen.
- Sie sollen die Ausgangslautstärke beim Ausgangsgerät, sowie beim Pico(tm) einstellen, um eine optimale Lautstärke und Musik-qualität zu erhalten.

M-Port Active
Aufladen + Wetterbeständigung
Pico™ Akku-Information
- Im Innern von Pico(tm) befindet sich eine wiederauffladbare Nikel-Metal-Hybrid-akku. Direkt aus der Schachtel kann es eine geringe Ladung besitzen, aber es wird empfohlen, dass Sie ihren Pico™ vor Erstgebrauch vollständig aufladen.
Aufladen von PicoTM
- Idealerweise sollente Pico™ anfangs über Nacht vor Erstgebrauch aufgeladen werden.
Danach wird eine vollständige Aufladung ca. vier Stunden dauern.
■ Es braucht ungebung 3 bis 4 Aufladungen bevor der Akku die volle leistung bringt
■ Pico's interne Akku auf einem optimalen Niveau arbeiten.
Pico™ ladt seine Akku's auf, sobald es am Netz gespiessen wird, obschon es gebraucht wird oder ausgeschalten ist.
Aufladeverwaltung
■ Pico™ hat eine Aufladeverwaltung, welche versichert, dass seine Akku's nie überladen werden. Sobald die Batterien vollständig aufgeladen sind, stoppt Pico™ automatisch den Ladevorgang an.
Pico's spritzfestes Design
■ Pico's Gehäuse ist abgedichtet, somit kann Pico(tm) draussen oder an Orte, wo Feuchtigkeit vorhanden ist, z.B. im Badzimmer, verwendet werden.
Wie Wasserfest ist Pico™?
PicoTMwould konstruiert um keine Spritzer Wasser zu widerstehen, z.B. Regentropfen. Es ist nicht fur das Eintauchen ins Wasser konzipiert.
Störungen und mögliche Ursachen
Q. Ich hore ein 'Geknatter' auf gewissen Stationen
A. Falls die Signalstarke zu schwach ist, kann ein Abbruch des Empfangs eintreten. Dieses Gerausch ist die Folge davon. Stellen Sie Sicher, dass die Antenne vollständig senkrecht ausgefahren ist. Falls das Problem weiterhin besteht, stellen Sie Pico(tm) an einen anderen Ort oder überprüfen Sie, dass Sie sich in einem Empfangsbereich befinden (besuchen Sie www.ukdigitalradio.com/ coverage um dies zu überprüfen)
a. Ein ?' erscheidt vor den Namen einiger Stationen, und es scheint nicht möglich zu sein, diese zu selektieren.
A. Ein ?' vor dem Namen einer Station bedeutet, dass es entweder inaktiv oder nicht verfügbar ist. Dies kann sein im Fall, dass gerade nicht gesendet wird, Sie sind ausserhalb des Empfangsbereich, oder Sie haben einfach den Empfang verloren. Um inaktive oder nicht verfügbar Stationen zu entfernen, drücken Sie den MENU-Knopf und gehen Sie zu 'Prune Stations' Optionen (verfügbar under den Stations Reihenfolge Menu) siehe Seite 8
Q. Die 'Keine Station verfügbar' Nachricht wird angezeigt?
A. Stellen Sie sicher, dass ihre Antenne vollständig senkrecht ausgefahren ist. Prufen Sie die Signalstarke und gegebenenfalls deplatzieren Sie Pico(tm) an einen anderen Ort.
Q. Manchmal sinkt die Lautstärke und der Klang wird verzerrt.
A. Ein Abfall der Lautstärke, Klang Qualität und/oder Empfangsempfindlichkeit zeigt, dass die internen Batterien von Pico aufgeladen werden müssen.
Q. Selfbst nachdem ich Pico(tm) voll aufgeladen haben, scheint die Batterie nicht lange zu halten. Sicherlich nicht so lange wie sonst.
A. Es macht den Anschein, dass Pico's interne Batterien ersetzt werden müssen. Ersatzbatterien sind als Ersatzteil verfügbar, siehe Seite 15.
Technische Spezifikationen
- Generell: Mono DAB und FM Radio mit komplettem Band III Empfang.
■ Laatsprecher: 2" Wetterfest, volle Reichweite Neodym, 8W Nennbelastbarkeit
Audio Power Ausgang: 2W
Frequenzbreite: DAB Band III (174 - 240 MHz) FM (87.5 - 108 MHz)
Antenne: Eingebaute Teleskopantenne
Eingangsverbindungen: DC Adapter (230V Adapter mitgeliefert) 3.5mm Eingang für Hilfsgeräte (M-Port)
Ausgangsverbindungen: 3.5mm Kopfhörerbuchse Stereo RCA Ausgang
LCD Bildschirm: Hochauflosend 2 x 16 Charakter negative Sichtanzeige
Bedienung: Power, links, rechts, auswahlen, Lautstärke lauter/leiser, Alarm, Scan/Info, Menu, DAB/FM
Wetterbestandigkeit: Spritzfestes' Gehause
Fernbedienung: Infrarot Fernbedienung (optionales Zubehör)
Netzversorgung: 12V 1.2mA
■ Batterie: Nikel Metal Hydrid - 8 Std. Autonomie (durchschnittlich)
■ Zustimmungen: CE gekennzeichnet and RoHS konform.
■ Dimensionen: 167mm (H) x 103mm (B) x 98mm (T)
Zubehör und Ersatzteile
Die folgenden Zubehore und Ersatzteile sind für Pico™ erhältlich. | Kontaktieren Sie ihren lokalen Handler oder andernfalls rufen Sie uns unter der Nummer 043 355 01 55 an. Zubehore und Ersatzteile können auch im Internet unter www.revo.co.uk Revo Technologies Ltd The Inox Building Caldwellside Lanark Scotland United Kingdom ML11 7SR gekauft werden.
Fernbedienung:
Steuern Sie Pico™ mit unserer kompakten infraroten Fernbedienung.
Netzadapter:
Ersatznetzgerät, wie beim Pico™ mitgeliefert.
M-Port™ Verbinding:
Wird gebraucht, um einen iPod(r) [oder ähnliches Gerät] mit dem Pico™ zu verbinden.
Schützendes Etui:
Behalten Sie Pico™ an einen sicheren Ort mit unserem massgefertigten Etui.
Auto-Ladegerät:
Laden oder betreiben Sie Ihr Pico™ mit dem Zigarettenanzünder von Ihrem Fahrzeug mit thisem praktischen Zubehör.



Mode d emploi
Preface
Endre kanal rekkefolgen 8
Manuelt sok 9
StillinnDCR
9
EinfachAnleitung