SOLEA GAS - Gasherd WANDERS - Kostenlose Bedienungsanleitung
Finden Sie kostenlos die Bedienungsanleitung des Geräts SOLEA GAS WANDERS als PDF.
Laden Sie die Anleitung für Ihr Gasherd kostenlos im PDF-Format! Finden Sie Ihr Handbuch SOLEA GAS - WANDERS und nehmen Sie Ihr elektronisches Gerät wieder in die Hand. Auf dieser Seite sind alle Dokumente veröffentlicht, die für die Verwendung Ihres Geräts notwendig sind. SOLEA GAS von der Marke WANDERS.
BEDIENUNGSANLEITUNG SOLEA GAS WANDERS
Gebrauchsanweisung und Montage Vorschriften Solea Kaminofen für Gas
Lieber Kunde,
Wir begrückwünschen Sie zum Kauf Ihres Solea Gasheizofens. Eine bequeme Wärmequelle, die Ihnen jahrelang Freude machen wird.
Ihr Solea hat ein so genannten Raumluftunabhängiges System mit einem doppelwandigen Rauchabzugkanal. Die Rauchgase werden direkt durch den inneren Kanal nach außen abgeführt Der Aussenkanal saugt frische Luft ein wodurch Sie immer ein schones Flammensbild haben. Der Solea kann dadurch in Prinzip sareg in Räumen ohne Lüftung oder Räumen mit Mechanischer Entlüfung aufgestellt werden.
Bei der Entwicklung these Gasheizofens haben wir auf Gebrauchsfreundlichkeit, Betriebssicherheit und Design geachtet. Ihr Ofen ist in unserer eigenen Fabrik in Netterden entwickelt, hergestellt und großanteils handgemacht. Für den Bau wurden nur die besten Materiale, die den international gültigen Normen entsprechen, eingesetzt. Damit gewährleisten wir eine lange Lebensdauer für diesen Gasheizofen.
Im ersten Teil dieser Gebrauchsanweisung erteilen wir Ihnen Tipps und Hinweise, für die richtige und sichere Art ihren Gasheizofen zu benützen. Im zweiten Teil finden sie die Aufbauvorschriften und technische Spezifikationen des Solea Ofens. Diese sind vor allem für den Installateur wichtig
Vor Gebrauch Ihres Gasheizofens bitten wir Sie, die Gebrauchsanweisung sorgfältig zulesen und sie dann gut zu bewahren. Ihr Installateur braucht weiterecht diese Anleitung für die jährliche Wartung ihres Gasheizofens.
Wir wünschen Ihnen viel Wärme mit thisem Kauf.
Das Team von WANDERS
Inhalt
Installation 52
Inbetriebname 52
Gebrauchsbereit 53
Das erste Mal heizen 53
Batterien 54
Einstellen der Fernbedienung 54
Manuelles Anzünden 55
Einlagen des Keramischen Holzsets 56
Wartung 56
Schutzvorrichtung 57
Mögliche Fehlermeldungen 57
Garantie 58
Installationsvorschriften 59
Technische Zeichnungen 65
Installation
Meistens sorgt der Verkäufer, wo sie ihren Solea gekauft haben, auch für den Aufbau davon und den Anschluss an das Gasnetz. Wenn das nicht der Fall ist, beachten Sie, dass die Installation von einem anerkannten Installateur gemacht wird. Der Anschluss einer Gasanlage durch Unbefugte ist verboten. In dem Fall konnen wir Ihnendie gute Funktion Ihres Gasheizofens nicht garantieren.
Drehen und verriegeln
Wenn Sie einen schwenkbaren Solea gewählt haben, können sie den Ofen jeweils 30 Grad nach rechts oder links drehen und verriegeln. Sie können den Ofendrehen, sodass Sie die Flammen sehen können equal wo Sie im Raum sitzen. Sie können den Ofen nur drehen, wenn er direkt unter dem Schornsteinrohr montiert ist und auf einem stabilen Fußboden stehen. Mit dem Knopf an der rechten Seite des Fußes (siehe Photo) können sie den Solea verriegeln und entriegeln.

Inbetriebnahme
Wenn sie den Solea zum ersten Mal gebrauchen, gehen Sie wie folgt vor:
- Öffnen sie die Ofentür (siehe Illustration auf diese Seite). Inder Mitte sehen sie den Gasreglerblock (siehe Photo).

- Stellen sie den O I Schalter auf I.
- Drehen sie den Bedienungsknopf auf den ON Stand.
- Schließen und verriegeln Sie wieder die Ofentür.
Vermeiden Sie Fingerabdrücke
Achten sie darauf keine Fingerabricks auf dem Glas zu hinterlassen. Fingerabricks brennen ins Glas und konnen dann nicht mehr entfernt werden.
Öffneder Ofentür

1: Der komplette Solea.

2: Entfernen des Klemmbandes um das Ofenrohr.

3:HebenSie die Oberseite etwas anundverschiebenthese.

4: Entfernen Sie die rechte Seitenplatte.

5: Entfernen Sie die Schraube in der Verriegelung.

6: Die Ofentür kann jetzt geöffnet werden.
Gebrauchsbereit
Wenn der Solea ans Gasnetz angeschlossen und eingestellt ist, kann er in Betrieb genommen werden. Nehmen Sie die Fernbedienung in die Hand undrichten sie auf den Ofen. Drücken Sie gleichzeitig auf die Tasten, OFF' und den oberen Knopf . Ein kurzer Piepton gibt an, dass das Signal den Empfänger erreicht hat. jetzt konnen sie bye Knopfe loslassen. Dann horen Sie eine incige kurze Pieptone worauf die Zündflamme brennt. Nach einigen Sekunden bredn der Ofen dann auf dem hochsten Stand. Mit den groBen Knopfen in der Fernbedienung konnen Sie die Flammenhhe manuell einstellen.
Mit dem Knopf bredn der Ofen stärker. Mit dem Knopf konnen Sie den Ofen niedriger schalten. Wenn Sie den Knopf eingedrückt halten, gehen der Ofen auf Standby. Die Zündflamme bleibt brennen.

Das erstige Mal heizen
Wenn der Solea das ersten Mal gebraucht wird, muss der Ofen "eingbrannt" werden. Das Gerät ist mit einer hitzebeständigen Lackschicht versehen, die noch in den Ofen einbrennen muss. Es ist möglich, dass dadurch ein unangenehmer Geruch entsteht, der aber unschädlich ist. Wir raten Ohnen, den Ofen während 3 Stunden auf dem höchsten Stand zu heizen, währenddessen der Raum gut geluftet wird.
Während der Heizsaison raten wir Ihnend die Zündflamme brennen zu halten. So vermeiden Sie Kondensbildung und dass sich Kalkspuren auf der Innenseite der Ofentür bilden.
Während des Einbrennens ist es möglich, dass sich auf der Glasscheibe der Ofentür ein Belag bildet. Dessen Belag können sie mühelos mit einem leicht feuchten Tuch und eventuell etwas Putzmittel für keramische Kochplatten abwischen wenn der Ofen abgekühlt ist. Wie die Ofentür geöffnet und wieder geschlossen wirdlesen Sie auf Seite 52. Achten sie darauf, dass Sie die Scheibe auf beiden Seiten nicht mehr berühren wenn Sie die Ofentür schreiben. Fingerabdrücke brennen ins Glas und konnen nicht mehr entfern werden.
Verfürbung von Wänden, Decken und Roste
Durch Heizen des Ofens, können Wände, Decken und Roste sich verfahren. Das kommt dazu, dass Staubteilchen im Konvektionsmantel verbrennen. Das ist ein natürlicher Vorgang, wofür WANDERS nicht verantwortlich ist. Um Verfährung zu minimalisieren, verweisen wir Sie auf den Rat der von der Branche der Kaminöfen gegeben wird. Ihr Installateur kann Sie bereits beraten.
Während des ersten Heizens berechnet ihr Solea selbst, wie viel Zeit er braucht, um die eingestellte Temperatur zu erreichen. Auf Basis dieser Berechnung wählt der Solea die wirkungsvollste Art, den Raum zu erwämen. Es kann also vorkommen, dass, wenn Sie den Ofen anmachen, die Flammen nicht sofort auf den hochsten Stand gehen.
Achten Sie darauf, dass keine Holzblöcke vor der Zündflamme liegen. Das Gas muss unbehindert zum Hauptbrenner stromen konnen. Der Hauptbrenner befindet sich unter dem keramischen Holzset. Für eine korrekte Aufstellung davon, sehen Sie auf Seite 56.
Neubauwohnung oder vor kurzem renoviert?
Warten Sie sechs Wochen mit heizen in einer Neubauwohnung die vor kurzem fertig gestellt wurde, oder einem Raum der stark renoviert wurde. In den Wänden und Decken befinden sich noch Gase, Weichmacher und Feuchtigkeit von den Stuck- und Malerarbeiten. Durch die warmen Luftströme können sich die vielen Staubteilchen im Raum verfüllen und sich auf Wände und Decken festsetzen. Auch die noch vorhandene Feuchtigkeit in Wänden und Decken erwartt sich und kann gelbe Flecken verursachen.
Batterien
Batterien im Empfänger Ihres Solea Ofens gehoren zur Standardausrüstung. Wenn die elektronische Zündung des Ofens nicht Funktioniert, sind leere Batterien meistens die Ursache. Wir raten Ohnen, bei der Montage des Solea Ofens neue Batterien in den Empfänger und in der Fernbedienung einzusetzen. Der Empfänger im Ofen Funktioniert mit 4 1.5 V (Typ LR6 oder AA). Die Fernbedienung Funktioniert mit einer 9V Blockbatterie. Die Batterien halten etwa ein Jahr.
Wenn Sie beim Entzünden des Ofens einen langen Ton mit kurzen Unterbrechungen horen, bedeutet das, dass die Batterien des Empfängers gewechselt werden müssen. Bei der Fernbedienung ist das Sendesignal auch der Indikator, dass die Batterien gewechselt werden müssen. Jedes Mal, wenn die Fernbedienung den Ofen steuert, sehen Sie rechts oben im Display das Sendesignal. Wenn Sie这点 beim Drücken der Tasten nicht mehr sehen, müssen die Batterien gewechselt werden.

Auswechseln der Batterien im Empfänger

Auswechseln der Batterien in der Fernbedienung
Einstellen der Fernbedienung
Die Fernbedienung Ihres Solea Ofens ist leicht einzustellen. Wenn das gemacht ist, können sie im Handumdrehen ihren Ofen bedieren. Sie können auch mit der Fernbedienung vier Zeiteinheiten mit der gewünschten Temperatur einstehen.
Wir raten Ihnen, während des Einstellens der Fernbedienung den Ofen auszumachen So vermeiden Sie, dass aus Versehen, die TemperaturHigher oder niedriger geschaltet wird.
Wenn Ihr Solea Ofen sechs Stunden lang kein Signal von der Fernbedienung empfängt, schaltet er automatisch auf den Stand der Zündflamme. Die Zündflamme bleibt dann an.
Wenn die Zündflamme nach dem Heizen ausgeht,
müssen Sie mindestens fünf Minuten warten bevor Sie
den Ofen wieder anmachen.
Uhrzeit und Datum
Wenn sie das ersten Mal Batterien in die Fernbedienung einlagen, erscheint kurz 0:00. Danach führen sie auf dem Display die Temperatur, die Uhrzeit (0:00) und links unter „MAN".
Drücken sie gleichzeitig die großen Tasten und . Im Display fängt die Zeitangabe zu blinkern. Mit der Taste stellen sie die richtige Stunde ein. Mit der Taste stellen Sie die Minuten ein. Einen Augenblick warten oder auf die,OFF' Taste drucken um die eingestellte Uhrzeit zu speichern.
Sie können zwischen Celsiusgrad / 24 Stunden Zyklus und der amerikanischen Angabe in Fahrenheit / 12 Stunden Zyklus wahlen. Halten Sie die Tasten, OFF' und zwei Sekunden eingedrückt und die Angabe verspringt automatisch.
Mit der SET Tast können Sie selbst bestimmen, wie Sie den Solea bedieren wollen. Es gibt vier Benutzermodi: MAN, Temp, -Temp und TIMER. Indem Sie jeder Mal kurz auf die Set-Taste drücken durchlaufen sie die verschiedene Modi.
MAN
Im MAN Stand können sie dann von Hand mit den eigenen Knopfen den OfenHigher und niedriger stellen. Wenn Sie den Knoopf eingedrück halten, gehen die Temperatur des Ofens in den niedrigsten Stand; auf Stand der Zündflamme. Jedes Mal wenn sie aus einer anderen Funktion (Temp, -Temp oder TIMER) auf oder drucken, schaltet die Fernbedienung auf den MAN Stand.
- temp
Drücken Sie ein Mal kurz auf SET und das ③ entscheidint im Display. Halten Sie die SET Taste etwas länger eingedrückt bis die Angabe für die Tagestemperatur anfängt zu blinken. Mit den großen Tasten ▲ und ▼ stellen Sie mit halben Graden die Tagestemperatur ein. Die Fernbedienung schaltet dann automatisch darüber auf Tagestemperatur. Die Minimum Tagestemperatur ist 5^ Celsius.
- - temp
Drücken Sie zwei Mal kurz auf SET und das 》erscheint im Display. Halten Sie die SET Taste etwas länger eingedrückt bis die Angabe für die Nachtemperatur anfängt zu blinken. Mit den großen Tasten ▲ und ▼stellen Sie mit halben Graden die Nachtemperatur ein. Die Fernbedienung schaltet dann automatisch darüber auf Nachtemperatur. Die Minimum Nachtemperatur ist 0^ Celsius. Im Display erscheint dann das Zeichen, - -,
TIMER
Im Ganzen können Sie für den Solea Ofen 4 Zeiteinheiten einstehen. Wenn Sie die Zeiteinheiten so einstehen, dass sie nacheinander anschließen, sind Sie safer immer eine angenehme Raumtemperatur zu haben.
Drücken Sie 3 Mal kurz auf SET und das Wort TIMER entscheid rechts unter im Display. Halten sie die SET Taste solange eingedrückt, bis P1 ◆ entscheid unt und die Zeitangabe blinkt. Mit den Tasten ▲ und▼ können sie jeweils die Stunden und Minuten einstellen. Durch die SET Taste kurz einzudrücken durchlaufen Sie das Timerprogramm P1 ◆-Temp, P1 ▷-Temp, P2 ◆-Temp, P2 ▷-Temp. Siehe unter ein Beispiel einer möglichen Einstellung
P1 © -Temp: 07:30-08:30 19^
P1 ②-Temp: 08:30 - 17:00 15^
P2 -Temp: 17:00 - 23:00 19^
P2 -Temp: 23:00-07:30 15^
Der TIMER Funktioniert nur, wenn die Zündflamme brennt. Um den TIMER auszuschalten, drücken Sie ein Mal auf die Taste OFF. Die Fernbedienung schaltet auf den MAN Stand um.
Thermostat
Die Fernbedienung ist auch der Thermostat des Ofens. Mit Temp und -Temp können sie feste Temperatures für Tag und Abend einstellen. Für ein optimes Funktionieren des Ofens, raten wir Ihnen die Fernbedienung in einen Umkreis von 5 Meter zu legen, wobei das Display auf den Ofen gerichtet ist.
Manuelles Anzünden
Ihr Solea kann auch manuell angemacht werden. Das geht wie folgt:
- Öffnen der Ofentür wie auf Seite 52 beschrieben. Entnahmen Sie auch die Frontplatte des Fusses.
- Entkoppeln Sie das Zündkabel vom Empfänger und schließen diese am Zündungsblock an.

- Stellen sie den, O I' Schalter auf, I'. Drehen Sie den Schalter ganz nach rechts; das macht ein tickendes Gerausch. Stellen Sie den Bedienungsknopf in den, MAN' Stand.

- Drücken sie mit einem Stift in der großen Öffnung gegen das Metallstübchen und halten diesen eingedrückt. Drücken sie auf das viereckige Stückchen in der Aussparung.

- Sie horen ein tickendes Gerausch, die Zündflamme gehen an. Wenn die Zündflamme brennt, halten sie das Metallstübchen noch 10 Sekunden eingedrückt.
Wenn die Zündflamme wieder ausgeht, warten Sie dann mindestens fünf Minuten bevor Sie die obigen Schritte wiederholen.
- Stellen Sie den Bedienungsknopf in den, ON' Stand.
- Drehen sie den Schalter nach links um den Brenner zu anzumachen. Die Zündflamme brennt weiter. Wenn Sie den, O I' Schalter in, O' Stand stellen, schalten sie auch die Zündflamme aus.
Um das Feuer aus zu machen, drehen Sie den Schalter wieder ganz nach rechts. Die Zündflamme bleibt an. Wenn sie den ,O I' Schalter in den ,O" Stand drehen, wird auch die Zündflamme ausgeschaltet.
Einlagen des keramischen Holzsets
Der Solea Funktioniert mit Erdgas und Propangas. Die Propangasversion hat ein Holzset von 7 Stücken, die Erdgasversion hat 8 Stücke.; Achten sie darauf, dass die Stücke korrekt eingelegt werden (siehe Abbildungen). Vermeiden sie, dass ein Block vor der Zündflamme liegt. Der Hauptbrenner kann dann nicht brennen und unverbrannten Gas kann sich im Ofen ansammeln. In dem Fall muss die Zündflamme gelöscht werden und Sie müssen 5 Minuten warten, bevor sie wieder angemacht werden kann. Achten sie darauf, dass die Ofentür geschlossen ist wenn sie den Ofen anmachen.
Achten sie darauf keine Fingerabdrücke auf dem Glas zu hinterlassen. Fingerabdrücke brennen ins Glas und konnen dann nicht mehr entfert werden.
Esistnichtzugelassenzusätzlichekeramische(Holz-) Blocke oder anderesMaterial dem Holzsetzuzufugen. DerOfenfunktioniertdann nicht nachgebührenundkann denOfen unwiederbringlichbeschädigen. KeramischeHolzblöcke dürfenSie nur mit BlockenderselbenArt vonWANDERS ersetzen.
Wartung
Kleine Wartung
Sie können den Ofen an der Außsèite mit einem leicht feuchten Tuch, das nicht fusselt, sauber machen. Machen Sie das nur wenn der Ofen kalt ist. Wenn Sie Kaffee oder etwas andere auf den brennenden Ofen kleckern, machen Sie den Ofen sofort aus. Sobald der Ofen abgekühlt ist, können Sie die Flecken mit einem leicht feuchten Tuch abwischen. Die abgekühte Scheibe können sie mit einem Spezialputzmittel für keramische Kochplatten reinigen.
Benutzen Sie keine beizende Putz- und Scheuermittel und auch kein Ofenputzmittel.
Jährliche Wartung
Ihr Kaminofen muss mindestens ein Mal pro Jahr von einem anerkannten Installateur kontrolliert und gewartet werden. Die folgenden Zubehörteile werden dann nachgesehen und eventuell gereinigt:




Aufstellung Holzset bei der Erdgasversion.


Aufstellung Holzset bei der Propangasversion.
Die Dichte der Gas- und Rauchgasabfuhr und der Zufuhr der Verbrennungsluft.
- Das richtige Funktionieren des Gasreglerblocks, des thermischen Kupplung Circuits (Schutz gegen unvorhergesehenes Ausströmen von Gas) und die Zündung des Hauptbrenners.
- Das ganze Kanalsystem einschließlich die Fassaden oder Dachdurchfuhr und auch die Ausmündungen.
Eventuelle Abnutzung der Dichtungen von Turen und Fenster des Ofens
- Reinigung von: Hauptbrenner, Zündflamme, Rauchgasabzug und Zufahr der Verbrennungsluft. Der Staub im Ofen kann mit einem Staubsauger entfern werden.
Schutzvorrichtung
Eine Wärmequelle von WANDERS ist mehr als nur der Ofen der in Ihr Raum liegt. Auch der Rauchkanal und die Durchfuhr durchs Dach und/oder Fassade sind Teil des ganzen Heizsystems. Nur wenn Ihr Solea mit einem konzentrischen Rauchkanal von WANDERS installiert ist, können wir Ihnen gewährleisten, dass der Ofen gefahrlos brennt.
Außerdem ist jeder Gasheizofen von WANDERS mit einem Thermokuppelungsschutz ausgerüstet. Diese verhindert Ausströmen von Gas, sollte die Zündflamme ausgegeben.
Einige Empfehlungen für eine sichere Benutzung Ihres Solea Ofens:
- Heizen Sie mit ihrer Gasheizofen nur mit geschlossener Ofentür. Wenn die Ofentür offen oder das Glas gebrochen ist,arf der Ofen nicht benutzt werden.
- Vermeiden sie, dass keine Kinder oder Hilfsbedürftige in die Nähe des brennenden Ofens kommt und setzen sie nicht mit einem brennenden Ofen allein. Benutzen Sie eventuell einen Kaminvorsatz.
- Giesen oder stellen sie keine brennbaren Flüssigkeiten oder andere Material auf das Holzset. Diese können den Ofen irreparabel beschädigen.
- Lassen sie Kinder nie mit der Fernbedienung speilen.
- Der Solea darf nie eingebaut werden. Der Abstand des Solea Ofens zur Wand dahinter muss mindestens 10 Zentimeter sein. An beiden Seiten muss jeweils mindestens 20~cm freier Raum sein.
Wenn Sie einen drehbaren Solea haben, muss der Abstand des Solea zur Wand in jedem gedrehten Stand mindestens 20 cm betragen. Aus Gründen des Brandschutzes, davon der Abstand der Seite mit Scheibe zur Wand nie geringer als 80 cm betragen.
- Benutzen sie keine brennbare Materiale, wie zum Beispiel Gardinen, in der Höhe des Ofens. Halten sie
mindesten 1,5 Meter Abstand.
- Sollte aus irgendem Grund die Zündflamme ausgehen, warten sie dann fünf Minuten bevor Sie den Solea wieder anmachen.
Mögliche Fehlermeldungen
Es kann vorkommen, dass Ihr Solea Ofen nicht nach Wunsch funktioniert. Bevor sie Kontakt aufnehmen mit ihrem Verkäufer oder einem anerkannten Installateur aufnahmen, können sie selbst die folgen den Fehlermeldungen kontrollieren.
Die Zündflamme gehen nicht an.
- Kontrollieren sie, ob die Gaszufuhr auf ist. Entfernen sie dazu die vordere Platte am Fuß des Ofens und drehen den Gashahn auf.
- Kontrollieren Sie die Batterien im Empfänger und der Fernbedienung (siehe Seite 54)
- Einekleine elektronische Unterbrechung kann die Ursache sein. Öffnen Sie die Ofentür (siehe Seite 52) und drücken sie auf den „reset" Knopf auf der Rückseite des Empfangers.
Ich hore einen langen Ton mit kurzen Unterbrechungen beim Anmachen der Zündflamme.
- Dies ist das Signal, dass die Batterien im Empfänger gewechselt werden müssen (siehe Seite 54). Nach thisem Signal konnen Sie noch etwa 10 Mal den Ofen anmachen.
Ich hore ein anhaltendes Signal, das 5 Sekunden nauert.
- Eines der Kabel im Ofen ist nicht angeschlossen oder der, O I' Schalter steht nicht in der, I' Position. Öffnen Sie die Ofentür (siehe Seite 52) und kontrollieren Sie die Kabel und den, O I' Schalter. Wenn der Ofen dann immer noch nicht brennt, schalten Sie dann einen anerkannten Installateur ein.
Ich höre 5x ein kurzes Signal. Die Zündflamme und der Hauptbrenner geben nicht an.
- Luft in der Leitung zur Zündflamme ist die mögliche Ursache. Warten Sie fünf Minutes und machen dann den Ofen wieder an. Wenn das noch immer nicht gelingt, schalten Sie dann einen anerkannten Installateur ein.
Garantie
Auf ihren Solea für Gas gibt Ichnen WANDERS Metaalproducten B.V. in Netterden ein Jahr Garantie ab Kaufdatum, vorausgesetzt dass der Ofen korrekt installiert und gemäß den Anweisungen in dieser Gebrauchsanweisung benutzt wurde. Unter diese Garantie fallen alle Mängel die auf Material- oder Konstruktionsfehler zurückzuführen sind. In diesen Fälle erhalten Sie gratis neue Ersatzteile. Der Arbeitslohn und andere Kosten fallen nicht unter die Garantie. Fehlerhafte Teile konnen Sie franco an WANDERS Metaalproducten B.V. Amtweg 4, 7077 AL Netterden (Holland) schicken.
Nicht unter die Garantie fallen: Störungen die durch nicht sachgemäßen Gebrauch entstanden sind; nicht strikte Befolgung der Installations- und Bedienungsvorschriften; Montage durch einen nicht anerkannten Installateur, Vernachlässigung des Ofens und Umbau des Ofens auf eine andere Gasart.
Wanders ist nicht verantwortlich für eventuelle Risse im Feinputz und Verfährungen der Wände, Decken und/oder Roste nach Heizen des Ofens. Verfährungen können entstehen weil Staubteilchen im Konvektionsmantel verbrennen. Um eventuelle Risse im Feinputz und Verfährungen zu minimisieren, verweisen Sie auf den Rat der von der Branche für Kaminöfen gegeben wird. Ihr Installateur kann Sie darüber informieren.
Reklamationen werden erst dann behandelt, wenn die Verkaufsfirma, der Installateur oder die Gasfirma eine Reklamation, zusammen mit einer Kopie des Kassenzettels mit Kaufdatum, eingereicht hat. Reparaturen berechtigen nicht zu einer Veränderung der Garantie. Alle Folgeschäden sind ausgeschlossen.
Installationsvorschriften Solitair Kaminofen
Inhalt
Allgemeine Anweisungen 59
Montage des konzentrischen Kanalsystems 60
Aufstellungsmöglichkeiten des Kanalsystems 60
Montieren eines Staus 62
Abrunden der Installation 62
Technische Angaben 63
Allgemeine Anweisungen
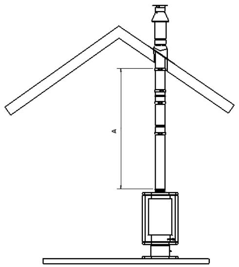
Ihr Solea Ofen ist ein geschlossenes System und damit nur mit einem konzentrischen Kanalsystem von WANDERS installiert werden. Nur dann ist der Ofen gemäß der europäischen CE-Norm für Gasgeräte zugelassen. Wirieten keine Garantie, wenn der Solea inkorrekt angeschlossen und installiert ist. Das Kanalsystem besteht aus einem Innenkanal von 80 Millimeter und einem Aussenkanal von 150 Millimeter.
Das Gerätarf nur durch einen anerkannten Installateur, gemäß den allgemein gültigen Vorschriften für Gasinstallationen und gemäß der unter genannten Installationsvorschriften, installiert und angeschlossen werden. Außen dem sind auch die nationalen und örtlichen Gesetze und Anordnungen für Montage und Gebrauch von geschlossenen Gasgeräten zu beachten.
Vor der Installation these Gerätes muss der Installateur kontrollieren, ob die Angaben auf der Typenplakette mit der Gasart und dem Druck an welchen der Ofen angeschlossen werden soll übereinstimmen. Wenn das nicht der Fall ist, damit der Ofen nicht angeschlossen werden.
Aufstellung
Der Ofen kann problemlos in einer zugreifen oder Mechanisch ventilierten Wohnung aufgestellt werden. Dazu ist keine zusätzliche Belüfung zur Verbrennung notwendig. Ein Rauchgasventilator muss nicht montiert werden. Rauchgase werden durch den natürlichen Zug über den Innenkanal nach außen geleitet. Der Sauerstoff der bereits wird um den Ofen zu heizen, wird zwischen den Kanälen zugeführrt. Aus thisem Grund ist es nicht zugelassen Isolation zwischen dem Inn- und Aussenkanal anzubringen.
Der Soleaarf auf keinen Fall eingebaut werden und muss auf einem guten stabilen Fufboden stehen. Der Abstand zwischen Wand und der Rückseite des Solea Ofens muss mindestens 10~cm sein. Links und rechts vom Ofen muss mindestens 20~cm freier Raum eingehalten werden.
Bei dem schwenkbaren Solea muss der Abstand zur Wand in jeder gedrehten Position mindesten 20 cm sein. Der Abstand der Seite der Scheibe zur Wand muss in jeder geschwenkten Position aus Sicherheitsgründen
mindestens 80~cm sein. Achten sie darauf, dass der Solea auf einem genügend stabilen Fußboden senkrecht unter dem Rauchabzugkanal steht. Wenn der Ofen nicht genau unter dem konzentrischen Kanalsystem steht, kann er nicht drehen.
Isolation
Wegen der hohen Temperaturen der Außenwand des Ofens, bis 150 Grad Celsius (300 Grad Fahrenheit) ist es nicht zugelassen brennbares Material in der Höhe des Kanalsystems anzuwenden. Das ganze konzentrische Kanalsystem muss, zwischen der Stelle wo es nicht mehr sightbar ist bis zur Ausmündung in der Fassade oder Dach, mit einem Schacht umgeben werden. Der Schacht des konzentrischen Kanals muss (auf jeder Etage) mittels eines Rostes in der Höhe des Fußbodens und der Decke beluftet werden. Verwendten sie universelle Wandschienen mit 150 Millimeter Durchmesser um das konzentrische Kanalsystem zu befestigen.
Wenn ein bestehender Schornstein benutzt wird, müssen Sie erst kontrollieren, ob der Schornstein genügend isoliert ist und einen zureichenden Durchschnitt für das konzentrische Kanalsystem hat. Wenn der Schornstein vorher für einen offenen Kamin mit Holz oder Kohle gebraucht wurde, muss er fachkundig gefegt werden. Bevor der Anschluss eines Gasheizofens an einen bestehenden Schornstein gemacht werden kann, muss das spezielle Anschlussset von WANDERS montiert werden.
Gasanschluss
- Benützen Sie in der Zuführleitung einen zugelassenen G3/8" Abschlusshahn mit Kupplung. Der Gasanschluss des Gerätes befindet sich im Fuß des Ofens. Die Gasleitung kann Entweder durch den Fußboden oder von der Rückseite anschließen. Für den Anschluss an der Rückseite muss das Bruchplättchen an der Rückseite des Fußes ausgebrochen werden.
- Für den Anschluss muss die 12mm Klemmenkupplung, die sich im Fuß befindet, benutzt werden.
- Lüften sie die Zuführleitung bevor sie am Gerät fest gekuppelt wird.
- Vermeiden sie Spannungen auf Bedienungshahn und Leitungen. Dies gibt Anleitung zu Gasleck.
- Den Anschluss auf Gasdichtheit kontrollieren.
Montieren des konzentrischen Kanalsystems
Das konzentrische Kanalsystem besteht aus drei Teilen: die Kanäle selbst, das Durchfuhrteil durch Dach oder Wand und das Mündungsstück.
Vorschriften für das Montieren der Ausmündung.
Die Ausmündung des Kanalsystems kann über das Dach oder die Seitenfassade gemacht werden.

Ausmündung über das Dach
Bei Montage über das Dach muss die Ausmündung mindestens 50 Zentimeter Abstand vom Dachrand sein, mit Ausnahme, wenn ein Giebel anwesend ist. Bei der Wahl der Ausmündungsstelle müssen Ventilationsöffnungen, Schwenkfenster und Öffnungen für Luftzuführ für die Verbrennung berücksichtigt werden. Konsultieren Sie dazu die nationalen und regionalen Vorschriften.

Ausmündung in der Fassade
Bei Montage in der Seitenfront, muss die Ausmündung mindestens 50 Zentimeter Abstand haben von den Eckendes Gebäudes, vorspringenden Dächern, Dachrinnen, Balkone und dergleichen. Diese Abstand ist nicht nötig, wenn die Ausmündung mindestens bis zur Vorderseite
des Überbaus führt.
Bei der Wahl der Ausmündungsstelle müssen Ventilationsöffnungen, Schwenkfenster und Öffnungen für Luftzuführ für die Verbrennung berücksichtigt werden. Konsultieren Sie dazu die nationalen und regionalen Vorschriften.
Aufstellungsmöglichkeiten des Kanalsystems
Um den Ofen schwenkbar zu machen, brauchen Sie immer das WANDERS Drehrohr 4175, welches das ersten vertikale Rohr A ist. Die totale Länge des Kanalsystems davon nie mehr betragen als 10 Meter, die Durchfuhr durch die Mauer und die Ausmündung in der Fassade nicht mitgerechnet. Eine Biegung im rechten Winkel von 90^ gilt als eine Länge von 2 Meter. Für eine Biegung von 45 Grad wird 1 Meter gerechnet.
Für eine kombinierte Installation von Rauchabzug und Luftzufahr zum Brenner, muss eine der folgenden Aufstellungsmöglichkeiten von WANDERS konzentrischem Kanalsystem verwendet werden: mit Wanddurchfuhr, mit Dachdurchfuhr oder abgewinkelter Dachdurchfuhr. Bei einer Fassadendurchfuhr muss immer der ersten Meter senkrecht gemacht werden bevor Sie die Durchfuhr der Fassade machen.
Aufstellung mit Fassadendurchfuhr
Montieren Sie erst einen Meter Vertical bevor Sie die Fassadendurchfuhr machen.

Gasart Länge Kanal A Länge Kanal B Stauplatte (min. - max.) (min. - max.)
Erdgas 1,0-3,0 Meter 0-3,0 Meter Nein Propangas 1,5-3,0 Meter 0-3,0 Meter Nein
Alle Masse sind ohne die Länge der Mauerdurchfuhr angegeben
Aufstellung mit Dachdurchfuhr

Gasart
Lange Kanal A
Stauplatte
(min. - max.)
Erdgas
1,0-10,0 Meter
ab 3,0 Meter 50mm
Propangas
1,5-10,0 Meter
ab 3,0 Meter 50mm
Alle Masse sind ohne die Länge der Dachdurchfuhr angegeben
Aufstellung mit abgewinkelter Dachdurchfuhr

Gasart
Lange Kanal B
(min. - max.)
Erdgas
1,0-10,0 Meter
Propangas
1,0-10,0 Meter
Lange Kanal A1
(min.-max.)
1,0-10,0 Meter
1,0-10,0 Meter
Lange Kanal A1+A2
(min. - max.)
1,0-10,0 Meter Nein
1,0-10,0 Meter Nein
A1+A2:B≥2:1
Das Verhältnis vertikaler Länge zu horizontaler Länge (oder 45 Grad nach oben) ist immer mindestens 2 zu 1.
Alle Masse sind ohne die Länge der Dachdurchfuhr angegeben.
Montage Stau
In den Tabellen Seite 20 und 21 ist angegeben, wenn ein Stau montiert werden muss. Wenn das der Fall ist, muss der Stau an der Innenseite der Brennkammer montiert werden (siehe Abbildung). Der Durchmesser des Staus muss 50~mm betragen.

Achtung: eine
inkorrekte Montagedes Staus kann
Störungen beim Gerätverursachen.
Abrunden der Installation
Das konzentrische System ist installiert und der Ofen ist aufgestellt. Die Abrundung der Installation besteht wie folgt:
ÖffnederTür
Der Solea darf nur mit geschlossener Tur geheizt werden. Zur Sicherheit ist die Tur verriegelt. Wie Sie die Ofentur öffnen, ist auf Seite 52 beschrieben. Wenn die Tur offen ist, können Sie das keramische Holzset und die Batterien des Empfangers einlagen. Der Solea kann nur mit Erdgas und Propangas beheizt werden.
Einlagen des keramischen Holzsets
Vermeiden Sie Fingerabdrücke
Wenn sie die Blöcke eingelegt haben, achten sie darauf, dass Sie beim Schließen der Tür keine Fingerabdrücke auf der Scheibe hinterlassen. Fingerabdrücke brennen ins Glas und können dann nicht mehr entfernt werden.
ERDGAS
Legen Sie die 8 keramischen Holzblöcke wie auf der Abbildung ein. Die Blöcke müssen/genau wie auf dem Beispiel eingelegt werden. Achten Sie daraufuf, dass die Ofentür zu ist bzw. vor Sie den Ofen anmachen.
Es ist nicht zugelassen um den Blöcken etwas hinzuzufügen oder zu ändern. Achten Sie darauf, dass die Zündflamme immer frei über dem Brenner brennen kann.
PROPANGAS
Legen sie die 7 keramischen Holzblöcke wie auf der Abbildung ein. Die Blöcke müssen/genau wie auf dem Beispiel eingelegt werden. Achten Sie daraufuf, dass die Ofentür zu ist bzw. vor Sie den Ofen anmachen.
Es ist nicht zugelassen um den Blöcken etwas hinzuzufügen oder zu ändern. Achten Sie darauf, dass die Zündflamme immer frei über dem Brenner brennen kann.




Aufstellung Holzset für Erdgas


Aufstellung Holzset für Propangas
Einlagen der Batterien
Die Fernbedienung these Solea Ofens Funktioniert mit einer 9V Blockbatterie. Der Empfänger des Ofens
funktioniert mit vier 1,5V (Typ LR6 oder AA) Batterien. Die Batterien halten ungebung 1 Jahr.

Auswechseln der Batterien im Empfänger

Auswechseln der Batterien in der Fernbedienung
Technische Angaben

Schema Gasreglerblock


Elektrisches Schema Gasreglerblock und Empfänger
Technische Angaben Cassorte und Verbrauch
| A | B | C | D | E | F | G | H |
| NL | G25 I2L | 25mb | 6,8kw | 10mb | 2,5 | 1,4 | 0,804 |
| NL | I3P | 30 | 5,0 | 29 | 1,2 | 1,1 | 0,196 |
| BE | G20/G25 I2E+ | 20/25mb | 7,3kw | 7,6mb | 2,5 | 1,4 | 0,770 |
| BE | I3P | 37 | 5,0 | 29 | 1,2 | 1,1 | 0,196 |
| FR | G20/G25 I2E+ | 20/25mb | 7,3kw | 7,6mb | 2,5 | 1,4 | 0,770 |
| FR | I3P | 37 | 5,0 | 29 | 1,2 | 1,1 | 0,196 |
| IT | G20 I2H | 20mb | 7,3kw | 7,6mb | 2,5 | 1,4 | 0,770 |
| IT | I3P | 37 | 5,0 | 29 | 1,2 | 1,1 | 0,196 |
| DE | G20/G25 I2ELL | 20mb | 7,3kw | 7,6mb | 2,5 | 1,4 | 0,770 |
| DE | I3P | 50 | 5,0 | 29 | 1,2 | 1,1 | 0,196 |
| AT | G20 I2H | 20mb | 7,3kw | 7,6mb | 2,5 | 1,4 | 0,770 |
| AT | I3P | 50 | 5,0 | 29 | 1,2 | 1,1 | 0,196 |
| GB | G20 I2H | 20mb | 7,3kw | 7,6mb | 2,5 | 1,4 | 0,770 |
| GB | I3P | 37 | 5,0 | 29 | 1,2 | 1,1 | 0,196 |
| PT | G20 I2H | 20mb | 7,3kw | 7,6mb | 2,5 | 1,4 | 0,770 |
| PT | I3P | 37 | 5,0 | 29 | 1,2 | 1,1 | 0,196 |
| ES | G20 I2H | 20mb | 7,3kw | 7,6mb | 2,5 | 1,4 | 0,770 |
| ES | I3P | 37 | 5,0 | 29 | 1,2 | 1,1 | 0,196 |
| DK | G20 I2H | 20mb | 7,3kw | 7,6mb | 2,5 | 1,4 | 0,770 |
| DK | I3P | 30 | 5,0 | 29 | 1,2 | 1,1 | 0,196 |
| LU | G20/G25 I2ELL | 20mb | 7,3kw | 7,6mb | 2,5 | 1,4 | 0,770 |
| LU | I3P | 37 | 5,0 | 29 | 1,2 | 1,1 | 0,196 |
| IE | G20 I2H | 20mb | 7,3kw | 7,6mb | 2,5 | 1,4 | 0,770 |
| IE | I3P | 37 | 5,0 | 29 | 1,2 | 1,1 | 0,196 |
| SE | G20 I2H | 20mb | 7,3kw | 7,6mb | 2,5 | 1,4 | 0,770 |
| SE | I3P | 30 | 5,0 | 29 | 1,2 | 1,1 | 0,196 |
| NO | G20 I2H | 20mb | 7,3kw | 7,6mb | 2,5 | 1,4 | 0,770 |
| NO | I3P | 30 | 5,0 | 29 | 1,2 | 1,1 | 0,196 |
A: Land / Country / Pays / Land
B: Gastype / Gastype / Type de gas / Gasart
C: Voordruk / Prepressure / Pre pression / Vordruck
D: Belasting o.w. / Nom. Press. OW / Nom. Pression OW / Nom. Belastung
E: Branderdruk / Burner pressure / Pressi on brule on / Brennerdruck
F: Inspuiter / Injector / Buse / Einspritzer
G: Kleinstand inspuiter / Low stand injector / Buse petit feu / Klein Stand Einspritzer
H: Verbruik / Consumption / Consommation / Verbrauch
Technische tekeningen / Technical drawings Dessins techniques / Technische Zeignungen



Notities / Notes Notes / Notizen
Notities / Notes Notes / Notizen
Type of appliance / Geräte Typ
Type de l'appareil / Tipo di apparecchio
Aparelho modelo / Type apparaat
Serial number / Seriennummer
Nr. de série /Numero di matricola
Série no / Seriennummer
Date of purchase / Kaufdatum
Date de l'achat / Data di acquisto
Data da aquisicao / Aankoop datum
Name / Name / Nom / Nome / Nome / Naam
EinfachAnleitung