SOLEA GAS - Poêle à gaz WANDERS - Notice d'utilisation et mode d'emploi gratuit
Retrouvez gratuitement la notice de l'appareil SOLEA GAS WANDERS au format PDF.
| Type d'appareil | Poêle à gaz |
| Source d'énergie | Gaz naturel ou propane |
| Puissance thermique | Non précisé |
| Matériau | Acier |
| Finition | Peinture résistante à la chaleur |
| Type de vitre | Verre céramique résistant à la chaleur |
| Contrôle de la flamme | Manuel |
| Allumage | Allumage piezoélectrique |
| Évacuation des fumées | Conduit vertical |
| Dimensions (HxLxP) | Non précisé |
| Poids | Non précisé |
| Installation | Fixe, avec conduit d'évacuation |
| Utilisation | Intérieur |
| Sécurité | Arrêt automatique en cas d'extinction de la flamme |
| Garantie | Non précisé |
FOIRE AUX QUESTIONS - SOLEA GAS WANDERS
Téléchargez la notice de votre Poêle à gaz au format PDF gratuitement ! Retrouvez votre notice SOLEA GAS - WANDERS et reprennez votre appareil électronique en main. Sur cette page sont publiés tous les documents nécessaires à l'utilisation de votre appareil SOLEA GAS de la marque WANDERS.
MODE D'EMPLOI SOLEA GAS WANDERS
Draien en vergrendelen
Mode d'emploi et instructions d'installation du poèle à gaz Solea
FR
Cher client,
Nous vous félicitons pour l'acquisition de votre nouveau poèle à gaz de WANDERS. C'est une source de chaleur comfortable qui vous donnera beaucoup de plaisirpendant de longues années.
Le Solea comporte un système fermé muni d'un conduit de cheminée à double paroi. Tous les gaz de fumées sont évacués directement vers l'extérieur par le canal interieur. L'air frais est aspiré par le canal extérieur, ce qui assure toujours une belle vision des flammes. Le poèle à gaz se pose en principe dans tout local, même dans les locaux sans ventilation ou avec une ventilation mécanique.
Votre poèle a été concu tout spécialément pour répondre aux exigences d'un employe ainsi, de la sécurité et du design.
Il est développé et produit dans notre usine à Netterden (Pays-Bas) et fait à la main en grande partie. La construction est faite uniquement en les membresux matériaux en conformité avec les normes internationales en vigueur. Vous bénéficierez ainsi pour ce poèle de la garantie d'une longue durée de vie.
La première partie de ce mode d'emploi est consacrée aux conseils pour une utilisation correcte de votre poèle à gaz en toute sécurité. La deuxième partie comporte les instructions d'installation et les caractéristiques techniques destinées notamment à l'installateur.
Nous vous recommendons de dire ce manuel attentivement avant la mise en service de votre poèle à gaz et de le conserver bien. Notre installerateur en aura besoin pour l'entretien annuel de votre poèle.
Nous espérons que vous profiterez beaucoup de l'ambiance chaleuruse du Solea.
L'Equipe de WANDERS
Table des matieres
Installation 36
Mise en service 36
Prêt à l'emploi 37
Premierchauffage 37
38
Réglage de la télécommande 38
Allumage manuel 39
Mise en place du jeu de buches en céramique 40
Entretien 40
Sécurité 41
Messages d'erreur 41
Garantie 42
Instructions d'installation 43
Dessins techniques 65
Installation
En règle générale, c'est votre revendeur qui se charge de l'installation du Solea et de son raccordement au gaz. Si ce n'est pas le cas, confiez le montage à un installateur/agréé. Le raccordement des installations à gaz par une personne non agrée est interdit. Dans ce cas-là, nous ne garantissons pas le bon fonctionnement du Solea.
Turning and locking
Si vous avez acheté un Solea en version rotation, il est possible de tourner et de verrouiller le poèle en le décalant par sections de 30^ à gauche ou à droite. De cette manière, vous pouvez diriger la vision des flammes vers vous,quelle que soit votre place dans la pierce. La rotation nécessite un positionnement du poèle tout droit sous le conduit de cheminée et sur un plancher solide. Le bouton situé au coté croit du socle (voir la photo) sert à verrouiller ou déverrouiller le Solea.

Mise en service
Pour la première mise en service du Solea, précisé comme suit:
- Ouvrez la porte du poèle (voir les figures à la page 36). Le bloc de réglage du gaz se trouve au centre (voir la photo)

Le bloc de réglage du gaz.
- Mettez le commutateur « O I » sur la position I.
- Tournez le bouton de commande sur ON.
- Fermez et verrouillez ensuite la porte du Solea.
Ne laisserz pas des traces digitales
Veillez à ne pas laisser des traces digitales au verre.
Elles seront marquées sur la vitre par la température élevée et ne s'enleveront plus par la suite.
Ouverture de la porte

1: Le Solea tout entier.

2: Enlevez la bande de serrage autour du conduit de cheminée.

3: Soulevez un peu le dessus et déplacez-le.

4: Enlevez le panneau l'etalral croit.

5: Enlevez la vis dans le dispositif de verrouillage.

6: La porte peut être ouverte.
Prêt à l'emploi
Lorsque le Solea est raccordé au réseau de distribution de gaz et qu'il a été réglé, votre poèle est prét à l'emploi. Prenez la télécommande dans la main et pointez-la vers le poèle. Appuyez simultanément sur la touche 'OFF' et la grande touche supérieure . Un petit bip indique que le signal atteint le récepteur et vous pouvez alors relâcher les deux touches. Ensuite, après quelques petits bips, la veilleuse s'allume. Quelques secondes plus tard, le poèle s'allume également à grand feu. Pour régler la hauteur des flammes à la main, vous utiliserez les grandes touches au centre de la télécommande.
Au moyen de la touche le poèle se met à brûler plus fort. Avec la touche le poèle en mis en allure plus réduite. Lorsque vous maintainez la touche enforcée, le poèle vient en mode de Stand by. La veilleuse reste allumée.

Premier chauffage
Votre poèle est couvert d'une laque thermorésistante qui doit encore être « cuite ». Au premier chauffage, il se dégage une oedur désagréable, mais inoffensive. Il est recommendé de faire brûler le Solea à grand feu pendant trois heures environ et de bien ventiler la piece.
Pendant la saison fraîche, il est recommandé de laisser la veilleuse brûler. Cela évite la condensation et les traces calcaires éventuelles à la face interieure de la porte.
Pendant le "rodage" du poêle, un dépôt de suie peut se produit sur la vitre de la porte du poêle. La suite s'enlève facilement quand le poêle est froid avec un chiffon
humide ou avec un détergent spécial pour plaques de cuisson en céramique. Pour l'ouverture de la porte, voir la page 36. Veillez à ne pas laisser des traces digitales au verre à la face du coté du feu. Elles seront marquées sur la vitre quand vousCHAUFFEZ le poèle.
Changement de couleur de parois, plafonds et grilles
Par le chauffage du poèle, la couleur des parois, plafonds et grilles peut changer. C'est que des grains de poussière brûlent dans le manteau de convection. Il s'agit d'un processus naturel dont WANDERS ne saurait assumer la responsabilité. Pour réduire au maximum la décoloration, veuillez vous reporter aux consignes généralement données dans le commerce sur les poèles d'ambiance. Vote installateur vous renseignera.
Pendant le premier chauffage, le Solea calcule par soimème le temps nécessaire pour atteindre la température programmée. A la base de ce calcul, le poèle sélectionné désormais toujours la manière la plus efficace pour réchauffer la pierce.
Il peut donc arriver que le poèle ne passse pas immédiatement en la puissance maximale si vous allumez le poèle.
Faites attention à ce que les bûches nebloquent pas la veilleuse. Le gaz doit pouvoir s'écouler librement vers le brûleur principal. Le brûleur principal est situé sous le jeu de bûches. Pour un arrangement correct du jeu de bûches en céramique, voir la page 40.
Logement neuf ou renové récemment?
Faites passer six semaines avant de chauffer le poèle dans un logement neuf livre récemment ou dans une piece renovée en grande partie récemment. C'est que les murs et les plafonds contiennent encore des gaz, des amollissants et de l'humidité provenant du platrage et de la peinture. Par les courants d'air chaud, les grains de poussière dans la piece changent de couleur et se collent contre les murs et plafonds. De plus, en revenant chauds, les points humides des murs et plafonds forment de la sorte des taches jaunâtres.
Piles
Le Solea est livré de façon standard avec les piles insérées dans le récepteur du poèle. Quand l'allumage électronique du poèle ne fonctionne pas, l'épuisement des piles du récepteur en est la cause la plus plausible. Nous vous conseillons demettre des piles neuves dans le récepteur et la télécommande lorsque vous installez le Solea. Le récepteur dans le poèle fonctionne à quatre piles de 1,5 V (type LR6 ou AA) ou à une pile alcaline de 9 V. La télécommande fonctionne à un bloc-piles alcalines de 9 V. Les piles ont une durée de vie d'un an environ.
Si pendant la mise en route du poèle un son prolongé est émis à courts intervalles, il s'agit d'un signal que les piles dans le récepteur sont épuisées. Pour la télécommande également, le signal d'émetteur sert d'indication que les piles ont besoin d'être replacées. Chaque fois que vous utilisez la télécommande pour la régulation du poèle, le signal d'émetteur s'affiche en haut à droit sur l'écran. Si en actionnant les touches, vous ne le remarquez plus, c'est que la pile de la télécommande devra être replacée.

Remplacement des piles du récepteur

Remplacement du bloc-piles de la télécommande
Réglage de la télécommande
Le réglage de la télécommande de votre Solea est assez simple. Une fois la télécommande réglée, rien de plus facile que de commander le poèle. De plus, à l'aide de la télécommande vous pouvez programmer quatre plages heures pour la température souhaïée.
Pendant le réglage de la télécommande, veuillesmettre le poèle hors service pour éviter que par mégarde le poèle soit mis à une allure plus grande ou même plus faible.
Si depuis plus de six heures, le Solea ne recoit pas de signal de la télécommande, le poèle revient automatiquement en mode de veille. Dans ce cas, la veilleuse reste allumée.
Si la veilleuse est eteinte après le chauffage, attendez au moins cinq minutes avant de rallumer le poèle.
Heure et date
A la première insertion des piles dans la télécommande, l'indication 0:00 clignote brièvement. Ensuite, l'écran affiche la température, l'heure (0:00) et «MAN» à gauche en bas.
Appuyez simultanément sur les grandes touches et . Sur l'écran, l'indication de l'heure se met à clignoter. A l'aide de la touche vous reglez l'houre exacte ; à l'aide de la touche vous reglez les minutes. Attendez un instant ou appuyez sur 'OFF' pour memoriser l'heure régée.
Il est possible de faire alterner l'indication des degrés en Celsius / 24 h et l'indication américain en Fahrenheit / 12 h. Tenez les touches « OFF » et▼ enforcées pendant 2 secondes et l'indication est alternée automatiquement.
SET: modification du mode d'utilisateur
La touche SET vous permet de déterminer vous-même la manière de commander votre Solea.
Il y a 4 modes d'utilisateur: MAN -temp -temp et TIMER. En actionnant chaque fois brievement la touche SET, vous parcourez les différents modes.
MAN
En position « MAN » vous pouvez à l'aide des grandes touches augmenter ▲ et diminuer manuellement▼ le feu du poèle. Si vous maintainez la touche▼ enforcée, le poèle passé à la position la plus BASSE, sur la veilseuse. Chaque fois que vous appuyez à partir d'une autre fonction (○-temp, D-temp ou TIMER) sur▼ ou ▲, la télécommande passé à « MAN »
- temp
Appuyez 1 fais brièvement sur « SET »; le 3-temp s'affiche à l'écran. Maintenez la touche SET enforcée un peu plus
longtemps jusqu'à ce que la mention de la température de jour se mette à clignoter. A l'aide des grandes touches et vous reglez par demi-degrés la température de jour. La télécommande revient automatiquement à la température de jour. La température de jour est de 5^ C au minimum.
- - temp
Appuyez 2 fois brievement sur « SET »; le D-temp s'affiche sur l'écran. Maintenez la touche SET enforcée un peu plus longtemps jusqu'à ce que la mention de la température de nuit se mette à cligneter. A l'aide des grandes touches « et « vous reglez par demi-degrés la température de jour. La télécommande revient automatiquement à la température de nuit. La température de nuit est de 5^ C au minimum. Sur l'écran s'affiche alors l'indication « - - »
TIMER
Au total, il est possible de programmermer quatre plages horaires pour le Solea. Si vous faites en sorte que les plages se suivent, vous serez toujours assure d'une chaleur/agréable dans votre piece.
Appuyez 3 fois sur SET; sur l'écran en bas à droite s'affiche le mot «TIMER». Maintenez la touche «SET» enforcée jusqu'à ce que P1 s'affiche et l'indication de l'heure clignote. A l'aide des touches et vous pouvez régler respectivement les heures et les minutes. En actionnant brievement la touche SET, vous parcourez le programme timer P1 -temp, P1 -temp, P2 -temp, P2 -temp. Voici l'exemple d'un réglage :
P1 -temp: 07:30 - 08:30 19^
P1 2)-temp: 08:30 - 17:00 15^
P2 -temp: 17:00 - 23:00 19^
P2 23:00 - 07:30 15^
La fonction de TIMER n'est active que si la veilleuse est allumée. Pour couper la fonction de TIMER appuyez 1 fois sur OFF. La télécommande passen mode de MAN.
Thermostat
La télécommande sert aussi de thermostat du poèle à gaz. A l'aide de 3-temp et de 2-temp vous pouvez régler une température fixe pour la journée et la nuit. Pour un fonctionnement optimal il est conseilé de déposer la télécommande dans un rayon de 5m , l'écran étant orienté vers le poèle.
Allumage manuel
Votre Solea peut aussi être allumé à la main. Procedez comme suit :
- Ouvrez la portedu poele comme indiqué à la page 36 et enlevez le panneau sur le devant du pied.
- Déconnectez le cable d'allumage du récepteur et raccorder-le au bloc d'allumage.

- Mettez l'interrupteur « 0 I » dans la position « I ». Tournez le bouton du moteur entièrement vers la droite, des petits coup secs se faisant entendre. Mettez le bouton de commande dans la position « MAN »

- Enoncez à l'aide d'un stylo, par exemple, la petite goupille métallique et maintenez-la enforcée. Appuyez sur le petit bloc carré dans l'ouverture.

- Des petits coupès sont émis; la veilleuse s'allume. Lorsque la veilleuse est allumée, vousdez encore maintainir la goupille métallique enfoncée pendant quelques secondes.
Si vous éteignez la veilleuse, attendez 5 minutes au moins avant de repeter les opérations ci'avant.
6. Mettez le bouton de commande sur la position «ON».
7. Tournez le bouton du moteur vers la gauche pour allumer le brûleur. Puis, il est possible à l'aide du bouton du moteur de régler la hauteur des flammes.
Pour éteindre le feu, il faut returner le bouton du moteur entièrement vers la droite. La veilleuse reste alors allumée. Pour éteindre également la veilleuse, mettez le commutateur « O I » dans la position « O »
Mise en place du jeu de buches en céramique
Le Solea fonctionne au gaz naturel ou au gaz propane. Le modele gaz propane a un jeu de 7 buches; la version gaz naturel a 8 buches. Veiliez à ranger les buches de façon correcte (voir les figures). Faites en sorte qu'aucune buche ne se trouve devant la veilleuse. Cela empêcherais le brûleur principal de brûler et les gaz non brûlés s'accumuleraient dans le poèle. Dans ce cas-la, éteignez la veilleuse et attendez cinq minutes avant de rallumer le poèle.
Assurez-vous que la porte est bien fermée si vous allumez le poèle.
Veillez à ne pas laisser des traces digitales au verre. Elles seront marquées sur la vitre par la température élevée et ne s'enleveront plus par la suite.
Il est interdit de rajouter des bûches ou d'autres matières au jeu de bûches. Le poèle ne fonctionnerait pas proprement dans ce cas et pourrait être détiérioré irréparablement. Les bûches en céramique ne peuvent être replacées que par des bûches de WANDERS du même type.
Entretien
Petit entretien
Vous nettoiorez vous-même l'extérieur de votre poèle à l'aide d'un chiffon humide non pelucheux. Si du café ou un autre produit a été renversé sur le cadre ornamental pendant que le poèle brûle, il faudra l'eteindre immidiatement. Dès que le poèle est redevenu froid, vous pouvez enlever les taches avec un chiffon humide. La vitre froide peut être nettoyée à l'aide d'un détergent spécial pour plaques de cuisson céramiques.
N'utilise zi des détergents et abrasifs agressifs, ni de la pate à polir.
Entretien annuel
Il faut faire contrôle et entretenir votre poète à gaz par un installateur/agréé au moins une fois par an. Le contrôle et le nettoyage évientuel doivent concerner les éléments suivants:
- L'étanchéité des tuyaux d'évacuation des gaz et fumées et de l'amnée de l'air de combustion.
- Le fonctionnement correct du bloc de réglage du gaz et du circuit thermoélectrique (protection contre l'écoulement de gaz inopiné) et l'allumage




Arrangement jeu de buches et gaz naturel


Arrangement jeu de bùches et gaz propane
du brûleur principal.
- La canalisation entière, y compris la traversée murale ou de toit et le débouché à l'endetroit où il vient de dépasser la façade ou le toit.
L'usure eventuelle des joints des portes et fenêtres. - Le nettoyage doit porter sur le brûleur principal, la veilleuse, le tuyau d'évacuation des gaz et l'amnée de l'air de combustion. La poussière dans le poèle s'enlève avec un aspirateur.
Sécurité
Une source de chaleur de WANDERS, c'est plus que le seul poèle dans votre piece. Le conduit de fumée et la traversée murale ou de toit constituent aussi des éléments du système de chauffage. WANDERS ne pourrait garantir un fonctionnement de Solea en toute sécurité que s'il est installé en combinaison avec le conduit de cheminée concentrique de WANDERS.
Tous les poêles à gaz de WANDERS sont équipés d'une protection thermocouple. Cela empêche le gaz de s'écouler librement dans le cas où la veilleuse serait coupée.
Quelques consignes pour l'usage du Solea en toute sécurité:
- Ne chauffez le poèle que si la porte est bien fermée. Si la porte est ouverte ou la vitre est brisée, le poèle ne pourrait pas etre utiliser.
- Tenez les jeunes enfants et les personnes infirmes éloignés d'un poèle qui brûle et ne laissez-les pass leurs dans la pierce. Eventuèlement, vous pouvezmettre en place un pare-feu.
- Ne versez ou ne mettez pas des liquides ou des matériaux combustibles sur les buches. Ils risquent d'endommager le poèle irrémédiablenent.
- Ne laïsez jamais les enfants journés avec la télécommande.
- Le Solea ne peut jamais être encastré. La distance de sécurité jusqu'à la paroi en arrêt doit être de 10 cm au moins. Aménagez des distances laterales de 20 cm au moins.
Si vous Solea est tournant, la distance entre le Solea,quel que soit le degré de sa rotation, et le mur doit être de 20 cm au minimum. Pour des raisons de sécurité,la distance à partir de la face vitrée du Solea et le mur ne peut jamais être inférieure à 80 cm.
- Evitez la présence de matières combustibles, par exemple des rideaux, tout pres du poèle. Respectez un écartement d'au moins 1,5 m.
- Le poèle à gaz ne doit être réparé que par un installateur agrée en utilisant des pieces d'origine.
- Si pour une cause quelconque la veilleuse s'eteint, vous devrez attendre 5 minutes avant de rallumer le Solea.
Messages d'erreur
Il arrive parfois que vous Solea ne fonctionne pas à souhait, Avant contacter le vendeur de votre poèle à gaz ou un installateur/agréé, vous pourrez vérifier vous-même les messages d'erreur suivants.
La veilleuse ne s'allume pas.
- Vérifiez si le tuyau de l'amnéé du gaz est ouvert. Pour cela, enlevez le panneau frontal du socle du poèle et ouvre le robinet à gaz.
- Contrôlez les piles du récepteur et de la télécommande (voir la page 38).
- Le problème est peut-être cause par une brève interruption électronique. Ouvrez la porte du poèle (voir la page 36) et remettez le récepteur à zéro à l'aide de la touche reset à l'arrête du récepteur.
J'entends un son prolongé avec des courts intervalles lors de l'allumage de la veilleuse.
- Il s'agit du signal que les piles du récepteur doivent être replacées (voir la page 38). ÀpRES ce signal, vous pourrez encore dix fois environ allumer votre poéle.
J'entends un son continu qui dure 5 secondes.
- Uncâbledupoêlen'estpas raccardéoule commutateur «O I»ne se trouve pas dans la position «I». Ouvrez la portedu poêle(voirla page36),contrôlezlescâbles et le commutateur «O I».Si ensuite le poêle ne se met pas en marche,contactez un installeraturagréé.
J'entends 5 fois un signal bref. La veilleuse et le brûleur principal ne s'allument pas.
- La cause est peut-être la présence de l'air dans le tuyau de la veilleuse. Attendez 5 minutes et rallumez le poèle. Si cela ne marche pas non plus, contactez un installateur/agréé.
Garantie
Le Solea de WANDERS Metaalproducten B.V. à Netterden bénéficia d'une garantie de 1 an à partir de la date d'achat, à condition que le poèle ait été installé et utilisé conformément aux instructions données dans ce mode d'emploi. La garantie couvre tous les défauts qui résulteraient des vices de matière et de construction. Dans ce cas, vous receivez des pieces nouvelles gratuitement. Les frais de salaire et les autres frais n'entrent pas dans le champ de la garantie. Les pieces défectueuses peuvent être expediées franco à WANDERS Metaalproducten B.V., Amtweg 4, 7077 AL, Netterden. Pays-Bas.
La garantie ne s'applique pas aux dérangements provenant d'une mauvaise utilisation, d'un manque de respect des instructions d'installation et d'emploi, d'une installation réalisée par un installateur non-agréé, d'un défaut d'entretien et de la transformation du poèle pour un fonctionnement à un另一种 type de gaz.
WANDERS n'est pas responsable des éventuelles fissures au platrage de parement et des décolorations des parois, plafonds et/ou grilles après le chauffage du poèle. Les décolorations peuvent être causées par la combustion des grains de poussière dans le manteau de convection. Pour réduire au maximum les fissures au platrage et les décolorations éventuelles, veuillez vous reporter aux consignes généralement données dans le commerce sur les poêles d'ambiance. Vote installateur vous renseignera.
Les plaites sont examinées après qu'elles ont été représentées par l'établissement de vente, par l'insextat ou la Compagnie du gaz, accompaniesnes d'une copie de la facture d'achat indiquant la date d'achat. Les réparations ne donnent pas droit à une prerogation de la durée de garantie. Les dommages conséquents sont exclus.
Instructions d'installation du poèle à gaz Solea
Table des matieres
Consignes generales 43
Mise en place de la canalisation concentrique 44
Positionnements de la canalisation possibles 44
Mise en place d'une retenue 46
Achèvement de l'installation 46
Caracteristiques techniques 47
Consignes générales
Le poèle à gaz Solea est un système fermé et il ne peut être installé qu'en combinaison avec la canalisation concentrique de WANDERS. Le Solea satisfait à la norme européen CE pour les poêles à gaz si les conditions ci'avant sont réunies. WANDERS n'est soumise à aucune garantie si le poèle à gaz a été raccordé et/ou installé de manière incomplète ou incorrecte. La canalisation consiste en un conduit de fumée interieur d'un diamètre de 80 mm et d'un conduit extérieur de 150 mm.
Votre poèle à gaz ne peut être monté et raccordé que par un installateur agrée et selon les instructions d'installation suivantes. En outre, les législations et réglementations nationales et locales en vigueur relatives au montage et à l'usage d'appareils au gaz fermés sont d'application.
Avant de procéder à l'installation de l'appareil, l'installateur devra vérifier si les données de la plaque signalétique correspondent au type et à la pression du gaz auquel le poèle sera raccordé. Si ce n'est pas le cas, le Solea ne doit pas être raccordé.
Positionnement
Le poèle se pose sans problèmes dans une maison d'habitation isolée et/ou équipée d'une ventilation mécanique. Il n'y pas besoin de prévoir une aération complémentaire pour la combustion. Un ventilateur d'évacuation des gaz de fumees n'est pas non plus nécessaire. Les gaz de fumees sont evacués vers l'extérieur par tirage naturel par le canal interieur. L'oxygène nécessaire pour la combustion est améné par l'entre-deux des canaux. Pour cette raison il est interdit d'interposer une isolation entre les canaux interieur et extérieur.
Le Solea ne peut pas etre encastré. Assurez-vous que le plancher est assez solide. La distance jusqu'à la paroi en arrriere doit etre de 10 cm au moins. Prévoyez a gauche et adroite du poele un écartement libre de 20 cm au moins.
Si vous Solea est tournant, la distance entre le Solea, quel que soit le degré de sa rotation, et le mur doit être de 20 cm au minimum. Pour des raisons de sécurité incendie, la distance à partir de la face vitrée du Solea et le mur ne peut
ja mais être inférieure à 80 cm.
Assurez-vous que le Solea est installé sur un plancher suffisamment solide et en ligne avec le conduit de fumée. Si le poèle n'est pas à plomb par rapport à la canalisation concentrique, il ne peut pas pivoter.
Isolation
A cause des températures élevées allant jusqu'à env.150° Celsius (300° Fahrenheit) de l'enveloppe extérieure, il est interdit d'appliquer ou de poser des matières combustibles à proximé de la canalisation. Pour cette raison, les canaux concentriques doivent être mis entièrement dans une gaine depuis l'endroit où ils ne sont plus visibles jusqu'à au débouché dans la façade. Prévoyez une aération de la canalisation concentrique sous fourreau en aménageant une grille (par étage) à proximé du plancher et du plafond. Appliquez des étriers muraux universels d'un diamètre de 150 mm pour fixer la canalisation concentrique.
Si vous souhaitez utiliser une cheminée existante, il convient d'abord de vérifier si son isolation est suffisante et si son diamètre permet le raccordement à la canalisation concentrique. Une cheminée utiliséeAAParavant pour un foyer à bois ou à charbon doit être nettoyée profondement par un professionnel. Il faut toujours utiliser le dispositif de raccordement spécial de WANDERS pour un poèle à gaz qui sera raccordé à une cheminée existante.
Raccordement au gaz
Utilisez dans le tuyau d'amnéé du gaz un robinet d'arrêt G3/8" homologué avec raccord. Le raccordement de gaz de l'appareil est situé au socle. Le tuyau à gaz peut être raccordé en passant par le plancher ou par l'arrière. Pour le raccordement à l'arrière il est nécessaire d'enlever la plaque de rupture dans le panneau arrière du socle.
- Pour le raccordement utilisez le raccord rapide 12mm déjà monté au socle.
- Purgez le tuyau d'amnée avant d'accoupler le poële.
- Veillez à ce que le robinet de commande et les tuyaux ne soient pas tendus. Cela risque de provoquer des fuites de gaz.
- Vérifiez les raccords au gaz sur l'étanchéité au gaz.
Mise en place de la canalisation concentrique
La canalisation concentrique se compose de trois éléments: les canaux eux-mêmes, la traversée hors toiture ou murale et le débouché.
Prescriptions au montage du débouché
Le débouché des canaux peut être monté hors toiture ou contre une façon latérale du batiment.

Débouché hors toiture
L'orifice du débouché hors toiture doit être écartsé 50 cm au moins des planches de rive, exception faite d'un faité évientuel.
Il faut également tener compte de la position du débouché par rapport aux orifices d'áérage, aux fenêtres ouvrantes et aux prises d'air de combustion. Consultez les réglementations nationale et régionale.

Débouché dans la façade
L'orifice du débouché dans une façon latérale doit se couver à une distance de 50 cm au moins des coins du bâtiment, des avances de toit, des gouttières, des
balcons etc., sauf si le débouché se prolonge au moins jusqu'au devant de la saillie.
Il faut également tener compte de la position du débouché par rapport aux orifices d'áérage, aux fenêtres ouvrantes et aux prises d'air de combustion. Consultez les réglementations nationales et régionales
Positionnements de la canalisation possibles
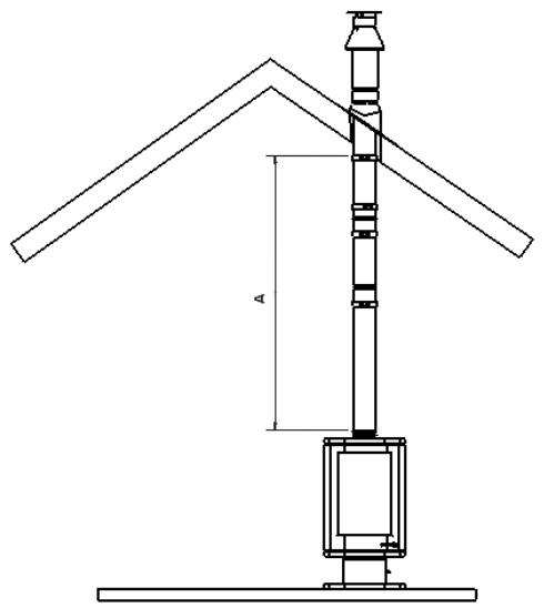
Pour permettre la rotation du poèle il faut toujours appliquer la buse tournante 4175 de WANDERS, le premier tuyau vertical « A ». La longueur totale de la canalisation ne pourrait jamais être supérieure à 10m , la traversée murale et le débouché dans la façon n'y étant pas compris. La longueur calculée d'un coude de 90^ est de 2m et celle d'un coude de 45^ est de 1m .
Pour le double tuyau d'évacuation des gaz de fumée et d'amnéée de l'air de combustion il faut appliquer un des positionnements possibles pour la canalisation concentrique de WANDERS : avec une traversée murale, avec une traversée de toit ou bien avec une traversée de toit avec déplacement.
Si vous utilisez une traversée murale, il faudra toujours commencer par poser un tuyau vertical de 1 m avant de monter la traversée murale.
Positionnement avec traversée murale
Commencez par monter un tuyau vertical avant de faire la traversée murale.
Type de gaz longeur canal A longeur canal B Plaque de retenue (min. - max.) (min. - max.)

Gaz naturel 1,0 - 3,0m 0 - 3,0m No
Gaz propane 1,5 - 3,0m 0 - 3,0m No
Les mesures ne prenent pas en compte la longueur de la traversée murale.
Positionnement avec traversée de tout

Type de gaz longueur canal A Plaque de retenue
(min. - max.)
Gaz naturel 1,0 - 10,0m à partir de 3,0 m. 50mm
Gaz propane 1,5 - 10,0m a partir de 3,0 m. 50mm
Les mesures ne prennt pas en compte la longueur de la traversée de tout..
Positionnement avec traversée de toit et déplacement

Type de gaz longueur canal B longueur canal A1 longueur canal A1 + A2 Plaque de retenue
(min.-max.) (min.-max.) (min.-max.)
Gaz naturel 1,0 - 10,0m 1,0 - 10,0m 1,0 - 10,0m Non
Gaz propane 1,0 - 10,0m 1,0 - 10,0m 1,0 - 10,0m Non
A1+A2:B≥2:1
La proportion de la longueur verticale par rapport à la longueur horizontale (ou 45^ vers le haut) est toujours de 2 sur 1 au minimum.
Les mesures ne prennt pas en compte la longueur de la traversée de tout.
Mise en place d'une retenue
Les tableaux indiquent aux pages 44 et 45 quand il est nécessaire d'appliquer une retenue. Si c'est le cas, la retenue devra être montée à l'intérieur de la chambre de combustion (voir la figure). La retenue doit avoir un diamètre de 50~mm

Attention: un montage incorrectementraîner des dérangements de l'appareil.
Achévement de l'installation
Maintenant que les canaux concentriques sont montés et le poèle mis à sa place, l'achèvement de l'installation se fait comme suit :
Ouverture de la porte
Le Solea ne peut brûler qu'à porte fermée. Pour plus de sécurité, la porte est verrouillée. L'ouverture de la porte est décrite à la page 36. Quand la porte est ouverte, il est possible d'introduire le jeu de bûches en céramique et les piles du récepteur. Le Solea peut être alimenté par le gaz naturel et par le gaz propanee.
Mise en place du jeu de bùches en céramique
Ne laissez pas des traces digitales
Veillez à ne pas laisser des traces digitales au verre.
Elles seront marquées sur la vitre par la température elevée et ne s'enleveront plus par la suite.
GAZ NATUREL
Mettez en place les 8 bûches céramiques comme dans les figures ci-après. Les bûches doivent être placées exactement selon l'exemple. Assurez-vous que la porte est fermée quand vous allumez le poèle.
Il est interdit de rajouter quelque chose aux bûches ou de modifier leur arrangement. Faites en sorte que la veilleuse puisse toujours brûler librement par-dessus le brûleur.
GAZ PROPANE
Mettez en place les 7 bûches céramiques comme dans les figures ci-contre. Les bûches doivent être placées exactement selon l'exemple. Assurez-vous que la porte est fermée quand vous allumez le poêle.
Il est interdit de rajouter quelque chose aux bûches ou de modifier leur arrangement. Faites en sorte que la veilleuse puisse toujours brûler librement au-dessus du brûleur.




Arrangement jeu de bùches: gaz naturel.


Arrangement jeu de buches: gaz propane.
Insertion des piles
La télécommande du Solea fonctionne à un bloc-piles de 9 V. Le récepteur dans le poèle fonctionne à 4 piles
de 1,5 V (type LR6 ou AA). La durée de vie des piles est de 1 an environ.

Remplacement des piles du récepteur

Remplacement du bloc-piles de la télécommande
techniques

Scheme bloc de réglage du gaz


Schemeelectrique du bloc de réglage du gaz et du récepteur
Caracteristiques techniques: type du gaz et consommation
| A | B | C | D | E | F | G | H |
| NL | G25 I2L | 25mb | 6,8kw | 10mb | 2,5 | 1,4 | 0,804 |
| NL | I3P | 30 | 5,0 | 29 | 1,2 | 1,1 | 0,196 |
| BE | G20/G25 I2E+ | 20/25mb | 7,3kw | 7,6mb | 2,5 | 1,4 | 0,770 |
| BE | I3P | 37 | 5,0 | 29 | 1,2 | 1,1 | 0,196 |
| FR | G20/G25 I2E+ | 20/25mb | 7,3kw | 7,6mb | 2,5 | 1,4 | 0,770 |
| FR | I3P | 37 | 5,0 | 29 | 1,2 | 1,1 | 0,196 |
| IT | G20 I2H | 20mb | 7,3kw | 7,6mb | 2,5 | 1,4 | 0,770 |
| IT | I3P | 37 | 5,0 | 29 | 1,2 | 1,1 | 0,196 |
| DE | G20/G25 I2ELL | 20mb | 7,3kw | 7,6mb | 2,5 | 1,4 | 0,770 |
| DE | I3P | 50 | 5,0 | 29 | 1,2 | 1,1 | 0,196 |
| AT | G20 I2H | 20mb | 7,3kw | 7,6mb | 2,5 | 1,4 | 0,770 |
| AT | I3P | 50 | 5,0 | 29 | 1,2 | 1,1 | 0,196 |
| GB | G20 I2H | 20mb | 7,3kw | 7,6mb | 2,5 | 1,4 | 0,770 |
| GB | I3P | 37 | 5,0 | 29 | 1,2 | 1,1 | 0,196 |
| PT | G20 I2H | 20mb | 7,3kw | 7,6mb | 2,5 | 1,4 | 0,770 |
| PT | I3P | 37 | 5,0 | 29 | 1,2 | 1,1 | 0,196 |
| ES | G20 I2H | 20mb | 7,3kw | 7,6mb | 2,5 | 1,4 | 0,770 |
| ES | I3P | 37 | 5,0 | 29 | 1,2 | 1,1 | 0,196 |
| DK | G20 I2H | 20mb | 7,3kw | 7,6mb | 2,5 | 1,4 | 0,770 |
| DK | I3P | 30 | 5,0 | 29 | 1,2 | 1,1 | 0,196 |
| LU | G20/G25 I2ELL | 20mb | 7,3kw | 7,6mb | 2,5 | 1,4 | 0,770 |
| LU | I3P | 37 | 5,0 | 29 | 1,2 | 1,1 | 0,196 |
| IE | G20 I2H | 20mb | 7,3kw | 7,6mb | 2,5 | 1,4 | 0,770 |
| IE | I3P | 37 | 5,0 | 29 | 1,2 | 1,1 | 0,196 |
| SE | G20 I2H | 20mb | 7,3kw | 7,6mb | 2,5 | 1,4 | 0,770 |
| SE | I3P | 30 | 5,0 | 29 | 1,2 | 1,1 | 0,196 |
| NO | G20 I2H | 20mb | 7,3kw | 7,6mb | 2,5 | 1,4 | 0,770 |
| NO | I3P | 30 | 5,0 | 29 | 1,2 | 1,1 | 0,196 |
A: Land / Country / Pays / Land
B: Gastype / Gastype / Type de gas / Gasart
C: Voordruk / Prepressure / Pre pression / Vordruck
D: Belasting o.w. / Nom. Press. OW / Nom. Pression OW / Nom. Belastung
E: Branderdruk / Burner pressure / Pressi on brule on / Brennerdruck
F: Inspuiter / Injector / Buse / Einspritzer
G: Kleinstand inspuiter / Low stand injector / Buse petit feu / Klein Stand Einspritzer
H: Verbruik / Consumption / Consommation / Verbrauch
Notice Facile