SOLEA GAS - Gasfornuis WANDERS - Gratis gebruiksaanwijzing en handleiding
Vind de handleiding van het apparaat gratis SOLEA GAS WANDERS in PDF-formaat.
Download de handleiding voor uw Gasfornuis in PDF-formaat gratis! Vind uw handleiding SOLEA GAS - WANDERS en neem uw elektronisch apparaat weer in handen. Op deze pagina staan alle documenten die nodig zijn voor het gebruik van uw apparaat. SOLEA GAS van het merk WANDERS.
GEBRUIKSAANWIJZING SOLEA GAS WANDERS
Van harte gefeliciteerd met de aanschaft van uw Solea gaskachel. Een comfortabele warmtebron waar u jarenlang plezier van zult hebben.
De Solea kent een zogenaamd gesloten system met een dubbelwandig rookkanaal. Alle rookgassen worden direct afgevoerdaar buiten via het binnenste kanaal. Het butenkanaal zuigt verse lucht waar binnen waardoor u alkijd een moot vlambeeld heeft. De Solea kan in principe in elke ruimte worden opgesteld, zichs in ruimtes zonder ventilatie of met mechanische ventilatie.
Bij de ontwikkeling van deze gashaard hebben we gelet op gebruiksgemak en bedrijfszekerheid. De Solea is ontwikkeld en geprodueerd in unsere eigen fabrik in Netterden en voor een belangrijk deel handgemaakt. Voor de constructie zich alleen de Beste materialen gebruikt die voldoen aan internationale normen. Zo heeft u de garantie van een lange levensduur voor deze gashaard.
In het eerste deel van deze handleiding geen we u tips en aanwijzingen voor een juist en veilig gebruik van uw gashaard. In deel twee staan de installmentievoorschriften en de technische specificaties van de Solea. Deze zijn vooral van belang voor de installerateur.
Het is raadzaam om voor de ingebruikname van uw kachel deze handleiding zorgvuldig te lezen enervoivgens goed te bewaren. Uw installateur kan deze handleiding nodig hebben voor het一年多ijse onderhoud van uw Solea.
Wij wensen u veel warmte met uw aanschaf.
Het Team van WANDERS
Inhoudsopgave
Installatie 4
Ingebruikname 4
Klaar voor gebruik 5
Eerstekeerstoken 5
Batterijen 6
Instellen van de afstandsbediening 6
Handmatige ontsteking 7
Plaatsen van de keramische houtset 8
Onderhoud 8
Veiligheid 9
Mogelijkefoutmeldingen 9
Garantie 10
Installievoorschriften 11
Technische tekeningen 65
Installatie
Over het algemeen zorgt de dealer waar u de Solea heeft aangeschaft, ook voor de installmentie van de kachel en de aansluiting op het gasnet. Is dat Niet het geval, verzeker u er dan van dat de installmentie worden UITgevoerd door een erkende installmenteur. Aansluiten van gasinstallaties door onbevoegden is verboden. Wij+kunnen u in dat geval geen garantie gezven op de juiste werkig van de Solea.
Indien u voor een draaibare Solea heeft gekozen, kunt u de haard draaien en vergrendelen op elke 30 graden linksom of rechtsom. Zo kunt u de vlammenaar u toe draaien, waar in de kamer u ook maar zit. Draaien kan alleen als de haard direct onder de schoorsteenpijp is bevestigd en op een stevige vloer staat. Met de knop aan derechterkant van de voet van de haard (zie Foto) kunt u de Solea vergrendelen en ontgrendelen.

Ingebruikname
Wanner u voor de eerste keer de Solea wilt gebruiken, gaat u als volgt te werk:
- Open de deur van de gaskachel (zie kader hieronder)
In het midden ziet u het gasregelblok (zieoto).

Het gasregelblok
- Zet de O I - schakelaar op stand I.
- Draai de bedieningsknop maar de ON positie.
- Sluit verwolgens de deur van de Solea en vergrendel deze.
Vermijd vingerafdrukken
Let er op dat u geen vingerafdrukken awhile op het glas.Vingerafdrukken branden in het glas en+zijn daarna Niet te verwijderen.
Openen van de deur

1. De complete Solea.

2. Verwijder de klemband rond de kachelpijp.

3. Til de bovenkant ie's op en versuschuif deze.

4. Verwijder de rechtter ijplaat.

5. Verwijder de schroef in de vergrendeling.

6. De deur kan geopend worden.
Klaar voor gebruik
Nadat de Solea is aangesloten op het gasnet en is ingesteld, is de haard maar voor gebruik. Neem de afstandsbediening in uw hand en richt deze op de gashaard. Druk tegelijkertijd op de toetsen 'OFF' en de bovenste, grote knop . Een korte piep geeft aan dat het signal de ontvanger bereikt en u=kunt beiden knappen loslaten. Vervolgens hoort u enkele korte piepjes, waarna de waakvlam gaat branden. Na enkele seconden zal ook de kachel gaan branden op de hoogste stand. Met de grote knappen in het midden van de afstandsbediening, kut u de hoogte van de vlammen handmatig instellen.
Met de knop gaat de kachel harder branden. Met de knop zet u de kachel zachter. Wanneer u de knop ingedrukt houdt, gaat de kachel op standby. De waakvlam blijft branden.

Eerstekeerstoken
Wanneer u de Solea voor de eerste keer gebruikt,要去 de gashaard 'instoken'. Het toestel is voorzien van een hittebestendige laklaag die nog要去 inbranden in de kachel. Dat kan een vervelende geur met zich meebrengen, maar die is verder onschadelijk. We raden u aan de kachel circa drie uur te stoken op de hoogste stand waar bij u de ruimte goed ventiliert.
In het stookseizoen is het verstandig de waakvlam te lately branden. Dat voorkomt eventuele condensvorming en möglichk kalksporen aan de binnenzijde van de deur.
Tijdens het instoken kan een aanslag komen op het glas van de kacheldeur. Deze aanslag verwijdert u eenvoudig
als de kachel koud is met een Licht vochtige doek en eventueel wat schoonmaakmiddel voor keramische kookplaten. Hoe u de kacheldeur opent en weeer sluit leest u op pagina 4. Let er op dat u geen vingerafdukken weiterlaat op de vuurzijde van het glas voordat u de deur sluit. Vingerafdukken branden in in het glas als u de kachel gaat stoken.
Verkleuren van wanden, plafonds en roosters
Na het stoken van de haard hunnen wanden, plafonds en roosters verkleuren. Dit komt doordat stofdeeltjes verbranden in de convectiemantel. Dit is een tatsächelijk proces waar WANDERS Niet verantwoordelijk voor is. Om verkleuring te minimaliseren verwijzen wij hier het advies dat gegeven worden in de sfeerhaardenbranche. Uw installmentar kan u hierover informeren.
Tijdens de eerste keer stoken, berekent de Solea zich hoeveelarend nodig is om de ingestelde temperatuur te bereiken. Op basis waarvan, kiest de Solea verrolgens alotijd de meest efficiente manier om het vertrek te verwarmen. Het kan dus voorkomen dat als u de kachel ontsteekt, de vlammen Niet direct maar de hoogste stand gaan.
Let erop dat er geen houtblokken voor de waakvlam liggen. Het gas要去 vrijelijk maar de hoofdbrander konnen stromen. De hoofdbrander bevindt zich onder de houtset. Voor een juiste opstelling van de keramische houtset,zie pagina 8.
Nieuwbouwwoning of recente renovatie?
Wacht zes weken met stoken in een nieuwbouwwoning die recent is opgeleverd, of een ruimte die onlangs sterk is gerenoveerd. In muren en plafonds zitten dan nog gassen,Weekmakers en vocht afkomstig van stuc- en schilderwerk. Door de warme luchtstromen, kann den vele stofdeeltjes in de ruimte verkleuren en vastplakken aan wanden en plafonds. Ook het vocht in de muren en plafonds worden warm, wat gele vlekken kan verroorzaken.
Batterijen
Standaard worden de Solea geleverd met batterijen in de ontvanger van de haard. Als de elektronische ontsteking van de gashaard Niet werkt,+zijn lege batterijen van de ontvanger de meest voor de hand liggende oorzaak. Wij adviseren u bij de installmentie nieuwe batterijen teplaatsen in de ontvanger en in de afstandsbediening. De ontvanger in de kachel werkt op vier batterijen van 1,5 Volt (type LR6 of AA).De afstandsbediening werkt op een 9V-blokbatterij. De batterijen gaan ongeveer eenJAar mee.
Als u bij het ontsteken van de kachel een lange geluidstoon hoort met korte tussenpozen, is dat het teken dat de batterijen in de ontvanger aan verranging toe+zijn. Bij de afstandsbediening is het zendsignal ook de indicator dat de batterijen要去en worden verrangen. Elke keer als u met de afstandsbediening de kachel bedient, ziet u rechts bovenin het display het zendsignal. Als u.Deze nietmeer ziet bij het indrukken van de toetsen, moet de batterij in de afstandsbediening worden verrangen.

Vervangen van de batterijen van de ontvanger.

Vervangen van de batterij in de afstandsbediening.
Instellen van de afstandsbediening
De afstandsbediening van uw Solea is eenvoudig in te stellen. Heeft u dit eenmaal gedaan, dan kut u in een handomdraai uw kachel bedieren. Daarnaast kut u met de afstandsbediening vier tijsblokken instellen voor de gewenste temperatuur.
We raden aan bij het instellen van de afstandsbediening de kachel uit te zetten. Zo voorkomt u dat per ongeluk de kachel hoger of juist lager worden gezet.
Als de Solea meer dan ces uur geen signal ontvangt van de afstandsbediening, schakelt de kachel automatisch terug maar de waakstand. De waakvlam blijf dan branden.
Als de waakvlam uitschakelt na het stoken, wacht dan minimaal vrij minuteu voordat u de kachel wee anzet.
Tijd en datum
Wanneer u voor de eerste keer de batterij in de afstandsbedieningplaatst, zal kort 0:00 knipperen. Vervolgens ziet u op het display de temperatuur, deijd (0:00) en linksonder 'MAN' weergegeven.
Druk tegelijkertijd op de grote knoppen en . In het display begint de tijsdaanduiding te knipperen. Met de knop kiest u het juiste uur. Met de knop stelt u de Minutes in. Wacht even of druk op 'OFF' om de ingesteldeijd op te slaan.
U kunt wisselen:tussen de aanduiding graden Celsius /24-uurs weergave en de Amerikaanse weergave Fahrenheit/12-uurs weergave. Houdt de toetsen 'OFF' en twee seconden vast en de aanduiding verspringt automatisch.
SET: wijzigen van de gebruikersmodus
Met de 'SET'-knop=kunt u zich bepalen hoe u uw Solea wilt bedieren.
Er zijn vier gebruikersmodi: MAN, ™-temp, ℡-temp en TIMER. Door elke keer kort de set-knop in te drukken, loopt u door de verschillende modi.
MAN
In de positie 'MAN'=kunt u handmatig met de große knoppen de kachel hoger ▲ en lager ▼ zetten. Als u de ▼ knop vasthoudt, gaat de kachel maar de laagste stand; op de waakvlam. Elke keer als u vanuit een andere functie (3-temp, 2-temp of TIMER) op ▼ of ▲ drukt, schakelt de afstandsbediening over op 'MAN'.
- temp
Druk 1 keer kort op SET en het ™-temp verschijnt in het display. Houdt de 'SET'-knop wat langer ingedrukt totdat de aanduiding voor de dagtemperatuur begint te
knipperen. Met de große knoppen en stelt u per halve graad de dagtemperatuur in. De afstandsbediening keert automatisch terug maar de dagtemperatuur. De dagtemperatuur heeft een minimum van 5 graden Celsius.
- temp
Druk 2 keer kort op SET en het -temp verschijnt in het display. Houdt de 'SET'-knop wat langer ingedrukt totdat de aanduiding voor de nachttemperatuur begint te knipperen. Met de grote knoppen en stelt u per halvegraad de dagtemperatuur in. De afstandsbediening keert automatisch terug maar de nachttemperatuur. De nachttemperatuur heeft een minimum van O graden Celsius. In het display verschijnt dan het teken - - ^
TIMER
In totaal Aunt u vierijdinen instellen voor de Solea. Wanner u deijden op elkaar LAST aansluiten, bent u.altijd verzekererd van een comfortabele warmte in uw vertrek.
Druk 3 keer op SET en op het display verschijntrechtsonder hetwoord 'TIMER'. Houdt de 'SET'-knop ingedrukt totdat P1 verschijnt en de tjdsaanduiding knippert. Met de knuppen en kurz u respectievelijk de uren en de minuten instellen. Door de 'SET'-knop kort in te drukken doorloopt u het timerprogramma P1 und -temp, P1 -temp, P2 -temp en P2 -temp. Onderstaand een voorbeeld van een mogelijk instelling.
P1 -temp: 07:30 - 08:30 19^
P1 2)-temp: 08:30 - 17:00 15^
P2 -temp: 17:00 - 23:00 19^
P2 2)-temp: 23:00 - 07:30 15^
De Timerfunctie werkkt alleen als de waakvlam brandt. Om de Timer-functie uit te schakelen, drukt u 1 keer op 'OFF'. De afstandsbediening schakelt over maar de 'MAN'-positie.
Thermostat
De afstandsbediening is ook dethermostat van degashaard.
Met ③-temp en ②-tempkest u een vaste temperatuur voor overdag en de avond instellen. Voor een optimale werkung, adviseren we u de afstandsbediening bennen een straal van vrij meter neer te leggen, met het display richting de kachel.
Handmatige ontsteking
Uw Solea cunt u ook handmatig ontsteken. Dat gaat als volgt:
- Open de deur van de kachel zoals aangegeven op pagina 4. Verwijder de frontplaat van de voet.
- Ontkoppel de ontstekingskabel van de ontvanger en sluit deze aan op het ontstekingsblok.

- Zet de '0 l' schakelaar in de 'l' positie. Draai de motorknop geheel rechtsom, dat maakt een tikkend geluid. Zet de bedienings-knop in de stand 'MAN'.

- Duw met een pen in het große gat gegen het metalen staafje en houdt deze ingedrukt. Druk op het vierkante blokje in de uitsparing.

- U hoog nu een tikkend geluid, de waakvlam worden ontstoken. Als de waakvlam brandt, dient u het metalen staafje nog 10 seconden ingedrukt te houden.
Als de waakvlam uitschakelt, wacht dan minimaal vrij这段时间 voordat u bovenstaande stappen herhaalt.
- Zet de bedieningsknop op de 'ON' positie.
- Draai de motorknop waar links om de brander te ontsteken. Vervolgens kunt u met de motorknop de vlamhoogte instellen.
Om het vuur te doven, draait u de motorknop waar helemaalaar rechts. De waakvlam blijft dan branden. Als u de 'O I' schakelaar in de 'O' stand zet, schakelt u ook de waakvlam UIT.
Plaatsen van de keramische houtset
De Solea functioneert op aardgas of propaangas. De propaanversie heeft een houtset van 7 blokken, de aardgasversie heeft 8 blokken. Let erop dat u de blokken op de juiste wijzeplaatst (zie afbeeldingen). Voorkom dat een bloc voor de waakvlam komt te liggen. De hoofdbrander kan dan nicht gaan branden en onverbrand gas kan zich verzamelen in de kachel. In dat geval dient u de waakvlam te doven en vrij minuten te wachten voordat u de haard opnieuw ontsteekt. Zorg ervoor dat de deur is gesloten wanner u de haard stookit.
Let er op dat u geen vingerafdrukken achechterlaat op het glas. Vingerafdrukken branden in het glas en+zijn daarna Niet te verwijdenen.
Het is verboden extra (hout-)blokken of ander materiaal toe te voegen aan de houtset. De kachel werkdt dan nicht maar behoren en kan onherstelbaar beschadigen.
Onderhoud
Klein onderhoud
U kurz selbst uw koude kachel aan de buitenkant schoonmaken met een Licht vochtig doek die nicht pluist. Mocht u koffie ofiets anders over de brandende kachel morsen, zet de haard dan onmiddelijk uit. Eenmaal afgekoeld kurz u eventuele vlekken verwijderen met een Licht vochtige doek. Het afgekoelde glas kurz u reinigen met speciaal schoonmaakmiddel voor keramische kookplaten.
Gebruik geen agressieve schoonmaak-enschuurmiddelen en geen kachelpoets.
Jaarlijs onderhoud
Uw gaskachel moet minimaal eén keer per Jaar worden gecontroleerd en onderhoden door een erkend installeratuar. De volgende onderdelen worden dan nagekeken en eventueel schoongemaaakt:
- De dichtheid van de gas- en rookgasafvoer en de verbrandingsluchttoevoer.
- De juiste werkung van het gasregelblok, het thermokoppelcircuit (beveiliging gegen onverwachte gasuitstroom) en het ontsteken van de hoofdbrander.




Opstelling houtset met aardgas.


Opstelling houtset met propaangas.
- Het volledige kanalensystem, inclusief de gevel- of dakdoorvoer en de uitmonding net.daarbuiten.
Eventuele slijtage van afdichtingen van deuren en glasramen. - Schoongemaaakt worden: de hoofdbrander, de waakvlam, de rookgasafvoer en de toevoer van de verbrandingslucht. Stof in de kachel kan met een stofzuiger schoongemaaakt worden.
Veiligheid
Een warmtebron van WANDERS, is meer dan alleen de haard in uw vertrek. Ook het rookkanaal en de dak- of geveldoorvoer makeen deel uit van het verwarmingssystem. Alleen als de Solea is geinstalleerd met het concentrische rookkanaal van WANDERS, hunnen wij u garanderen dat uw kachel veilig brandt.
Elke gashaard van WANDERS is voorzien van een thermokoppelbeveiliging. Dit voorkomt dat gas vrij uitstroomt als de waakvlam isuitgeallen.
Een aantal aanbevelingen voor een veilig gebruik van uw Solea:
- Stook uw gashaard alleen met een gesloten deur. Als de deur open staat of het glas is gebroken, mag u de kachel Niet Gebruiken.
- Voorkom datkleine kinderen of hulpbehoevenden in de buurt van een brandende kachel komen en LAST ze Niet alleen als de haard brandt. Gebruik eventueel een haardschem.
- Giet of leg geen brandbare vloeistoffen en materialen op de houtset. Dit kan de kachel onherstelbaar beschadigen.
- Laat kinderen nooit spelen met de afstandsbediening.
- De Solea mag nooit worden ingebouwd. De afstand van de Solea tot dechterliggende wand要去 minimaal 10 centimeter�. Aan de zijkanten要去 minimaal 20 centimeter vrij ruimte�.
Heeft u een draaibare Solea, dan要去 de afstand van de Solea tot de muur in elke gedraide positie minimaal 20~cm ল. De afstand van de glaszijde van de haard tot aan de muur mag nooit minder dan 80 cmল in verband met brandveiligheid.
- Plaats geen brandbare materialen, bijvoorbeeld gordijnen, vlak bij de haard. Houd minimaal een afstand van 1,5 meter aan.
- De gashaard mag alleen gerepareerd worden met originele onderdelen en door een erkend installmenter.
- Mocht om welke reden dan ook de waakvlamuitvallen, wacht dan vrij minuteu voordat u de Soleaweer ontsteekt.
Mogelijkke foulmeldingen
Het kan voorkomen dat uw kachel Nietaar wens functioneert.Voordat u contact opneemt met de verkoper van uw Solea of een erkend installmenteur, kurz u zich de volgende foutmeldingen controleren.
De waakvlam slaat nicht aan.
- Controller of de gastoevoer open staat. Verwijder daartoe de voorplaat van de voet van de kachel en draai de gaskraan open.
- Controller de batterijen van de ontvanger en de afstandsbediening (zie paging 6).
- Deoorzaak kan eenkleine elektronische onderbreking zijn. Open de deur van de kachel (zie pagina 4) en reset de ontvanger met de reset knop aan dechterzijde van de ontvanger.
Ik hoor een lange toon met korte tussenpozen bij het ontsteken van de waakvlam.
- Dat is het signala om de batterijen van de ontvangerte verrangen (zie pagina 6). Na dit signala kunt u nogcirca 10 keer uw kachel ontsteken.
Ik hoor een continu signal dat 5 seconden duurt.
- Eén van de kabels in de kachelis is Niet aangesloten of de 'O I' schakelaar staat Niet op de 'I' positie. Opend de leur van de kachel (zie pagina 4), controller en de kabels en de 'O I' schakelaar. Mocht de haard verwolgens nog Niet gaan branden, schakel dan een erkend installeratour in.
Ik hoor 5x een kort signal. De waakvlam en de hoofdbrander ontsteken Niet.
- Mogelijkkeoorzaakisluchtindewaakvlamleiding. Wachtvijf minuten en ontsteek de kachel opnieuw. Lukt dit opnieuw Niet, schakel dan een erkend installmenter in.
Garantie
Op de Solea gashaard biodt WANDERS Metaalproducten B.V.teNetterdeneengarantievan 1 jaarna aankoopdatum, mits de gashaard op de juiste wijze is geinstalleerd en worden gebruikt volgens de aanwijzingen in deze handleiding. Onder de garantie vallen alle gebreken die te herleiden zijn tot materiaal- en constructiefouten. In die geallen ontvangt u gratis neue onderden. Arbeidsloon en andere kosten vallen nicht onder de garantie. Defecte onderdelen kunt u franco toezenden aan WANDERS Metaalproducten B.V., Amtweg 4, 7077 AL, Netterden.
Buiten de garantie vallen: storingen ontstaan door onoordeelkundig gebruik; nieduiste naleving van de installment- en bedieningsvoorschriften; installment door een Niet-erkend installer, verwaarlozing van het toestel en het ombouwen van de haard maar een andere gassoort.
Wanders is Niet verantwoordelijk voor eventuele scheuren in sierpleisterwerk en verkleuringen van wanden, plafonds en/of roosters na het stoken van de haard. Verkleuringen können ontstaan doordat stofdeeltjes verbranden in de convectiemantel. Om de kans op scheuren in sierpleisterwerk en eventuele verkleuringen te minimisieren verwijzen wij maar het advies dat gegeven worden in de sfeerhaardenbranche. Uw installmentar kan u hierover informeren.
Klachten worden in behandeling genomen nadat de verkoopfirma/installateur of het gasbedrijf een klacht heeft ingediend, vergezeld van de aankoopdatum en een kopie van de aankoopbon. Reparations geenrecht op verlenging van de garantietermijn. Alle gevolgschade wordenuitgesloten.
Installievoorschriften Solea gashaard
Inhoudsopgave
Algemene aanwijzingen 11
Plaatsen van het concentrische kanalensystem 12
Opstellingsmogelijkheden kanalensysteme 12
Plaatsen van een stuw 14
Afronden van de installment 14
Technische gegevens 15
Algemene aanwijzingen
De Solea gashaard is een gesloten system en mag alleen geinstalleerd worden in combinatie met het WANDERS concentrische kanalensystem. Pas dan is de Solea goedgekeurd volgens de Europese CE-norm voor gastroestellen. We bieden geen garantie wanner de Solea onvolledig of onjuist is aangesloten en geinstallerd. Het kanalensystem bestaat uit binnenkanaal met een diameter van 80mm en een buitenkanaal van 150mm .
Het toestel mag alleen geplaatst en aangesloten worden door een erkend installerateur en volgens de onderstaande installmentevoorschriften. Daarnaast gelden de nationale en lokale wet- en regelgeving voorplaatsing en gebruik van gesloten gastroestellen.
Voor de installmentie van het toestel dient u als installerateur te controlleren of de gegevens op het typeplaatje overeenkomen met de gassoort en de gasdruk waar het toestel op aangesloten worden. Is dit nicht het geval, dan mag de Solea Niet worden aangesloten.
Plaatsing
De gashaard is zonder problemen teplaaten in een kierdichte en/of mechanisch geventileerde woning. Hiervoor is geen extra beluchting voor de verbranding nodig. Ook een rookgasventilator hoeft nicht geplaatst te worden. Rookgassen worden door natuurlijke trek via het binnenkanaal maar buiten afgevoerd. De zuurstof om de kachel te stoken, worden tussen de kanalen aangevoerd. Het is om die reden verboden isolatie aan te brengen:tussen het binnen- en buitenkanaal.
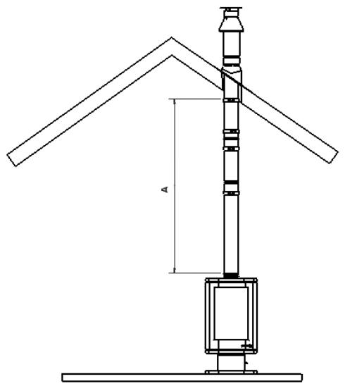
De Solea mag Niet worden ingebouwd en moet op een voldoende stevige vloer worden geplaatst. De afstand van de Solea tot de hinterwand moet minimaal 10 cm়n. Links en rechts van de kachel moet minimaal moet 20 cm vrij ruimte়n.
Bij de draaibare Solea要去 de afstand tot de muur in elke gedraaide positie minimaal 20~cm waar. De afstand van de glaszijde van de haard tot aan de muur要去 in elke gedraaide positie minimaal 80~cm waar, in verband met brandveiligheid. Zorg ervoor dat de Solea
op een voldoende stevige vloer staat, in lijn met het rookkanaal. Staat de kachel UIT het lood ten opzichte van het concentrische kanalensystem, dan kan hij nicht draaien.
Isolatie
In verband met de hoge buitenwandtemperaturen tot circa 150 graden Celsius (300 graden Fahrenheit) is het verboden brandbare materialen in de nabijheid van het kanalensysteme toe te passen of teplaatsen. Het hele concentrische kanalensysteme moet omkokerd worden tussen deplaats waar deze uit het zich verdwijnt tot deuitmongding in de buitengevel. Ventileer het omkokerde concentrische kanaal door (per verdieping) nabij vloer en plafond een rooster teplaatsen. Gebruik universe muurbeugels met een diameter van 150~mm voor het bevestigen van het concentrische kanalensystem.
Als er gebruik worden gemaakt van een bestaande schoorsteen, dient u eerst na te gaan of deze schoorsteen voldoende is geisoleerd en een voldoende diameter heeft voor het concentrische kanalensystem. Als de schoorsteen eerder is gebruikt voor een hout of kolen openhaard要去 deze vakkundig worden schoongemaakt. Voor aansluiting van een gashaard op een bestaande schoorsteen,要去 u de speciale aansluitset van WANDERS gebruiken.
Gasaansluiting
- Gebruik in de toevoerleiding een goedgekeurde G3/8'' stopkraan met koppeling. De gasaansluiting van het toestel zit in de voet. De gasleiding kan via de vloer of via dechterzijde worden aangesloten. Voor aansluiting van de gasleiding aan dechterzijde,要去 het breekplaatje in dechterwand van de voet eruit gebroken worden.
- Voor de aansluiting要去 12mm knelkoppeling gebruikt worden die al in de voet is gemonteerd.
- Ontlucht de toevoerleiding voordat het toestel worden vastgekoppeld.
- Vermijd spanningen op de bedieningskraan en leidingen. Dit geeft kans op gaslekkage.
- Controller de aansluiting op gasdichtheid.
Plaatsen van het concentrische kanalensysteme
Het concentrische kanalensystem bestaat uit drie onderdelen: de kanalen zich, de doorvoer door dak of muur en de uitmonding.
Voorschriften voor hetplaatsen van de uitmonding
De uitmonding van het kanalensystem kan men bovendaksplaatsen, of gegen een zichgevel van het gebouw.

Uitmonding bovendaks
Bijplaatsing bovendaks, moet de uitmonding minimaal 50 centimeter zijn verwijderd van dakranden met uitzondering van de eventuele aanwezigene nok. Houd ook rekening met de plaat van de uitmonding ten opzichte van ventilatieopeningen, beweegbare ramen en verbrandingsluchttoevoervoorzieningen. Raadpleeg hiervoordne nationale en regionale voorschriften.

Uitmonding in de gevel
Bijplaatsing in eenziggevel, moet deuitmonding minimaal 50 centimeter zich verwijderd van hoeken van het gebouw,dakoverstekken,dakgoten en balkons en
dergelijke. Die aufstand is Niet nodig als de uitmonding doorloopt tottenminste de voorzijde van het overstekende.Deel.
Houd ook rekening met deplaats van de uitmonding ten opzichte van ventilatieopeningen, beweegbare ramen en verbrandingsluchttoevoervoorzieningen. Raadpleeg hiervoordne nationale en regionale voorschriften.
Opstellingsmogelijkheden kanalensysteme
Om de kachel draaibaar te makes is alkijd de WANDERS draaibuis 4175 nodig, de eerste verticale buis A. De totale lenghte van het kanaalsystem mag nooit meer zich dan 10 meter exclusief de doorvoer door de muur en deuitmongding in de gevel. Een haakse bocht van 90 graden geldt als een lenghte van 2 meter. Voor een bocht van 45 grade is de rekenlengte 1 meter.
Voor de gecombineerde rookgasafvoer en verbrandingsluchttoevoer要去 een van de volgende opstellingsmogelijkheden gebruiken van het WANDERS concentrische kanalensystem: met muurdoorvoer, met dakdoorvoer of dakdoorvoer met versleeping. Plaats bij geveldoorvoer algijd eerst een meter vertikaal voordat u de geveldoorvoer maakt.
Opstelling met muurdoorvoer
Plaats algid eerst een meter vertikaal voordat u de geveldoorvoer maakt.

Gassoort lengte kanaal A lengte kanaal B Stuwplaat
| (min. - max.) | (min. - max.) | ||
| Aardgas | 1,0 - 3,0 meter | 0 - 3,0 meter | Nee |
| Propaangas | 1,5 - 3,0 meter | 0 - 3,0 meter | Nee |
Alle maten zich exclusief de lenghte van de muurdoorvoer.
Opstelling met dakdoorvoer

Gassoort lengte kanaal A Stuwplaat
(min. - max.)
Aardgas 1,0-10,0 meter vanaf 3,0 meter 50mm
Propaangas 1,5-10,0 meter vanaf 3,0 meter 50mm
Alle maten zijn exclusief de lenghte van de dakdoorvoer.
Opstelling met dakdoorvoer en versleeping

| Gassoort | lengte kanaal B(min. - max.) | lengte kanaal A1(min. - max.) | lengte kanaal A1 + A2(min. - max.) | Stuwplaat |
| Aardgas | 1,0 - 10,0 m | 1,0 - 10,0 m | 1,0 - 10,0 m | Nee |
| Propaangas | 1,0 - 10,0 m | 1,0 - 10,0 m | 1,0 - 10,0 m | Nee |
A1+A2:B≥2:1
Deverhouding verticale lenghtetot horizontale lenghte
(of 45 graden omhoog) is alkijd minimaal 2 op 1.
Alle maten zijn exclusief de lenghte van de dakdoorvoer.
Plaatsen van een stuw
In de tabellen op pagina 13 staat aangegeven wonneer er een stuw geplaatst moet worden. Is dit het geval, dan dient de stuw aan de binnenkant van de verbrandingskamer geplaatst te worden (zie afbeeling). De diameter van de stuw要去 50 millimeter�.

Let op: verkeerde montage van de stuw, kan storingen geben aan het toestel.
Afronden van de installment
Het concentrische system is geinstalleerd en de kachel is geplaatst. Afronding van de installmentie gaat als volgt:
Openen van de deur
De Solea mag alleen gestoekt worden met een gesloten deur. Voor de veiligheid is de deur vergrendeld. Hoe de deur te openen, staat beschreiben op pagina 3. Is de deur open, dan kan men de keramische houtset plaatsen en de batterijen voor de ontvanger. De Solea kan gestoekt worden met aardgas en met propaangas.
Plaatsen van de keramische houtset
Vermijd vingerafdrukken
Als u de blokken heegt geplaatst,That dan geen vingerafdrukken ache ter op het glas voordat u de deur sluit. Vingerafdrukken branden in het glas en zich daarna Niet te verwijderen.
AARDGAS
Plaats de 8 keramische houtblokken zoals hieronder is afgebeeld, exact volgens het voorbeeld. Zorg er voor dat de deur zich is voordat u de kachel aansteekt.
Het is Niet toegestaan om aan de keramische houtblokken ieets toe te voegen of te wijzigen. Zorg dat de waakvlam.altijd vrij over de brander kan branden.
PROPAANGAS
Plaats de 7 keramische houtblokken zoals hieronder aufgebeeld, exact volgens het voorbeeld. Zorg er voor dat de deur zich is voordat u de kachel aansteekt.
Het is Niet toegestaan om aan de keramische houtblokken ieets toe te voegen of te wijzigen. Zorg dat de waakvlam.altijd vrij over de brander kan branden.




Opstelling houtset met aardgas


Opstelling houtset met prpaangas
Plaatsen van de batterijen
De afstandsbediening van de Solea werkt op een 9V-blokbatterij. De ontvanger in de kachel functioneert
met vier batterijen van 1,5 Volt (type LR6 of AA). De batterijen gaan circa 1aar mee.

Vervangen van de batterijen van de ontvanger.

Vervangen van de batterij in de afstandsbediening.
Technische gegevens

Schema gasregelblok


Elektrisch schema gasregelblok en ontvanger
Technische gegevens gassoort en verbruik
| A | B | C | D | E | F | G | H |
| NL | G25 I2L | 25mb | 6,8kw | 10mb | 2,5 | 1,4 | 0,804 |
| NL | I3P | 30 | 5,0 | 29 | 1,2 | 1,1 | 0,196 |
| BE | G20/G25 I2E+ | 20/25mb | 7,3kw | 7,6mb | 2,5 | 1,4 | 0,770 |
| BE | I3P | 37 | 5,0 | 29 | 1,2 | 1,1 | 0,196 |
| FR | G20/G25 I2E+ | 20/25mb | 7,3kw | 7,6mb | 2,5 | 1,4 | 0,770 |
| FR | I3P | 37 | 5,0 | 29 | 1,2 | 1,1 | 0,196 |
| IT | G20 I2H | 20mb | 7,3kw | 7,6mb | 2,5 | 1,4 | 0,770 |
| IT | I3P | 37 | 5,0 | 29 | 1,2 | 1,1 | 0,196 |
| DE | G20/G25 I2ELL | 20mb | 7,3kw | 7,6mb | 2,5 | 1,4 | 0,770 |
| DE | I3P | 50 | 5,0 | 29 | 1,2 | 1,1 | 0,196 |
| AT | G20 I2H | 20mb | 7,3kw | 7,6mb | 2,5 | 1,4 | 0,770 |
| AT | I3P | 50 | 5,0 | 29 | 1,2 | 1,1 | 0,196 |
| GB | G20 I2H | 20mb | 7,3kw | 7,6mb | 2,5 | 1,4 | 0,770 |
| GB | I3P | 37 | 5,0 | 29 | 1,2 | 1,1 | 0,196 |
| PT | G20 I2H | 20mb | 7,3kw | 7,6mb | 2,5 | 1,4 | 0,770 |
| PT | I3P | 37 | 5,0 | 29 | 1,2 | 1,1 | 0,196 |
| ES | G20 I2H | 20mb | 7,3kw | 7,6mb | 2,5 | 1,4 | 0,770 |
| ES | I3P | 37 | 5,0 | 29 | 1,2 | 1,1 | 0,196 |
| DK | G20 I2H | 20mb | 7,3kw | 7,6mb | 2,5 | 1,4 | 0,770 |
| DK | I3P | 30 | 5,0 | 29 | 1,2 | 1,1 | 0,196 |
| LU | G20/G25 I2ELL | 20mb | 7,3kw | 7,6mb | 2,5 | 1,4 | 0,770 |
| LU | I3P | 37 | 5,0 | 29 | 1,2 | 1,1 | 0,196 |
| IE | G20 I2H | 20mb | 7,3kw | 7,6mb | 2,5 | 1,4 | 0,770 |
| IE | I3P | 37 | 5,0 | 29 | 1,2 | 1,1 | 0,196 |
| SE | G20 I2H | 20mb | 7,3kw | 7,6mb | 2,5 | 1,4 | 0,770 |
| SE | I3P | 30 | 5,0 | 29 | 1,2 | 1,1 | 0,196 |
| NO | G20 I2H | 20mb | 7,3kw | 7,6mb | 2,5 | 1,4 | 0,770 |
| NO | I3P | 30 | 5,0 | 29 | 1,2 | 1,1 | 0,196 |
A: Land / Country / Pays / Land
B: Gastype / Gastype / Type de gas / Gasart
C: Voordruk / Prepressure / Pre pression / Vordruck
D: Belasting o.w. / Nom. Press. OW / Nom. Pression OW / Nom. Belastung
E: Branderdruk / Burner pressure / Pressi on brule on / Brennerdruck
F: Inspluter / Injector / Buse / Einspritzer
G: Kleinstand inspuiter / Low stand injector / Buse petit feu / Klein Stand Einspritzer
H: Verbruik / Consumption / Consommation / Verbrauch
SimpelGids