DHE 21 SLi - Elektrický ohřívač vody STIEBEL ELTRON - Bezplatný návod k obsluze
Najděte návod k zařízení zdarma DHE 21 SLi STIEBEL ELTRON ve formátu PDF.
Často kladené otázky - DHE 21 SLi STIEBEL ELTRON
Questions des utilisateurs sur DHE 21 SLi STIEBEL ELTRON
0 question sur cet appareil. Repondez a celles que vous connaissez ou posez la votre.
Poser une nouvelle question sur cet appareil
Stáhněte si návod pro váš Elektrický ohřívač vody ve formátu PDF zdarma! Najděte svůj návod DHE 21 SLi - STIEBEL ELTRON a vezměte svůj elektronický přístroj zpět do rukou. Na této stránce jsou zveřejněny všechny dokumenty potřebné k používání vašeho zařízení. DHE 21 SLi značky STIEBEL ELTRON.
NÁVOD K OBSLUZE DHE 21 SLi STIEBEL ELTRON
- Obecné poukyny 82
1.1 BezpečnostníPokyny 82
1.2 Jiné symboly pouzité v tétó dokumentaci 83
1.3 Mérne jednotky 83 - Bezpečnost 83
2.1 Pouzitivsouladusurcenim 83
2.2 Vseobecnabe bezpecnostn upozorneni 83
2.3 Kontrolni symbol 83 - Popis pristroje 84
- Nastaveni a zobrazeni 84
4.1 Ovladaci panel na pristroji 84
4.2 Nastaveni teploty 85
4.3 Vyvolani funkce monitoru uspor 85
4.4 Nastaveni na pristroji 86 - Čistění, pěče a udžržba 87
- Odstranéní problému 87
INSTALACE
- Bezpečnost 88
7.1 Vseobecnabezpecnostn upozorneni 88
7.2 Predpisy, normy a ustanoveni 88 - Popis pristroje 88
8.1 Rozsah dodávky 88
8.2 Prisluosenstvi 88 - Priprava 89
9.1 Misto montaze 89
9.2 Nastaveni z vyroby 89 - Montáz 90
10.1 Dokončeni montáže 92
10.2 Alternatively montaze 92 - Uvedenidoprovozu 95
11.1 První uvedeni do provozu 95
11.2 Opetovne uvedeni do provozu 95 - Rezim Zákaznicky servis 95
- Uvedení mimo provoz 96
- Odstraovani poruch 96
- Udrzba 98
- Technické udaje 98
16.1 Rozměry a prípojky 98
16.2 Schéma elektrického zapojeni 98
16.3 Mnozstvi smichane vody / vystupni mnozstvi 99
16.4 Oblasti pouziti / Převodni tabulka 99
16.5 Ztraty tlaku 99
16.6 Podminky v priadé poruchy 99
16.7 Udaje ke spotbrebenenergie 100
16.8 Tabulka udaju 100
ZARUKA
ZIVOTNI PROSTREDI A RECYKLACE
OBSLUHA
1. Obecné poukyny
Kapitola „Obsluha“ je určena uživatelüm prístroje a specializovānám odborníküm.
Připadné predejte námod dalísmu uživateli.
1.1 BezpečnostníPokyny
1.1.1 Struktura bezpečnostníchPokynu

UVOZUJIC SLOV0 druhnebezpeci
Zde jsou uvedeny mozne nasledky nedodrzeni bezpečnostnich upozorneni.
Zde jsou uvedena opatrenik odvraceni nebepezeci.
1.1.2 Symboly, druh nebezpeci
Symbol
Druh nebezpeci

Uraz

Uraz elektrickym proudem

Popalené nebo oparené
1.1.3 Uvozujici slova
| UVOZUJÍCIF SLOVO | Význam |
| NEBEZPEČI | Pokyny, jejichž nedodrženi má za následek vázné nebo smrtelné urazy. |
| VÍSTRAHA | Pokyny, jejichž nedodrženi muže mít za následek vázné nebo smrtelné urazy. |
| POZOR | Pokyny, jejichž nedodrženi muže mít za následek středné vázné nebo lehkke urazy. |
Pokyny jsou oddeleny vodorovnymi carami nad a pod textem. Vseobecné poukyny jsou označeny symbolem zobrazeným vedle.
Texty upozorneni ctete peclive.
Symbol
Tento symbol vás vyzývá k urcitému jegnámí. Potřebraneć konjus jsou popsány po Jednotlivych krocích.
1.3 Mérné Jednotky

Upozornéni
Pokud neni stanoveno jinak, jsou rozmery uvedeny v milimetrech.
2. Bezpečnost
2.1 Použití v souladu s určením
Pristroj je urcen k pouziti v domacnostech. Mohou jej tedy bezpečné obsluhovat naskolené osoby. Lze jej použivat i mimo domac-nosti, napr. v drobném prumyslu,Pokud zpúsob pouziti v takovych oblastech odpovedá urcení pristroje.
Jiné pouziti nebo pouziti nad ramec daného rozsahu je považováno za pouziti v Rozporu s urcenim. K pouziti v souladu s urcenim patri také dodrzovani tohoto navodu a navodu k použivanému príslusenstvi.
Tlakove zařizení slouží k ohrevu pitné vody nebo k dodatečnému ohrevu predehráté vody. Pristroj muže zásobovat jedem nebo nikolik odběrných mistr.
2.2 Vseobecná bezpečnostní upozorněné

POZOR popaléní
Armatura muze za provozu dosahnout teploty vyssi nez 60^
Pokud je vystupni teplota vyssi nez 43 ^ C hrozi nebezpeci opareni.

VYSTRAHA uraz
Pristroj smi pouzivat deti od 8 let a osoby se snizenymi fyzickymi, senzorickymi nebo mentalnimi schopnostmi nebo s nedostatecnymi zkuosenostmi a znalostmi pouze pod dozorem, nebo pote, co byly pouceny o bezpecnem pouziti pristroje jsou si vedyomy nebezpeci, ktera z jeho pouziti plynou. Nenechaveje deti, aby si pristrojem hraly. Ciistenia udrzbu, kterou ma povadet uzivatel, nesmi povadet samotne deti bez dozoru.
Pokud pristroj pouzivaj deti nebo osoby s omezenymi telesnymi, senzorickymi nebo dusevnimi schopnostmi, doporučujeme trvalé omezeni teploty. Omezeni mužete nastavit sami, nebo je nastavi specializovaný odborník:
- Dětskou pojistku muže nastavit uživatel
- Ochranu proti oparení muze nestavit specializovany odborník

Vécné skody
Uživatel musi pristroj a armaturu chraniţ pred mrazem.
2.3 Kontrolni symbol
Viz typov štěk na pristroji
Potvrzeni a osvedceni platna v Jednotlivych zemich: Nemecko
K pristroji je vydano na zakladne mistrich stavebnich predpisu vseobecne osvedcni stavebniho dozoru jak potvrzeni o pouzitelnosti z hlediska hlucnosti.

3. Popis pristroje
Plne elektronicky regulovany pristrojs automatickou upravou vykonu udrzije konstantni vystupni teplotu vody. Plne elektronicky regulačni systém v součinnosti se servoventilem zajistuje ohřev vody na presné nastavenou teplotu. Tato funkce probíha nežávisle na vystupní teploté vody.
Teplota teplet vody
Vystupni teplotu vody muzete plynule nestavovat. Na displeji se zobrazi nastavena teplota.
Topny systém
Topny systém s holou spirálou je vybaven uzavěrným tlakovým meděnám plastém. Topny systém je vchodné pro vodu s nízkým i vyssím obsahem vapennych solí, systém je do značné miřy necitližvý vuci zanášeni vodním kamenem. Topny systém zajištůje rychlou a učinnou prípravo tepé vody.

Upozorneni
Pristroj je vybaven zařizenim, které Rozpoznáva, zda je v systému voda. Tim je zabráněno poskození topného systému. Pokud se za provozu dostane do pristroje vduch, automaticaky dojdne na Jednu minutukvypnuti ohrevu a topný systém je tak chràněny.
Podsviceni displeje
Displej je opatren dvoubarevnym podsvicenim (zelena / jantarova).
Ukazatel efektivity
Zelené ECO podsviceni signalizuje mimoradne ekonomické provozní podmínky
- je-li zapnuty vykon nizsí než 80%
- je-li pri vystupni teplota vody nad 35^ maximalny kon nizsnez 80%
- je-li pri zapnute ECO fungkimi maximalny koni zsi nez 80%
Ve všech ostatních provozních režímech má podsvícení jantarovou baryu.
Monitor uspor
Pristroj je vybaven funkci monitorovani-upspor. Tato funkce je aktivovana stisknutim prislušného tlacitka. Zobrazeni:
- Uspora energia*
- Uspora vody*
Nizké imise CO_2^
Mnozstvi enerigie -
Spotbreba vody
-
v porovnani s prutokovymi ohrivac i vody. Vypocet pro tričlennou domácnost se spotřebour užitkové vody a užitné energia na{jednu osobu podle VDI 2067. Ceny elektrické energia a vody muzete ručné naprogramovat.
4. Nastavení a zobrazení
Pristroj muzete nastavit pomoci ovladacifo panelu.
Upozornéni pro teplotu na vstupni strané
Pokud je vstupni teplota vyssi nez pozadovaná, napr. v pripadé solarního predehřivaní vody, bliká ukazatel teploty a druhy uka-zatel zobrazuje teplotu na pritoku. Voda nebude dalé ohrivána.

1 Bliká ukazatel teploty
2 Ukazatel vstupni teploty
3 Světelné dioda nebezpeci oparení; Červéna světelné dioda pří nastavení teploty >43^
Doporucene nastaveni pri provozu stermostatickou armaturou
Nastavte teplotu na pristroji na 60^
Po pruuseni privodu vody
Viz kapitolu „Opětovné uvedeni do provozu“
4.1 Ovladaci panel na pristroji

1 Regulator teploty
2 Svetelná dioda nebezpeči oparení
3 Pamětově tlacítko
4 Tlačitko nabídky, napr. ECO
5 Zobarení doplinskové hodnoty
6 Zobrazeni topneho vykonu
7 Zobrazeni teploty
Při dodáni je nastaveno podsviceni displeje tak, aby se automaticky rozsvitilo, jakmile použijete nastavovaci regulator, stisknete některé z tlacitek, nebo pokud pristroj ohrivá. Po 30 sekundách bez stisknuti jakéhokoliv tlacitka nebo bez ohrevu podsviceni zhasne. Podsviceni muzete prepnout i na trvalé sviceni.

Symboly
1 Sprchovani wellness
2 Automaticke mnozstvi vody
3 ECO
4 Dětská pojistka
5 Zobrazeni dopl'kové hodnoty
6 Cas

4.2 Nastaveni teploty
1 Nastaveni teploty 20 - 60^ v krocich po 0,5^ , OFF = topny systém vypnuty
2 Vyvolani ulozené teploty
3 Vyvoláni funkce monitoru uspor
Pod pamětové tlacitko M muzete ulozit požadovanou teplotu.
Zvolte pozadovanou teplotu.
Stiskněte a podržte 2 sekundy tlacitko M. jak potvrzení 1x blikne ukazatel teploty.
4.3 Vyvolání funkce monitoru úspor

Struktura nabidek na prikladu v eurech (EMU)
1 Uspora energia
Uspora energia v eurech (EMU) je vypoctena a zobrazena ve srovnani s prutokovymi ohrivac i vody.
2 Uspora vody
Uspora vody v eurech (EMU) je vypoctena a zobrazena ve srovnani s prutokovymi ohrivacvi vody.
3 Emise C02
Snizeni emisi CO2 v kg je vypocteno a zobrazeno ve srovnani s prutokovymi ohrivac i vody.
4 Množstvi enerighe
Zobrazeni spotbrebované energie v kWh.
5 Spotbreba vody
1 Funkce ECO - uspora energia a vody
Pomoci fungce ECO muzete omezit maximalin prutocné mnozstvi.
ECO zap = symbol na ovladacim panelu
ECO vyp = bez symbolu na ovladacim panelu
2 Dětská pojistka
Dětska pojistka umožnju uživateli omezit maximální teplut na stavitelnu na prístroji. Autorizovány servis muže v režimu Zákaznický servis dodatečné nastavit teplotu k ochraně proti opařeni (viz kapitola „Režim Zákaznický servis“). Tato teplota je potom horní hranici rozsahu nastavení dětské pojistky.
3 Sprchovani wellness
V programu Sprchovani wellness muzete vybirat ze 4 ruznych programu stridaveho sprchovani.
TUV = teplá voda, SV = studentá voda
A. Prevence nachlazen
Z duvodu otuzovani doporučujeme na záver studenou sprchu. Tim v těle aktivujete reflex zahrivani.

B Zimni osvezeni
Opětovné zahrátěla jako osvežujíci zakončeni sprchováni y zime.

Rychle stridani teplé a studente sprchy ke zvyšeni učinku fitness s teplou sprchou na záver.

D Program prokrveni
Na podporu prokrveni sprchujte paze a nohy studenou vodou. Pritom postupujte od dlani a chodidel smerem k telu. Tento postup muzete pak zopakovat s teplou vodou.

4 Automaticke mnozstv vody
Pomoci funkce automatickeho mnozstv vody muzete omezit mnozstv vody s vysokym prutokem. Po dosazeni nastaveneho mnozstv vody sniz automatika prutok. Pozadovaná teplota zustav konstantni. Funkci automatickeho mnozstv vody musite aktivovat pred kazdym napoustenim vany. Priklad napusteni vany 80 litry: Po dosazeni naplné 80 litru sniz automaticka funkce prutok na 4 l/min.
5 Prutecné mnozstvi
Volitelne muzete zobrazit prutočné množství nebo Čas.
6 Nastaveni casu
Volitelné muzete zobrazič cas nebo prutočné množstvi. Čas muzete nastavit v rozmězi 00:00 až 23:59 hodin. Po prerušeni napajeni musite znovu zadat Ās.
7 Nastaveni podsviceni
Müzete nastavit podsviceni displeje. Pri vyberu moznosti „Auto" blika osvetleni behem nestavovani.
- Podsviceni se Rozsviti v rezimu ohrevu a pri kazde manipulaci s ovladanim.
- Po uplynuti 30 sekund bez stisknuti tlacitka podsviceni zhasne.
- Pri vyberu moznosti „On" svit podsvicen'trvale.
8 Nastaveni intensity barvy zelená/jantarová
Jas obou barev podsviceni muzete upravit podle vlastnich pozadavku.
9 Vybér mény
Vyberte menu, ktera bude pouzita pri zobrazeni uspory energie a vody:
10 Nastavení ceny elektriny
K výpoctu uspory energia muzete zde nastavit vlastné cenu energie veur/kWh nebo cur/kWh.
11 Nastaveni ceny vody
K vþoctu uspory vody mþzete zde nastavit vlastni cenu vody v €/m³ nebo cur/m³.
12 Nastaveni emisi CO2
Z výroby je výpocet emisi CO2 nastaven takto: 553 g CO2/kWh (zdroi: „Snizováni spotřeby energia a emisi CO2 decentralizovaným elektrický ohřevem teplé vody“, 2011). Podle potřeby mžěte nastavit vlastné emise CO2.
13 Reset do vyrobniho nastaveni
Stiskněte a podržte 2 sekundy současné tlacitka M a i.
Nastavení z výroby naleznete v Čárkovaném ráměčku na obrázku.
14 Bod nabidky
Bod nabidky není pro toto provedeni relevantni. Nelze provést zádná nastavení.
15 Bod nabidky
Bod nabidky není pro toto provedeni relevantni. Nelze provést Žádná nastavení.
5. Čišění, peče a udžržba
Nepouzivejte abrazivni cisticic prostredky nebo prostredky obsahujici Rozpoustedla. K osetrovani a udrzbe priestroje stacli vlhká textilie.
Kontrolujte pravidelné armatury. Vodni kamen na vystupech z armatur odstranite beznymi prostredky k odstraneni vodni-ho kamene.
6. Odstraněni problemů
| Závada Prícina Odstraněni | ||
| I když je ventil teplé vody zcela otevřen, pristroj se nezapne. | Není pripojeno elektrické napajeni. | Zkontrolujte jištěné vinitří instalace. |
| Perlátor v armatuře nebo sprchová hlavice jsou za-neseny vodním kamemem nebo jsou znečištěné. | Vyčišťe perlátor nebo sprchovou hlavici a zbáte je vodniho kamene. | |
| Je prěrušen prívod vody. | Odvzdušné prístroj a prívod studenté vody (viz kapitolu „Uvedeni do provozu / Opétovné uve-dení do provozú"). | |
| Pri odbreu teplé vody teče chvili studená voda. | Zařizení Rozpoznalo ve vodě vyssí obsah vzdùchu a krátkodobě prěru-silo ohřev. | Prístroj se za 1 minutu opět samočině zapne. |
| Nelze nastavit teplotu >43 °C. | Je akivována dynamická ochrana proti opatřeni. | Dynamická ochrana proti opařeni je automaticky vypnuta 2 minuty po ukončeni odbreu. |
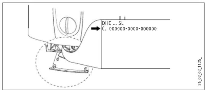
Pokud nelze pricinu odstranit, kontaktujte specializvaneho odborniKA. Pro lepsi a rychlejsi pomoc mu sdeltie cislo (c. 000000-0000-000000), ktere je uvedeno na typovem stitku:

INSTALLACE
7. Bezpečnost
Instalaci, uvedeni do provozu, udrzbu a opravy pristroje smi povadet pouze specializovan y odbornik.
7.1 Vseobecná bezpečnostní upozorněné
Rădnou funkci a spolehlivy provoz lze zarucit pouze v pripadé použiti originalniho príslušenstvi a originalnich nahradnich dilu urcenych pro tento pristroj.

Vécné skody
Dodržujte maximni vystupni teplotu. Pri wyssich teplotach muze dojit k poskozeni pristroje. Instalaci centralni termostaticke armatury (viz kapitol „Popis pristroje / Prislusenstvi") muzete omezit maximni vystupni teplotu.
7.2 Předpisy, norma ustanovení

Upozornéni
Dodržujte vsechny národní a mistrí predpisy a ustanovění. V Německu se jeder např. o DIN 1988/EN 806.
- Krytí IP 25 (ochrana proti strikají vode) je zaručeno pouze v prípadě odborně instalované kabelové pruchodky.
- Merny elektricky odpor vody nesmi byt mensi nez hodnota uvedena na typovem stitku. V pripadé propojeni nekolika vodovodnich siti je nezbytné vzt v uvahu nejnižsí elektricky odpor vody (viz kapitolu „Technické udaje / Oblasti použitú"). Hodnoty merného elektrického odporu vody nebo elektrické vodivosti vody zjistfte u vašeho dodavatele vody.
8. Popis pristroje
8.1 Rozsah dodávky
S pristrojem sedodava:
- závesná lista
montážni sablona
-2 dvojite vsuvky - križová tvarovka
-tvarovkAT - plocha tésněni
-sitko - plastová tvarová podložka
- plastové spojovaci prvyk / montázní pomúcky
- včka a vodici prkvy na zadní stenu
8.2 Prislušenstv
Dalkov ovladani
- FFB 1 SL - dalkovy radiov ovladac
Obsluha ze dvou mistr - FFB 2 SL - dalkovy radiovy ovladac
Dalkovy radiovy ovladac jako Rozsireni modelu FFB 1 SL - FB 1 SL - kabelový ovladač Obsluha pouze dálkovým ovladačem; vchodné k instalaci na stěnu
Armatury
-MEKD-kuchynska tlakovabaterie
-MEBD-vanová tlaková baterie
Vodovodni zatky jsou nezbyné,Pokud použijete jiné nez v prislu-senstvi doporučene nastenné tlakové baterie.
Montázní sada k instalaci na zed'
-
Pájeci sroubeni - medéná trabka k pripojen pájenim 0 12 mm
-Lisovaci fitink-medena trabka -
Lisovaci fitink - plastová trabka (vhodná pro Viega: Sanfix-P-lus nebo Sanfix-Fosta)
Univerzalni montažni ram
Potrubni instalacni sada pro pristroje pod umyvadlo
Instalačni sada k montáži pod umyvädo je nezbytná,Pokud potbrebujete prípojky vody (G 3 / 8 A) nad pristrojem.
Instalacni sada pro presazenji potrubi
Tato potrubni instalacni sada s koleny je nezbytná,Pokud chcete mit pristroj umistěny proti vodovodni prípojce se svislým presazením o 90 mm směrem dolú.
Potrubni instalacni sada k vymene plynového ohrivace vody
Potrubni instalacni sada je nutna,Pokud stavajici instalace obsahuje pripojky plynoveho ohrivace vody (pripojka studene vody vlevo a pripojka teplé vody vpravo).
Potrubni instalacni sada pro vodoinstalačni spojky DHB
2 vodoinstalacni spojky, jejichz pomoci muzete pristroj pripojit ke stavajicim vodovodnim nastrcnym pripojkam DHB.
ZatazovérelaLR1-A)
Zátežové relé k instalaci do elektrorozvodného systému umoznujeprioritni spinání prutokovoho ohrivace pri současném provozunapr. elektrických zařizení k ohrevu zásobníku.
ZTA 3/4 - centránlí termostická armatura
Termostická armatura k centrálnímu prédrazenému směšovani vody, například u prútokového ohriváče se solárním systémem.
INSTALLACE
Příprava
9. Priprava
Križová tvarovka se nesmi používat ke skrcení objemového prutoku. Slouží k uzavěné pristroje.
Dovolené materialy vodovodniho potrubí
- Privod studené vody:
Zarové zinkovana ocelová trabka, trabka z ušlechtilé oceli, medená trabka nebo plastová trabka
Vystupni potrubi teplé vody:
Trubka z ušlechtilé oceli, meděna trabka nebo plastová trabka

Věcné škody
V pripadé pouziti plastovych potrubnich systému doržujte maximálni dovolenou vystupné teplotu a maximálni dovolený tlak, uvedene v kapitole „Technické udaje / Tabulka udajú".
Objemov prutok
Zkontrolujte, zda je dosaženo objemového prutoku (viz kapitolu „Technické udaje / Tabulka udajú“, zapnutí) k zapnuti pristroje.
Zvystle tlak ve vodovodu,Pokud nenidosazeno pri plne ote-2 Vystup teplé vody vrenem odbernem ventilu potrebneho objemoveho prutoku.
1 Privod studené vody
2 Vystup teplé vody
Flexibilni privody vody
Pri instalaci pomoci flexibilnich vodovodnich rozvod u nedopustte prekroucenia deformaci kolen. Kolena jsou namontovana k pristroji pomoci bajonetovho uzavru.
Upevnete zadni stenu dole pomoci dalshi sroubu.
9.1 Misto montáze

Vécné skody
Pristoj smi byt instalovan pouze v mistrosti chranelne prd mrazem.
Pristroj montujte ve svisle poloze v blizkosti odberneho mista.
9.2 Nastavení z vyroby
Pristroje jsou pri dodani pripraveny:
-Elektrická prípojka „zespodu“, instalace ve stěné (pod omítkou)
Vodovodni pripojka s instalaci ve stene (pod omitkou)
V pripadepristroje s prepinanym prikonem je predem nataven prumerny prikon.
INSTALLACE
Montáž
10. Montáž
V teto kapitole je uveden popis montaze v souladu s vyrobnim nastavenim.
Dalsi moznosti montaze viz kapitolu „Alternativni postupy montaze".

Otevretepristroj.

Demontujte zadni stenu zatalenim dvou pojistnych hacku a staahnete spodni din zadni steny dopredu.

Vyznačte pomoci montážni šablony vrtane otvory. V pripadé montáze s vodovodnimi pripojkami primo na zdi musite navic oznaciti upevnovići otvor ve spodni Časti šablony.
Vyvrteje otvory a upevnete zavesnou listu pomoci 2 sroubu a 2 hmozdinek (srouby a hmozdinky nejsou soucasti dodavky).
Upozorneni V pripadem
V pripademontaze s pouzim flexibilnich vodovodnich pripojek musite zadni stenu navic upevnit sroubem.
Namontujte zavesnou listu.

1 Montázní pomücka
Upravte privodni kabel.

1 Teplá voda s tvarovkou T
2 Těsnění
3 Studená voda s křížovou tvarovkou
4 sitko
5 Tvarova podložka
Namontujte privody vody.
Vécné skody
Z duvodu funkce pristroje musite instalovat sitko.
Při výměne pristroje zkontrolujte pritomnost sítka.

Montáz pristroje

Pripojeni privodu elektrické energia
VYSTRAHA elektricky proud Veskeré elektrická zapojeni a instalace provadějte podle prédpisů.
VYSTRAHA elektricky proud
Připojka k elektrické siti smí být provedena pouze jako pevná pripojka v kombinaci s vyjmatemelnou kabelovou vsuvkou. Pristroj musi být možné odpojt od sitové pripojky na vsech polech na vzdalenost minimálne 3 mm.
VYSTRAHA elektricky proud Pamatujte, ze pristroj musi byt pripojen k ochrannemu vodiči.

Pro snazí montáz zatlacte kabelovou pruchodku horní elektrické prijoykyezadu do zadní stěny.
Odstraţe z vodovodnichni pripojek ochranná transportní vička.
Vyjměte upevnovaci páčku z horního dílu zažná stěny.
Zavedte elektricky privodni kabel zezadu kabelovou pruchodkou tak, aby pruchodka prilnula k plasti kabelu. Vyrovnejte elektricky privodni kabel.
Je-li pruže z > 6mm^2 , zvětěsète otvor v kabelové pruchodce.
Pripojte elektricky privodni kabel k sitove svorkovnici (v kapitolu, Technicke udaje / Schema elektrickho zapojeni). Uvedene napeti se musi shodovat se sitovym napetim.
Zatlačte pristroj na zavitovy svorník v závesné listě, aby dos Volitelny prikon k prorazení měkkého těsněni. Pripadné použijte sroubovák.
Prkon lze nastavit ve 3 stupnich v zavisiosti na typu pristroje. Nasadte upevnovaci paeku na zavitovy svornik zavesne listy.Predem je nastaven prumerny vykon. Pokud si prejete nastavit
Pevne pritlae zadni stenu a zajistete upevnacipacku otojiny vykon, musite provest nasledujici kroky. cnim doprava o 90^

Prisrobujte potrubis plochym tsehnim na dvojitie vsuvky.

Vyberte požadovany príkon, viz kapitolu „Technické udaje/ Tabulka udajú".
Zapojte kódovaci konektor v souladu se zvolenym prikonem.
Provedezmenu na typovem stitku. Vybrany prikon oznache krizkem. K tomuto ucelu pouzijte propisku.
10.1 Dokončeni montáže

Přemistěte sítovou svorkovnici v pristroji zespoda nahoru a upevněte ji zaunutim pod pojistné háček.

Vedte pripojovaci vodiče pod vedením pro vodiče.
Namontujte spodni dil zadni steny. Dbejte na to, aby spodni dil zadni steny dobre zapadl.
Vyrovnejte namontovaný pristroj povolením upevnováč páčky, vyrovnejte elektrickou pripojku a zadni stenu a opět utáhněte upevnovaci páčku. Pokud zadni stena pristroje nepřilelá, mužete pristroj dole upevinit dalšim sroubem.
10.2 Alternativymontaze
-Elektricka pripojka nahore pod omitkou
-Elektrická pripojka na zdi
- Velké prürezy vodicu pro elektrickou pripojku dole
Pripojenizatezovehorele
Vodovodni instalace na zdi
Vodovodni instalace na zdi s pajenou pripojkou / lisovacim fitinkem
Vodovodni instalace na zdi, montaz vika pristroje
- Montáz spodniho dilu zadni steny pri provedení se zavitovou prípojkou na zdi
-Pouziti stavajicich zavesnych list pri vymene pristroje
-Instalace na prędsazenych obkladech
Otočene viko pristroje
- Provoz s predehratou vodou
Rozriznete kabelovou pruchodku pro elektricky privodni kabel.
Stisknete hockovou pojistku kupevnisi tove svorkovnic smerem dolu a vytahnete ji.
Elektricky privodni kabel na zdi
CisteVyriznete nebo prorazte potrebnou pruchodku v zadni stene a ve viku pristroje, umisteni viz kapitolu ,Technicke udaje / Rozmery a pripojky". Pouzijte pripadne pilnik.
Vedte elektricky privodni kabel kabelovou pruchodkou a pri-poje jej k sitove svorkovnici.

Upozorneni
Prid Zahajenim montaze pristroje musite vytlacit kabelovou pruchodku pomoci sroubovaku.
▶ Nasunte kabelovou pruchodku na elektricky privodni kabel. Použijte k tomu montázní pomücku. Je-li prúrez >6mm^2 zvětěte otvor v kabelove pruchodce.
- Nasadte kabelovou pruchodku do zadni steny.
INSTALLACE
Montáž
Pripojeni zatezového relé
Zatezovrelepuizivejevtombinacijsjinymielektrickymi pristroji velektrickemrozvodu,naprikladselektrickymiakumulacnimi ohrivacik. Kvypnuti zateze dochazpri provozur prutokovo ho ohrivace.Zatezovreledodavamejako prisluosenstvi.

Vécné skody
Pripojte fazi, ktera spina zatezove rele, k oznacene svorce sitove svorkovnice v pristroji (viz kapitolu „Technické udaje / Schema elektrického zapojeni").
Vodovodni instalace na zdi
Dodržujte pouny výrobce armatury.
Vodovodni instalace na zdi, montáž vika pristroje

1 Vodici privky zadni steny
2 Sroub
3 Vodici prvky vika
4 Pruchoz otvor
Provede tce vylomeni pruchozich otvoru ve viku pristroje. Pouzijte pripadne pilnik.

Upozorneni
Pomoci chlopi vodicich prvu vika muzete utesnit mirna presazenipipojovacich trubek armatury.
V priapde presazenipipojovacich trubek armaturynesmite namontovat zdne vodici privky zdni steny.
Při montáži pripojovacích trubek armatury bez présazenу lomte chlopné vodicích prvku vika.
Nasadte vodicici prky vika do pruchozich otvoru.
Nasadte vodicici privky zadni steny na trabky a zatlacte je k sobe. Nakonec posunte vodicici privky az nadoraz k zadni stene.
Upevnete zadni stenu dole pomoci sroubu.
Montáz spodniho dilu zadni steny pri provedeni se zavitovou pripojkou na zdi
Spodni dil zadni steny muzete namontovat po monta zi armatury.

1 Sroub
2 Dodane spojky
Nañiznete spodni dil zadni steny v označeném misté.
Namontujte spodni dil zadni steny jeho ohnutim po stranach a nasazenim na trabky na zdi.
Zezadunasadte spojky do spodnihodiluzadni steny.
Zatlačte spodnídīl zadní stěny do zadní stěny.
Upevné spodni dīl zadnī stěny sroubem.
INSTALACE
Montáž
Závesná lista pri vymene pristroje
Stavajici zavesnou listu od vrobc Stiebel Eltron muzete pripadne pouzit pri vymene prestroje (vjmikou je prutokov ohrivac DHF).
Prorazte zadni stenu pristroje pro zavitovy svornik na jiz na montované zavesne liste.
Vymena zarizeni DHF

Zmeinte polohu zavitoveho svorniku na zavesne liste (zavitovy svornik ma samorezny zavit).
Otoce zavesnou listu o 180^ a namontujte ji na stenu (popiska DHF je ve spravne poloze ke cteni).
Instalace na predsazenych obkladech

1 Minimálni opěrná plocha pristroje
2 Maximalí presazení obkladú
Nastavte vzdalenost od steny a upevnete zadni stenu upevno-vaci paskou otocenim doprava o 90^
Otočené viko pristroje
Viko pristroje muzete pri montazi pod umyvadlo otocit.

Demontujte ovladač z vika pristroje zatlačenim na háčkovou pojistku a vyjměte ovladaci prvek.
Otoce viko pristroje (ne pristroj) a opet namontujte ovladac tak, aby vsechny hackove pojistky zaskocily. Pri zajistovani hackovych pojistik musite tlacit na vnitri stranu vika pristroje (srafovana ccast).
Zapojte kabel snimače požadované hodnoty k elektronickému systému (viz kapitolu „Uvedeni do provozu / První uvedeni do provozu").
Zaveste viko pristroje dole a vyklopte je nahoru na zadni stenu.
Z duvodu správného usazení obvodového těsněni zadní stěny mirné posùně vík ovpred a zpět.
Naśroubujte víko pristroje.
Provoz s predehratouvodou
Instalaci centrali termostické armatury je omezena maximini vstupni teplota (viz kapitolu „Popis pristroje / Prilusenstvi").
11. Uvedeni do provozu

VYSTRAHA elektricky proud Uvedeni do provozu smi povadet pouze specializovany odbornik pri dodrzeni bezpechnostnich predpisu.
11.1 První uvedeni do provozu
Otevreke krizovou tvarovku.

Otevretae uzavretene nekolikrat vsechny pripojene odbernevently, dokud nebudou Rozvodna sit'a pristroj odvdusnene.
Provede kontrlu tesnosti.
Aktivujte bezpečnostní spínač (AE 3) pevný stisknutím resetovacího tlacitka (přistroj je dodán s deaktivovaný bezpečnostím spínačem).
Pripojte konektor kabelu snimače požadované hodnoty k elektronickému systému.
Namontujte viko a upevnete je sroubem.
Zapněte napájení ze sítě.
Zkontrolujte funkci pristroje.
Z displeje ovladace odstrahte ochrannou folii.
Předníně pristroje
Vysvete uživateli funkci pristroje a zezname ho se zpúsobem jeho uzivan.
Upozornete uživatele na mozná rizika, predevím na nebez-Nabídka Error se zobrá pouze tehy, dojde-li na pristroji k chybe. peči opěřeni.
Predejte tento navod.
11.2 Opétovné uvedeni do provozu

Vécné skody
Po preruseni dodavky vody je nutne pristroj opetovne uvest do provozu pomoci nasledujicich krok,uaby nedoslo k poskozeni topneho systemu s holou spiralou.
Odpjote pristroj od napeti vypnutim pojistik.
Otevrete armaturu na dobu jegne minuty, dokud nejsou pristroj a predrazena pripojka studene vody ovdzdu-snene.
Opét zapněte napajeni ze sítě.
12. Režim Zákaznicky servis

Otevre te vko pristroje a zaveste je zboku na zadni stenu.

1 Servisni tlacitko k aktivaci a deaktivaci rezimu zakaznického servisu
Vysvětlívky symbol

1 stisknuti START
1 stisknuli KONEC
Prepnú nastaveni / kontrola
V rezimu zakaznického servisu je mozné vyvolani azmena pozadovane hodnoty tlacitkem M (60°C).
INSTALACE
Uvedeni mimo provoz

1 Symbol elektronické konstrukné skupiny
Vyměnte elektronickou konstrukčné skupinu.
2 Symbol bezpečnostního obvodu
Zkontrolujte priopojeni AE 3, prip. AE 3 vymene.
3 Symbol vystupnio cidla
Zkontrolujte priopojeni yystupniho cidla, prip. cidlo vymene
4 Symbol servoventilu
Zkontrolujte pripojen servoventilu, pri. servoventil ymeinte.
Vyvoláni nabídky Control

1 Symbol vstupni teploty indikuje aktualignvstupni teplotu (zobrazeni 1,0 ^ C pri vad-nem senzoru).
2 Symbol vystupni teploty indikuje aktualni vystupni teplotu (zobrazeni 65,0 ^ C pri vad-nem senzoru).
3 Symbol objemového prutoku indikuje aktuálni objemový prutok.
4 Symbol prikonu indikuje aktualni prikon.
Vyvolání nabidky dat pristroje

1 Symbol kódu zákaznického servisu, informace pro zákaznicky servis.
2 Symbol doby provozu na sitové pripojce, akumulovaná doba provozu ve dnech.
3 Symbol hodin ohrevu, akumulovaná doba ohrevu v hodinach.
4 Symbol maximalho vykonu Zobrazena hodnota se muze v pripadse sitoveho napeti jineho nez 400 V lisit o nekolik kW od jmenviteho vykonu.
Nastavení ochrany proti opařeni
Tuto ochranu proti opatréní používejte například v matěrských skolkách, nemocnicích apod. Zde nastavená teplota je současné horní mezí nastavení teploty dětské pojistky (viz kapitola „Nastavení pristroje").

Rozsah nastaveni: 21 - 60°C
Dopurcene nastaveni 43^

Upozorneni
Nastavenou ochranu proti opareni muze zmenit pouze specializovan y odbornik. Pri soucasnem stisknuti tlaitek M + i nedojde ke zmeene.
13. Uvedeni mimo provoz
Odpojte pristroj na vsech polech od sitič.
Vypuste obsah pristroje (viz kapitolu „Udrzba").
14. Odstrańovani poruch

VYSTRAHA elektricky proud
Z duvodu kontroly pristroje musi byt pristroj priopojen k sitovemu napeti.
Konektoróve spoje na elektronickém systemu

1 Diagnostika lista (3 LED)
2 Senzor objemového prutoku DFE
3 Servoventil
4 Bezpečnostní omezováč teploty STB
5 VystupniCIDIONTC
6 Snímac požadované hodnoty T-pož
7 Bezpečnostni spinač AE 3; konektorový spoj je zajistěn are-tacnim jazyckem.
INSTALLACE
Odstrańovani poruch
| Závada | Príčina | Diagnostická lišta | Odstránění |
| Přistroj neohříva / není dosaženo poža-dované teploty. | Není prípojeno elektrické na-pájení. | Nesvití Žádná LED Zkontrolujte pojistyk v domovné instalaci. | |
| Bezpečnostní spínač (AE3) vypnul. | Nesvití Žádná LED | Odstraťne príćinú závyd. Chraťe topný systém před prěhřatím otevřinem ventilu v odběrněm miste za prístrojem na{jednu minutu. Tím doje k ochlazení topného systém. Aktiviúte bezpečnostní spínač stisknutím tlačíka na bezpečnostím spínač (viz těž kapitolu „Prviů vedení do provozù”). | |
| Závada elektronického sys-tému. | Nesvití Žádná LED | Zkontrolujte elektroniku, prípadné provedte výměnu. | |
| Výpadek fáze. Bliká zelená LED, Žlute LED svítí | Zlute LED svítí | Zkontrolujte pojistyk v domovné instalaci. | |
| Vystupné teplata > 55 °C. Bliká zelená LED, Čer-vená LED svítí | Snižte vystupné teplatu. | ||
| Senzor prútoku (DFE) je vadné nebo{ní prípojený. | Bliká zelená LED, Žlute LED nesvití | Zkontrolujte prípojení senzoru prútoku, prípadné jej vyměnte. | |
| Topný systém je vadné. | Bliká zelená LED, Žlute LED svítí | Zkontrolujte topný systém, prípadné provedte jeho vyměnu. | |
| Vadný vystupné senzor. | Bliká zelená LED, Čer-vená LED trvale svítí | Vyměnte elektroniku. | |
| Vadný vystupné senzor. | Bliká zelená LED, Čer-vená LED trvale svítí | Zkontrolujte prípojení vystupné senzoru, prípadné jej vyměnte. | |
| Chyba bezpečnostního elektrö-nického systém. | Bliká zelená LED, Čer-vená LED pouze pri odbrу | Prípoje spojovác kabel bezpečnostního spínač a zkontrolujte bezpečnostní spí-nač. | |
| Uvolněné nebo vadné spojovác kabel snímače požadované hodnoty. | Bliká zelená LED | Prípoje spojovác kabel snímače požadované hodnoty a zkontrolujte spojovác kabel. | |
| Je aktivována dětská pojistka a omezováč teploty. | Bliká zelená LED | Zkontrolujte snímač požadované hodnoty a prípadné jej vyměnte. | |
| Displej na prístroji ne-zobrazuje hodnoty. | Uvolněné spojovác kabel sní-mace požadované hodnoty. | Bliká zelená LED | Prípoje spojovác kabel na snímači požadované hodnoty a zkontrolujte spojovác kabel. |
| Vadný elektronický systém ovladání. | Bliká zelená LED | Zkontrolujte ovladám, prípadné provedte výměnu. | |
| Prútok je príliš nízký. | Sprchovác hlavice / perlátory jsou zanesené vodním kame-nem. | Odstraťne vodní kámen nebo vyměnte sprchovác hlavici / parlátory. | |
| Znečistěné sítko. | Vyčistěte sítko. | ||
| Požadovanou hodnotu nelze nastavit na hod-notu wyší néž 43 °C nebo na jinou požado-vanou teplotu. | Je aktivována dynamická ochra-na proti opatřeni. | Bliká zelená LED | Dynamická ochrana proti opatrěné je odstráněna 2 minuty po odlěru vody. |
| Je aktivován omezováč teploty. | Bliká zelená LED | Deaktivujte omezováč teploty. | |
| Pri odbru těche chvili studenta voda. | Prútok (< 2 l/min) je príliš nízký. | Prístroj se automaticky spustí, jakmile nastane prútok > 2,5 l/min. | |
| Zařizení zjistilo ve vodě vyší obsah vžduchu a na chvili vy-pnulo ohřev. | Prístroj se za minutu opět zapne. |
15. Udržba

VYSTRAHA elektricky proud
Pri vsech cinnostech odpojte pristroj na vsech polech od site.
Vyprázdniéni pristroje
Pristroj muzete vypustit kvuli udrzbe nebo ochrané prd mrazem.

POZOR opareni
Pří vypoustěni pristroje muže vytekat horká voda.
Uzavrete ventil na privodu studené vody.
Otevretvechny odbernéventily.
Odpojte od pristroje vodovodni pripojky.
Demontovany pristroj skladujte tak, aby byl chranen premdrazem. Pripadne zbytky vody v pristroji mohou zmrznout a zpusobit skody.
16. Technické udaje
| b02 | Kabelová pruchodka I | ||
| c01 | Prívod studené vody | Vnější zámít | G 1/2 A |
| c06 | Vystup teplé vody | Vnější zámít | G 1/2 A |
16.2 Schéma elektrického zapojeni

3/PE 380 - 415V
1 Vykonová elektronika
2 Topny systém s holou spirálou
3 Bezpečnostní omezováč teploty
4 Bezpečnostní spínač
Prioritni spinani se zatezovym relé (LR 1-A)
Viz tež kapitolu „Popis zařizení / Príslušenstvī“

1 Rídici obvod stykace 2. pristroje (napriklad elektricky akumulacni ohrivac).
2 Rídici kontakt, ktery se otevré po zapnuti prútokového ohrivace.
16.3 Množstvi smichane vody / vystupni množstvi
Tabulkové hodnoty jsou vztazeny k jmenovitemu napeti 400 V. Množstvi smichane vody nebo vystupni množstvi zavisi na vstupnim tlaku a na skutechnem sítovém napeti.
Použivaná teplota ve sprse, k myti rukou, napoustěni vany apod. cca 38 °C.

Vystupni tepota v kuchynském drezu a pri použiti armatur s termostatem cca 60^

X Vstupni teplota studené vody ve ^ C
Y Mnozstvi smichane vody / vystupnimnozstvI/min
1 18 kW
2 21 kW
3 24 kW
16.4 Oblasti použiti / Převodní tabulka
Specifický elektrický odpor a specifiká elektrická vodivost, viz „Zvyseni teploty".
| Udaj podle normy pri 15 °C | 20 °C | 25 °C | ||||||
| Spec. Odpor ρ ≥ | Spec. Vodivost σ ≤ | Spec. Odpor ρ ≥ | Spec. Vodivost σ ≤ | Spec. Odpor ρ ≥ | Spec. Vodivost σ ≤ | |||
| Ωcm | mS/m | μS/cm | Ωcm | mS/m | μS/cm | Ωcm | mS/m | μS/cm |
| 900 | 111 | 1111 | 800 | 125 | 1250 | 735 | 136 | 1361 |
| 1000 | 100 | 1000 | 890 | 112 | 1124 | 815 | 123 | 1227 |
| 1100 | 91 | 909 | 970 | 103 | 1031 | 895 | 112 | 1117 |
| 1200 | 83 | 833 | 1070 | 93 | 935 | 985 | 102 | 1015 |
| 1300 | 77 | 769 | 1175 | 85 | 851 | 1072 | 93 | 933 |
16.5 Ztraty tlaku
Armatury
| Tlaková ztrátá armatur prí objemovém prútoku 10 U/min | ||
| Páková baterie cca | MPa | 0,04 - 0,08 |
| Armatura stermostatem cca | MPa | 0,03 - 0,05 |
| Ručni sprcha cca | MPa | 0,03 - 0,15 |
Dimenzováni potrubní sítě
K výpočtu dimenzováni potrubní sítě je pro prístroj doporučena tlaková ztrát 0,1 MPa.
16.6 Podmíky v pripadě poruchy
V pripadé poruchy muže v instalaci krátkodobě vzniknout zatízení maxímalné 80 °C prì tlaku 1,0 MPa.
16.7 Udaje ke spotbrenergie
Udaje o vyrobku odpovidaji nafrizem EU ke smernici o ekodesignu vyrobku v souvislosti se spotrebou energia (ErP).
| DHE 18 SLi 25A DHE 18/21/24 SLi DHE 27 SLi | ||||
| 227492 227493 227494 | ||||
| Výrobce | STIEBEL ELTRON | STIEBEL ELTRON | STIEBEL ELTRON | |
| Zátežový profil | S | S | S | |
| Třída energetické účinnosti | A | A | A | |
| Rocné spotřeba proudu | kWh | 479 | 479 | 473 |
| Energetická účinnost | % | 39 | 39 | 39 |
| Nastavení teploty u výrobce | °C | 60 | 60 | 60 |
| Hladina akustického tlaku | dB(A) | 15 | 15 | 15 |
| Zvělástné poukyny k měrení účinnosti | žádné | Udaje pří Pmax. | žádné | |
16.8 Tabulka udajú
| DHE 18 SLi 25A | DHE 18/21/24 SLi | DHE 27 SLi | ||||||||
| 227492 | 227493 | 227494 | ||||||||
| Elektrotechnické Údaje | ||||||||||
| Jmenovité napětí | V | 380 | 400 | 415 | 380 | 400 | 415 | 380 | 400 | 415 |
| Jmenovitý výkon | kW | 16,2 | 18 | 19,4 | 16,2/19/21,7 | 18/21/24 | 19,4/22,6/25,8 | 24,4 | 27 | 29,1 |
| Jmenovitý poud | A | 24,7 | 26 | 27 | 27,6/31,4/33,3 | 29/33/35 | 30,1/34,3/36,3 | 37,1 | 39 | 40,5 |
| Jišění | A | 25 | 25 | 32 | 32/32/35 | 32/32/35 | 32/35/40 | 40 | 40 | 40 |
| Fáze | 3/PE | 3/PE | 3/PE | |||||||
| Frekvence | Hz | 50/60 | 50/60 | 50/- | 50/60 | 50/60 | 50/- | 50/- | 50/- | 50/- |
| Max. impedance sítě prí 50 Hz | Ω | 0,300 | 0,285 | 0,274 | 0,331 | 0,314 | 0,302 | 0,200 | 0,190 | 0,183 |
| Specifiký odpor σ15≥ (při Østudé ≤55 °C) | Ω cm | 900 | 900 | 900 | 900 | 900 | 900 | 900 | 900 | 900 |
| Specifiká vodivost σ15≤ (při Østudé ≤55 °C) | μS/cm | 1111 | 1111 | 1111 | 1111 | 1111 | 1111 | 1111 | 1111 | 1111 |
| Připojky | ||||||||||
| Vodovodní prípojka | G 1/2 A | G 1/2 A | G 1/2 A | |||||||
| Meze použitelnosti | ||||||||||
| Max. dovolěné tlak | MPa | 1 | 1 | 1 | ||||||
| Max. teplota prětoku pro dodatečné ohřev | °C | 55 | 55 | 55 | ||||||
| Hodnoty | ||||||||||
| Max. teplota vystupné vody | °C | 65 | 65 | 65 | ||||||
| Zap | l/min | >2,5 | >2,5 | >2,5 | ||||||
| Průtok pro ztrát y tlaku | l/min | 5,2 | 5,2/6,0/6,9 | 7,7 | ||||||
| Tlakové ztrát y prí objemověm proudu | MPa | 0,04 | 0,04/0,06/0,08 | 0,1 | ||||||
| Zobrazení teplé vody | l/min | 9,2 | 9,2 / 10,7 / 12,3 | 13,8 | ||||||
| ΔØ prí zobrazení | K | 28 | 28 | 28 | ||||||
| Üdaje o hydraulickém systému | ||||||||||
| Jmenovitý objem | I | 0,4 | 0,4 | 0,4 | ||||||
| Provedení | ||||||||||
| Volitelný príkon | - | X | - | |||||||
| Nastavení teploty | °C | 20-60 | 20-60 | 20-60 | ||||||
| Trīda ochrany | 1 | 1 | 1 | |||||||
| Izolačné bloc | Umělá hmota | Umělá hmota | Umělá hmota | |||||||
| Topný systém zdroje tepla | Holá spirála | Holá spirála | Holá spirála | |||||||
| Víko a zadné stěna | Umělá hmota | Umělá hmota | Umělá hmota | |||||||
| Barva | bílá | bílá | bílá | |||||||
| Kryti (IP) | IP25 | IP25 | IP25 | |||||||
| Rozměry | ||||||||||
| Výška | mm | 478 | 478 | 478 | ||||||
| Šířka | mm | 225 | 225 | 225 | ||||||
| Hloubka | mm | 105 | 105 | 105 | ||||||
| Hmotnesti | ||||||||||
| Hmotnost | kg | 4,5 | 4,5 | 4,5 | ||||||
Záruka
Pro pristroje nabyte mimo uzemi Nemecka neplatzi zaručni podmíky poskytované našimi firmami v Nemecko. V zemich, ve kterych některá z nasich dceřiních společnosti distribuujene naš výrobky, poskytuje zaruku jenom tato dceřina společnost. Takovou zaruku lze poskytnout pouze tehdy,Pokud dceřiná společnost vydala vastné zaručni podmíky. Jinak nelze zaruku poskytnout.
Na pristroje zakoupene v zemich, ve kterych nejsou nase yrobky distribuovany zdnou z dceirinych spolecnosti, neposkytujeme zdnou zaruku. Pripadne zaruky zavazne prislibene dovozcem zustavaji proto nedotcené.
Zivotni prostreia recyklace
Pomozte nám chránit naseživotni prostředí. Materiały po použít zlikvidujte v souladu s platnymi narodnimi prédpisy.
OBSLUGA
info@stiebel-eltron.cz
www.stiebel-eltron.cz
Finland
STIEBEL ELTRON OY
Kapinakuja 1 | 04600 Mntsälä
Tel. 020 720-9988
info@stiebel-eltron.fi
www.stiebel-eltron.fi
France
STIEBEL ELTRON SAS
SnadnýManuál