Q8752E - 监控摄像头 AXIS - 免费用户手册
免费查找设备手册 Q8752E AXIS PDF格式.
用户关于以下问题的提问 Q8752E AXIS
0 问题 关于此设备。回答您知道的问题或提出自己的问题。
提出关于此设备的新问题
下载您的设备说明 监控摄像头 免费PDF格式!查找您的手册 Q8752E - AXIS 并重新掌握您的电子设备。本页发布了使用您的设备所需的所有文档。 Q8752E 品牌 AXIS.
用户手册 Q8752E AXIS
此功能是通过将一个特定的值赋给该函数,然后在该函数中使用该函数来调用。
此功能是通过将一个特定的值赋给该函数,然后在该函数中使用该函数来调用。
此功能是通过将一个特定的值赋给该函数,然后在该函数中使用该函数来调用。
Safety
ThisproductcomplieswithIEC/EN/UL62368-1, safetyofaudio/videoandITequipment,and IEC/EN/UL60950-22,SafetyofInformation TechnologyEquipment.
| 有毒有害物质或元素 | ||||||
| 部件名称 | 铅(Pb) | 汞(Hg) | 镉(Cd) | 六价铬(Cr-(VI)) | 多溴联苯(PB-B) | 多溴二苯醚(PB-DE) |
| 电气实装部分 | X | 00000 | ||||
| 0:表示该有毒有害物质在该部件均质材料中的含量均在GB/T26572标准规定的限量要求以下。X:表示该有毒有害物质至少在该部件的某一均质材料中的含量超出GB/T26572标准规定的限量要求。 | ||||||
Contactinformation
AxisCommunicationsAB
Emdalavagen14
22369Lund
Sweden
Tel:+46462721800
Fax:+4646136130
axis.com
Warrantyinformation
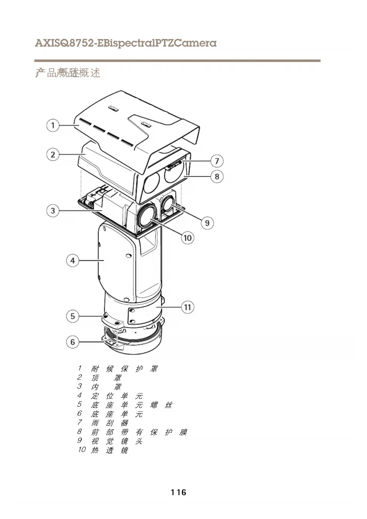
1 耐候保护罩
2 顶 罩
3 内 罩
4 定位单元
5 底座单元螺丝
6 底座单元
7雨刮器
8 前部带有保护膜
9 视觉镜头
10 热透镜

11盖
ZH
1 顶罩连接器
2 RS485连接器
3 电源连接器
4 控制按钮
5 RJ45 连接器
6 LED 状态指示灯
7音频输入3.5毫米连接器
8 SD 卡槽(microSD,不含卡)
9 输入电源连接器
10 I/O 连接器
11 RJ45 连接器
12 SFP 模块的 SFP 插槽(不含)
如何安装产品
危险
电击风险。安装产品之前,电缆都应断电。
小心
电气连接和导线管安装应由经过认证的电工执行,并遵守当地法规。
小心
伤害风险。活动部件。操作期间,请保持身体部位远离产品。安装或维护产品时,请断开电源。
小心
伤害风险。灼热的表面。请勿在操作期间触摸该产品。执行产品维护时,请断开电源并让表面冷却。
安装底廉单单元

1 底座单元
1.移除四颗底座单元螺丝(T30)。
2.同时逆时针拉转底座单元,直到底座单元和定位单元其余部分的箭头对齐。
3.移除底座单元。

注
移除透明底座单元盖板时,请勿使用尖锐工具。
4.移除透明底座单元盖板。

1导线管盖夹
2 导线管盖
3螺丝孔(4个)
5.仅适用于导线管安装:取下两个导线管盖夹,然后取下导线管盖。
6.在四个螺丝孔中使用适当的紧固件将底座单元固定到安装表面。
布线布线
警告
触点危险。本产品应同时使用电源线中的保护接地线和接地编织层进行接地。
确保保护接地线和接地编织层的两端与其各自的接地表面接触。
重要
仅使用符合指定电缆区域要求的电缆。有关详细信息,请参见 电缆厚度在第130。页

1 电源线(不包括)
2应力消除器
3 接地螺丝
4接地编织层(不包括)
5 底部电缆孔
1.安装可选的导线管适配器(不包括)。
2.将接地编织层连接到接地螺丝。
- 将电源线、I/O电缆和网络电缆穿过底座单元上的孔(如上图所示)。或者,将其穿过底部电缆孔。
4.将电源线穿过应力消除器,并保持应力消除器与电缆末端距离为530毫米(21英寸)。

1 I/O 电缆(可选,不包括)
2 网络电缆(不包括)
5.将I/O电缆(可选)穿过应变消除件,并使应变消除件至电缆端的距离为420毫米(16.5英寸)。
6. 将网络电缆(光纤电缆和/或RJ45电缆)穿过应力消除器,并保持应力消除器与连接器末端的距离为580毫米(23英寸)。有关不同网络连接选项的详细信息,请参见安装网络链路。在第125页
7.合上并拧紧这三个应力消除器

1 电源线(不包括)
2 I/O 电缆(可选,不包括)
3网络电缆(不包括)
4 电缆垫片
5 透明底座单元盖板
8.将电缆垫片安装到电缆上。请参见 电缆厚度在。第130页
9. 将电源线、I/O电缆和网络电缆(包括电缆垫片)穿过透明底座单元盖板上的孔,然后按照上图所示进行布线。
注
如果您同时使用光纤电缆和RJ45电缆进行网络连接,请将光纤电缆与I/O电缆穿过同一电缆垫片。在电缆和电缆垫片之间涂抹密封剂以防电缆滑出。有关不同网络连接选项的详细信息,请参见安装网络链路。在第125页
10.将透明底座单元盖板放在底座单元上,并将线缆垫圈安装在孔内。

ZH
1 I/O 连接器
2 电源连接器
3 O形环
注
为避免电缆被拉扯时单元电源意外断开,保护接地线应该比他两条电线(电源线内)长约10毫米(0.4英寸)。
备注
为了让安装尽可能简单,我们建议您将电源线护套剥去约90毫米(3.5英寸),并将I/O电缆护套剥去70毫米(2.8英寸)。
11.安装电源连接器和I/O连接器
12.调整网络、I/O和电源线,以使电缆垫片与连接器末端的距离分别为240毫米(10英寸)、170毫米(7英寸)及160毫米(7英寸)。
注
确保O型环正确安装在透明底座单元盖板周围

13.将定位单元放在底座单元上。确保两个单元上的箭头对齐。
14. 按顺时针方向将定位单元转回至其初始位置并拧紧 4 个底座单元螺丝(扭矩 3.0 牛米)。
注
在安装两个单元时,请确保电缆未被夹扁。
安装路链路



安装网络链路时,有几个选项可以选择:
A:通过光纤电缆或与SFP插槽中的SFP模块(带有相应的连接器)连接的RJ45电缆。
B:通过与固定式RJ45连接器连接的RJ45电缆。
C:同时连接上述两种电缆,在此情况下,SFP模块连接用作主网络链路,固定的RJ45连接用作故障转移链路。
有关网络连接器位置的详细信息,请参见产品概述在。第116页备注
不包括SFP模块。有关可用SFP模块的详细信息,请参见 axis.com
- 如果您仅通过使用相应SFP模块的光纤电缆安装网络链路,它可以用作远程布线安装的独立解决方案。
连接电缆

1.松开四颗盖子螺丝(T20),然后取下盖子。

1 输入电源连接器
2 I/O 连接器
3 RJ45 连接器
4 SFP模块的SFP插槽(不包括SFP模块)
- 连接网络(光纤和/或RJ45)、I/O和电源线。有关不同网络连接选项的详细信息,请参见安装网络链路。在第125页
- 将盖子放回原来位置,拧紧四颗盖子螺丝(扭矩3.0牛米)。

4.移除保护盖。
5.接通产品电源。
移除顶罩
小心
受伤风险。活动部件。操作期间,请保持身体部位远离产品。安装或维护产品时,请断开电源。
小心
受伤风险。灼热的表面。请勿在操作期间触摸该产品。执行产品维护时,请断开电源并让表面冷却。
注
移除顶罩时,将显露易受碰撞影响的视觉摄像机部件。移除顶罩时,请确保不要让顶罩碰撞无保护的摄像机。
要插入SD卡或重置为出厂默认设置,请移除顶罩:

要查明SD卡的插入位置或重置为出厂默认设置,请参见产品概述在。116页多信息请参见axis.com上的用户手册
调节风雨罩

1.拧松耐候保护罩的2个螺丝。
2.将耐候保护罩设置在首选位置
3.拧紧耐候保护罩的2个螺丝(扭矩0.8牛米)。
规格规格
要查找最新版本的产品数据表,请转到 axis.com上的产品页并查找支持和文档
电缆厚度
使用本产品随附的电缆垫片时,电缆直径应在5至11毫米(0.2至0.4英寸)的范围内。
注
- 使用保持在指定电缆区域内的电缆
- 选择符合当地法规的电缆
- 确保电缆孔都已正确密封
- 使用与电缆孔和电缆区域相匹配的电缆垫圈或电缆套管
有关附件(如适合其他电缆区域的电缆垫圈和电缆套管)的信息,请参见 www-axis.com
安全信息
危险等级
危险
表示如果不避免则会导致死亡或严重伤害的危险情况。
警告
表示如果不避免则可能导致死亡或严重伤害的危险情况。
小心
表示如果不避免则可能导致轻微或中度伤害的危险情况。
注
表示如果不避免则可能导致财产损失的情况。
其他德蒂级
重要
表示产品正常工作所必需的重要信息。
备注
表示有助于充分利用产品的有用信息。
安全说明
危险
电击风险。在对产品进行安装或维护之前,应断开所有电缆的电源
警告
安讯士产品应由受过培训的专业人员进行安装,并遵守当地法律和法规。
小心

伤害风险。活动部件。操作期间,请保持身体部位远离产品。安装或维护产品时,请断开电源。
小心

受伤风险。灼热的表面。请勿在操作期间触摸该产品。执行产品维护时,请断开电源并让表面冷却。
注
·使用安讯士产品时应遵守当地法律和法规。
- 在干燥通风的环境中存放安讯士产品。
-避免将安讯士产品暴露在冲击或高压环境下。
- 请勿将产品安装在不稳固的立杆、支架、表面或墙壁上。
- 安装安讯士产品时,仅使用适用的工具。使用电动工具过度施力可能导致产品损坏。
- 请勿使用化学品、腐蚀剂或气雾剂。
- 使用蘸纯净水的干净布进行清洁。
- 仅使用符合产品技术规格的附件。这些附件可由安讯士或第三方提供。安讯士推荐使用与产品兼容的安讯士电源设备。
- 仅使用安讯士提供或推荐的备件。
- 请勿尝试自行维修产品。有关服务事项,请联系安讯士支持部门或安讯士经销商。
- 请勿将摄像机镜头对准太阳或其他高强度辐射源,因为这可能会损坏摄像机。
运输运输
注
安讯士产品运输途中,应使用其原包装或等效包装,以防对产品造成损坏。
粤池电池
安讯士产品使用3.0VBR2032锂电池作为其内部实时时钟(RTC)的电源。在正常情况下,此电池将持续至少五年。
蓄电池电量过低会影响实时时钟的运行,从而导致实时时钟在每次上电时重置。当电池电压较低时,产品的服务器报告中将显示一条日志消息
小心
请勿自行更换电池。如果日志消息要求更换电池,请联系安讯士支持部门
3.0V纽扣锂电池内含1,2-二甲氧基乙烷;乙二醇二甲醚(EGDME),CAS编号为110-71-4。