PowerLite Pro Z9870U - 投影仪 EPSON - 免费用户手册
免费查找设备手册 PowerLite Pro Z9870U EPSON PDF格式.
用户关于以下问题的提问 PowerLite Pro Z9870U EPSON
0 问题 关于此设备。回答您知道的问题或提出自己的问题。
提出关于此设备的新问题
下载您的设备说明 投影仪 免费PDF格式!查找您的手册 PowerLite Pro Z9870U - EPSON 并重新掌握您的电子设备。本页发布了使用您的设备所需的所有文档。 PowerLite Pro Z9870U 品牌 EPSON.
用户手册 PowerLite Pro Z9870U EPSON
为了您的安全,请在使用本产品前,阅读本说明书中的所有说明。忽视本说明书中的说明而错误操作可能会损坏本产品,或造成人身伤害或设备损坏。将本安装说明书放在手边以备将来参考。
阅读投影机的使用说明书和安全使用须知并按照这些文档中的说明进行操作。
安全指示
说明文件和本产品使用图形符号来显示如何安全使用本产品。
指示及其含意说明如下。阅读本说明书前,请务必正确理解这些指示。
| 指示 说明 | |
| 警告 | 若忽视本图标表示的信息,可能会因错误操作处理而导致人员受伤甚至死亡。 |
| 小心 | 若忽视本图标表示的信息,可能会因错误操作处理而导致人员受伤或身体伤害。 |
符号说明
| 符号 说明 | |
| ⊗ | 表示必须执行的操作。 |
| ! | 表示应该执行的操作。 |
| 注意 | 表示可能会造成本产品或投影机损坏或故障。 |
| 表示相关或有用的信息。 |
安装安全注意事项
| 警告 | |
| 安装本产品时遵照本说明书中的说明。如果未遵照说明,则本产品可能会掉落并可能造成人身伤害或意外。 | 1 |
| 请勿将本产品安装在不稳定的位置。确保安装位置的强度足以支撑投影机和本产品的重量。 | 2 |
| 固定螺丝时请勿使用粘合剂、润滑剂、油等。如果您在安装架固定点上使用粘合剂来防止螺丝松脱,或者您在投影机上使用润滑剂、油等,投影机机壳可能会破裂,并导致投影机掉落,从而造成人身伤害或设备损坏。 | 3 |
| 本产品仅用于垂直投影或堆放投影。请勿安装投影机以外的其它设备。否则,本产品可能会被损坏;如果投影机掉落,则可能造成死亡或人身伤害。 | 4 |
| 至少应由两名有资质的服务人员来安装本产品。安装时松开螺丝时,注意不要掉落本产品。如果本产品或投影机掉落,则可能造成死亡或人身伤害。 | 5 |
| 进行调整后,确保拧紧所有螺丝。否则,产品可能会掉落并造成人身伤害或设备损坏。 | 6 |
| 移动和安装时戴上防滑手套。如果本产品掉落,则可能造成人身伤害或设备损坏。 | 7 |
| 请勿盖上投影机的进风口和排气口。如果盖上,内部温度会上升并可能导致火灾。 | 8 |
| 小心 | |
| 请勿将本产品安装在环境温度超出投影机操作范围的位置。可能会因此发生故障。 | 9 |
| 请勿将投影机安装在会有震动或碰撞的位置。 | 10 |
| 用螺栓固定框架时,确保不要将手或手指夹在螺栓和框架之间。 | 11 |
| 采用堆放配置时,堆放的投影机请勿超过三台。框架可能会掉落并造成伤害。 | 12 |
使用须知
| 警告 | |
| 改造或拆解只能由有资质的服务人员执行,除非使用说明书中有明确说明时。否则,可能会造成故障或意外。 | ◇ |
| 请勿在本产品上吊挂东西。另外,除投影机外,也请勿将任何物件吊挂在本产品上。如果本产品损坏和掉落,则可能造成死亡或人身伤害。 | ◇ |
| 请勿站在或坐在本产品上。否则,产品可能损坏。 | ◇ |
| 定期检查没有损坏的部分或松脱的螺丝。如果任何部件损坏,请立即停止使用产品。如果本产品或投影机掉落,则可能造成死亡或人身伤害。 | ◇ |
| 小心 | |
| 调整本产品时请勿过度用力。否则,产品可能会损坏并造成伤害。 | ◎ |
| 请勿将螺丝或撑脚放在儿童够到的地方。意外情况下儿童可能会吞咽它们。如果发生这种情况,请立即联系医生。 | ◎ |

产品功能特点
| 垂直投影 |
| 对于支持垂直投影投影机,您可以将投影机放在框架中,然后垂直安装框架,以进行垂直投影。 |
| 堆放投影 |
| 您可以将投影机固定到本产品上,并堆放两台投影机。 |

- 您也可以在框架上安装投影机安装板,然后放置投影机。
- 您可以堆放两个框架,将备用投影机放在上面。
- 本产品可以支撑重量达 15kg 的备用投影机。

包装内容
本产品附带有以下部件。确保所有部件已提供
如果有任何部件缺失或损坏,请与销售商店联系。

上部框架 (x1)
用于固定投影机安装板的螺丝(x2)

下部框架(x1)
堆放导轨 (× 5) 封堵器 (× 4)

投影机安装板 (x2)




| 形状名称 | 数量用途 | ||
| M6 x 30 mm内六角螺栓带垫圈/弹簧垫圈 | 4 | 用于安装投影机 | |
| M6 x 40 mm内六角螺栓M6六角螺帽 | 10 | 用于安装堆放导轨 |
使用本产品附带的螺栓或螺丝,按照本说明书中的说明安装它。请勿将这些螺栓换成其它类型的螺丝。

- 在开始安装前,将需要的工具和部件放在一起。
- 按照当地法规废弃处理本产品。遵守工作场所的废弃处理规定(如果适用)。

安装到投影机
注意
- 请勿卸下本说明书中没有指定的部件螺丝。
- 确保将投影机固定到本产品的螺丝,以及连接上部和下部框架的金属装置,均已固定牢。
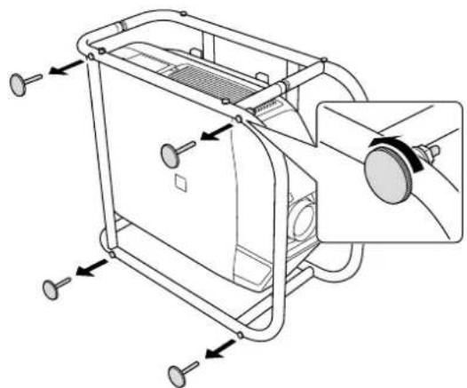
1
将上部框架安装到投影机。
通过吊装固定点(四个点),将螺栓孔对准上部框架。
使用普通六角扳手拧紧附带的M6×30mm螺栓(带垫圈/弹簧垫圈),然后固定好框架。


2
将上部框架安装到下部框架。
请参阅投影机附带的使用说明书了解如何卸下撑脚。
注意
- 如果投影机的撑脚为左安装,则在角度调整时,它们可能会防碍到框架。
- 当投影机撑脚卸下时,请勿直接将投影机放在地板等平面上。

调整安装角度
您可以使用三个调整旋钮和撑脚调整投影机的角度。
倾斜投影机,或水平旋转以调整投影图像的位置。
| 调整旋钮的可调范围 撑脚的可调范围 | ||
| 倾斜度调整 | ±2° | ±3° |
| 水平调整 | ±5° | |
| 垂直调整 | ±2° | ±3° |

确保安装角度处于指定范围内。请参阅投影机附带的使用说明书以了解有关倾斜角度的信息
使用调整旋钮调整角度
您可以调整已就位投影机的倾斜度 (± 2^) 和方向(水平 ± 5^ ,垂直 ± 2^ )。

a:调整倾斜度
b:调整水平角度
c: 调整垂直角度
| 小心 |
| 旋转调整旋钮,确保不要将手或手指夹在旋钮之间。 |
a:调整倾斜度
| 调整到+侧 | 先朝+方向旋转调整旋钮A,再朝+方向旋转调整旋钮B以将它们固定到位。 |
| 调整到-侧 | 先朝-方向旋转调整旋钮B,再朝-方向旋转调整旋钮A以将它们固定到位。 |

调整后,确保调整旋钮A和B均未松动。
b: 调整水平角度
| 调整到+侧 | 先朝+方向旋转调整旋钮A,再朝+方向旋转调整旋钮B以将它们固定到位。 |
| 调整到-侧 | 先朝-方向旋转调整旋钮B,再朝-方向旋转调整旋钮A以将它们固定到位。 |

调整后,确保调整旋钮A和B均未松动。
c:调整垂直角度
| 调整到+侧 | 先朝+方向旋转调整旋钮B,再朝+方向旋转调整旋钮A以将它们固定到位。 |
| 调整到-侧 | 先朝-方向旋转调整旋钮A,再朝-方向旋转调整旋钮B以将它们固定到位。 |

调整后,确保调整旋钮A和B均未松动。
使用撑脚调整角度
当框架放在地板上时,您可以通过撑脚调整安装角度。
您可以调整投影机的倾斜度(水平 ± 3^ )和方向(垂直 ± 3^ )。
调整倾斜度:使用左右撑脚。

调整水平角度:使用前后撑脚。

注意
可以安装和去掉撑脚。注意,如果撑脚延伸得太远,则它们会开离。

垂直投影
您可以将投影机放到框架,然后垂直安装框架,以进行垂直投影。

请参阅投影机附带的使用说明书以了解您的投影机是否支持垂直投影。
从下部框架卸下撑脚(四个点)。

将卸下的撑脚(四个点)安装在框架侧面。
在侧面有螺丝孔可以用于安装撑脚。务必注意不要将它们安装到错误一侧。


3 撑脚朝下时,使框架保持垂直。


堆放两台投影机
您可以堆放最多两个框架。
| 警告 |
| 堆放两个框架时,请在天花板等类似物体上悬挂它们。如果本产品或投影机掉落,则可能造成死亡或人身伤害。 |
| 小心 |
| 堆放投影时,堆放的框架不得超过三个。框架可能会掉落并造成伤害。 |

将堆放导轨(五个点)安装到将处于堆放下部的框架上。使用普通六角扳手拧紧附带的 M6 × 40 ~mm 螺栓(带六角螺帽)以固定好导轨。
使用两个螺栓固定好每个堆放导轨。


从将处于堆放上部的下部框架卸下四个撑脚。

3 把将处于堆放上部的框架放到堆放导轨上,用第2步中卸下的撑脚将其固定。使用撑脚固定框架左右两边的四个点。


安装备用投影机
通过安装投影机安装板,您可以将备用投影机放置到框架上。

- 本产品可以支撑重量达 15kg 的备用投影机。
- 您可以堆放两个框架,将备用投影机放在上面。
将投影机安装板上的孔对准上部框架的螺丝孔。用附带的螺丝固定好投影机安装板(两个点)。

调整投影机安装板的位置,然后放置备用投影机。
将投影机安装板的位置对准备用投影机撑脚的位置,然后放置备用投影机。

注意
请勿用紧固螺栓等固定投影机安装板。否则,投影机安装板可能会变形。

规格
投影机规格
| 安装方向 水平/垂直 | *投影机只能水平堆放。 | |
| 调整角度 水平倾斜 调整旋钮:±2°,撑脚±3°*您可以最高调整到±5°。 | ||
| 水平旋转 调整旋钮:±5° | ||
| 垂直倾斜 调整旋钮:±2°,撑脚±3°*您可以最高调整到±5°。 | ||
| 最大负载能力 约32kg | ||
| 备用投影机最大重量 | 15kg | |
| 框架直径 | 30mm | |
| 外部尺寸 | 674(宽)x363(高)x770(长)mm(不包括突出部分) | |
| 框架重量 约17.5kg | ||
外部尺寸
数值仅供参考。

1:卸下撑脚的值。安装撑脚时 381mm
2: 卸下撑脚的值。安装撑脚时 695 ~mm

商标和版权
此处使用的其他产品名称仅供识别之用,这些名称可能是它们各自所有者的商标。Epson不拥有这些商标的任何和所有权利。
為了您的安全,請在使用本產品前閱讀本指南中的所有使用須知。若忽略本指南中的使用須知而操作錯誤,可能會造成本產品受損,或造成人身傷害或財產損失。請將本安裝指南留在身邊,以供未來參考。請閱讀投影機的使用說明書及安全使用須知,並依照這些文件的指示。
安全使用須知
本文件和產品均使用圖像符號,顯示安全使用產品的方法。
使用須知及其含意如下所示。在閱讀本說明書之前,請務必正確理解其含意。
| 使用須知 說明 | |
| 警告 | 本符號代表若有疏忽,可能因錯誤操作而造成人身傷害,或甚至死亡的注意事項。 |
| 注意 | 本符號代表若有疏忽,可能因錯誤操作而造成人身傷害或外傷的注意事項。 |
符號說明
| 符號 說明 | |
| ⊗ | 表示不可進行的動作。 |
| ➀ | 表示應進行的動作。 |
| 注意 | 表示可能造成本產品或投影機受損或故障。 |
| 表示相關或實用的資訊。 |
安装的安全注意事项
| 警告 | |
| 安裝本產品時,請依照本說明書中的使用須知進行。 若未依照使用須知進行,本產品可能墜落並造成人身傷害或意外。 | ● |
| 請勿將本產品安裝於不穩定的位置。 請確定安裝位置的堅固程度,足以支撐投影機和本產品的重量。 | ◎ |
| 固定螺絲時,請勿使用黏著劑、潤滑油及其他油類等。 若在吊架固定點用黏著劑防止螺釘鬆脫,或在投影機用潤滑油或其他油類,投影機機殼可能斷裂並墜落,造成人身傷害或意外。 | ● |
| 本產品僅適用於直向投影或堆疊投影。請勿安裝投影機以外的任何裝置。 否則本產品可能受損;若投影機墜落,可能造成死亡或人身傷害。 | ● |
| 本產品應至少由兩位合格維修人員進行安裝。 在安裝中鬆開螺絲時,小心別讓本產品墜落。 若本產品或投影機墜落,可能造成死亡或人身傷害。 | ● |
| 進行調整後,請務必鎖緊所有螺絲。 否則本產品可能會墜落,並造成人身傷害或財產損失。 | ● |
| 移動與安裝投影機時,請戴上防滑手套。 若本產品可能會墜落,或造成人身傷害或財產損失。 | ● |
| 請勿蓋住投影機的進氣口或排氣口。 如果蓋住其中一個通氣口,可能導致內部溫度上升而發生火災。 | ◎ |
| 注意 | |
| 請勿將本產品安裝於溫度超出投影機操作範圍的位置。這可能會引發故障產生。 | ◎ |
| 請勿將投影機安裝於可能會受到震動或衝撞的位置。 | ◎ |
| 使用螺栓固定框架時,請確定雙手或手指未夾在螺栓與框架之間。 | ◎ |
| 採用堆疊配置時,請勿堆疊三台投影機以上。框架可能會墜落並造成受傷。 | ◎ |
使用注意事項
| 警告 | |
| 除非使用說明書明確規定,否則僅應由合格維修人員進行改裝及拆解。 不然可能會發生故障或意外。 | ○ |
| 請勿用本產品吊掛。 此外,除了投影機之外,請勿將任何物體吊在本產品上。 若本產品斷裂並墜落,可能造成死亡或人身傷害。 | ○ |
| 請勿站在或坐在本產品上, 否則產品可能受損。 | ○ |
| 定期檢查無任何部位受損,或無螺絲鬆脫。 若任何部件受損,請立即停止使用產品。 若本產品或投影機墜落,可能造成死亡或人身傷害。 | ○ |
| 注意 | |
| 調整本產品時,請勿過度施力。 否則產品可能斷裂,並可能造成受傷。 | ◎ |
| 請勿將螺絲或撑腳放在兒童可及之處。 兒童可能會誤吞上述物品。 若發生此情況,請立即就醫。 | ◎ |

產品功能
| 直向投影 |
| 若是支援直向投影的投影機,您可將投影機放在框架內,然後垂直安裝框架,進行直向投影。 |
| 堆疊投影 |
| 您可以將投影機固定至本產品,最多可多堆疊兩部投影機。 |

- 您也可以將投影機安裝板安裝至框架,然後放置投影機。
- 您可以堆疊兩個框架,並將一個備用投影機置於上方。
- 本產品可支撐最高重達15公斤的備用投影機。

包装内容物
本產品隨附以下部件。請確定所有部件都有隨附。
若有遺失任何物品或部件受損,請與您購買產品的店家聯繫。

上框架(x1)
用於固定投影機安裝板的螺絲

(x2)


下框架 (× 1)
堆叠導件(x5)阻擋器(x4)

投影機安裝板(x2)



| 形狀 名稱 | 編號 用途 | ||
| M6 x 30 mm 承窩頭內六角螺栓 附有墊圈/彈簧墊圈 | 4 | 用於安裝投影機 | |
| M6 x 40 mm 承窩頭內六角螺栓 M6 六角螺帽 | 10 | 用於安裝堆疊導件 |
使用本產品隨附的螺絲,以如本說明書所述的方式安裝。請勿以任何其他類型的螺栓,取代這些螺栓。

·請在開始安裝之前,備妥所需的工具及部件。
·請根據當地法律及法規妥善處置本產品。若適用,請依照工作場所的處置法規進行。

安装至投影機
注意
·請勿拆下本說明書未規定之部件的螺絲。
·請確定用於將投影機固定至本產品的螺絲,以及用於連接上下框架的金屬配件均牢牢固定。
將上框架安裝至投影機。
將上框架的螺栓孔對齊天花板吊架固定點(四點)。
使用市售的六角扳手鎖緊隨附的M6×30mm螺栓(及墊圈/彈簧墊圈),然後固定框架。


将上框架安装至下框架。
將上框架對齊下框架,然後旋轉金屬配件(四點)以固定到適當位置。

3 安装阻擋器(四點)。

取下投影機的撑腳。
有關如何取下撑腳的資訊,請參閱投影機隨附的使用說明書。
注意
- 若投影機的擋腳仍裝著未取下,擋腳可能會在進行角度調整時干擾框架。
- 已取下投影機的撑腳時,請勿將投影機直接放在地板等處。

调整安装角度
您可以使用三個調整旋鈕及撑腳,調整投影機的角度。
將投影機傾斜或水平旋轉,以調整投影影像的位置。
| 調整旋鈕的調整範圍 撑腳的調整範圍 | ||
| 傾斜調整 | ±2° | ±3° |
| 水平調整 | ±5° | |
| 垂直調整 | ±2° | ±3° |

請確定安裝角度在指定的範圍內。有關傾斜調整的資訊,請參閱投影機隨附的使用說明書。
使用调整旋钮调整角度
您可以調整設定投影機的傾斜度 (± 2^) 及方向(水平 ± 5^ ,垂直 ± 2^ )。

a:調整傾斜度
b:調整水平角度
c:調整垂直角度
| 注意 |
| 旋轉調整旋钮時,請確定雙手或手指未夾在旋钮之間。 |
a:調整傾斜度
| 調整至+側 | 先往+方向旋轉調整旋鈕A,然後往+方向旋轉調整旋鈕B,以固定到適當位置。 |
| 調整至-側 | 先往-方向旋轉調整旋鈕B,然後往-方向旋轉調整旋鈕A,以固定到適當位置。 |

調整後,請確定調整旋鈕A及B未鬆脫。
b:調整水平角度
| 調整至+側 | 先往+方向旋轉調整旋鈕A,然後往+方向旋轉調整旋鈕B,以固定到適當位置。 |
| 調整至-側 | 先往-方向旋轉調整旋鈕B,然後往-方向旋轉調整旋鈕A,以固定到適當位置。 |

調整後,請確定調整旋鈕A及B未鬆脫。
c:調整垂直角度
| 調整至+側 | 先往+方向旋轉調整旋钮B,然後往+方向旋轉調整旋钮A,以固定到適當位置。 |
| 調整至-側 | 先往-方向旋轉調整旋钮A,然後往-方向旋轉調整旋钮B,以固定到適當位置。 |

調整後,請確定調整旋鈕A及B未鬆脫。
使用撑腳調整角度
框架放在地板上時,您可以使用撑腳調整安裝角度。
您可以调整投影機的傾斜度(水平 ± 3^ 及方向(垂直 ± 3^ )。
調整傾斜度:使用左撑腳和右撑腳。

調整水平角度:使用前撑腳和後撑腳。

注意
可以安裝或拆下撑腳。請注意,如果將撑腳伸得太遠,撑腳將會分開。

直向投影
您可以將投影機放入框架,然後垂直安裝框架,進行直向投影。

若您的投影機支援直向投影,請參閱投影機隨附的使用說明書。
1
從下框架取下撑腳(四點)。

2
將取下的撑腳(四點)安裝至框架的側邊。
側邊有您可以安裝撑腳的螺絲孔。請確定未將撑腳裝錯邊。

3 擊腳朝下後,請將框架直立。


堆疊兩部投影機
您最多可以堆叠兩部投影機。
| 警告 |
| 堆疊兩部投影機時,請勿從天花板吊掛。 若本產品或投影機墜落,可能造成死亡或人身傷害。 |
| 注意 |
| 堆疊投影時,請勿堆疊三個框架以上。 框架可能會墜落並造成受傷。 |
将堆叠導件(五點)安裝至將在堆疊下層的框架。使用市售的六角扳手鎖緊隨附的M6 x40mm螺栓(及六角螺帽),然後固定導件。
使用兩顆螺栓固定每個堆疊導件。

從將位於堆疊上層的下框架取下四個撑腳。

3 將堆疊上層的框架放在堆疊導件上,然後使用在步驟2中取下的撑腳固定框架。使用撑腳固定框架左右四點。


安装備用投影機
安装投影機安装板後,您可以將備用投影機放在框架上。

·本產品可支撐最高重達15公斤的備用投影機。
- 您可以堆疊兩個框架,並將一個備用投影機置於上方。
1
將投影機安裝板對齊上框架的螺絲孔。使用隨附的螺絲固定投影機安裝板(兩點)。

2
調整投影機安裝板的位置,然後放上備用投影機。
將投影機安裝板對齊備用投影機的撑腳,然後放上備用投影機。

注意
請勿使用繫帶固定投影機安裝板。否則投影機安裝板可能會變形。

規格
投影機規格
| 安装方向 水平/垂直 | *投影機只可以橫放堆疊。 | |
| 調整角度 水平 倾斜 調整旋钮:±2°,腳撑 ±3° *您最多可以調整±5°。 | ||
| 水平旋轉 調整旋钮:±5° | ||
| 垂直傾斜 調整旋钮:±2°, 腳撑±3° *您最多可以調整±5°。 | ||
| 最大負載量 約32kg | ||
| 備用投影機的最大重量 | 15kg | |
| 框架直徑 | 30mm | |
| 外形尺寸 | 674(寬)×363(高)×770(長)mm(不包括突出部分) | |
| 框架重量 約17.5kg | ||
外形尺寸
数值僅供參考。

1:取下撑腳時的數值。安裝撑腳時為 381mm 。
2:取下撑腳時的數值。安裝撑腳時為 695mm 。

商標和著作權
本文件所使用之其他產品名稱僅作識別用途,產品名稱為擁有者所有。Epson 並不擁有這些商標的任何權利。
a:傾歪を調整
b:左右の角度を調整
c:上下の角度を調整
简易说明书