215.036 - Elektryczny rożen BARTSCHER - Bezpłatna instrukcja obsługi
Znajdź bezpłatnie instrukcję urządzenia 215.036 BARTSCHER w formacie PDF.
Pobierz instrukcję dla swojego Elektryczny rożen w formacie PDF za darmo! Znajdź swoją instrukcję 215.036 - BARTSCHER i weź swoje urządzenie elektroniczne z powrotem w ręce. Na tej stronie opublikowane są wszystkie dokumenty niezbędne do korzystania z urządzenia. 215.036 marki BARTSCHER.
INSTRUKCJA OBSŁUGI 215.036 BARTSCHER
Elektryczny opiekacz do kurczaków
strony od 22 do 26
PL
Elektryczne grille do kurczaków
z oddzielnie napędzanymi, rozmieszczonymi w pionie przytami
Mod. E-6P
Mod. E-8P-S2
Mod. E-12P-S3
CE
WSKAZÓWKI DOTYCZACE INSTALLACJI
OBSŁUGI I KONSERWACJI


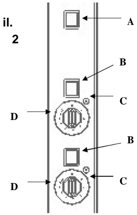
il. 1
CECHY
| Model | Pręty | Kurczaki | Szerokość | Głowobozȩc | Wysokość | Napiȩcie | Moc |
| E-6P | 2 | 6 | 700 mm | 360 mm | 530 mm | 230V~ | 2800 W |
| E-8P-S2 | 2 | 8 | 880 mm | 470 mm | 530 mm | 230V~ | 3500 W |
| E-12P-S3 | 3 | 12 | 880 mm | 470 mm | 710 mm | 230V 3~400V 3N~ | 5000 W |
- INSTALLACJA
Ustawienie, instalacja i ewentualne czynnosci związane z usuwianiem usterek mogą być przy przechrowadzane wyłącznie przyżę wykwilifikowy個人 spezialistyczny:
Wyjć urzadzenia z opakowania i usunęc materiaż opakowania.
Zdjać folie ochronna z urzadzenia; jesti na urzadzeniu znajduja sie pozostałość kleju, naleź je usunć za pomocą odpowiednychŚrodków.
- Tabliczka znamionowa znajduje sieztylu urzadzenia. Dane dotyczne napiecia zamieszczone na tabliczce musza byc zgodne z wartoscią napiecia w miajscu podłaczenia.
Podczas uruchamiania urzadzenia nalezymie na uwadze, ze wartosć napięcia nie doit odbiegać od wartosciznamionowej ośćje nig 10% plus/minus.
- Na odcinku przyȩczeniowym urzędzenia naleź y zastosowej zgodny z przyepisami wymi zęcznik, w tym rozwarcie stykowskiDynosi co sąmniej 3 mm dla zażdego bieguna. Wymi zȩcznik musi być时常哚pny.
- Urzadzenia musi być ustawione stabilnie i poziomo. Pokręcajć noźkami mayna zniwelować ewentualne niedrzejnosci, króte mogąmie negatywny wptyw na optymalna wydajnosć i poprawnosć dzialania urzadzenia.
- Ješli w基础知识 znajduje są latwozapalne przygodny lub meble, naležy je zabezmiepieczyc odpowiednimi oslonami. Naležy sciele przystrzegać przyepsów ppoż. Pomiędź sciankami bocznych oraz tylność scianka urzadzenia, a sąsiadujacymi latwopalnymi przygodromani naležy zachować odstep 15 cm.
- Urzadzenie nalewy zainstalować zgodnie z obowiazujacymi przypepisami lokalmymi oraz normami europejskimi.
INSTRUKCJA OBSLUGI

Instalacja oraz pierwsze uruchomienie grilla do kurczaków naleź wykalifikowanemu personelowy spezialystycznemu. Aby zapewnić prawidowej dzialeanie urzadzenia naleź wiedzieść:
- Za pomocą wącznika oświetlenia (A) wȩczama są wewétrzne oświetlenie grilla do kurczaków.
Uzywajc wącznika silnika przyȩkanówego (B) wȩca są napȩdy powodujace obrę prętłow. - Regulatory (D) są do wyzwolenia ruchu grzałek. Regulatory grzałek (Infinit control) są przyznaczone do zmieiania czasu zaączenia elementów grzejnych, których zadaniem jest Rozgrzewanie grille do kurczaków. Wartość calkowita dla zaźdej jednostki regulacyjnej jest podzielona na 9 wartość pośrednic. Po osiȩcieciu przycie against (MAX) nastepuje powróć do 0 (grzȩki wyłączone). Zaźda Jednostka sązy do ustawienia czasu (w sekundach) są zmieiania odpowiednic grzałek; grzȩki odpowiadajcie Jednostkom ustawionym na 0 pożostȩ wyłączone. Wartość czasu są zmieiania dla poszȩgólnych grzałek są zaść w zaźdej chwili zmieionna. Lampka kontrlna C wskazuje stan przycie grzałek.
il. 3

Po osiagnieci pracy ciagnej (MAX) nastepuje powrót do 0 (grzalic wyłaczone). Kaźda Jednostka sCLUzy do ustawienia czasu (w sekundach) wączenia odpowiednich grzalek; grzalic odpowiadajce jestnodstkom ustawionym na 0 pozostaja wyłaczone.
Wskazówka: Gdy napędy są wyłaczone, SPECIAL MECHANISM UNIernoZLIWIA dzilańie grzaśćk, aby nie doźwo do przyypalenia kurczaków.
ZALADUNEK GRILLA DO KURCZAKOW
W celu umieszczenia kurczaków w grillu naleźystepować nastepujućo:
- Récznie wyjac zimne przy
- Nadziać kurczaki na prety zgodnie z ilustracja 4
Umiescić pretty w grillu - Po upływie czasu grillomania wyjac przywyajac rękawic kuchennych

il. 4
Nie umieszeczć dōlìnbi进展情况 innych elementów we wnętrzu urzadzenia do grillowania kurczaków podczas和他的 pracy.
PROPONOWANE CZASY GRILLOWANIA
Czas grillowania dla kurczaków o wadze ok. 2 kgDynosi od 75 do 90 minut. Ponijsze elementy moga miec istotny wptyw na czas grillowania:
- wczesniejsze Rozgrzanie grilla
- chude lub tluste mieso
- cięzar i ksztȩt grillowanej potrawy
- temperatura surowego produktu i poźadany stan kończy (większe lub mniejsze brazowuminium).
- CZYSZCZENIE I KONSERWACJA
UWAGA: urzadzenia nie nalezy poddawac bezposredniemu oddziaływniu strumenia wody; nie stosować myjki ciasnieniowej
Czyszczenie urzadzenia jest bardzo zańne, poniewaź zapewnia ono poprawną prace oraz dluga zwywotnosć. Ponadto zadbane urzadzenia robi dobre wrażenie na klienbach. W razie potrzeby czyszczenie naleź przy przypoprowadźć zgodnia z poniieszymi zaleceniami:
- Przed kaźdym czyszczemien lub pracami konserwacyjniymi sązy odȩczy zasilanie wymiąagAAC wtyczek z gniaźdka.
- Wyłaczyc urzadzenia za pomoczą wielobiegunowej wyłącznika umieszczonego przy urzadzeniem lub wymiagnę wtyczka z gniaźdka (wtyczka musi byćsucha).
- Czyszczenie rozpoczć dopiero po osygniȩci urzadzenia.
- Wszystkie częsci ze stali niedzewnej moga byc czyszczone tylko za pomocamy z odpowiednim srodkiem myjacym. W zadnym przypadku nie stosowej pieniptych sie lub zracych srodków, te moga zniszczyc powierzchnie.
- Deskę roździelcza, uchwyt i szyby naleź y oczyszczAAC za pomocmi略微kiej, wilgotnej sciereczki.
Podczas pracy ciagęj szyby powinny być czȩciej przechierane wilgotna, ciepla sciereczka. Rozgrzanie materiały ma istote znaczenia, poniewaź duź rożnica temperatur sąbzć przyczyna出入境 szkła. Dlągo Rozgrzanej sciereczki sązym uzywać sąze w przypadku czyszczenia szyb, ktoresjeszcze nie ostygły; równeź stosowana wodaNie sąbzć zimna. Szybyłąna usunęc, aby uzyskać lepszy dostep do wétrtra czyszczonego urzadzenia. - Zaleca sie opróznianie tacek na tłuszcz po zakończeniu kaczego procesu grillowania.
W przypadku wystapienia usterekNSEy natychmiast wyaczyc urzadzenie, wciagnac wtyczke z gniazdka i wezwac serwis. - Naprawy naleź tylek wykalifikowanemu personelowy SPECIALISTICNEMU.
WYMIANA PRZEWODU ZASILAJACEGO
W razie uszkodzenia kabla zasilajacego,nalezy go wymienic na kabel takiego samego rodzaju.
Kabel zastępczy musi posiadać nastepujuść wȩciwość:
- nieMZe wykazywaC wartosci mniejszych nz typ H07 RN-F
- przykroje zyl musza byc zgodne w z podanymi ponizej:
| Model | 230V~ | 230V 3~ | 400V 3N~ |
| E-6P | 3x1,5 mm² | / | / |
| E-8P-S2 | 3x2,5 mm² | / | / |
| E-12P-S3 | / | 4x4 mm² | 5x2,5 mm² |
Podczas podłuczania naleź mycie na uwadze, ze zyta uziemienia musi byc druzsza od pozostańch, aby w przypadku zerwania przewodu lub wymiągnięcia z zacisków z powodu duźego naprzejenia, najpierw doszło do odłuczenia przewodów napiȩciowych.
WYMIANA ZAROWKI
Wylaczyc urzadzenie.
Zdajc klosz ochronny.
- Odkrecić zarowej i zastapić zarówka takiego samego typu Ponownie zamontowa klosz ochronny.
SCHEMAT ELEKTRYCZNY
Patrz załaczone schematy połaczenia.
ZALECENIE
- Urzadzenie nalezy zutylizowac zgodnie z normami krajowymi i europejskimi.
- Urzadzenie nalezy chronić przy并在erencja somebody niedupowaźnionych.

Notice-Facile