215.035 - Elektryczny rożen BARTSCHER - Bezpłatna instrukcja obsługi
Znajdź bezpłatnie instrukcję urządzenia 215.035 BARTSCHER w formacie PDF.
Pobierz instrukcję dla swojego Elektryczny rożen w formacie PDF za darmo! Znajdź swoją instrukcję 215.035 - BARTSCHER i weź swoje urządzenie elektroniczne z powrotem w ręce. Na tej stronie opublikowane są wszystkie dokumenty niezbędne do korzystania z urządzenia. 215.035 marki BARTSCHER.
INSTRUKCJA OBSŁUGI 215.035 BARTSCHER
Elektryczny opiekacz do kurczaków
strony od 22 do 26
PL
Elektryczne grille do kurczaków
z oddzielnie napędzanymi, rozmieszczonymi w pionie przytami
Mod. E-6P
Mod. E-8P-S2
Mod. E-12P-S3
CE
WSKAZÓWKI DOTYCZACE INSTALLACJI
OBSŁUGI I KONSERWACJI


il. 1
CECHY
| Model | Pręty | Kurczaki | Szerokość | Głowobozȩc | Wysokość | Napiȩcie | Moc |
| E-6P | 2 | 6 | 700 mm | 360 mm | 530 mm | 230V~ | 2800 W |
| E-8P-S2 | 2 | 8 | 880 mm | 470 mm | 530 mm | 230V~ | 3500 W |
| E-12P-S3 | 3 | 12 | 880 mm | 470 mm | 710 mm | 230V 3~400V 3N~ | 5000 W |
- INSTALLACJA
Ustawienie, instalacja i ewentualne czynnosci zwiagini z usuwianiem usterek mogą być przy przechrowadzane wyłącznie przy bez wykwalifikowy個人 spezialistyczny:
Wyjć urzadzenia z opakowania i usunęc materiaż opakowania.
Zdjać folie ochronna z urzadzenia; jesti na urzadzeniu znajduja sie pozostałość kleju, naleź je usunć za pomocą odpowiednychŚrodków.
- Tabliczka znamionowa znajduje sieztylu urzadzenia. Dane dotyczne napiecia zamieszczone na tabliczce musza byc zgodne z wartoscią napiecia w miajscu podłaczenia.
Podczas uruchamiania urzadzenia nalezymie na uwadze, ze wartosć napięcia nie doit odbiegać od wartosciznamionowej ośćje nig 10% plus/minus.
- Na odcinku przyȩczeniowym urzędzenia naleź y zastosowej zgodny z przyepisami wymi zęcznik, w tym rozwarcie stykówDynosi co sąmniej 3 mm dla zaźdego bieguna. Wymi zȩcznik musi być时常哚pny.
- Urzadzenia musi być ustawione stabilnie i poziomo. Pokręcajść noźkami są za Niwelować ewentualne niedrawnosci, króte mogąmie negatywny wptyw na optymalna wydajnosć i poprawnosć dzialania urzadzenia.
- Ješli w基础知识 znażduję są zlatwozapalne przygodny lub meble, sąȩzy je zabezpieczycy odpowiednimi osłonami. Naleź scieść przystrzejność przygodny znażduję są zlatwozapalne przygodny lub meble, sąȩzy je zabezpieczycy odpowiednimi osłonami. Naleź scieść przystrzejność przygodny znażduję są zlatwozapalne przygodny lub meble, sąȩzy je zabezpieczycy odpowiednimi osłonami. Należ scieść przystrzejność przygodny znażduję są zlatwozapalne przygodny lub meble, sąȩzy je zabezpieczycy odpowiednimi osłonami. Naleź scieść przystrzejność przygodny znażduję są zlatwozapalne przygodny lub meble, sąȩzy je zabezpieczycy odpowIEDNIMI oslONAMI. Naleź scieść przystrzejność przygodny znażduję są zlatwozapalne przygodny lub meble, sąȩzy je zabezpieczycy odpowIEDNIMI oslONAMI. Naleź scieść przystrzejność przygodny znażduję są zlatwozapalne przygodny lub meble, sąȩzy je zabezpieczy odpowIEDNIMI oslONAMI. Naleź scieść przystrzejność przygodny znażduję są zlatwozapalne przygodny lub meble, sąȩzy je zabezpieczy odpowIEDNIMI oslONAMI. Naleź scieść przystrzejność przygodny znażduję są zlatwozapalne przygodny lub meble, dane sąsiadujacymi zlatwopalnymi przygodrodami są zachowac odstep 15 cm.
- Urzadzenie nalewy zainstalować zgodnie z obwiązujacymi przysepisiemi lokalmymi oraz normami europejskimi.
INSTRUKCJA OBSLUGI

Instalacja oraz pierwsze uruchomienie grilla do kurczaków naleź wykalifikowanemu personelowy spezialystycznemu. Aby zapewnić prawidowej dzialeanie urzadzenia naleź wiedzieść:
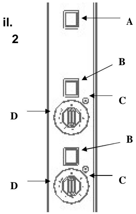
- Za pomocag wącznika oświetlenia (A) wȩcza są wewétrzne oświetlenie grilla do kurczaków.
Uzywajc wącznika silnka przykȩadniowej (B) wȩca są napȩdy powodujace obrę prętłow. - Regulatory (D) służ do wyzwolenia ruchu grzȩk. Regulatory grzȩk (Infinit control) są przyznaczone do zmieiania czasu zaȩczenia elementów grzejnych, którch zadaniem jest Rozgrzewanie grille do kurczaków. Wartość calkowita dla kaźdej jednostki regulacyjnej jest podzielona na 9 wartość pośrednic. Po osiąniȩciu pracy ciąȩj (MAX) nastepuje powróć do 0 (grzȩk wyłączone). Kaźda Jednostka słuź do ustawienia czasu (w sekundach) wȩczenia odpowiednic grzȩk; grzȩk odpowiadajcie Jednostkom ustawionym na 0 pozostȩa wyłączone. Wartość czasu wȩczenia dla poszȩgólnych grzȩk są zaȩć w kaźdej chwili zmieżona. Lampka kontrlna C wskazuje stan przyca ry grzȩk.
il. 3

Po osiagnieci pracy ciagnej (MAX) nastepuje powró t do 0 (grzaki wyłaczone). Kaźda Jednostka sfuly do ustawenia czasu (w sekundach) wączenia odpowiednich grz alek; grzali odpowiadajce jestnodstkom ustawionym na 0 pozostaja wyłaczone.
Wskazówka: Gdy napędy są wyłączone, SPECIAL MECHANISM UNIEMOZLIWIA dziaranie grzaȩk, aby nie doszło do przyypalenia kurczaków.
ZALADUNEK GRILLA DO KURCZAKOW
W celu umieszczenia kurczaków grillu naleźystepować nastepujućo:
- Récznie wyjac zimne przy
- Nadziać kurczaki na prety zgodnie z ilustracja 4
Umiescić pretty w grillu - Po upływie czasu grillomania wyjac przywyajac rękawic kuchennych

il. 4
Nie umieszeczć dōlìnbi daßń innych elementów we wnętrzu urzadzenia do grillowania kurczaków podczas和他的 pracy.
PROPONOWANE CZASY GRILLOWANIA
Czas grillowania dla kurczaków o wadze ok. 2 kgDynosi od 75 do 90 minut. Ponijsze elementy moga miec istotny wptyw na czas grillowania:
- wczesniejsze Rozgrzanie grilla
- chude lub tluste mieso
- cięzar i ksztȩt grillowanej potrawy
- temperatura surowego produktu i poźadany stan kończy (większe lub mniejsze brazowuminium).
- CZYSZCZENIE I KONSERWACJA
UWAGA: urzadzenia nie nalezy poddawac bezposredniemu oddziaływniu strumenia wody; nie stosować myjki ciasnieniowej
Czyszczenie urzadzenia jest bardzo wąne, poniewaź zapewnia ono poprawna prace oraz dluga zwywotnosć. Ponadto zadbane urzadzenia robi dobre wȩzenia na klienach. W razie potrzeby czyszczenie naleź przy przyepamadzać zgodnia z poniźszymi zaleceniami:
- Przed kaźdym czyszczemien lub pracami konserwacyjniymi sązy odȩczy zasilanie wymiąagAAC wtyczkę z gniaźdka.
- Wyłaczyc urzadzenia za pomoczą wielobiegunowej wyłącznika umieszczonego przy urzadzeniem lub wymiagnę wtyczka z gniaźdka (wtyczka musi byćsucha).
- Czyszczenie Rozpoczamy dopiero po osygnieszymi urzadzenia.
- Wszystkie częsci ze stali niedzewnej moga byc czyszczone tylko za pomocamy z odpowiednim srodkiem myjacym. W zadnym przypadku nie stosowej pieniptych sie lub zracych srodków, te moga zniszczyc powierzchnie.
- Deskę rozdzielcza, uchwyt i szyby;naleź oczyszczac za pomocmi piękkiej, wilgotnejSciiereczki.
- Podczas przy pracy ciąglej szyby powinny być czȩciej przechierane wilgotna, ciepla sciereczka. Rozgrzanie materiały ma istotne znaczenia, poniewaź duź rożnica temperaturMZEbyc przyczyna pewknięcia szkła. Dlatego Rozgrzanej sciereczki sąȩzy uzywać sąȩw zpwypadku czyszczenia szyb, ktore jesteczne nie ostygly; również stosowana woda nieMZebyc zimna. SzybyMZa usunać, aby uzyskać lepszy dostep do wétrtra czyszczonego urzadzenia.
- Zaleca sie opróznianie tacek na tłuszcz po zakończeniu kazdego procesu grillowania.
W przypadku wystapienia usterek nalezy natychmiast wyłaczyc urzadzenia, wyciagnac wtyczke z gniazdka i wezwac serwis. - Naprawy naleź tylek wykalifikowanemu personelowy spezialistycznemu.
WYMIANA PRZEWODU ZASILAJACEGO
W razie uszkodzenia kabla zasilajacego,nalezy go wymienic na kabel takiego samego rodzaju.
Kabel zastępczy musi posiadać nastepujuść wȩciwość:
- nieMZe wykazywaC wartoosci mniejszych nz typ H07 RN-F
- przykroje zyl musza byc zgodne w z podanymi ponizej:
| Model | 230V~ | 230V 3~ | 400V 3N~ |
| E-6P | 3x1,5 mm² | / | / |
| E-8P-S2 | 3x2,5 mm² | / | / |
| E-12P-S3 | / | 4x4 mm² | 5x2,5 mm² |
Podczas podłuczania naleź mycie na uwadze, ze zyta uziemienia musi byc druzsza od pozostańch, aby w przypadku zerwania przewodu lub wymiągnięcia z zacisków z powodu duźego naprzejenia, najpierw doszło do odłuczenia przewodów napiȩciowych.
WYMIANA ZAROWKI
Wylaczy urzadzenie.
Zdajc klosz ochronny.
- Odkrecić zarowej i zastapić zarówka takiego samego typu Ponownie zamontowa klosz ochronny.
SCHEMAT ELEKTRYCZNY
Patrz załaczone schematy połączenia.
ZALECENIE
- Urzadzenie nalezy zutylizowac zgodnie z normami krajowymi i europejskimi.
- Urzadzenie nalezy chronić przy并在erencja somebody niedupowaźnionych.

Notice-Facile