FB1000E - Congélateur BRANDT - Notice d'utilisation et mode d'emploi gratuit
Retrouvez gratuitement la notice de l'appareil FB1000E BRANDT au format PDF.
| Type d'appareil | Congélateur coffre |
| Capacité nette | Non précisé |
| Nombre de tiroirs | 4 |
| Classe énergétique | F |
| Type de froid | Statique |
| Consommation énergétique annuelle | Non précisé |
| Niveau sonore | Non précisé |
| Type de dégivrage | Manuel |
| Dimensions (HxLxP) | Non précisé |
| Poids | Non précisé |
| Couleur | Blanc |
| Alarme porte ouverte | Non précisé |
| Type de commande | Mécanique |
| Garantie | Non précisé |
| Accessoires inclus | Non précisé |
FOIRE AUX QUESTIONS - FB1000E BRANDT
Téléchargez la notice de votre Congélateur au format PDF gratuitement ! Retrouvez votre notice FB1000E - BRANDT et reprennez votre appareil électronique en main. Sur cette page sont publiés tous les documents nécessaires à l'utilisation de votre appareil FB1000E de la marque BRANDT.
MODE D'EMPLOI FB1000E BRANDT
Vou venez d'acquérir un réfrigerateur Brandt et nous vous en remercions.
Votre nouvel apparéil a été créé pour vous par nos équipes de recherche pour conserver au moins vos alimentés et répondre à vos exigences en termes de performance et de respect de l'environnement.
Sous un design très actuel, les réfrigérateurs Brandtprésentent de très nombreuses innovations pertinentes.
Performants, ils assurent une fraîcheur optimale à vos alimentés grâce à un espace de conservation organisé.
Vous trouvezé également dans la gamme de produits Brandt, un choix étendu d'appareils en parfaite harmonie avec l'esthétique de votre nouveau réfrigérateur Brandt.
Décovrez-les dans le nouveau catalogue Brandt que pouvez vous procurer auprès de notre service consommateurs qui se tient à votre disposition et à votre écoute pour répondre à toutes vos questions ou suggestions.
Brandt, spécialiste incontesté de l'electroménager depuis plusieurs décennies, vous offre une fois de plus, des produits performants, fiables et facies à utiliser.
La Marque Brandt
Avertissement et conseils importants 4
A l'attention de l'utilisateur
Tableau de commande 6
Mise en service 6
Réglage de la température 6
Congélation rapide 7
Voyant d'alarme 7
7
Masse eutectique 7
Congélation des aliments 7
Conservation des produits surgelés 7
Décongélation 8
Fabrication de glaçons 8
Conseils 9
Conseils pour la congélation 9
Conseils pour la surgélation 9
Entretien 10
Dégivrage 10
Nettoyage périodique 10
Arrêt prolongé 10
Service après-vente et pieces de rechange 11
A l'attention de l'insexteur Characteristique Techniques 12
Installation 12
Emplacement 12
Branchementélectrique 12
Réversibilité de la porte 12
Instructions pour l'encastrement 13
AVENTISSEMENTS ET CONSEILS IMPORTANTS
Il est très important que cette notice d'utilisation soit gardée avec l'appareil pour toute future consultation. Si cet apparéil avait été vendu ou transféré à une autre personne, assurez-vous que la notice d'utilisation suivie l' apparéil, de façon à ce que le nouvel utilisateur puisse être informé du fonctionnement de celui-ci et des averissements relatifs.
Ces avertissements sont disponibles pour votre suturet et pour celle d'autrui.
Nos you prions donc de bien vouloir les dire attentivement avant dinstaller et d'utiliser l'appareil.
Sécurité
Cet apparéil a été concu pour être utilisé par des femmes. Veillezdonc à ce que les enfants n'y touchent pas ou qu'ils ne l'utilisent pas comme un jouet.
Débranchez toujours la prise de courant avant de procéder au nettoyage interieur et extérieur de l'appareil et au remplacement de la lampe d'éclairage (pour les appareils qui en sont équipés).
Ne consommez pas certains produits tels que les batonnets glacés des leur sortie de l'appareil; la température très BASSE à laquelle ils se trouvent peut provoquer des brûlures.
Cet apparéil est lourd. Faites attention lors du déplacement.
- Faites très attention lorsque vous déplacez l'appareil afin de ne pas endommager des parties du circuit de réfrigérant et ainsi d'éviter le risque de fuites de liquide.
L'appareil ne doit pas etre situé a proximite de radiateurs ou cuisinières à gaz.
Evitez une exposition prolongée de l'appareil aux rayons solaires.
Il doit y avoir une circulation d'air suffisante à la partie arrrière de l'appareil et il faut éviter tout endommagement du circuit réfrigérant.
■ Seulement pour congélateurs (sauf modèles encastrés): un emplacement optimal est la cave.
Ne pasmettre d'instrumentselectriquesa l'intérieur de I'appareil (sorbetiere, par exemple).
Service/Réparation
- Une éventuelle modifiication à l'installation électrique de votre maison qui devrait etre nécessaire pour l'installation de l'appareil ne devra etre effectuee que par du personnel qualifie.
■ Il est dangereux de modifier ou d'essayer de modifier les caractéristiques de cet apparéil.
Cet apparéil contient des hydrocarbures dans son circuit de réfrigerant; l'entretien et la recharge ne doivent être effectuels que par du personnel autorisé. - Les réparations effectuées par du personnel non qualifié peuvent provoquer des dommages.
Contactez le ServiceAprès-Vente le plus proche et n'exigez que des pieces détachées originales.
Utilisation
- Les réfrigerateurs et/ou congélateurs menagers sont destinés uniquement à la conservation et/ou congélation des alimentés et des boissons.
■ Un produit décongelé ne doit jamais être recongelé.
Suivez les indications du fabricant pour la conservation et/ou congélation des aliments. - Dans tous les apparciels de réfrigération et condensation il y a des surfaces qui se couvrent de givre. Suivant le modele, ce givre peut être éliminé automatiquement (dégivrage automatique) ou bien manuellement. N'essayez jamais d'enlever le givre avec un objet métallique, vous risqueriez d'endommager irréparablement l'évaporateur.
N'employez pour cela que la spatule en plastique livrée avec l'appareil. De même, ne decollez jamais les bacs à glace avec un couteau ou tout autre objecttrerenchant.
N'utilisez jamais de dispositifs mécaniques ou autres moyens artificiens pour accélérer le dégivrage, à part desquiconisés.
Ne placez ni bouteilles ni boîtes de boissons gazeuses dans le congélateur/compartment à basse température, elles pourraient exploser.
N'utilisez jamais des objets métalliques pour nettoyer l'appareil; vous risquez de l'endommager.
En cas de panne, ntessayez pas de réparer l'appareil vous-même.
Installation
Assurez-vous, après avoir installé l'appareil, que celui- ci ne repose pas sur le cable d'alimentation. Important: en cas de dommage au cable d'alimentation, il faudra le replacer avec un cable spécial ou un ensemble disponible chez le fabricant ou le service technique après-vente.
Pendant le fonctionnement normal, le condenseur et le compresseur à l'arrière de l'appareil s'échauffent sensiblement. Pour des raisons de
sécurities, la ventilation doit être prévue comme indiquédans le paragraphe correspondant.
Attention: veillez à ne pas obstruer les ouvertures de ventilation.
A cause du système de transport, l'huile contenu dans le compréseur pourrait s'écouler dans le circuit réfrigérant. Attendez 2 heures au moins avant de brancher l'appareil pour permettre à l'huile de refluer dans le compréseur.

Protection de l'environnement
Cet apparéil ne contient pas, dans son circuit de réfrigérant et ses matières isolantes, de gaz réfrigérant nocifs à la couche d' ozone. L' apparéil ne doit pas être mis au rebut avec les ordures urbaines et la ferraille. Il faut éviter d' endommager le circuit réfrigérant, surtout à l'arrière de l' apparéil, pres de l'échangeur thermique. Vous pouvez vous renseigner sur les centres de ramassage auprès de votre bureau municipal.
■ Les matérielles dans cet apparéil identifiés par le symbole vent recyclables.
i DESCRIPTION DE L'APPAREIL
① Bandeau de commande
② Bacs de congélation rapide
③ Bacs pour les denrées congelées et surgelées



UTILISATION
Cet apparéil est repéré par le symbole XXX ce qui signifie qu'il est apte à la congélation de denrées fraîches, au stockage de produits surgelés et à la fabrication de cubes de glace.
Nettoyage
L'appareil étant convenablement installé, nous vous conseillons de le nettoyer soigneusement avec de l'eau tiède savonnese, pour enlever l'odeur caractéristique de "neuf".

N'utilise pas de produits abrasifs, de poudre à récurer ni d'éponge métallique, qui risquent d'endommager les finitions.

Tableau de commande
① Interrupteur pour la congélation rapide
(2) Voyant de contrôle jaune pour la congélation rapide
③ Voyant de contrôle alarme rouge
④ Voyant de contrôle secteur vert
(5) Thermostat
Mise en service
Branchez la prise de courant.
Tournez le bouton du thermostat ⑤ dans le sens des aiguilles d'une montre au-delà de la position «O» (STOP). L'appareil est ainsi en état de fonctionnement. Le voyant ④ s'allume.
Pour arrêté l'appareil tournez le bouton du thermostat ⑤ sur la position «O».
Réglage de la température
Tournez le bouton du thermostat ⑤ vers la droite sur une position moyenne.
Les différentes positions comprises entre "1" et "6" indiquent des températures toujours plus froides.
Pour une bonne conservation des produits surgelés
et congelés la température à l'intérieur doit être inférieure ou égale à -18°C (position moyenne).
Attendez que la lampe ③ s'éteigne. Cela signifie que la température optimale a été atteinte.
Les positions du thermostat sont susceptibles d'être modifiées en considérant que la température interne dépend des facteurs suivants:
- température ambiente;
- fréquence d'ouverture des portes;
- quantité d'aliments conservés;
- emplacement de l'appareil.
Congélation rapide

Pour la congélation rapide («SUPER»),
l'interrupteur ① doit être enforcé jusqu'à ce que le voyant jaune ② s'allume.
La fonction de congélation rapide peut être oétée on réappuyant sur la touche ①. Le voyant jaune ② s'éteint.
Voyant d'alarme
Levoyant d'alarme ③ s'allume lorsque la températe à l'intérieur du congélateur remonte au-dessus d'une certaine valeur qui est préjudicable à une conservation de longue durée (plus chaud que -12^ ). Il est normal que levoyant d'alarme resté momentanément allumé lors de la mise en marche de l'appareil, c'est-à-dire jusqu'à ce que la températe à l'intérieuratteigne la valeur convenant le mieux à la conservation des alimentés.
réglage pendant les vingt-quatre heures qui suivent l'introduction du lot de denrées, puis repassez au régime de conservation.
Placez les alimentes à congefer dans les deux compartments supérieurs de l'appareil de façon à évider qu'ils puissant entraient en contact avec des produits déjà congelés, ce qui en éleverait la température; s'il y a peu d'aliments à congefer, utilisez toujours le premier comportement supérieur.
Dans le premier compartment, les produits peuvent être empilés seulement jusqu'à la marque imprimée sur le compartment propresment dit, de manière à ne pas empêcher la circulation de l'air.
La quantité maximum d'aliments pouvant être congelés en 24 heures est indiquée sur la plaque signalétique située à l'intérieur de l'appareil.
Après écoulement du temps nécessaire à la congélation, répartissez les produits congélés dans les autres tiroirs, de manière à libérer les susdits compartments pour une prochaine opération de congélation.
Calendrier de congélation
3|4|5|6|7|8|9|10|11|12|13|14|15|16|17|18|19|20|
Ces symboles correspondant à différents types de produits congelés. Les chiffres indiquent la durée de conservation en mois du type correspondant de produit. La durée de conservation supérieure ou inférieure est valable en fonction de la qualité des aliments et du traitement qu'ils ont subi avant la conjugation.
Masse eutectique
L'appareil est muni d'un accumulateur thermique qui permet d'augmenter la durée de conservation en cas de coupure de courant électrique ou de panne de l'appareil.
Cet accumulateur devra estre place dans le compartment supérieur sur les alimentes.
Congélation des aliments
Mettez l'appareil en régime de congélation rapide.
Attendez 3 heures au moins avant d'introduire les aliments frais, si vous venez demettre l'appareil en marche. Si le congélateur fonctionne déjà en régime de conservation, pour un meilleur résultat de congélation (correspondant au poids des denrées congestables en une seule fois sur la plaque signalétique), commuter sur «S» au moins 24 heures avant l'introduction des alimentés. Ce temps peut être réduit en fonction de la quantité des alimentés.
En régime de congélation le compréseur est mis en marche continue, ce qui permet de profiter au maximum de sa puissance frigorifique. Maintenez ce
Conservation des produits surgelés
A la première mise en fonctionnement ou après un arrêt prolongé mettez l'appareil en régime de congélation et attendez deux heures au moins avant d'introduire les alimentés surgelés.
Passez ensuite au régime de conservation. Cela n'est pas nécessaire si le congélateur est déjà en fonction.
Attention En cas de coupure de courant abstenez-vous d'ouvrir la porte. Si l'interruption est de courte durée (jusqu'à 18 heures) et si le conGPLateur est rempli, il n'y a aucun risque d'altération pour les alimentents. En cas contraire vous devrez consommer les alimentents le plus rapidement possible (une augmentation de la température peut réduire remarquablement la durée de conservation des alimentents).
Pour l'extraction des tiroirs, procédez de la façon suivante: extrayez le tiroir jusqu'àu point de butée puis tournez-le vers le haut (voir fig.).

Décongélation
Avant leur utilisation, les alimentés congelés ou surgelés doivent être laissés décongeler dans le réfrigérateur (viande, volaille, poissons, etc.) ou à température ambiente (pour les autres alimentés), selon le temps dont on dispose pour cette opération. S'il s'agit de produits minces ou divisés, placez-les directement à cuire: dans ce cas, toutefois, le temps de cuisson sera plus long.
La fabrication des glaçons s'effectue dans le compartment Congélateur.
Remplissez d'eau le bac jusqu'aux trois-quarts de sa hauteur afin de permettre l'expansion de la glace. Le demoulage des bacs en matière plastique s'obtient par simple torsion.

N'employez pas d'objet métallique pour décoller les bacs à glaçons.
i CONSEILS
Conseils pour la congélation
- Les produits destinés à la congélation doivent être frais et d'excellente qualité. Chaque paquet doit être proportionné à l'importance de la consommation familiale de manière à être utilisé en une seule fois.
- Des paquets de petites dimensions permettent d'obtenir une congélation rapide et uniforme. Ne perdez jamais de vue qu'une fois décongelés, les alimentés congelés se détériorent rapidement.
- Les alimentés maigres se conservent比较好 et plus longtemps que les gras; le sel réduit la durée de conservation.
- Les denrées à congeler doivent être enfermées dans des emballages imperméables de qualité alimentaire. Fermez soigneusement les paquets en éliminant les poches d'air.
- Ne placez ni bouteilles ni boîtes de boissons gazeuses dans le congélateur, elles pourraient éclater.
N'introduisez jamais de liquides ou d'aliments chauds. - Ne remplissez jamais les recipients avec couvercle jusqu'au bord.
- Ne consommez pas certains produits tels que les batonnets glacés tout de suite après les avoir sortis du congelateur. La température très BASSE à laquelle ils se trouvent peut provoquer des brûlures.
- Indiquez sur chaque paquet la date de congélation, afin de pouvoir contrôler le temps d'entreposage.
- Ne congelez pas, en une seule fois, des denrées fraîches dépassant la valeur indiquée sur la plaque signalétique de l'appareil.
N'ouvre pas la porte et ne place pas de nouveaux produits à congeler pendant la congélation.
Conseils pour la surgélation
- Repérez la date de fabrication des produits surgelés et respectez la durée de conservation indiquée par le fabricant.
- Evitez d'ouvrir trop souvent la porte et ne la laissez ouverte que le temps nécessaire. Une augmentation de la température peut réduire remarquablement la durée de conservation des aliments.
Assurez-vous que l'emballage extérieur soit intact. Dans le cas contraire le produit surgelé peut déjà être abimé.
Si un paquet gonfle ou presente des traces d'humidité, cela peut dire qu'il n'a pas eté conservé à une température adequate et que le produit contenu a perdu ses qualités d'origine.
Pour l'achat des produits surgelés utilisez si possible des sacs spéciaux. De toute façon lors des courses il est conseilé de n'acheter les alimentés surgelés qu'en dernier. En outre enveloppez-les dans du papier journal et dés vous retour à la maison placez-les immédiatement dans l'appareil.
Il convient de faire très attention au moment de l'achat, car les alimentés dégelés, même partiellement, ne peuvent être recongelés. Dans ce cas consommez-les dans 24 heures.

ENTRETIEN

Débranche l'appareil avant toute opération.

Attention
Cet apparéil contient des hydrocarbures dans son circuit réfrigérant; l'entretien et la recharge ne doit donc être effectués que par du personnel autorisé.
Dégivrage
Grattez la couche de givre quand l'épaissur atteint 4 mm env. Utilisez à cet effet la spatule en plastique livrée avec l'appareil.
Il n'est pas nécessaire de débrancher l'appareil et d'enlever les produits contenus dans la cuve. Chaque fois que la couche de givre dépasse 4 mm d'épaissur, il est recommendé de procéder au dégivrage complet: vous profitez du moment où votre apparéil sera le moins garni.
Pour cela:
- sortie les produits congelés de l'appareil et conservez-les dans un endroit frais, en les enveloppant dans plusieurs feuilles de papier journal ou mistrax dans des emballages isothermes;
- tournez le bouton du thermostat ⑤ sur «O» ou retirez la fiche de la prise de courant;
- Laissez la porte ouverte et utilisez la spatule comme gouttière et placez-la dans la partie centrale, en bas, de l'appareil; placez au-dessous une cuvette pour receivevoir l'eau de dégivrage (voir fig.);
- épongez et séchez soigneusement les parois.
Conservez la spatule pour toute utilisation future; ramenez le bouton du thermostat ⑤ sur la position désirée ou branchez l'appareil.
Mettez l'appareil en régime de congélation rapide. Au bout de deux heures replacez les produits s'il y a lieu.

Attention
Pour cette opération n'utilisez jamais d'objet métallique qui risquerait de déterminer l'appareil.
N'utilise jamais de dispositifs mécaniques ou autres moyens artificiens pour accélérer le dégivrage, à part desquels préconisés.
L'élévation de température des denrées congelezées peut diminuer leur durée de conservation.
Nettoyage périodique
N'utilisez jamais des objets métalliques pour nettoyer l'appareil; vous risquez de l'endommager.
Nettoyez périodiquement l'intérieur de votre apparéil avec de l'eau tiède et du bicarbonate de soude.
Rincez et sechez soigneusement.
Une fois par an démontez la grille d'aération située à la base de l'appareil et nettoyez les conduites pour le passage de l'air à l'aide d'une Brosse ou d'un aspirateur. Une accumulation de poussière risquerait de diminuer le rendement de l'appareil.
Arrêt prolongé
Lorsque l'appareil doit rester à l'arrêt pendant un certain temps, prenez les précautions suivantes: débranchez la prise de courant; videz l'appareil; dégivrez-le et nettoyez-le à fond; laissez la porte entrouverte pour faire circuler de l'air, de façon à éviter les mauvaises odeurs.

i SERVICE APRES-VENTE ET PIECES F DE RECHANGE
Si I'appareil marche mal, il faut controller:
| Dérangement | Remède |
| L'appareil ne fonctionne pas. | - L'appareil n'est pas mis en service;METTRÉ l'appareil en service.- La fiche n'est pas branchée ou ne donne pas de contact;brancher la fiche secteur.- Le fusible a déclenché ou est défecteurs; vérifier lefusion, replacer le cas échéant.- La prise de courant est déflectuse; adressez-vous à un électricien pour éliminer les défauts du réseau. |
| La température de surgélation ne suffit pas, le voyant rougeest allumé. | - La temperature est mal reglée trop bas; consultez la section "Réglage de la température".- La portec restée ouverte trop longtemps; Ne pas ouvrirla portec plus longtemps que nécessaire.- De trop grandes quantités d'aliments ont été entreprisesau cours des dernières 24 heures; actionner lecommutateur de condensation rapide.- L'appareil se trouve à côté d'une source de chaleur;consulter la section "Emplacement". |
| Formation importante de givre dans l'appareil, éventuellesment aussi au joint de porte. | - Le joint de porten'est pas étanché (apres changement dosens d'ouverture de la porte); à l'aide d'un sèche-cheveux,réchauffer avec précaution le joint de porte aux endroits desfuites (pas plus chaud qu'env. 50 °C). Remettre en mêmetemps le joint de porte en forme à la main de manière à cequ'il soit de nouveau en position correcte. |
| Bruits anormaux. | - L'appareil n'est pas d'aplomb;ajuster les pieds régiables.- L'appareil est en contact avec la paroi ou d'autres objets;déplacer légèrement l'appareil.- Une partie de l'appareil, p. ex. un tuyau, est en contactavec une autre partie de l'appareil ou la paroi à l'arrête de l'appareil; Le cas échéant, plier cette partie avecprécaution pour l'éloigner. |
| Après avoir poussa sur la touche de condélation rapide ouapres avoir modifié le réglage de la température, lecompresseur ne se met pas en marche. | - C'est normal, il n'y a aucune anomalie; le comprésseur semet en marche après quelques instantss automatiquement. |
Une fois que tous ces contrôle ont eté effectués, si l'anomalie de fonctionnement persiste, adressez-vous au ServiceAprès-Vente le plus proche.
Pour que l'intervention soit plus rapide, au moment de l'appoint, il vaut mieux indiquer le code du modulo et le numero d'immatriculation, qui se trouvent sur le certificat de garantie ou sur la plaque d'immatriculation placée à l'intérieur de l'appareil, à gauche et en bas.

CHARACTERISTIQUES TECHNIQUES
Les données techniques figurent sur la plaque signalétique situé sur le côte gauche à l'intérieur de l'appareil.

INSTALLATION
Si cet apparéil, muni de fermeture magnétique, doit être employé pour en remplaçer un autre avec une fermeture à ressort, nous vous conseillons de rendre celle-ci inutilisable avant de mettre l'ancien apparéil de côté.
Cela dans le but d'éviter que des enfants puissant s'y renfermer et se mettre ainsi en danger de mort.
Emplacement
Placez de préférence votre apparéil loin d'une source de chaleur (chauffage, cuisson ou rayons solaires trop intensés).
Pour le bon fonctionnement de votre apparéil, la température ambiente du local doit être comprise entre +18^ et +43^ (classe T); +18^ et +38^ (classe ST); +16^ et +32^ (classe N); +10^ et +32^ (classe SN).
La classe d'appartenance est indiquée sur la plaque signalétique.
Pour l'encastrement rapportez-vous aux instructions relatives cijointes.
Branchement électrique
Contrôlez, avant de brancher l'appareil, que le voltage et la fréquence indiqués sur la plaque signalétique correspondant à ceux de votre réseau. Tolerance admise: ±6%.
Pour l'adaptation de l'appareil à des voltages différents, l'adjonction d'un autotransformateur d'une puissance ajustée est indispensable.

Important
Il faut absolument brancher l'appareil à une prise de terre qui marche. C'est pour cela que la prise du cable d'alimentation est munie d'un contact prévu exprès. Si la prise de courant du réseau domestique n'est pas branchée à la terre, branchez l'appareil à une prise de terre à part, conformément aux normes en vigueur, en vous adressant à un technicien spécialisé.
Le fabricant decline toute responsabilité, si cette norme de prévention des accidents est pas respectée.

Important
L'appareil doit pouvoir être débranché du secteur; il est donc nécessaire que la fiche reste accessible une fois que l'installation est terminée.

Cet apparéil est conforme aux Directives Communautaires suivantes:
- 73/23 CEE 19/02/73 (Basse Tension) et modifications successives;
- 87/308 CEE 02/06/87 (Suppression des interférences radio-électriques) et modifications successives;
- 89/336 CEE 03/05/89 (Compatibilité Electromagnétique) et modifications successives.
Réversibilité de la porte
La porte de l'appareil a ete immobilisée pour le transport au moyen de pivots.
Enlevez le pivot supérieur et inférieur conformément au sens d'ouverture de la porte.


Attention
La réversibilité de la porte une fois effectuee, contrôlez ensuite que le joint magnétique adhère à la carrosserie. Si la température à l'intérieur de la piece est trop BASSE (en hiver, p.ex.), il se peut que le joint n'adhère pas parfaitement. Dans ce cas, si on ne veut pas attendre que le joint reprene ses dimensions naturelles après un certain temps, on pourra accélérer ce processus en chauffant la partie interessée à l'aide d'un sèche-cheveux.
Instructions pour l'encastrement

Dimensions de la niche
Hauteur 880 mm
Profondeur 550 mm
Largeur 560 mm

Il est également nécessaire que la niche soit équipée d'un conduit d'areation ayant les mesures suivantes:
Profondeur 50 mm
Largeur 540 mm

Pour une aération optimale de l'appareil il est obligatoire de pratiquer une ouverture dans le socle (voir Fig.).

- Glissez l'appareil dans la niche. Poussez à fond jusqu'àu contact de la butée (A) avec le meuble (Fig.).

- Appliquez le joint à pression, entre l'appareil et le meuble (Fig.).

- Ouvrez la porte et appuyez l'appareil contre le meuble de cuisine, du côté opposé aux charnières. Fixez l'appareil à l'aide des 4 vis fournies. Appliquez la grille d'aération (C) et le couvrecharnière (D- Fig.).

- Appliquees les caches (B) sur les ailettes des butées et dans les trous des charnières (Fig.).

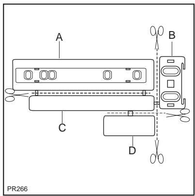
5. Séparez les pieces A, B, C, D comme l'indique de la figure.

6. Posez la glissière (A) sur la partie interne de la porte du meuble en respectant les côtes indiquées sur la figure et marquez la position des trous externes. ÀpRES avoir pratiqué les trouS, fixez la glissière avec les vis fournies.

7. Fixez par encliquetage le cache (C) sur la glissière (A).

8. Ouvrez la porte de l'appareil et celle du meuble à 90^ environ. Introduisez l'équerre (B) dans la glissière (A). Tenir ensemble la porte de l'appareil et celle du meuble et marquer la position des trous comme l'indique la figure. Enlever les équères et pratiquer des trous de 2 mm de à 8 mm du bord externe de la porte. Remettre l'équerre en place sur la glissière et fixer avec les vis fournies.

9. Alignez de la porte du meuble.
A la fin des opérations, il est nécessaire de contrôler que la porte de l'appareil se ferme parfaitement.

10. Fixez par encliquetage le cache (D) sur la glissière (B).
Ice-cube production 19
Tips 20
Klasse); +18^ en +38^ (ST-Klasse);
+16°C en +32°C (N-Klasse);
+10°C en +32°C (SN-Klasse).
Conservação dos produits précongelados 63
Descongelacao 63
Producao de cubos de gelo 63
Conselhos 64
Conservação dos produits précongelados

Numéro vert: 0800 81 12 34
E-mail: serviceCH@elcobrandt.com
Service Consommateurs Brandt
BP 9526 - 95069 Cergy Pontoise Cedex - France
Tél: +33 (0) 825 06 16 01
Brandt Appliances - 7 rue Henri Becquerel
92854 Rueil-Malmaison Cedex - France
S.A.S. au capital de 10 000 000 Euros - RCS Nanterre B 440 302 347
Notice Facile