FB1000E - Congelador BRANDT - Manual de utilização gratuito
Encontre gratuitamente o manual do aparelho FB1000E BRANDT em formato PDF.
Baixe as instruções para o seu Congelador em formato PDF gratuitamente! Encontre o seu manual FB1000E - BRANDT e retome o controlo do seu dispositivo eletrónico. Nesta página estão publicados todos os documentos necessários para a utilização do seu dispositivo. FB1000E da marca BRANDT.
MANUAL DE UTILIZADOR FB1000E BRANDT
Descrição do aparecido 60
Utilização 61
Limpeza das partes internas 61
Painel de commandos 61
Arranque 61
Regulação da temperatura 61
Botão de conglomeração rápida 62
Controlos luminoso vermelho de alarme 62
Calendario de congelamento 62
Massa eutéctica 62
Congelao dos alimentos 62
Conselhos para a congelação 64
Conselhos para a conservacao dos
produtos precongelados 64
Manutenção 65
Degelamento 65
Limpeza 65
Paragem prolongada 65
Anomalias de funciona 66
66
Instalacao 66
Colocacao 66
Ligaçao eletrica 66
Porta reversivel 67
Instruções para encasar 67
É muito importante que este manual de instruções accompanies o aparecido para garantir uma futura utilização correcta. Se o aparecido for vendido ou empostado a terreiros, omanual de instruções deve, como acima citado, acompanhá-lo, de maneira que outilizarou possa ser informado sobre o seu funciona, os avisos e conselhos.
Esses avisos tem a finalidade de garantir a segurarca dos'utilizadores. Agradecemos, portanto, que leia o manual atentamente, antes de instalar e utiliser o aparelho.
Segança
- Este aparecido foi concebido para ser realizado por adultos. Manter fora do alcance de crianças não permitindo que o utilizesc como brinqueado.
Éperigoso modificar ou tentar modificar ascharacteristicasdestapeirelho. - Este aparecido é pesado. Tenha o maior dificuldado quando o deslocar.
- Não consumesrietos produits, tais como gelados, imeditamente antes tê-los retirado do aparelho; a temperatura muito baixa pode provocar queimaduras.
- O aparecido não deve ser instalado perto de elementos de aquecimento ou fogões a gás.
Evite a exposicao prolongada do aparelho aos raios do sol. - Preste a maior atençao ao deslocar o aparelho, para não danIFICar as partes do circuito refrigerante, evitando assim possivelis saidas de fluido.
A parte deTRS do aparelho deve receber uma sufficiente ventilacao e deve ser evitado qualquer dano ao circuito refrigerante. - Não use outros aparehos electricos (tais como boaquina de gelado) dentro do aparheiro.
Assistência
- Se para a instalação do aparecido for necessário executar uma eventual ALTERação da instalação eletrica, a mesma deve ser feita aparecido, a mesma deve ser efectuada por pessoal qualificado.
- Este aparecido deve ser assistido por um Centro de Assistência autorizada, sentido apenas com o uso de peças originais.
Em caso de avaria, não tente você mesmo, reparar o aparecido. As reparações executadas por pessoas inexperientes, podem cause danos fisicos e materiais (aumentando as avarias a serem reparadas). Procure o seu Centro de Assistência mais(PRXMO e exija peças genuinhas.
Utilização
- Os frigoríficos e/ou congeladores dométricos destinam-se,unicamente,à conservação e/ou congelaçao de alimentos.
Um produitodecongelado nao deve, em nenhum caso,voltar a ser congelado.
Siga as indentações do fabricante para a conservação e/ou congelação dos alimentos. - O revestimento interior do aparecido é composto de(PCoccevados tubos por onde passa o refrigerante. Se estes tubos forem danificados o aparecido ficará irremediavelmente avariado,provocando a perda dos alimentos no seu interior. NAO UTILIZE OBJECTOS PONTIAGUDOS para raspar o gelo accumulado. Este gelo pode ser raspadoutilizando uma espátula. Para eliminar grandes quantidades de gelo accumulado, é aconsehlhével deixá-lo derreter. Veja as instruções para a descóngelação.
- Não coloque no compartmento/congelador em baixa temperatura, garrafas ou latas com bebidas gaseificadas驻村 é/ou lata havendo perigo da mesma explodir. Desta explosão resultariam danos graves para o aparelho.
Instalacao
- Assegure-se, quando instalar o aparecido, que o mesmo não fique apoiaço sobre o cabo de alimentação eletrica. Importante: se o cabo de alimentação se danIFICAR,deerá ser substituindo por um cabo especial ou por um Conjunto,disponiveis+junto do construtor ou do service de assistencia的技术ica.
-
O aparelho aquece, sensivelmente, ao nível do condensador e do compressor. Certifique-se que o ar circula, livramente, à volta do aparelho. Uma ventilação insufficiente occasionaria um mau funciona, danos para o aparelho e perda dos alimentos no seu interior. Siga as instruções para a correça instalação do aparelho.
Os componentes do aparecido que aquecem devido ao seu functimento não devem estar expostos. Sempre que possível as costas do aparecido devem fazer encostadas a uma parede. -
Desligue sempre a tomada de corrente antes de proceder à limpeza ou qualquer operação de manutenção do aparelho.
Ao transporte o aparelho na horizontal, pode acontecer que o oleo contido no compressor escorra para o circuito refrigerante. É portanto aconselhavel esperar pelo menos das horas antes de ligar o aparelho à corrente.

Proteção do ambiente
- Este aparelho não content, no seu circuito refrigerante e nas suas matérias isolantes, gases nocivos à camada de ozono. Meismo assimistirce aparelho deve, quando for destruindo, receber os problemas convenientes, de acordo com as dispositions em vigor para a proteção do meio ambiente.
Os materiais realizados;neste aparelho, marcados com o símbolo 念 são recicláveis.

DESCRIÇAO DO APARELHO
① Paine de commandos
(2) Compartimento para a congelaçao rápida
(3) Compartimentos para a conservação dos produits précongelados

Este aparecido está classificado com símbolo * * * * o que significica que está apto à congregação de produits frescos ou ao armazenamento de produits congelados e à produção de cubos de gelo.
Limpeza das partes internas
Estando o aparecido convenientemente instalado, antes de o utiliser, aconsehmos a sua limpeza cuidadasa com água típida e sabão neutro parautar o cheiro caractéristico do "novo".

Não utilize detergentes ou pós abrasivos, que podem danIFICAR os acabamentos. Enxague e seque cuidadosamente.
Painel de comandos

① Botão de congregação
(2) Controlo luminoso de conglomeração rápida
(3) Controlo luminoso de alarme
(4) Controlo luminoso de funciona
⑤ Botão do termostato
Arranque
Terminada a operação de limpeza, ligue a ficha à tomada de corrente, coloque o botão do termóstato ⑤ às dem da posicao «O» (paragem).
Aquina está a functionar; o controlo luminoso de funciona ④ acende-se.
Para parar o aparelho, colocque o botão do termóstato na posicao «O».
Reguição da temperatura
A temperatura interior do congelador é regulada pelo termostato ⑤.
As differentes posições entre "1" e "6" do termostato indicam temperatasuras cada vez mais frias.
Aconsehamos, no momento do acendimento, de regular o termostato nas posições "3": somente mais tarde, com a experiencia, podeis estabelecer qual é a melhor posicao.
A posicao correcta, de qualquer modo, deve ser individuada considerando que a temperatura no interior da caixa depende de various factores, tais como:
- a temperatura ambiente;
- a qualidae das provisos guardadas no aparelho;
- a frequência de abertura da porta;
- a colocação do refrigerador.
Botão de congregação
A funcão de congregação rápida é activada, premindase a tecla ①. O controlo luminoso ② acende-se (SUPER). quando está em fase de congregação, o compressor travaça continuamente, o que permite aproveitar ao máximo a sua potência frigorifica.
Esta funcao pode ser desactivada em qualquer altura, premindo-se novamente a tecla ① .O indicator luminoso ② apaga-se.
Controlo luminoso vermelho de alarme
O controlo luminoso de alarme ③ acende quando a temperatura interior do congelador sobe acima de umCERTO valor que prejudica uma conservacao de longa duracao (mais quente que -12^
É normal que o controlo luminoso de alarme fique momentaneamente acaso quando se põe em funciona o aparelho, ou sera, até a temperatura inferior atingir um valor mais conveniente para a conservação dos alimentos.
Calendario de congelamento
3|D数目|6|杂项|9|巧网|12|
Os simbolos indicam differs tips de produits congelados.
Os números fornecem, em meses, o tempo de armazenamento para o respectivo tipo de produits congelado. Se o valor é valido do tempo de armazenamento indica é o superior ou o inferior, depende da qualidade do@genero alimenticio e da sua preparação antes do congelamento.
Massa eutéctica
O seu aparecido está provido de una massa eutéctica.
A massa deve ser retirada do compartmento
congelador e colocada na posicao prevista.
Em caso de interrupcao da corrente, a massa
eutéctica vai prolongar de algumas horas a
conservação dos produits congelados.
Congeração dos alimentos
Para uma boa conservação dos produits précongelados e congelados a temperatura inferior deve estar inferior ou igual a -18°C.
Para isso:
- Ponha em functimento a congelação rápida.
- Espere bajo 3 horas antes de introduzir os alimentos frescos se tiver ligado o aparecido naquele momento.
- Se o congelador estiver ja a functionar em fase de conservação, ou se utilizes ao máximo a capacidade de congregação do aparecido (16 kg/24 h), a fim de obter um melhor resultado de congregação ponha o botão em posicao «S» pelo menos 24 horas(*) antes de introduzir os alimentos.
- Mantenha esta posicao durante as 24 horas(*) que se seguem a introducao dos alimentos e(before voltte a fase de conservacao.
- Ponha novamente o aparecido na funcao de conservacao voltando a deslocar o botao de congelaao para a direita.
(*) Este tempo pode ser reduzido de acordo com a quantidade de alimentos.
Cologne os alimentos a congelar nos compartments superiores de maneira a fazer que fiquem encostados aos produits ja congelados, o que fariaLER augmentar a temperatura desses.
No primeiro compartmento, os produits podem ser guardados somente até a alta da marca impressa na cela, isto para fazer que não Hajao obstáculos à circunção do ar.
Após o tempo necessário à congêança transfira os produits congelados para as gavetas de maneira à libertar os compartments superiores para aproxima的操作 de congêança.
A capacidade de congregação é indicada na placá de matricula que se encontra no lado esquerdo interior do aparelho (... kg/24 horas).
A primaça vez que estiver a functionar oudeois de uma paragem prolongada o aparelho tem que ser posto em fase de congelaçao rápida pelo menos das vezes antes de introduzir os produits précongelados.
A seguir passe à fase de conservação. Tudo isto não é necessário se o congelador estiver já a funcional.

Importante
Se houver uma falta de corrente elétrica não se deve DVRIR a porta do aparelho. Se a falta fôr de curta duração (20 horas) e o conglomerador estiver cheio, não há qualquer risco de alteração para os alimentos. Em caso contráriodeer consumi-los o mais rapidamente possivel ou cozinha-los e voltar a conglomerá-los.
Para tirar as gavetas preceda da segunte maneira: extraia a gaveta até o punto de batida, em seguida vire-a para cima (veja a figura).

Descongelação
Os alimentos congelados ou pré-congelados, antes da'utilisation devem ser deixados a descoglar no frigorífico (carne, às peixes, etc.) ou à temperatura ambiente (para os outros alimentos),DEPENDENDO do tempo disponible para esta operação.
Se se tratar de produits peu grossos ou em fatias, ponha-os directamente a cozinho:;neste caso, todavia, o tempo de cozedura sera maior.
Produção de cubos de gelo
Encha a caixa até tão quartos de sua idade para fazer a expansão do gelo.
Se a sua agua é particularmente rica en sais minerais (calcaredo particularmente) sera melhor encher as caixas com agua mineral não gasosa.
As caixas em materia plástica permetem mais fácilmente que se retire o gelo.
Se desejar cuvettes em peu tempo, aconselhamos a utilizesao de caixas metalicas que existem no mercado.
Retirada dos cubinhos de gelo
A retirada dos cubinhos de gelo das caixas em materia plástica consue-se por simple torsão.
Se utilizes caixas metálicas, passar por baixo de água fria para fazer a EXTRAÇÃO dos cubinhos de gelo.

Não tire as caixas com uma faca ou outras objecto metalico, arrisca-se a danificar o evaporador.

CONSELHOS
Conselhos para a congregação
Tenha a不去 da capacidade de congelação, que corresponde ao peso dos alimentos congeláveis de uma boa.
Para uma melhor congregação aconselhamos a consulutar um manual sobre a congregação, que se pode encontrar normalmente nas papeleiras ou nas livrarias.
- Os alimentos destinados à congregação devem ser frescos e de excellente calidad. Cada embalagem deve ser calculada à dimenso do consumo familiar de maneira a ser realizada de uma so vez.
- Embalagens de很小的概念 permitem obter uma浓缩ação típica e uniforme. Não se esqueça que os alimentos, uma vez descongelados, se deterioram rapidamente.
- Os alimentos magros conservam-se melhor e durante mais tempo do que os gordos; o sal reduz a)duração de conservação.
- Os produits a conglomer devem estar em em balagens impermeáveis para alimentos.
- Fecha@cuidadosamente as embalagens eliminando as bolhas de ar.
- Não coloque nen garrafas nen latas de bebidas gaseificadas no congelador porque poderebentar.
- Não introduza nunca alimentos ou liquidos quentes.
- Não encha nunca os recipientes com tampa até acima.
- Não consumesrietos produits, como os gelados, imeditamente antes terem sido tirados do congelador. A temperatura muito baixa a que está pode provocar queimaduras.
- Indique sobre cada embalagem a data de congregação para poder controlar o tempo de armazenagem.
- Não abra a porta e não coloque novos produits durante a congregação.
Conselhos para a conservação dos produits précongelados
Os{nossos conselhos:
Veja a data de fabricação dos produits précongelados e respeite a duração de conservação indicada pelo fabricante.
- EviteAbriraporta demasiado frequentlye deixe-a aberta so o tempo que for necessario. Um aumento da temperatura pode reduzir bastante a duração de conservação dos alimentos.
- Assegure-se de que a embalagem exterior esteja intacta. Em caso contrario os alimentos podem estar ja deteriorados. Se uma embalagem inchar ou aparecer sinais de humidade, isto quer dizer que não foi conservada a uma temperatura adequada e que o produits nela conta perdeu as提供优质as originais.
Para a compra de produits pré-congelados utilize os sacos especials. De qualquer forma, quando fazer as suas compras é aconselhavel deleiar para o fim os alimentos pré-congelados. Melhor ainda, embrulhe-os em papel de jornal e logo que chegar a casa coloque-os imeditamente no aparelho.
- Conven ter cuidado no momento da comprar porque os alimentos descongelados, mesmo so parcialmente, não podemvoltar a ser congelados. Neste caso consuma-os dentro de 24 horas.
- Para aproveitar ointeiro volume disponível no aparecido é possível tirar a prateleira central, conheçar maneira obtém-se mais espaço no interior do congelador.
i MANUTENÇão
A regular manutenção do aparecido assegura o seu regularFUNçionamento e a sua duração.

Antes de qualquer intervencao no aparelho, aconselhamos que se deslige a toma de corrente.

Atença
Este aparelho content hidrocarbonetos no circuito refrigerante; portanto, a manutenção e a recarga devem ser efectuadas exclusivamente por pessoal autorizzato pelo produtor.
Degelamento
O gelo é formado pela humidade do ar a contacto com as paredes frias do aparelho. Uma camada subtil de gelo não prejudica o functimento do congelador.
Ao contrario, se ultrapassar os 5 mm de espessura, o gelo forma uma camada isolante, que reduz muito o funcionaamento do aparelho e aumenta o consumo de energia.
Raspe a camada de gelo periodicamente (cada 2-3 semanas) o quando atingir uma espessura de circa de 4 mm. Utilize para este efeito uma espátula de plástico entrega com o aparecido. Uma o两大 vezes por ano, ou cada vez que a camada de gelo ultrapassa os 5 mm de espessura é aconsevelproceder a uma decongelação total: aproveite o momento em que o aparecido está mais vexio.
Para esteefeito:
- Dado que uma subida de temperatura pode alterar os alimentos congelados, é necessario ligar o commando de congelação rápida 12 horas antes de efctuar o degelamento, para obter umaresherva de frio (uma diminuicao de temperatura dos alimentos congelados).
- Extraia os produits congelados e guarde-os num lugar fresco embrulhando-os em varias folhas de papel de jornal ou ainda melhor nas embalagens isotérmicas.
- Rode o botão do termostato (5) para «O» ou desligue a ficha da corrente.
- Mantenha a porta aberta.
-
Utilize a espátula como goteira e coloque-a na parte central do aparelho em baixo como na figura. Ponha por baixo女方 una tigela para recolher a água da descongelação. Contudo, pode tornar mais rápido o degelamento colocando no congelador um ou mais recipientes de água quente, não a ferver, evitando quando qualquer outras fonte de calor.
-
Limpe com uma esponja e seque cuidadosamente as paredes. Volte a por o botão do termostato na posção desejada ou volta a ligar o aparecido.

Não utilize nunca facas ou objectos metálicos para arrancar o gelo:essa maneira pode danificar o aparelho.
Limpeza
É indispensable manter o aparelho em perfeito estado.
Antes de qualquer operacao de limpeza, recomendamos de desligar a ficha da tomada de corrente.

Nunca utilize objectos metálicos para limpar o apalreinho, Paísessa maneira pode danificá- lo.
Recomendamos de limpar periodicamente o aparelho.
- Esvazie completenessaparelho.
- Lave as paredes e os acessórios com agua morna e bicarbonato de sodio.
- Enxague eSEQe com cuidado.

Não utilize nunca produits abrasivos e causticos.
Não esqueça de limpar a guarência de borracha da porta com uma esponja humida e a seguir de a secar.
Paragem prolongada
Se o aparelho não for utilizesdo durante longos periodos, deslige a ficha eletrica, esvazie, descongele e limpe o aparelho e deixe a porta semiaberta até voltar a utilizezá-lo.
Mantenhaoaportaentreaberta durante todo o periodo de naoutilizacao,parafacilitaracirculacao do ar no interior e evitar a formacao decheiros desagradaveis.

ASSISTÊNCIA TÉCNICA E PEÇAS DE SUBSTITUIÇÃO
se a ficha está bem inserida na tomada de corrente e se o interruptor da instalação eletrica está fechado; se falta a energia eletrica;
Após esses controlos, se a anomía de funciona persistir, dirija-se ao Centro de Assistência Tecnica mais proxies.
Para uma intervenção Solicita é importante, no momento da chamada, indicar as referências completeness do aparecido, ou seja modelos e número de série, que figuram no cartão da garantia ou na placá de marca na parte interna do aparecido,azo esquerdo em baixo.
i CHARACTERISTICAS TECNICAS
Os dados tecnicos são indicados na plac de matricula que se encontra no lado esquerdo interior do aparelho.
i INSTALLAÇAO
No caso deste frigorífico, com porta de fecho magnétique, substituir除外 do Modelo antigo com fecho de mola, antes de abandonar esteultimate deve inutilizar oSYSTEMA de mola de fecho da porta. Desta forma evita-se que as crianças possam ficar fechadas dentro e de pôr em perigo a sua vida.
Colocacao
Coloque o aparelho longe de fontes de calor, como aquecimento, esquentadores, exposicao directa ao raios do sol, etc. O melhor rendimento é obtido com temperatas ambiente entre +18^ e +43^ (classe T); +18^ e +38^ (classe ST); +16^ e +32^ (classe N); +10^ e +32^ (classe SN).
A classe é indicaça na placá de marca.
Para encasar o aparecido e para uma eventual 修改 do sentido de abertura da prta, consulte as instruções relativas a esse capítulo.
Nivele o aparelho ajustando os pés reguláveis, em posão ligeiramente inclinada paraTRS, para que seja mais fácil fechar a porta.
Ligação électrique
Verifique, antes de ligar o aparelho, se a voltagem e a frequência indicaas na placá de marca correspondem às da sua rede.
Tolerência admitida na voltagem nominal: ±6%. Para a adaptação do aparecido a voltagens发展目标, é indispensable o uso de um autotrasformer com potência adequada.
Importanto O aparelho deve ser ligado a terra.
Verificar se a tomada de corrente está conforme às normas em vigor e possui uma entrada para a ligação à terra. Essa ficha pode ser ligada a qualquer tomada de corrente desdeque esta tenha uma ponta de ligação à terra.No caso em que a tomada não tenha a ligação à terra, ligar o aparecido a uma instalação de ligação à terraeparada, conforme as normas em vigor, consultando para isso um técnico especializzato.
O Fabricante declina toda a responsabilité se estas precauções de segurar não forem observadas.
Importante O aparelho deve poder ser desligado da rede; uma vez realizada a instalacao, portanto, é necessario que a ficha fique accesivel.
CE Este aparelho está conforme as seguentes Directrizes Comunitarias:
- 73/23 CEE 19/02/73 (Baixa Tensão) e successivas modificações;
- 87/308 CEE 2/6/87 (Supressão de Interferências de Rádio) e successivas modificações;
- 89/336 CEE 03/05/89 (Compatible Electromagnética) e successivas modificações.

Porta reversível
A porta do aparelho foi imobilizada, para o transporte, por meio de pivots. Retire os pivots superior e inferior de acordo com o sentido de abertura da porta.

Atença
Depois de terminar de trocar o sentido de abertura das portas, certifique-se que todos os parafusos esteyam bem atarraxados e controle se a guarnicao magnética está pegada ao molev. Se a temperatura ambiente for fria (por ex. no inerno), pode acontecer que a guarnicao não peggue perfeitamente ao molev. Neste caso, aguarde a natural recuperacao da guarnicao ou, para tornar mais rápido esseprocesso, aqueça a parte em questiono com um normal secador de@cabelos.
Instruções para encasar

Dimensoes do nicho
Altura 880 mm
Profundidade 550 mm
Largura 560 mm

- E' necessário que o nicko estaja equipado com uma conduita de ventilação que tenta as seguintes dimensoes:
profundidae 50 mm
largura 540 mm

Por razões de segurar a ventilação deve ser como indicado na respectiva figura.
Atença: fazer as aberturas para a ventilação livres de qualquer obstruição.

- Faça escorregar o aparelho para dentro do nicho. Empurre até o rebordo (A) entrada em contacto com o móvil.

- Coloque a junta de pressão entre o aparecido e o molevel.

- Abra a porta e apoie o aparelho contra o móvil de cozinha, do lado oposto à charneira. Fixe o aparelho com a ajuda de 4 parafusos. Coloque a rede de arejamento (C) e o tapacharneira (D).

- Coloque as coberturas (B) sobre as asas dos rebordos e nos furos das charneiras.

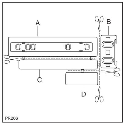
- Separe as peças A, B, C, D, como indicaça na figura.

- Apoie a guia (A) na parte interior da porta do mover em cima e em boa como indica na figura, e marque a posicao dos furos externos. Uma vez preparados os furos, fixe a guia com os parafudos fornecidos.

- Engate a cobertura (C) na guia (A) até encaixar.


- Abra a porta do aparelho e a do mover a 90^ aprox. Insira a esquadria (B) na guia (A). Mantenha juntas a porta do aparelho e a do mover e marque os furos como indicao na figura. Retire as esquadrias e realize uns furos de 2mm a 8mm a partir da borda externa da porta. Posizione novamente a esquadria por cima da guia e fixe com os parafusos fornecidos.

- Para o alinhamento da porta do mover, utilize as fendas existentes. No fim da operação, é necessário vericar se a porta do aparecido fecha correctamente.

- Engate a cobertura (D) na guia (B) até encaixar.
Brandt Group Suisse SA
Service ÀpRES Vente
Route de Soleure 12
2072 St Blaise (NE)
Tél: 032-756-49-89
Fax: 032-756-49-99
ManualFácil