FB1000E - Congelador BRANDT - Manual de uso y guía de instrucciones gratis
Encuentra gratis el manual del aparato FB1000E BRANDT en formato PDF.
| Tipo de aparato | Congelador arcón |
| Capacidad neta | No especificado |
| Número de cajones | 4 |
| Clase energética | F |
| Tipo de frío | Estático |
| Consumo energético anual | No especificado |
| Nivel de ruido | No especificado |
| Tipo de descongelación | Manual |
| Dimensiones (AlxAnxPr) | No especificado |
| Peso | No especificado |
| Color | Blanco |
| Alarma de puerta abierta | No especificado |
| Tipo de control | Mecánico |
| Garantía | No especificado |
| Accesorios incluidos | No especificado |
Preguntas frecuentes - FB1000E BRANDT
Descarga las instrucciones para tu Congelador en formato PDF gratis! Encuentra tus instrucciones FB1000E - BRANDT y toma tu dispositivo electrónico nuevamente en la mano. En esta página están publicados todos los documentos necesarios para el uso de su dispositivo. FB1000E de la marca BRANDT.
MANUAL DE USUARIO FB1000E BRANDT
Advertencias y consejos importantes 48
Descripción del aparato 49
Uso 50
Limpieza de las partes internas 50
Cuadro de mandos 50
Puesta en marcha 50
Regulación de la temperatura 50
Congelación rápida 51
Piloto de alarma 51
Calendario de produits congelados 51
Masa eutéctica 51
Congelación de alimentos frescos 51
Conservación de los alimentos congelados 51
Descongelacion 51
Cubitos de hielo 52
Consejos 52
Consejos para congregacion 52
Consejos para conservacion de alimentos
congelados 52
Mantenimiento 53
Eliminación de la escarcha 53
Limpieza periodica 53
Periodos de inactividad 53
Qué hacer si el aparato no funciona 54
Characteristicascerticcas 54
Instalación 54
Colocacion 54
Instrucciones para el empotramiento integral 55
ADVERTENCIAS Y CONSEJOS IMPORTANTES
Es muy importante conservar este libro de instructaciones junto al aparato por si fuera Neededo consultarlo. Si el aparato se vendiese o transfiriese a other persona, acuerdese deentarlo junto con el para que el nuevo proprietario conozca el functonamento de laquina y sus advertencias. Estas advertencias han sido redactadas para su seguidad y para la seguidad de los demas. Le rogamos, por lo tanto, leerlas atentamente antes de instalar y utiliser el aparato.
Seguridad
- Este aparato ha sido proyecto para ser uso por niños no se acerquen para usar con el.
Es peligrosso modificar o intentar modificar lascharacteristicas de este aparato. - Este aparato contiene hidrocarburos en el circuito refrigerante; por lo tanto el mantenimiento y la recarga deben ser efectuados exclusivamente por personal autorizado de la Empresa.
- Quitar siempre el enchufe de la toma de corriente antes de efectuar cualquier operación de limpiezo o de mantenimiento (como la substitución de la bombilla en aquellos aparatos que laienen).
- No consumir nunca los cubitos de hielo recién SACados del congelador ya que podrán provocar quemaduras.
- Estos aparatos son pesados. Tener cuidado en los desplazimientos.
- Prestar la(Maxima atencion durante las operaciones de desplazamente para no dañar las partes del circuito refrigerante a fin de evaporar las posibles salidas de liquido.
- Evitar la exposión prolongada del aparato a los rayos solares.
La parte posterior del aparato debe recibir una circulación de aire suficiente y se debe evaporarequalquier dano al circuito refrigerante.
Asistencia
Cualquiermericano que eventualmente fuese necessitiesa a la instalacion elcctrica domestica para poder instalar el aparato tiene que ser realizada solo por personal competente.
- Para eventuales intervenciones dirigirse a un Centro de Asistencia Técnica autorizzato y exigir las piezas de repuesto originales.
En caso de necessitar reparaciones no intentar hacerlas personalmente. Las reparaciones efectuadas por persona no competentes peuvent provocar daños. Ponerse en contacto con el Centro de Asistencia más cercano yemploi=sólo repuestos originales.
Uso
- Los frigorificos y/o congeladores domesticos estan destinados solo a la conservacion y/o congelacion de alimentos.
- Los productos que hayan sido descongelados no se tienen que volver a congelar.
Seguir atentamente lasindicaciones del fabricante para la conservacion y/o congelacion de los alimentos.
En todos los aparatos de refrigeración y congelación existen superficies que se cubren con escarcha. Según el modelo, la escarcha pueda ser eliminada automatistically (desescarche automatico) omanualmente.No intentar nunca quitar la escarcha con un objeto puniagudo ya que se podría dañar irremiéatablemente el evaporador. Utilizar paraarlosolel rascador de plástico que se suministra con el aparato. Por elismo motivo no despegar nunca las cubetas del hielo con un cuchillo oequalquierotro objeto puniagudo. - Los productos congelados colocados encima del aparato frigorífico puede occasionar que se forme agua de condensación por el frío en el espacio vacio de la plac. Ese空間 vacio contiene componentes electrónicos. Si el agua de condensación moja這些 componentes pueda ocurre un cortocircuito que dañe el aparato frigorífico. Por este motivo no hay que colocar productos congelados encima del aparato frigorífico.
- No colocar en el compartmento de la baja temperatura (congelador o conservador) bebidas gaseosas que podrián explotar.
- Nunca utilizar objetivos metalicos para limpar el aparato; se podra做不到.
Instalación
- Una vez instalado el aparato verificar que no está apoyado sobre el cable de alimentación. Importante: en caso de que el cable de alimentación se daña, deben ser sustituido con un cable especial. Ambos cables peuvent ser solicitados al fabricante o al Servicio de asistencia.
El aparato se calienta considerablemente en la proximidad del condensador y del compresor, por lo tanto hay que verificar que el aire pueda circular libremente alrededor del mesmo. Una ventilacion insufienteuedecausarunmalfunctionamento y daños al aparato.Seguir cuidadosamente las instrucciones que se dan para la instalacion. Atencion:mantenerlasaperturasparalaventilacionlibresdequalquierobstaculo.
- Si el aparato es transportado en forma horizontal es possible que el aceite contentido en el compresor pose al circuito refrigerante. Esperar por lo menos dos horas antes deponer en marche el aparato para dar tiempo a que el aceite regrese al compresor.
El aparato no debe ser colocado cerca de termosifones o cocinas a gas.
Solamente para los congeladores (excluidos los empotrados): su mejor ubicacion es el sotano.

Protección del ambiente

- Este aparato no contiene en el circuito refrigerante y en el aislamento, gases refrigerantes nocivos para el ozono. El aparato no debe ser eliminado+junto con los deshechos urbanos y chatarras. Se debe evitar el dano del circuito refrigerante, sobre todo en la parte posterior circa del intercambiador. Las informaciones sobre los centros de recepcion las suministran las autoridades municipales.
- Los materiales usados en este aparato marcados con el símbolo son reciclables.
DESCRIPCION DEL APARATO
① Cuadro de mandos
(2) Compartimientos para la congelación rápida
(3) Compartimentos para la conservación de los alimentos congelados


USO
El congelador está marcado con el symbolo XXX, que indica que es acto para la congelación de los alimentos frescos y para la conservación de alimentos congelados a largo plazo.
Limpieza de las partes internas
Antes del empleo limpiar todas las partes internas con agua tibia y jabón neutro, a fin de eliminar el caractéristico olor de nuevo y secarlas bajo cuidadosamente.

No emplear detergentes o polvos abrasivos que podrianhaar las superficies.

Cuadro de mandos
① Piloto indicator de funciona Super
② Interruptor NORMAL/SUPER
③ Piloto indicator de alarma
(4) Piloto indicator de funcionaiento
(5) Mando de regulación de la temperatura
Puesta en marcha
Introducir el enchufe en la toma de corriente. Girar el mando del termostato ⑤ , en sentido horario hasta una posiciondistincta de la posicion «O» (parada). El aparato se pone en marcha; se encenderá el piloto ④
El funciona del aparato se interruppe al girar el mando en la posicion «O».
Regulación de la temperatura
Para la buena conservación de los alimentos
congelados la temperatura del congelador tiene que ser igual o inferior a -18°C.
Se aconseja, por lo tanto, girar el mando ⑤ en una posicion intermedia.
La temperatura del congelador se regula automatistically para la buena conservacion de los alimentos.
Si el aparato no trabaja en conditiones ambientales normales, como con escasa ventilacion, elevada o baja temperatura ambiente y/o frecentes aberturas de la puerta, es besoino regularlo en la forma más apropiada. Girar el mando ⑤ hacía los numeros más altos para Obtener temperatas mas frías o hacía los más bajo para Obtener temperatas menos frías.
La colocacion del mando se determina teneriendo en cuenta que la temperatura interna depende:
- de la temperatura ambiente;
- de la Frequencia de aparatura de la puerta;
- de la cantidad de alimentos conservados;
- de la colocación del aparato.
Congelación

Pulse el interruptor ①. El piloto ② se encendará (posición SUPER).
La funciona SUPER se pueda cancelar en cualquier momento pulsando de nuevo el interruptor ①. Hecho este se apaga el piloto ②.
Piloto de alarma
El piloto de alarma ③ tiene la finalidad de indicar que la temperatura en el interior del congelador ha subido a un nivel tal que no garantiza una buena conservacion de los alimentos (-12^) .
Cuando el aparato se pone en funciona o inicialmente cuando se introducen en el los alimentos por congelar, este piloto permanece encendido hasta que la temperatura no alcanza el valor necessario para la segura conservacion de dichos alimentos.
Calendario de produits congelados
3|@电|6|园|9|网|12|网
Los symbolos indican differs tips de productos congelados.
Las cifras indican el tiempo de conservación en CESes para cada tipo de producto congelado. La validez del valor máximo o minimum estalecido del tiempo de conservación de los productos congelados depende de la calidad y de la preparación de ellos antes de ser congelados.
Masa eutéctica
Su aparado está provisto de una mata eutéctica.
Laquia de ser sacada del compartmento congelante y esta en la posicion prevista.
En caso de interruptacion de corriente, la masa eutectica aumento deunas horas la conservacion de los alimentos congelados.
Congelación de alimentos frescos
Para realizar la congelación<rápida de los alimentos, si el aparato no estuviera ya functioningo, es necesario conectarlo y predisponerlo al.
funcioncimiento de congelación<rápida, al menos tres horas antes de introducir en el los alimentos. En cambio, si el aparato estuerviera ya funciona, predisponderlo para la congelación<rápida al menos 24 horas antes de introducir en el los alimentos.
Una vez metidos los alimentos en el compartmento, la congelación se pueda considerar completada cuando de 24 horas. Después de este periodo es必需ario restablecer el funcionaimiento de « conservación».
Los alimentos para congelar se colocan en los dos componentes superiores.
En el primo compartmentivo los productos seSEOapan apilar solamente hasta lamarca que seencuentra en la celda, para impeder que hayaobstaculos en la circulacion del aire.
La capacité de congelación se indica en la matricula en el interior del compartmentivo, abajo a la izquierda (... kg/24 horas).
Conservación de los alimentos congelados
Cuando se pone en marche el aparato,poner el termostato en la posicion intermedia y esperar por lo menos tres horas en la posicion de congelacion rapa (SUPER) antes de introducir los productos congelados. Luego volver a colocar el aparato en la posicion de functonamento normal.
Si el aparato ya está puesto marcha con otros alimentos en su interior, no es necesaria ninguna operation especial antes de introducir los productos congelados.

Atencion
En caso de falta de corriente, los alimentos en el congelador no sufirán alteraciones si la errupcióniene una breve duracion (20 horas) y si el congelador esta lleno. En todo caso, noAbrir la puerta. En el caso de que los alimentos empiecen a descongelarse, sera necessario consumirlosrapidamente.
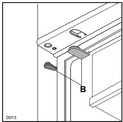
Para la extracción de los cajones actuar del modo suiviente: sacar el cajón hasta el punto de tope, luego girarlo hacía arriba (véase figura).

Descongelación
Antes de utiliser los alimentos congelados, se pueda descoger en el Refrigerador o a temperatura ambiente, depende del tiempo disponible para la operación.
La descongelación puede efectuarse deDistinctas maneras,según el tipo de alimentos y las dimensiones de los paquetes.
La carne, el pescado y la fruta se descongelan en el compartmento refrigerador; losPEGOs pedazos de carne o de volateria podran cocerse aun sin descongellaros, pero en este caso el tiempo de cocción sera más prolongado.
Las legumbres se colocarán directamente en el agua hirviendo; los platos preparados podrán ponser directamente en el hora en su envoltura de aluminio. El hora microondas es particularmente indicado para la descongelación de cualquier tipo de alimento congelado o refrigerado; a tal fin, seguir las instrucciones adjuntas al hora.
i CONSEJOS
Consejos para congeleración
Damos algunos consejos importantes necessarios para Obtener las的最大as ventajas del proceso de congelacion:
- congelar solo alimentos de optima calidad, frescos y bien limpios.
- Los alimentos por congelar tienen que estar confecionados en porciones suficientes al consumo familiar, para que poderan utiliser en una sola vez.
Las confeciones pequeñas permiten una congelación más=rápida y uniforme. No hay que olvidar que una vez descongelados, la calidad de los alimentos se deteriorara rápidamente. - Los alimentos magros se conservan mejor y más tiempo que los grasos; la sal reduce el tiempo de conservación.
- Enolver los alimentos en Bolsitas u hojas de aluminio o polietileno previstos para este fin, haciendolos adherir bien a los alimentos y cerrandolos herméticamente. De estaforma, evitando el contacto con el aire, el color, saber y valor nutritivo, queden inalterados.
No congelar de una sola vez alimentos encantidad superior a la indicada en la etiqua matricula del aparato. - Durante la congelación noañadirrientos alimentados para congelar y noAbrir la puerta del congelador. Nuncaponerlosproductos para congelarcon los ya congelados,porque esta podría causar un aumento de la temperatura del los congelados.
- No introducir en el congelador bebidas gaseosas, ya que你可以 explotar. Nunca introducir liquidos o alimentos calientes y no llamar nunca Completely los recipientes con tapón.
Es acontejable indicar en cada confec tion, la
Cubitos de hielo
El aparato está dotado de una o más cubeteras de plástico para la producción de cubitos de hielo, suficientes para las necessities diarias.
Llene estas cubeteras hasta tres cuartos de su alta para permitir la expansión del hielo.
Si el agua es particularmente rica de sales minerales (en particular calcareo), acontejamos utilizar agua mineral sin gas, con bajo contenido de sales minerales.
Para extraer los cubitos de las cubeteras de plástico es suficiente una leve torsión de las mismas.
Se recomienda no emplear utensilios metálicos para despegar las cubeteras.
fecha de congelación para poder controlar el tiempo de conservación.
Consejos para conservacion de alimentos congelados
Para usar de la mejor forma el congelador,adelmas de lo ya做到了o para la congelacion, esnecessary:
Las confeciones de los alimentos refrigerados peuvent colocarse indiferentemente en los cajones según el espacio disponible.
- Para limitar el calentimiento de los productos congelados, se aconseja reducir al minimum el tiempo entre la adquisión y la colocación de los productos mismos en los cajones del congelador.
■ Es acontejal beasarse de que las confeciones de los productos congelados Sean integras; una envoltura hinchada o con rasgos de humedad es una seals evidente de que, previamente, el producto no ha sido manteenth a una temperatura adecuada y ha perdido sus caracteristicas originales.
- Los alimentos aun parcialmente descongelados, no poder congelarse other vez, sino que tener que consumirse bajo de 24 horas.
No conservar los productos congelados por un periodo superior al indicado en los envases.
- Limitar al minimum indispensable las apertureas de la puerta del congelador y el tiempoecessary para la colocacion y el retiro de los alimentos.
No consuma ciertos productos apenas sacados del congelador (cubitos de hielo, etc.) porque la temperatura muy bajaouldracausequemaduras.

MANTENIMIENTO


Desenchufar el aparato antes de efectuarrialquier operation.

Atencion
Este aparato contiene hidrocarburos en el circuito refrigerante; por lo tanto el mantenimiento y la recarga deben ser efectuados exclusivamente por personal autorizado por la Empresa.
Eliminación de la escarcha
En el aparato habrá que eliminar la escarcha cada vez que se haya formado un gran espesor (deunos 4mm ), con el rascador de plástico adecuado, en dotación con el aparato.
Durante esta operación no esnecessary ni desenchufar el aparato ni sacar los alimentos contentsados en el compartmento.
En el caso que se formara una espesa capa de hielo, seranecessaryodescongelartotalmenteelaparato, procediendode la?sigue manera:
- colocar el mando ⑤ en posicion «O», o desenchufar el aparato;
- envolver los alimentos congelados en varias hojas de papel de periodico y colocarlos en un lugar muy fresco;
3.deer la puerta abierta y introducir en el alojamento correspondiente el rascador de la escarcha como prolongacion del canal colocandole bajo u n barreñito para recoger el agua (vease figura). - Al completar la operation,ocularsidadamente el congelador y conservar el rascador de la eschara para operaciones sucesivas.
- Poner el mando del termóstato en la posición deseada o volver a enchufar el aparato. Dejar que el aparato funciona al menos dos o tres horas en la posición «SUPER», antes de volver a introducir los alimentos congelados.

Importante
Recomendamos no utiliser utensilios metálicos para quitar la escarcha a fin de evaporar daños graves en le aparato.
Un aumento de temperatura de los alimentos congelados peuvent disminuir notablemente su duración de conservación.
Limpieza periodica
No utilizar nunca objectos metálicos para limpiar el aparato porque podrá ser dañado.
Limpiar el interior con agua Templada y bicarbonato y las partes exteriores esmaltadas con cera a la silicona. Enjuagar y secar cuidadosamente.
Para garantizar un funcionaamento seguro del frigorífico, una vez al año desmontar la rejilla del zócalo, y con una aspiradora limpiar los canales para el pasaje del aire.

Periodos de inactividad
Cuando el aparato noonga que funciona tener lassiguidentes precauaciones:
desenchufarlo;
sacar todos los alimentos;
eliminar la escarcha y lavar el interior y todos los accesorios;
dejar la puertaentaquiaba parafacilitarla circulacion del aire en el interior a fin de evaporar la formacion de olores desagradables.

SI ALGO NO FUNCIONA
Si el aparato presentase anomalías sera oportuno controlar:
Que esté bien enchufado y que el interruptor de la instalación electrica está conectado.
Que no haya un corte de energia electrica.
Que el mando del termostato se oculta en su posicion correcta.
Si el compresor funciona sin interrupción, verificar que el termostato no se enquiryre en una posicióndemasiado elevada.
Además si el aparato hace demasiado ruido verificar que los costados no estén en contacto con muebles que pueda causar ruidos o vibraciones y que la unidad refrigerante no vibre.
Después de hacer las verificaciones anteriores, si la anomía persiste, llame al Centro de Asistencia Técnica más cercano.
Para una asistencia inmediata es importante, al acto de la llamada, dar la sigla del modelo y el número de matricula del propio aparato, tomándolos del certificado de garantía o de la etiqueta de la matricula misma colocada en el interior del compartmento refrigerante, abajo a la izquierda.

CHARACTERISTICAS TECHNICAS
Los datos技术和es se indican en la placac de seriesituada en el lado izquierdo dentro del aparato.

INSTALLACION
En el caso que este aparato, dotado de cierre magnétique, se sustituya por un cierre automatico, acontejamos inutilizar la cerradura de esteultimate, antes de deshacerse de el. Asi se evitaráque los niños, jugando, poderan quédarseencerrados dentro, con grave peligro para susvidas.
Colocación
Situar el aparato lejos de fuentes de calor, como: radiadores, estufas, exposión directa a los rayos del sol, etc.
Las miglioras prestaciones se obtienen con temperatas del ambiente entre los +18^ y los +43^ (Clase T); +18^ y los +38^ (Clase ST); +16^ y los +32^ (Clase N); +10^ y los +32^ (Clase SN).
La hora del aparato es indicada en la Tarjeta Matricula.
Para el empotramiento y la reversibility de la puerta, ver el paragrafo relativo.
Conexión electrica
Antes de enchufar el aparato, asegurarse de que la tensión y la Frequencia indicadas en la tarjeta matricula, correspondan a las de la instalación domestica.
Se admite una oscilación de 6% sobre la tension nominal. Para el funciona a tensiones distinctas, habrá que utilizear un autotransformer de potencia adequada.
Asegurar de que la toma de corriente y el enchufe sean compatibles entre si sin tener que interponer reduccionesladrones o adaptadores variedo. Si fuera necessario, Cambiar la toma de la instalacion de la casa.

Importante
Es indispensableable conectar el aparato a una toma de tierra eficaz.
El enchufe del cable de alimentacion está dotado de un adecuado contacto.
Si la toma de corriente de la instalacion domestica no estuviera connectada a tierra, conectar el aparato a una instalacion de tierra, conforme a las leyes en vigor, consultar con un technician especializzato.
El fabricante declina toda responsabilidad en el caso que esta norma no sea respetada.
CE Este aparato es conforme a las siguientes Directivas Comunitarias:
- 73/23 CEE 19/02/73 (Baja tensión) y modificaciones suscesivas;
- 87/308 CEE 2/6/87 (Supresión de interferencias radio) y modificaciones suscesivas;
- 89/336 CEE 03/05/89 (Compatible electromagnética) y modificaciones sucesivas.
Reversibility de la puerta

Durante el transporte la puerta del apartato está fjada con pernos. Quitar el perno superior y inferior, segun el sentido de aperture de la puerta.

Atencion
Completada la operation de reversibiliad de la puerta, controlar que la junta magnética está adherida al mueble. Si la temperatura ambiente es fría (por exemple en invierno), pueda suceder que la junta no adhieraperfectamente al mueble.
En este caso esperar que laquia recupere su forma natural o bien acelerar dicho proceso calentando la parte interesada con un normal secador de cabellos.
Instrucciones para el empotramiento integral

Dimensiones del hueco de instalación
Altura hueco 880 mm
Produndidad hueco 550 mm
Anchura hueco 560 mm

- Esnecessaryademásqueelhueco tenguan conductor deventilaciónconestas medidas:
profundidad 50 mm
ancho 540 mm

Por motivos de seguridad la ventilaciónDebe ser como se indica en la Fig.
Atencion:mantener las aperturas para la ventilacion libres deequalquier obstaculo.

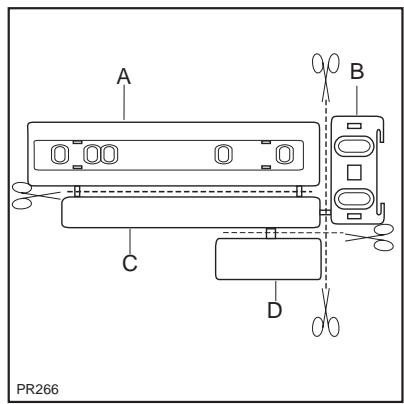
- Empujar el aparato en el hueco de la columna hasta que el peril superior (A)隐身 a tope con el mueble.

- Colocar a presión el cubre-juntas.

- Adosar el aparato al bajo opuesto a la bisagra de la puerta. Fijar el aparato con los 4 tornillos en dotación. Colocar la parrilla de airección (C) y el cubre-bisagra (D) encajándolos a presión.

- Colocar las tapas (B) sobre los extremos del perfil y en los agujeros para la bisagra.

- Separar las piezas A, B, C, D según se indica en la figura.

- Apoyar la guía (A) sobre la parte interior de la puerta del mueble arriba y abajo según se indica en la figura y marcar la posición de los agujeros exteriores. Una vez que se hayan hecho los agujeros, fjjar la guía con los tornillos presentes en el equipo base.

- Introducir la tapa (C), presionándola hasta oir el resorte, en la guía (A).


- Abrir la puerta del aparato y la del mueble a 90^ aprox. Introducir la escuadrita (B) en la guía (A). Mantener unidas la puerta del aparato y la del mueble y marcar los agujeros según se indica en la figura. Quitar las escuadritas y hacer algunos agujeros de 2 mm de Ø a 8 mm desde el borde exterior de la puerta. Colocar otra vez la escuadrita sobre la guía y fjjarla con los tornillos presentes en el equipo base.

- En caso de que seanecessary alinear la puerta del mueble,utilizar el juego de los agujeros de ojal. Al terme de las operaciones es preciso controlar que la puerta del aparato este cerrada correctamente.

- Introducir la tapa (D), presionándola hasta oir el resorte, en la guía (B).
SUMÁRIO
Averténcias e conselhos importantes 59
La temperatura se regula automatistically yuede ser augmentada (menos frío) girando el mando hacía los+numeros más bajo o bien se pueda disminuir (más frío) girándolo hacía los+numeros más alto.
La posicion intermedia es generalmente la más indicada.
Caso o aparecido estarar anomalias de funciona, controle:
ManualFácil