FB1000E - Gefrierschrank BRANDT - Kostenlose Bedienungsanleitung
Finden Sie kostenlos die Bedienungsanleitung des Geräts FB1000E BRANDT als PDF.
Laden Sie die Anleitung für Ihr Gefrierschrank kostenlos im PDF-Format! Finden Sie Ihr Handbuch FB1000E - BRANDT und nehmen Sie Ihr elektronisches Gerät wieder in die Hand. Auf dieser Seite sind alle Dokumente veröffentlicht, die für die Verwendung Ihres Geräts notwendig sind. FB1000E von der Marke BRANDT.
BEDIENUNGSANLEITUNG FB1000E BRANDT
Description de l'ordinateil 5
Utilisation 6
Nettoyage 6
Technische gegevens 32
Installatie 32
Warnings und wichtige Hinwesen 37
Für den Benutzer Gerätebeschreibung 38
Gebrauch 39
Reinigung der Innenteile 39
Bedienungsblende 39
Inbetriebnahme 39
Temperatureinstellung 39
Schnellgefriervorgang 40
Alarmlampe 40
Gefrierkalender 40
Kälteakku 40
Einfrieren der frischen Lebensmitteln 40
Aufbewährung der Tiefkuhlkost 40
Auftauen 40
Eiswürfelbereitung 40
Tips 41
Tips fur das Einfrieren 41
Tips fur Tiefkuhlkost 41
Wartung und Pflege 41
Abtauen 41
Regelmäßige Reinigung 42
Stillstandszeiten 42
Kundendienst und Ersatzteile 43
Für den Installateur Technische Angabe 43
Installation 43
Aufstellung 43
Elektrischer Anschluß 43
Turanschlagwechsel 444
Montageanleitung fur den integrierten Einbau 44
Es ist sehr wichtig, daß diese Bedienungsanleitung mit dem betreffenden Gerät aufbewährt wird. Sollte diesen Gerät verkauft bzw. einer anderen Person gegeben werden, so ist es nötig, die Anleitung beizufügen, damit der neue Kunde über den Betrieb des Gerätes bzw. die entsprechenden Warnungen informiert werden kann. Diese Warnungen wurden zu Ihr dem Schutz anderer darbeitet. Wir bitten Sie daher, diese aufmerksam zulesen, bevor das Gerät in Betrieb genommen wird.
Sicherheit
- Dieses Gerät wurde hergestellt, um von Erwachsenen benutzt zu werden. Es ist unbedingt darauf zu achten, daß Kinder es nicht anfassen oder es als Spielzeug verwend.
Vor der inneren bzw. äußerten Reinigung des Gerätes sowie beim Auswechseln der Gählampe (bei damit ausgestatteten Geräten) das Gerät spanningslos machen.
■ Eis aus dem Gefrier- bzw Frosterfach nicht sofort essen, es könnte Kälte-Brandwunden verursachen. - Dieses Gerät ist schwer. Beim Versetzenitte darauf auf achten!
■ Beachten Sie, daß während der Bewegung des Gerätes der Kältemittelkreislauf nicht beschädigt wird.
Das Gerätarf nicht in unmittelbarer Höhe von Heizkörpern oder sonstigen Wärmequelle aufgestellt werden.
Ein Standort mit direkter Sonneneinstrahlung sollte vermieden werden. - Eine ausreichende Luftzirkulation an der Geräterückseite muß gewährleistet sein. Jegliche Beschädigung des Kühlkreislaufes ist zu vermeiden.
NUR FÜR GEFRIERSCHRÄNKE (Einbaugeräte ausgenommen): ein optimaler Aufstellungssort ist der Keller.
Keine Elektrogeräte (z.B. Eismaschinen) in das Gerät stellen.
Störungen- Kundendienst
- Sollte die Installation des Gerätes eine Änderung der elektrischen Hausinstallation verlangen, so daß diese nur von Elektro-Fachräften durchgeführt werden.
■ Eventuelle Reparaturen dürfen nur von autorisierten Kundendienst-Stellen durchgeführt werden.
Esistwichtig,daunur Original-Ersatzteile verwendetwerden. - Dieses Gerät enthalt im Kältekreislauf Kohlenwasserstoff. Aus thisem Grund darf die Wartung und das Nachfüllen ausschließlich von autorisiertem Fachpersonal durchgeführt werden.
■ Benutzen Sie nie Metallgegenstände um das Gerät zu reinigen, da es beschädigt werden können.
Tritt eine Störung oder ein Defekt ein, versuchen Sie nicht, das Gerät selbst zu reparieren. Elektrogeräte)dürfen nur von Elektro-Fachkräften repariert werden, da durch unsachgemäße Reparaturen erhebliche Folgeschäden entstehen können.
Sich an die nachstgelegene Kundendienststelle wenden und nur Original-Ersatzteile anfordern.
Aufstellung
Sich vergewissern, daß das Gerät nach der Installation nicht auf dem Netzkabel stehen. Wichtig: Beschädigte Versorgungskabel mössen durch ein Spezialkabel bzw. einen Spezialsatz ersetzt werden, die beim Hersteller oder dem Kundendienststellen erhältlich sind.
Während das Gerät in Betrieb ist, werden der Verflüssiger und der Kompressor, die sich auf der Rückseite des Gerätes befinden, heißt. Aus Gründen der Sicherheit muß eine Mindestbelüftung gesichert sein, wie aus der Abbildung hervorgeht.
Achtung: Die Ventilations - Öffnungen müssen immer saubergehalten werden.
- Teile, die heißt werden (z.B. Kompressorgehäuse, Verflüssigter und zugehörige Rohre), sollen nicht frei zugänglich sein. Wo es auch immer möglich ist, soll das Gerät mit der Rückseite gegen eine Wand gestellt werden.
Während des Transports kann es vorkommen, daß das im Motorkompressor enthaltene Öl in den Kältekreislauf abläuft. Man sollte mindestens 2 Std. warten, bevor das Gerät in Betrieb genommen wird, damit das Öl in den Kompressor zurückströmen kann.
Gebrauch
Die Haushaltskuhl- und Gefriergeräte sind nur zur Einlagerung bzw. zum Einfrierten von Nahrungsmitteln bestimmt.
Ein aufgetautes Produktarf nicht wieder eingefroren werden.
Fur das Aufbewahrens bzw. das Einfrieren der Lebensmittel sind die Anweisungen des Herstellers zu befolgen.
In allen Kuhl- und Gefriergeräten bedecken sich im Laufe der Zeit alle kälteführrenden Teile mit einer Reif bzw. Eisschicht. Diese Schicht wird je nach Modell automatisch oder mit der Hand abgetaut. Die Reifschicht niemals mit Metallgegenständen abkratzen, das Gerät könnte beschädigt werden. Dazu nur den mitgelieferten Plastikschaber verwenden.
■ Benutzen Sie kein mechanisches oder andere Mittel für einen schnellen Abtauprozess mit Ausnahme der vom Hersteller empfohlenen.
Zum Lösen der festgefrorenen Eisschalen keine scharfkantigen oder spitzen Gegenstände benutzen.
■ Es sollen den keine kohlensäurehaltigen Getränke in das Gefrier- bzw. Frosterfach eingestellt werden, sie konnten platzen.

Umweltnormen
- Dieses Gerät enthalt im Kühlkreislauf und in der Isolierung kein ozonschädigendes Gas. Das Gerätarf nicht mit dem Hausmüll oder Sperrmüll entsorgt werden. Eine Beschädigung des Kätemittelkreislaufs, insbesondere des Wärmetauschers auf der Rückseite des Gerätes, mußverhindert werden. Auskunft über Abholtermine oder Sammelplätze gibt die örtliche Gemeindeverwaltung an.
Die in thisem Gerät verwendeten und mit dem Symbol kennzeichneten Materialien,sind recyclingfähig.
i GERÄTEBESCHREIBUNG
① Bedienungsblende
② Schnellgefriereinrichtungsfacher
③ Tiefkuhlkestfacher

Dieses Gerät ist mit dem «Viersterne» Symbol versehen, was bedeutet, daß darüber sowohl frische Lebensmittel eingefroren als auch Tiefkühlkost langfristig gelagert werden können.
Reinigung der Innenteile
Bevor Sie das Gerät in Betriebnehmen, beseitigen Sie den typischen «Neugeruch» am besten durch Auswaschen der Innenteile mit lauwarmem Wasser und einem neutralen Reinigungsmittel. Sorgfällig nachtrocknen.

Bitte keine Reinigungs- bzw. Scheuermittel verwenden, die das Gerät beschädigen konnten.
Bedienungsblende

(1) Schnellgfrier-Taste
(2) Schnellgefrier-Kontrolleuche
(3) Temperaturalarm-Kontrolleuche
④ Netz-Kontrolleuche
⑤ Thermostatregler
Inbetriebnahme
Den Stecker in die Steckdose einsetzen.
Thermostatknopf ⑤ von der Stellung «O» (STOP) aus im Uhrzeigersinn drehen. Das Aufleuchten der Kontrollampe ④ zeigt an und das Gerät ist eingeschaltet.
Den Stillstand des Gerätes erhält man durch Drehendes Thermostatknopfes ⑤ auf das Symbol «O».
Temperatureinstellung
Thermostatkopf ⑤ über die Stellung «O», drehen.
Für eine gute Lagerung der eingefrorenen bzw. tiefgefrorenen Lebensmittel, muß die Temperatur im Gefrierschrank unter oder gleich -18°C sein.
Wir empfehlen, den Schalter ⑤ auf eine mittlere
Stellung zu drehen.
Die Temperatur wird automatisch geregelt und kann erhöht werden (wärmer) durch Drehen des Thermostatknopfes auf niedrigere Einstellungen oder verringgert (kälter) durch das Drehen auf höhere Zahlen.
Die richtige Einstellung erhält man, unter Berücksichtigung folgender, die Innentemperatur beeinflussender Faktoren:
- Raumtemperatur
- Häufigkeit des Türoeffnens
- Menge der eingelagerten Lebensmittel,
- Aufstellung des Gerätes.
Die mittlere Einstellung ist meinstens die geeigneteste.
Schnellgefriervorgang
- Schalter ① drücken, um auf Position SUPER zu stellen. Die Kontrollampe ② leuchtet auf.
Zum Ausschalten den Schnellgefriervorgang die Taste ① erneut drucken.
Alarmlampe
Die Alarmlampe ③ leuchtet auf, wenn die Temperatur im Geräteinneren steigt, und dadurch die richtige Lagertemperatur nicht mehr gewährleistet wird (wärmer als -12°C). Sie leuchtet jedoch auch dann auf, wenn das Gerät gerade eingeschaltet worden ist und bleibt solange eingeschaltet, bis die richtige Lagertemperatur erreicht ist.
Gefrierkalender
Die Symbole auf den Schubladen zeigen understandsliche Arten von Tiefkuhlgut.
3|中数|6|中数|9|中数|12|中数|0
Die Zahlen geben für die jeweilige Art von Tiefkühlgut die Lagerzeit in Monaten an. Ob der obere oder derunte Wert der angegebenen Lagerzeiten gült ist, hängt von der Qualität der Lebensmittel und deren Vorbehandlung vor dem Einfrieren ab.
Kälteakku
Das Gerät ist mit einem Kälteakku ausgestattet, durch den im Falle von Stromausfall oder Störung die Aufbewährungszeit des Gefriergutes verlangert wird. Den Kälteakku im oberen Fach, über den Lebensmitteln einlagen.
Einfrieren der frischen Lebensmittel
Um den Schnellgefriervorgang durchzuführen, muß das Gerät, falls es nicht in Betrieb ist, weniger stets drei Stunden vor der Einlagerung der einzufrierenden Lebensmittel auf Schnellgefriervorgang gestellt werden. Läuft jedoch das Gerät bereits, wird empfohlen, den Schnellgefriervorgang mindestens 24 Stunden vor der Einlagerung der einzufrierenden Lebensmittel einzuschalten.
Nach der Einlagerung der Lebensmittel, rechnet man 24 Stunden, bis der Gefriervorgang beendet ist. Nach dieser Zeit den «Aufbewahrungs-Betrieb» wieder einstellen.
Die einzufrierenden Lebensmittel in die beiden oberen Fächer des Gerätes einlagen; soll nur eine geringe Menge an Lebensmitteln eingefroren werden, nur das oberste Fach verwenden.
Eingelagerte Waren dürfen nicht über die Stapelmarkierungen bzw. nicht über die Vorderkante der Ablagefläche hervorstehen.
Das Gefriervermögen in 24 Stunden finden Sie auf dem «Typschild» links unter im Gefrierfach.
Aufbewährung der Tiefkuhlkost
Nach einem längeren Stillstand des Gerätes muß这意味着 vor der Einlagerung der Lebensmittel, durch Einstellung des Schalters auf Schnellgefriervorgang (SUPER), weniger stunden in Betrieb gesetzt werden; danach wieder den normalen Betrieb einstehen.

Achtung
Im Falle einer Stromunterbrechung während der Lagerung von Tiefkuhlkost bzw. von eingefrorenen Lebensmitteln soll die Tur des Gerätes nicht geöffnet werden. Die Tiefkuhlkost verdirbt nicht, wenn es sich um eine kurze Unterbrechung handelt (bis 18 Std.) und das Gerät voll ist. Wenn das nicht der Fall ist, ist es nötig, die tiefgefrorenen Lebensmittel innerhalb kurzer Zeit zu verbrauchen (eine Temperaturerhöhung der Tiefkuhlkost verkurzt die Aufbewahrungsdauer).
Für den Auszug der Laden wie folgt vorgehen: die Lade bis zum Anschlag Herausziehen, dann nach oben drehen (siehe Abb.)

Auftauen
Die eingefrorenen oder tiefgekühlen Lebensmittel sollenn vor dem Gebrauch aufgetaut werden, indem man sie am besten im Kühlschrank oder je nach der zur Verfügung stehenden Zeit bei Raumtemperatur auftaut. Kleine Stücke können gleich und noch gefroren gekocht werden. Selfstverständlich verlangert sich damit die Kochzeit.
Eiswürfelbereitung
Das Gerät hat eine oder mehrere Eiwürfelschalen, welche mit Wasser aufgefüllt in das Gerät gestellt werden.

Bitte zur Entnahme der Eiswurfelschalen keine Metallgegenstände benutzen!
Tips für das Einfrieren
Für einen vorteilhaffen Gefriervorgang, geben wir folgende wichtige Ratschlage:
nur erstklassige, frische und gut gesäuberte Qualitätsware einfrierten; teilen Sie die Nahrungsmittel vor dem Einfrieren in keine Portionen ein, damit der Gefriervorgang beschleunigt wird, dies ermöglich auch das spätere Auftauen allein der gewünschten Portion. Einmal aufgetaute Lebensmittel veroderben schnell und konnen kein zweites Mal eingefroren werden;
beachten Sie, daß sich magere Lebensmittel better halten als fette, und daß das Salz die Gefrierlagerzeit verkürzt;
die Lebensmittel in Alu- oder Polyäthylenfolien luftdicht einpacken. Damit wird ein Luftkontakt vermieden und Farbe, Geschmack und Nährstoffe bleiben erhalten;
- keine größere Lebensmittelmenge auf einmal einfrierten als auf dem Typsvild des Gerätes angegeben ist;
während des Einfriervorganges keine weiteren Lebensmittel einlagern und die Tur nicht öffnen;
es muß vermieden werden, daß die einzufrierenden Lebensmittel mit den bereits eingefrorenen in Berührung kommt, um eine Wärmeübertragung an diese zu verhindern;
- keine Getränke mit Kohlensäurezusatz einlagern, sie konnten platzen;
- keine bereits Flüssigkeiten oder Speisen einstehen. Behälter mit Deckel nicht randvoll füssen.
WARTUNG

Vor jeder Reinigungsrarbeit immer den Netzstecker aus der Steckdoseziehen.

Achtung
Dieses Gerät erhält im Kaltekreislauf Kohlenwasserstoff. Aus thisem Grund damit die Wartung und das Nachfüllen ausschließlich von autorisierten Fachpersonal durchgeführt werden.
Tips für Tiefkuhlkost
Zur optimalen Verwendung des Gerätes,müssen Sie noch folgenden beachten: vergewissern Sie sich,
daß die Tiefkühlkost beim Verkaufer gut aufbewahrt wurde;
- daß der Transport vom Verkäufer bis zur Einlagerung in das Gefrierfach in kurzer Zeit erfolgt;
die auf der Verpackung vom Hersteller vorgeschriebene Aufbewahrungszeit nicht übersritten wird;
Tur so weniger wie möglich öffnen oder offen{lassen;
Eis aus dem Gefrierfach nicht那么简单 verbrauchen es konnte Kälte-Brandwunden verursachen;
- Tır[während der Stromunterbrechung nicht öffnen. Die Tiefkuhlkost verdirbt nicht, wenn es sich um eine kurze Unterbrechung handelt und das Gerät voll ist. Wenn das nicht der Fall ist, ist es nötig, die tiefgefrorenen Lebensmittel innerhalb kurzer Zeit zu verbrauchen.
Abtauen
Im Gefrierschrank muß die Reifschicht jegesmal mit dem beiliegenden Plastikschaber abgekratzt werden, sobald diese eine Stärke von ca. 4 mm erreicht hat. Hierzu ist es nicht nötig, das Gerät auszuschalten bzw. die Lebensmittel hersauszunehmen.
Benutzen Sie kein mechanisches oder andes Mittel für einen schnellen Abtauprozeß mit Ausnahme der vom Hersteller empfohlenen.
Hat sich jedoch eine dicke Eisschicht gebildet, muß man vollkommen abtauen. Hierzu wie folgt verfahren:
-
Schalter (5) auf «O» stellen oder Stecker aus der Steckdoseziehen.
-
Das herausgenommene Gefriergut mehrfach in Zeitungspapier einwickeln und sehr kuhl aufbewahren.
- Tür offenLANs, und zum Auffangendes Abtauwassers den Plastikschaber als Verlangerung der Tauwasserfuhrung in den vorgesehenen Sitz einstecken und eine Schale unterstellen (siehe Abb.).
- Nach erfolgtem Abtauen den Innenraum gut trocknen.
Plastikschaber für späteren Gebrauch aufbewahren und Gerät wieder in Betrieb setzen. Nach etwa einer halben Stunde die Lebensmittel zurücklagen.
Den Thermostatshalter ⑤ wieder auf die gewünschte Stellung drehen bzw. den Stecker wieder in die Steckdose einstecken.
Den Schnellgefriervorgang einschalten. Nach zwei bis drei Stunden Betrieb steht das Gerät wieder zur Einlagerung der Tiefkühlkost bzw. zum Einfrieren der frischen Lebensmittel bereit.

Achtung
Benutzen Sie niemals Metallgegenstände, um die Reifschicht abzukratzen, damit eine Beschädigung des Gerätes vermieden werden kann.
Benutzen Sie kein mechanisches oder anderes Mittel für einen Schnellen Abtauprozeß mit Ausnahme der vom Hersteller empfohlenen.
Ein Temperaturanstieg der Tiefkuhlkost während des Abtauens konnte die Aufbewahrungsdaeuer verkurzen.
Regelmäßige Reinigung
Benutzen Sie nie Metallgegenstände um das Gerät zu reinigen, da es beschädigt werden können. Den Innenraum mit lauwarmem Wasser und einem neutralen Reinigungsmittel reinigen.
Gut nachwaschen und sorgfältig trocknen.
Um einen sicheren Betrieb des Gerätes zu gerwährleisten, einmal im Jahr den Sockel-Grill abbauen und die Luftkanäe mit einem Staubsauger reinigen. Dies begunstigt den eigenen Betrieb mit folglicher Stromersparnis.
Stillstandszeiten
Bei längerem Stillstand des Gerätes, müssen Sie folgendermaßen vorgehen: den Stecker aus der Steckdoseziehen; alle Lebensmittel herausnahmen; Gerät abtauen, Innenraum und Zubehörteile reinigen; die Tur offen setzen, um im Inneren eine gute Luftzirkulation zu gewährleisten und somit Geruchsbildung zu vermeiden.

i KUNDENDIENST UND ERSATZTEILE

Falls das Gerät Störungen aufweisen sollene, überprüfen Sie zuerst folgenden:
Steckt der Netzstecker in der Steckdose?
Befindet sich der Hauptschalter der elektrischen Anlage in der richtigen Stellung?
Ist die Stromzufahr unterbrochen?
Befindet sich der Thermostatknopf in richtiger Stellung?
Sollten Sie nach o.e. Prüfungen zu keinem Resultatkommen, so wenden Sie sichitte an unseren nachsten Kundendienst.
Um ein rasches Beheben des Schadens zu ermöglich, ist es beim Anruf an den Kundendienst notwendig, die Modell- und Seriennummer anzugegeben, die Sie dem Garantieschein oder dem Typschild (- linke Seite - unter) entnehmen können.
i TECHNISCHE ANGABE
Die technischen Angaben sind auf dem Typschild genannot, das auf der linken inneren Seite der Anlage liegt.
i INSTALLATION
Sollte这些东西 mit Magnetschlössern ausgestattete Gerät ein mit Schnappschlössern ausgerüstes Gerät ersetzen, so raten wir dazu, die Schlösser des alten Gerätes zu zerstären, bevor Sie es entsorgen. Sie verhindern damit, daß spielende Kinder sich selbst einsperren und in Lebensgefahr geraten.
Aufstellung
Das Gerät sollte nicht in der Höhe von Wärmequellen wie Heizkörpern oder Öfen aufgestellt und vor direkter Sonneneinstrahlung geschützt werden. Die Beste Leistung erzielt man erfahrungsgemäß bei Raumtemperaturen von +18^ bis +43^ (Klasse T); +18^ bis +38^ (Klasse ST); +16^ bis +32^ (Klasse N); +10^ bis +32^ (Klasse SN).
Die Geräteklasse ist auf dem Typschild angegeben. Für den Einbau und ev.
Türanschlagwechsel lesen Sieitte den entspruchenden Abschnitt durch.
Elektrischer Anschluß
Bevor Sie den Stecker in die Steckdose einstecken, überprüfen Sieitte, daß die auf dem Typschild des Gerätes angegebene Spannung sowie Frequenz mit dem Anschlußwert des Hauses übereinstimmen. Eine Abweichung von ±6% von der Nominalspannung ist zulässig.
Für die Anpassung des Gerätes an andere Spannungen muß ein Spartransformer angemessener Leistung vorgeschaltet werden.
Wichtig Das Gel
Das Gerät muß unbedingt vorschrifsmäßige geerdet werden.
Zu dieser Zweck ist der Stecker des Anschlußkabels mit dem darauf vorgesehenen Kontakt versehen.
Sollte die Netzleitung im Haus nicht mit einer Erdleitung versehen sein, so muß das Gerät an eine getrennte Erdleitung vorschriftsmäßig und unter Hinzuziehung eines Fachmanns angeschlossen werden.
Die Erzeugerfirma lehtne每一Verantwortung ab, falls these Unfallverhütungsvorschrift nicht beachtet wird.
Wichtig Es muß
Es muß möglich sein, das Gerät vom Netz zu trennen; nach der Installation muß die Steckdose dazu zugänglich bleiben.
Dieses Gerät entspricht der ÖVE-Richtlinie Nr. F 61/84 (Österreich Ausführung) bezüglich Funkentstörung.
CE Dieses Gerät entspricht der folgende EWG Richtlinie:
-
73/23 EWG vom 19/02/73 (Niederspannung) und folgende Änderungen;
-
87/308 EWG vom 02/06/87 (Funkentstörung) und folgende Änderungen;
-
89/336 EWG vom 03/05/89 (Elektromagnetische Verträglichkeit) und folgende Änderungen.
Türanschlagwechsel
Zur Transportsicherung wurde die Geräteür an beiden Auschlagseiten mit Scharnierstiften befestigt. Je nach Turanschlag, Scharnierstift auf einer Seite oben und unter entfern.


Achtung!
Bei einer niedrigen Raumtemperatur (z.B. im Winter) kann es vorkommen, dass die Dichtung nicht perfekt am Schrank haftet. Die Wiederherstellung der Dichtung erfolgt automatisch nach gewisser Zeit. Wollen Sie aber diesen Prozess beschleunigen, so genugte es die Dichtung mit einem Fön zu erwärmen.
Montageanleitung für den integrierten Einbau
Nischenmaße
Höhe 880 mm
Tief 550 mm
Breite 560 mm

- Ferner ist auch am hinteren Einbauschrankteil ein Luftungskamin mit folgenden Massen notwendig:
Tiefe 50 mm
Breite 540~mm

Aus Gründen der Sicherheit muß eine Mindestbelüftung gesichert sein, wie aus der Abb.hervorgeht.
Achtung: Die Ventilations - Öffnungen müssen immer saubergehalten werden.

- Fugenabdeckprofil am Gerät, wie in Abbildung gezeigt ankleben.

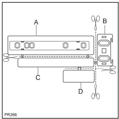
3. Gerät in die Nische schieben bis die Anschlagleiste (A) am Möbel anliegt.

4. Tür öffnen und Gerät gegenüber der Bandseite an die Möbelseitenwand rücken. Gerät mit den 4 beiliegenden Schrauben befestigen. Belüftungsgitter (C) und Scharnierabdeckung (D) aufstecken.

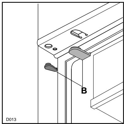
5. In die Befestigungs- und Scharnierlocher beiliegende Abdeckkappen (B) eindrücken.


6. Die Teile A, B, C, D abnehmen, wie in der Abb. gezeigt wird.

7. Die Schiene (A) auf der Innenseite der Möbeltüraben und unter auflegen (siehe Abb.) und die Position der äußeren Bohrlicher anzeichnen. Nachdem die Löcher gebohr wurden, die Schiene mit den mitgelieferten Schrauben befestigen.

8. Die Abdeckung (C) in die Scheine (A) eindrücken, bis sie einrastet.

- Gerätetur und Möbeltür auf ca. 90^ öffnen. Den Winkel (B) in der Schiene (A) einsetzen. Gerätetur und Möbeltür zusammenhalten und die Bohrlocher anzeichnen (siehe Abb.). Winkel abnehmer und die Bohrlocher mit 2mm und einem Abstand von 8 mm von der Turauenkante ausführten. Den Winkel wieder auf der Schiene anbringen und mit den mitgelieferten Schrauben befestigen.

- Für eine allfällig notwendige Ausrichtung der Möbeltür, den Spielraum der Langlocher nutzen. Nach Beendigung der Arbeiten den einwandfrei Verschluß der Gerätetur überprüfen.

- Die Abdeckung (D) in die Schiene (B) eindrücken, bis sie einrastet.
EinfachAnleitung