FB1000E - Freezer BRANDT - Free user manual and instructions
Find the device manual for free FB1000E BRANDT in PDF.
Download the instructions for your Freezer in PDF format for free! Find your manual FB1000E - BRANDT and take your electronic device back in hand. On this page are published all the documents necessary for the use of your device. FB1000E by BRANDT.
USER MANUAL FB1000E BRANDT
Chere cliente, cher client,
Instructions for the User
Important Safety Instructions 16
Description of the Appliance 17
Use 18
Cleaning the interior 18
Control panel 18
Starting up 18
Temperature regulation 18
Quick freezing 19
Warning light 19
Freezing calendar 19
Cold accumulator 19
Freezing of fresh foods 19
Storage of frozen food 19
Thawing 19
Tips for freezing 20
Tips for storage of frozen food 20
Maintenance 20
Defrosting 20
Periodic cleaning 21
Periodic of non-operation 21
Customer service and spare parts 21
Instructions for the Installer
Technical specifications 22
Installation 22
Positioning 22
Electrical connection 22
Door reversal 22
Instructions for totally built-in appliances 23
It is most important that this instruction book should be retained with the appliance for future reference.
Should the appliance be sold or transferred to another owner, or should you move house and leave the appliance, always ensure that the book is supplied with the appliance in order that the new owner can be acquainted with the functioning of the appliance and the relevant warnings.
These warnings are provided in the interest of safety. You must read them carefully before installing or using the appliance.
General Safety
This appliance is designed to be operated by adults. Children should not be allowed to tamper with the controls or play with the product.
It is dangerous to alter the specifications or modify this product in any way.
Before any cleaning or maintenance work is carried out, be sure to switch off and unplug the appliance.
This appliance is heavy. Care should be taken when moving it.
Ice follies can cause frost burns if consumed straight from the appliance.
Take utmost care when handling your appliance so as not to cause any damages to the cooling unit with consequent possible fluid leakages.
The appliance must not be located close to radiators or gas cookers.
- Avoid prolonged exposure of the appliance to direct sunlight.
There must be adequate ventilation round the back of the appliance and any damage to the refrigerant circuit must be avoided.
For freezers only (except built-in models): an ideal location is the cellar or basement.
- Do not use other electrical appliances (such as ice cream makers) inside of refrigerating appliances.
Service / Repair
Any electrical work required to install this appliance should be carried out by a qualified electrician or competent person.
This appliance should be serviced by an authorised Service Centre, and only genuine spare parts should be used.
Under no circumstances should you attempt to repair the appliance yourself. Repairs carried out by inexperienced persons may cause injury or more serious malfunctioning. Refer to your local Service Centre, and always insist on genuine spare parts.
This appliance contains hydrocarbons in its cooling unit; maintenance and recharging must therefore only be carried out by authorised technicians.
Use
- The domestic refrigerators and freezers are designed to be used specifically for the storage of edible foodstuffs only.
- Frozen food must not be re-frozen once it has been thawed out.
Manufacturers' storage recommendations should be strictly adhered to. Refer to relevant instructions. - The inner lining of the appliance consists of channels through which the refrigerant passes. If these should be punctured this would damage the appliance beyond repair and cause food loss. DO NOT USE SHARP INSTRUMENTS to scrape off frost or ice. Frost may be removed by using a scraper. Under no circumstances should solid ice be forced off the liner. Solid ice should be allowed to thaw when defrosting the appliance. See defrost instructions.
- Do not place carbonated or fizzy drinks in the freezer as it creates pressure on the container, which may cause it to explode, resulting in damage to the appliance. Do not use a mechanical device or any artificial means to speed up the thawing process other than those recommended by the manufacturer. Never use metal objects for cleaning your appliance as it may get damaged.
Installation
- Care must be taken to ensure that the appliance does not stand on the electrical supply cable. Important: if the supply cord is damaged, it must be replaced by a special cord or assembly available from the manufacturer or its service agent.
During normal operation, the condenser and compressor at the back of the appliance heat up considerably. For safety reasons, minimum ventilation must be as shown in the relevant paragraph.
Attention: keep ventilation openings clear of obstruction.
If the appliance is transported horizontally, it is possible that the oil contained in the compressor flows in the refrigerant circuit. It is advisable to wait at least two hours before connecting the appliance to allow the oil to flow back in the compressor.
- There are working parts in this product which heat up. Always ensure that there is adequate ventilation as a failure to do this will result in component failure and possible food loss. See installation instructions.
Parts which heat up should not be exposed. Wherever possible the back of the product should be against a wall.
If the appliance has been transported horizontally, it is possible that the oil contained in the compressor flows in the refrigerant circuit. It is advisable to wait at least two hours before connecting the appliance to allow the oil to flow back in the compressor.

Environment Protection

This appliance does not contain gasses which could damage the ozone layer, in either its refrigerant circuit or insulation materials. The appliance shall not be discarded together with the urban refuse and rubbish. Avoid damaging the cooling unit, especially at the rear near the heat exchanger. Information on your local disposal sites may be obtained from your municipal authorities.
The materials used on this appliance marked with the symbol are recyclable.
i DESCRIPTION OF THE APPLIANCE
① Freezer controls
(2) Compartment for freezing fresh food
③ Compartment for frozen food storage

The freezer is marked with the XXXXX symbol, which means that the compartment is suitable for freezing.
fresie food and long-term storage of frozen food.
Cleaning the interior
Before using the appliance for the first time, wash the interior and all internal accessories with lukewarm water and some neutral soap so as to remove the typical smell of a brand-new product, then dry thoroughly.

Do not use detergents or abrasive powders, as these will damage the finish.
Control panel

① Fast freeze switch
② Fast freeze light (yellow)
③ Warning light (red)
④ Pilot light (green)
(5) Thermostat control knob
Starting up
Insert the plug into the wall socket. Turn the thermostat control knob ⑤ clockwise beyond position «O» (OFF). The pilot light ④ will light up to show that the appliance is on.
Freezer operation can be halted by turning knob ⑤ to position «O».
Temperature control
Turn knob ⑤ beyond the «O» position until its pointer coincides with the required setting.
To safely store frozen and deep-frozen foods, the inner temperature of the freezer must be at least -18^ or colder.
A medium setting is generally the most suitable.
The minimum setting (least cold) is represented by the lowest number and the maximum setting (coldest) by the highest number.
The thermostat knob setting should be adjusted depending on the inner temperature of the appliance, which, in turn, depends on a number of factors, such as:
the ambient temperature
the number of times the door is opened
- the quantity of food stored
the location of the appliance.
Quick freezing
Activate fast freeze by depressing the fast freeze switch ①. The pilot lamp ② will then light up. The SUPER function can be ended by pressing the button ① again. The yellow light goes out.
Warning light
This light ③ warns when the temperature inside the appliance has increased so much as to jeopardize the preservation of food in the compartment.
When the appliance is switched on for the first time or when food is placed in the compartment for freezing, this light remains on until the temperature has reached the level required for correct storage.
Freezing Calendar
3|O@E|6|云#|9|巧#|12|
The symbols on the drawers show different types of frozen goods.
The numbers indicate storage times in months for the appropriate types of frozen goods. Whether the upper or lower value of the indicated storage time is valid depends on the quality of the foods and pre-treating before freezing.
Cold accumulator
The freezer contains one cold accumulator which can be found in the top compartment. The cold accumulator increases storage times in the event of a power cut or breakdown. It must be placed on top of the food.
Removal of this unit will increase the capacity of the fast freezing compartment but will reduce storage times in the event of a power cut or breakdown.
Freezing of fresh foods
To quick-freeze foods when the appliance has not been in use, switch on the freezer and let it run on the quick-freeze setting for at least three hours before putting the food to be frozen in the compartment.
If instead the appliance is already in operation, it should run on the quick-freeze setting for at least 24 hours before the foods are put in the freezer. Once the foods have been placed in the freezer, the freezing operation can be considered to be complete 24 hours later. Once freezing is complete, the freezer should be reset for normal storage use.
Food to be frozen has to be placed in the appliance's two top compartments; if freezing only a small amount of food, use the top compartment. In the top compartment, products must only be stacked up to the mark on the cabinet wall so as to ensure that air circulation is not obstructed.
The maximum amount of food which is freezable in 24 hours is indicated on the rating plate. This is

to be found on the bottom left-hand side.
You should never freeze all at once a greater quantity of foods than the maximum indicated on the appliance's rating plate.
Storage of frozen food
When you first start the freezer or if the freezer has been out of use for some time, we advise you to run your appliance for at least two hours in the «fast freeze» mode before storing frozen food.

Important
If there is a power failure when food is in the freezer, do not open the door of the freezer. The frozen food will not be affected if the power cut is of short duration (up to 18 hours) and the freezer is full, otherwise, it is recommended that the food should be used within a short time (a temperature increase of the frozen food shortens its safe storage period).
To remove the drawers, proceed as follows: pull the drawer out until it comes to a stop, then tilt it upwards
(see figure).

Thawing
Deep-frozen or frozen food, prior to being used, can be thawed in the refrigerator or at room temperature, depending on the time available for this operation.
Small pieces may even be cooked still frozen, directly from the freezer: in this case, cooking will take longer.
Ice-cube production
This appliance is equipped with one or more trays for the production of ice-cubes.
Fill these trays with water, then put them in the freezer.

Do not use metallic instruments to remove the trays from the freezer.
Tips for freezing fresh foods
To help you get the best out of the freezing process, here are a few hints:
- Freeze only good-quality, fresh and well-cleaned foods. Split them into small portions to speed up freezing and avoid having to thaw more food than you require. It is in fact important to remember that once the foods have thawed out, they deteriorate fast.
Another point to remember is that lean foods keep better and longer than fatty foods. Salt too reduces storage times. - Wrap the foods in foil or polythene film, ensuring that the wrapping adheres closely to the food and is well sealed. In this way, by avoiding contact with air, the colour flavour and nutritional value of the foods remain intact.
During the freezing process, do not add further foods for freezing and do not open the freezer door.
The foods for freezing should not be placed in contact with already frozen foods, but put in the special freezing compartment. This will stop the temperature of already frozen foods from rising. - Never put fizzy drinks in the freezer as they might well burst.
In addition, never put hot foods or liquids in the freezer compartment and take care not to fill recipients up to the brim if they are covered with a lid.
It is a good idea to mark the packs with the date on which freezing started so that you can keep a check on storage periods.

MAINTENANCE

Unplug the appliance before carrying out any maintenance operation.

Warning
This appliance contains hydrocarbons in its cooling unit maintenance and recharging must therefore only be carried out by authorised technicians.
Tips for storage of commercially frozen food
To get the best out of your freezer, in the case of storage of commercially frozen food you should ensure that:
the products have been correctly stored by the retailer;
that there is only a very short time between when you purchase the products and when you put them in the freezer;
you do not store products for longer than the time specified by the food manufacturer;
- Avoid opening the door too frequently and when you do open it, leave it open only for as long as is strictly necessary;
A word of warning about ice lollies: they should not be eaten straight out of the freezer as this might cause cold burns.
Defrosting
The freezer compartment will become progressively covered with frost. This should be removed with the special plastic scraper provided, whenever the thickness of the frost exceeds 1/4" .
During this operation it is not necessary to switch off the power supply or to remove the foodstuffs. However, when the ice becomes very thick on the inner liner, complete defrosting should be carried out and it is advisable to carry out this operation when the appliance is empty.
To carry out complete defrosting proceed as follows:
- Remove any stored food, wrap it in several layers of newspaper and put it in a cool place.
- Turn the thermostat control ⑤ to the «O» setting.
- Leave the door open.
- Introduce the plastic scraper in the appropriate seating at the base of the cabinet as shown in the figure and place a basin underneath to collect the defrost water (see fig.).
- When defrosting is completed dry the interior thoroughly. Keep the scraper for future use.
- Turn the thermostat control to a medium setting and, after letting the appliance run for at least two hours in the «fast freeze» mode, replace the previously removed food into the compartments.

Warning
Never use metal objects for defrosting your appliance as it may get damaged.
Do not use a mechanical device or any artificial means to speed up the thawing process other than those recommended by the manufacturer.
A temperature increase of the frozen food shortens its safe storage period.
Periodic cleaning
Never use metal objects for clearing your appliance as it may get damaged. Clean the inside with warm water and bicarbonate of soda. Rinse and dry thoroughly.
To guarantee a safe operation of the fridge, once a year remove the ventilation grille at the base and clean the air channels with a vacuum cleaner.


Periods of non-operation
When the appliance is not in use for long periods, take the following precautions:
remove the plug from the wall socket; remove all food:
defrost and clean the interior and all accessories; leave the door ajar to allow air to circulate to prevent unpleasant smells.

CUSTOMER SERVICE AND SPARE PARTS
If the appliance is not functioning properly, check that: the plug is firmly in the wall socket and the mains power switch is on;
there is an electricity supply (find out by plugging in another appliance);
the thermostat knob is in the correct position.
If your appliance is still not working properly after making the above checks, contact the nearest service centre.
To obtain fast service, it is essential that when you apply for it you specify the model and serial number of your appliance which can be found on the guarantee certificate or on the rating plate located inside the appliance, on the bottom left-hand side.
i TECHNICAL SPECIFICATIONS
The technical data is indicated in the rating plate on the left side inside the appliance.
i INSTALLATION
If this appliance featuring magnetic door seals is to replace an older appliance having a spring lock (latch) on the door or lid, be sure to make that spring lock unusable before you discard the old appliance. This will prevent it from becoming a death-trap for a child.
Positioning
The appliance should be installed well away from sources of heat such as radiators, boilers, direct sunlight etc.
Best performance is obtained with ambient temperature between +18^ and +43^ (class T); +18^ and +38^ (class ST); +16^ and +32^ (class N); +10^ and +32^ (class SN).
The class of your appliance is shown on its rating plate.
For building-in and door reversibility refer to the relevant instructions.
Electrical connection
Before plugging in, ensure that the voltage and frequency shown on the serial number plate correspond to your domestic power supply.
Voltage can vary by ± 6% of the rated voltage. For operation with different voltages, a suitably sized auto-transformer must be used.

Important
The appliance must be earthed.
The power supply cable plug is provided with a contact for this purpose.
If the domestic power supply socket is not earthed, connect the appliance to a separate earth in compliance with current regulations, consulting a specialist technician.
The Manufacturer declines all responsibility if the above safety precautions are not observed.

Attention!
It must be possible to disconnect the appliance from the mains power supply; the plug must therefore be easily accessible after installation.
This appliance complies with the following E.E.C. Directives:
- 87/308 EEC of 2/6/87 relative to radio interference suppression.
- 73/23 EEC of 19.2.73 (Low Voltage Directive) and subsequent modifications;
- 89/336 EEC of 3.5.89 (Electromagnetic Compatibility Directive) and subsequent modifications.
Door reversal
The appliance's door has been locked in position for transport by means of pins on both sides. According to the door opening direction, remove relevant pins at the top and at the bottom.

Warning! If the amb
If the ambient temperature is cold (i.e. in Winter), the gasket may not fit perfectly to the cabinet. In that case, wait for the natural fitting of the gasket or accelerate this process by heating up the part involved with a normal hairdrier.
Instructions for totally built-in appliances
Dimensions of the recess
Height of housing mm 880
Depth of housing mm 550
Width of housing mm 560

- It is necessary that the niche is provided with a conduct of ventilation having the following dimensions:
Depth 50 mm
Width 540 mm

For safety reasons, minimum ventilation must be as shown in Fig.
Attention: keep ventilation openings clear of obstruction.

- Apply joint the sealing strip as shown in figure.


- Slide the appliance into the recess, pushing it against the wall on the handle side.

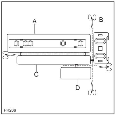
- Open the door and push the appliance against the side of the kitchen unit opposite to that of appliance hinges. Fasten the appliance with 4 screws provided in the kit included with the appliance. Snap vent grille (C) and hinge cover (D) into position.

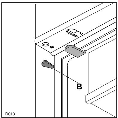
- Apply covers (B) on joint cover lugs and into hinge holes.

- Separate parts A, B, C, D as shown in the figure.

- Place guide (A) on the inside part of the furniture door, up and down as shown in the figure and mark the position of external holes. After having drilled holes, fix the guide with the screws supplied.

- Fix cover (C) on guide (A) until it clips into place.

- Open the appliance door and the furniture door at 90^ . Insert the small square (B) into guide (A). Put together the appliance door and the furniture door and mark the holes as indicated in the figure. Remove the squares and drill holes with 2mm at 8mm from the outer edge of the door. Place the small square on the guide again and fix it with the screws supplied.

- Should the lining up of the furniture door be necessary, use the clearance of slots. At the end of operations, it is necessary to check if the door of the furniture closes properly.

- Fix cover (D) on guide (B) until it clips into place.
EasyManual