FB1000E - Vriezer BRANDT - Gratis gebruiksaanwijzing en handleiding
Vind de handleiding van het apparaat gratis FB1000E BRANDT in PDF-formaat.
Download de handleiding voor uw Vriezer in PDF-formaat gratis! Vind uw handleiding FB1000E - BRANDT en neem uw elektronisch apparaat weer in handen. Op deze pagina staan alle documenten die nodig zijn voor het gebruik van uw apparaat. FB1000E van het merk BRANDT.
GEBRUIKSAANWIJZING FB1000E BRANDT
Waarschuwingen en belangrijke adviezen 26
Beschrijving van het apparatus 27
Het gebruik 28
Reiniging van de binnenkant 28
Bedieningspaneel 28
In bedrijf stellen 28
Instellen van de temperatuur 28
Snelvriezen 29
Controleampje "te warm" 29
Diepvrieskalender 29
Koude-accu 29
Invriezen van verse levensmiddelen 29
Bewaren van diepvriesproducten 29
Ontdooien van diepvriesproducten 30
IJslaatjes 30
Tips 30
Tips m.b.t. invriezen 30
Tips m.b.t. diepvriesproducten 30
Onderhoud 31
Ontdooien 31
Periodieke Reiniging 31
Tijdelijk buiten gebruik stellen 31
Servicedienst en onderdelen 32
Plaats van opstelling 32
Elektrische aansluiting 32
Wijzigenvande deurdraairichting 33
Aanwijzingen voor de geintegreerde inbouw 33
WAARSCHUWINGEN EN BELANGRIJKE ADVIEZEN
Het is uiterst belangrijk dat de bij het apparaat behorende gebruiksaanwijzing bewaard blijft. Zou het apparaat door u aan iemand anders gegeven of verkocht worden, of zou het apparaat in hetuis van waaruit u verhuist achechterblijven, dan dient de neue gebruik(st)er over de gebruiksaanwijzing en de daarin opgenomen waarschuwingen te konnen beschikken.
Indien dit apparaat in de plaats van een oud model met haak- of veersluiting opgesteld worden, dan is het raadzaam de sluiting van het oude apparaat, dat terzijde gezet worden, onbruikbaar te makeen. Hiermee worden voorkomen dat spelende kinderen zich erin opsluiten, hetgeen levensgevaarlijk is. Deze waarschuwingen zijn bedoeld voor uw en andermanseilighid. U worden geacht ze gelezen te hebben, alvorens u het apparaat installeert en/of in gebruik neemt.
Algemene veiligheid
- Dit apparaat is bedoeld en gemaakt voor het gebruik door volwassenen. Het is gevaarlijk om kinderen het apparaat te lately bedieren of als spelregulated te lately gebruiken.
Het is gevaarlijk om, in welke vorm dan ook, dit apparaat of de eigenschappen waarvan te veranderen.
Neem vór u aan ontdooien, schoonmaak-werkzaamheden of het verwisselen van het, eventueel aanwezigie, verlichtingslampje begint altijd de stekker uit het stopcontact.
Dit apparaat is zwaar. Delen van randen aanchter- en onderkant hunnen scherp+zijn. Wees voorzichtig bij het tilten. - Plaats NOOIT explosieve stoffen in het apparaat, zoals gasvullingen, benzine, ether, aceton enzovoorts.
Het direct vanuit een vriesvak, vriesgedeelte of vriezer consumeren van ijslollies en dergelijkke, kan verbranding van de mondhuid tot gevolg hebben; wacht even.
AFDANKEN. Verwijder de deur(en) of het deksel en knip het aansluitsnoer af, zodate, in afwachting van wegbrengen of weghalen, spelende kinderen er zich Niet in op hunnen sluiten of aan een elektrische schok bloot hunnen staan.
Heel goed oppassen,ijdens het verplaatsen, dat de delen van het koelcircuit Niet zodanig worden beschadigd, dat de koelvloeistof maar buiten zou+kennen lekken.
Plaats het apparaat Niet in de nabijheid van een centrale verwarming of een gasfornuis.
Laat het apparaat Niet langdurig in direct zonlicht staan.
Zorg dat er voldoende lucht aan de achterkant van het apparaat kan circuleren. Vermijd schade aan de koelkringloop.
Alleén voor diepvrieskasten (uit gezonderd ingebouwde): het apparaat kan zeer goed in de kelder geplaatst worden.
Plaats elektrische apparaten (bijv. ijsmachines) nooit in de kast.
Onderhoud / Reparatie
Een eventueleoodzakelijkwijziging aan de elektrische huisinstallatie of het aansluitsnoer, ten behoeve van de installmente van dit apparaat, mag uitsluitend door een daartoe bevoegd personuuitgevoerd worden. Het betreffende stopcontact dient, ook na eventuele onder- of inbouw, gemakkelijkbereikbaar te zich. Werkzaamheden welke door personen zonder deoodzakelijkkennis uitgevoerd worden, kunnen schade of letsel tot gevolg hebben.
Laat inspectie- en/of herstelwerkzaamhedenuitvoeren door een erkend servicecentrum en LASTe geen andere dan originele onderdelen plaatsen.
Dit apparaat bevat koolwaterstoffen in de koudekringloop; het onderhoud en het bijvullen dient waarom uitsluitend door door het bedrije aangewezen deskundig personeel uitgevoerd te worden.
Tracht, in geval van storing of een defect, dit apparaat Niet zelf te repareren. Reparations welke door Niet-deskundige Personen uitgevoerd worden, kuren tot schade of letsel leiden. Raadpleeg het plaatselijke servicecentrum en vraag.altijd om originele reserveonderdelen.
Gebruik
Huishoudelijkke koel- en/of vriesapparaten zijn uitsluitend bedoeld voor het bewaren en/of invriezen van eet- of drinkbare producten.
Volg de raadgevingen van de fabrikant op met betrekking tot waar en hoe u spijzen en dranken bewaart of invriest. Ontdooide diepvriesproducten mogen, om gezondheidsredenen, Niet wederom ingevroren worden.
- De vriezende binnenwanden of -vlakken in het apparaat bevatten koelmiddel. Plaats geen scherpe voorwerpen gegen zo'n wand of vlak en schraap evenmin met metalen voorwerpen rijp of ijs af. Lekkage kan het gevolg zich, hetgeen een onherstelbare schade aan het apparaat en bederf van de levensmiddelen veroorzaakt. SCHRAAP EVENMIN MET SCHERPE VOORWERPEN rijp of ijs af Rijp kan verwijderd worden met een kunststof spatel. Verwijder ijs Niet met geweld. IJs
wordt alleen verwijderd bij het ontdooien van het apparaat.
- Geen voorwerpen of methodes gebruiken om het ontdooiprocesse te versnellen die nicht door de fabrikant zijn aangegeven.
- Nooit metalen voorwerpen gelebruiken om het apparaat schoon te make; dit zou het apparaat konnen beschaden.
- Plaats geen koolzuurhoudende of mousserende dranken in het vriesvak, het vriesgedeelte of de vriezer; de blikjes of flesjes können door bevriezing van de inhoud exploderen.
Installatie
- Overtuig u er van dat het apparaat Niet op het aansluitsnoor staat.
Belangrijk: Het aansluitsnoor mag alleen door gekwalificeerd personeel verrangen worden. Wend u in geval van reparaties tot once serviceafdeling.
Tijdens normal gebruik worden de condensor en de compressor die zich op de achechterkant van het apparatusat bevinden, warm. Om veiligheidsredenen要去 de ventilatie zodenig�n als aangegeven in de speciale afbeelding.
Attentie: zorg ervoor dat de ventilatieopengenijdens gebruik nicht worden afgedekt. - Plaats het apparaat met z'n achechterkant zo zich mogelijk bij een muur. Hiermee voorkomt u verbrandingsletsel door aanraking van hete tot zeer hete delen.
■ Afhankelijk van de wijze van transport kan olie vanuit de compressor in het koelcircuit gezloeid zijn. Wacht, na hetplaatsen van het apparaat, ten minste een half uur alvorens de stekker in het stopcontact te steken. Na achefterverliggend vervoer ten minste een halve dag. Daarmee geeft u de olie de gelegenheid in de compressor terug te vloeien. Apparaten welke van een absorptie-unit voorzien zijn hunken direct in bedrijf genomen worden. Controller circum 24 uur na het in bedrijf stellen of het apparaat waar behoren werkst.

Milieubescherming
Belangrijk: Dit apparaat bevat, zowel in het koelcircuit als in de isolatie, geen ozononvriendelijk stoffen. Het apparaat要去 Niet weggegooid worden samen met het huisvuil of met gesloopte apparaten. Vermijden dat het koelcircuit wordt beschadigd, vooral aan dechterkant in de zone van de warmtewisselaar. Inlichtingen over ophaaldiensten können worden verschaft door de gemeentelijk autoriteiten.
- De materialen in dit apparaat die voorzien zijn van het symbol ঀন geschikt voor recycling.

① Bedieningspaneel
② Laden voor invriezen
③ Laden voor bewaren


HET GEBRUIK
Dit apparaat is voorzien van het 4-sterren symbool **** dat wil zeggen dat het bedoeld is voor zowel het bewaren van diepvriesartikelen als voor het zich invriezen van verse levensmiddelen. Voor het verilig bewaren van diepvriesartikelen dient de inwendige temperatuur Niet warmer dan -18°C te zijn.
Reiniging van de binnenkant
Voor u de kast in gebruik neemt, dient u de binnenkant met lauw water en een neutraal schoonmaakmiddel te reinigen om de typische geur van een新模式 apparaat weg te nemen. Droog verwolgens de wanden goed af.

Gebruik geen schurende schoonmaakmiddelen, waarmee u de afwerkingen van het apparaat zou+kennen beschadigen.
Bedieningspaneel

(1) Snelvriesschakelaar
② Geel controleampje voor snelvriezen
③ Rood alarmlampje ("te warm")
④ Groen controleampje elektriciteitsnet
⑤ Thermostat
In bedrijf stellen
Steek de stekker in het stopcontact.
Draai de thermostaatknop ⑤ rechtsom uit de «O» (STOP) stand; het lampje ④ Licht op.
De werkking van de kast kan geheel gestopt worden door de knop in de stand «O» te draaien.
Instellen van de temperatuur
Draai de thermostaatknop ⑤ rechtsom uit de «O» stand.
Voor het veilig bewaren van diepvriesproducten dient de interne temperatuur van de diepvriezer tenminste - 18^ te+zijn.
Indien het apparaat voor de eerste keer in gebruik genomen worden, adviseren wij om de thermostaatknop ⑤ in het midden,CUSen 1 .en «6» te draaien.
Met de knop op besoin stand worden de inwendige temperatuur automatisch en voortdurend op een voldoende laag niveau gehonden, waar bij veiligbewaren gegardeerd worden.
"1" = warmste instelling
6 = koudste instelling
Bij het instellen van de juiste stand dient u er rekening mee te houden dat de temperatuur in het apparaat afhankelijk is van:
- de kamertemperatuur;
- de frequently waarmee de deuren geopend worden;
- de hoeveelheid levensmiddelen in de kast;
- de planta van het apparatus.
Snelvriezen
Druk op knop ① totdat het geie iampje ② gaat branden.
U kurz de snelvriesfunctie beeindigen door opnieuw op de toets ① te drukken.
Controleampje «te warm»
Indien het contrôlelampje ③ oplicht, dan worden hierdoor aangegeven dat de inwendige temperatuur onveilig voor het bewaren van diepvriesartikelen geworden is (-12^) . Bij de eerste ingebruikname, of na een schoonmaakbeurt, Licht het contrôlelampje op totdat de inwendige temperatuur het veilige niveau bereikt heeft.
Diepvrieskalender
De symbolen geben de diverse soorten diepvriesproducten aan.
De getallen gehen voor iedere soort diepvriesproduct de bewaartijd in maanden aan. Of de hoogste of de laagste waarde van de aangegeven bewaartijd geldt, hangt af van de kwaliteit van de levensmiddelen en de behandeling voorafgaand aan het invriezen.
Koude'accu
Het apparaat is uitgerust met een koude-accu; deze zorgt ervoor dat in geval van stroomuitval of defect de houdbaarheidsduur van de ingevroren levensmiddelen verlangd worden.
Invriezen van verse levensmiddelen
Indien het invriezen van verse levensmiddelen direct na de eerste ingebruikname of na een schoonmaakbeurt gaat plaatsvinden, zet dan de snelvriesschakelaar in de invries-stand en LAST de vriezer tenminste 3 uur leeg vriezen. Is de vriezer reeds in gebruik, zet dan de schakelaar de avond tevoren in de invries-stand. Voor het invriezen van zeerkleine hoeveelheden, zoals enige restanten van een maaltijd of een enkel vers brood, is

het Niet nodig om de diepvriezeraar de invries-stand om te schakelen.
Voor het in-ën-keer invriezen van de maximaal toegestane hoeveelheid, verdient het aanbeveling om de schakelaar 24 uur van te voren op de invries-stand te zetten. Met name voor de maximaal toegestane hoeveelheid worden het invriesproces na 24 uur geacht beeindigd te+zijn. Schakel daarna terug op de bewaarstand.
De in te vriezen levensmiddelen in de twee bovenste laden van het apparaatplaatsen; voor het invriezen van heelkleine hoeveelheden altijd de bovenste lade gebruiken.
In het eerstevak mag u de producten slechts tot aan het aangegeven teken in de wand vullen opdat de luchtcirculatie ongehinderd kanplaatsvinden.
De maximaal toegestane hoeveelheid vindt u op het typeplaatje (links onderin de kast) in kilogrammen per 24 uur (...kg/24h).
Bewaren van diepvriesproducten
Indien direct na de eerste ingebruikname gekochtete diepvriesartikelen in de vriezer geplaatst gaan worden,zet dan de snelvriesschakelaar in de invriesstand en laat de vriezer tenminste 2 uur leeg vriezen. Is de vriezer reeds in gebruik,dan is deze handeling nicht nodig.
Plaats na 2 uur de diepvriesartikelen in de vriezer en zet de schakelaar in de stand voor bewaren.

Belangrijk
Open de deur Nietijdens stroomuitval. Wij adviseren u om na een lange stroomuitval de diepvriesproducten in korteijd te consumeren (een temperatuurstijging verkort de houdbaarheidsduur van de producten). De normale houdbaarheid wordeniet aangetast indien de stroomuitval kort was (minder dan 18uur) en de vriezer vol is.
De laden verwijdert u als volgt:
de lade zo ver möglichk waar voren trekken enervolgensaar bovendraaien (zie tekening).

Ontdooien van diepvriesproducten
Met uitzondering van consumptieijs worden diepvriesartikelen voor verdere behandeling of het nuttigen ontdooid.
Het ontdooien kan zowel in de koelkast als op het aanrecht geleuren. Het LASTGEVALGAATuiteraard sneller dan het eerste.
Frituur-artikelen können direct vanuit de vriezer in de frituurpan gedaan worden, de frituurtijd is dan wel langer dan in reeds ontdooide toestand.
Brood kan in de oven ontdooid worden.
De magnetronoven is uiterst geschikt voor het ontdooien van allerlei diepvriesproducten; raadpleeg de instructies voor de betreffende oven.
i TIPS
Tips m.b.t. invriezen
Teneinde de best möglichke resultaten te verkrijgen geben wij u hieronder enkele belangrijke tips:
- De max. hoeveelheid levensmiddelen die u kunt invriezen in 24uar staat aangegeven op het typeplaatje.
Het invriezen duurt 24 uur. Voeg gedurendedezetijd geen andere in te vriezen levensmiddelen toe.
Vries uitsluitend levensmiddelen van eerste kwaliteit in.
Zie toe dat de levensmiddelen vers�n en maak ze, waar nodig, van te voren goed schoon. - Verdeel de levensmiddelen van te voren in handzame porties. Dat heeft twee voordelen: ze vriezen sneller in en bij later gebruik hoeft u slechts zoveel te ontdooien als op dat moment nodig is.
- Onthoud dat reeds ontdoode levensmiddelen nicht wederom ingevroren mogen worden. Wel kurz u reeds ontdoode levensmiddelen erst koken of braden en cervolgens invriezen.
Mager vlees is ingevroren langer houdbaar dan vet vlees; ook zout verkort de houdbaarheid.
Vermijdrechtstreekse consumptie van ijslollies uithet vriesvak; u zou uw mondhuid könnenverbranden.
Schrijf de invriesdatum op de pakjes zodate u de houdbaarheidsduur kurz controleren. - Verpak de levensmiddelen in aluminium-of kunststoffolie of speciale diepvriesdozen, zoals een en ander in de handel, special voor het invriezen, verkrijgbaar is.
Zorg ervoor dat in te vriezen pakjes nicht in aanraking komen met reeds ingevroen producten; de temperatuur van deze LASTZou daardoor konnen stijgen.
IJslaatjes
Met het apparaat+zijn ijstaatjes meegeleverd. De ijstaatjes,zijn bedoeld voor het make van ijsblokjes.Vul ze met drinkwater.Maak de onderkant goed droog, anders vriezen de laatjes vast aan datgene waar u ze bovenop zet.
- Te langzaam invriezen verkort de houdbaarheid; vries dus nicht meer dan de maximaal toegestane hoeveelheid tegelijk in.
- Open,ijdens het invriezen, de deur zo weinig en zo kort möglichk.
Plaats geen koolzuurhoudende of mousserende dranken in het vriesvak; de blikjes of flessen zouden können ontploffen.
Tips m.b.t. diepvriesproducten
Neem de volgende regels in acht:
- Overtuig u er tijdens het kopen van diepgevroyen artikelen van dat deze in de winkel ook werkelijk diepgevroyen bewaard worden en vertrouw geen artikelen waarvan de verpakking bol staat of sterk beschadigd is.
■ Breng de gekochtte artikelen zo snel möglichk maar uw diepvriezer over. - Overschrijd de op de verpakking aangegeven uiterste bewaardatum voor 3- of 4 sterren Niet.
- Open de deur altoi zo weinig en zo kort möglichk.
In het eerstevak mag u de producten slechts tot aan het aangegeven teken in de wand vullen opdat de luchtcirculatie ongehinderdplaats kan vinden.
Neem voorijd handeling altijd eerst de stekker uit het stopcontact.

Belangrijk
Dit apparaat bevat koolwaterstoffen in het koelcircuit; onderhoud en bijvulling dient waarom uitsluitend door door de fabrikant bevoegt personeel uitgevoerd te worden.
Ontdooien
Na verloop vanijd ontstaat op de binnenwanden een rijplaag. De rijplaag stoort de werkking Niet, maar kan wel hinderlijk in het gebruik van de binnenruimte worden.
Gebruik voor het verwijderen de meegeleverde kunststof schraper.
Het is Niet nodig voor het verwijderen van rijp de vriezer uit te schakelen.
Gadan als volgt te werk:
- Neem de stekker uit het stopcontact of draai de thermostaatknop ⑤ in de «O» -stand.
- Verwijder nog resterende pakketten uit de vriezer, verpak ze in oude kranten en leg ze zolang op een koele plaats; eventueel in een kartonnen doos met een wollen deken er omheen.
- Gebruik de kunststof schraper als verlenggootje en plaatsaar een opvangschaal onder (zie tekening). Bewaar de schraper na het ontdooien om hem opnieuw te kuren gebruiken;That deour open staan.
- Bedenk dat, in verband met uw vloerbedekking, möglichk wat dooiwater van de deur kan lopen. Maak, nadat de kast geheel ontdooid is, de binnenwanden en de binnendeur schoon en zeem ze goed droog.
Steek de stekker in het stopcontact of draai de thermostatstaatknop ⑤ in de gewenste stand, zet de snelvriesschakelaar in de invries-stand en LAST de vriezer tenminste 2aar leeg vriezen. Zet daarna de schakelaar terug in de stand voor bewaren enplaats de tijdelijk verwijderde pakketten terug in de vriezer.

Belangrijk
Gebruik voor het verwijderen van de rijp nooit metalen voorwerpen; u zou uw vrieskast+kunnen beschadigen.
Geen voorwerpen of methodes gebruiken om het ontdooiprocesse te versnellen die nicht door de fabrikant zijn aangegeven.
Temperatuurstijging van diepvriesproducten kan hun houdbaarheidsduur verkorten.
Periodieke reiniging
Nooit metalen voorwerpen gebruiken om het apparaat schoon te make; dit zou het apparaat konnen beschaden.
Naar behoefte kutn u de buitenkant van de kast lappen met lauwwarm water en een neutraal huishoudschoonmaakmiddel, daarna afnemen met schoon water.
Het verdient aanbeveling de buitenkant af en toe in de witte (auto-) was te zetten.
Opdat de koelkast zo goed möglichk werkt, één keer peraar het rooster van de sukkel verwijderen en de ventilatiekanalen schoonmaken met een borstel of stofzuiger met borstel.
Stof belemmert de warmte-afgithe en verhoegt zodoende het energieverbruik.

Tijdelijk buiten gebruik stellen
Tijdens de periodes waarin het apparaat Niet gebruikt wordt, de volgende aanwijzingen opvolgen:
- de stekker uit het stopcontact halen;
- alle levensmiddelen verwijdersen,
- het apparaat lately ontdooien en de
- binnenwanden en accessoires schoonmaker;
- de deur op een kier latent staan zodate er geen onaangename geuren ontstaan.

SERVICEDIENST EN ONDERDELEN
Indien het apparaat Niet goed Funktioniert, kontroleer dan:
of de stekker goed in het zit;
of de elektriciteit soms uitgeallen is;
of dethermostaatknop op dejuiste stand staat; en indien er water op de bodem van de kast ligt hoofdstuk "Ontdooien").
Kunt u de storing nicht zichl likaleren en verhopen, raadpleeg dan de service-afdeling.
Geef waar bij algtd het model en het typenummer van de kast op. Deze gegevens vindt u op het garantiebewijs of op het typeplaatje dat zich linksonder aan de binnenzijde van het apparaat bevindt.

TECHNISCHE GEGEVENS
Het typeplaatje met de technische gegevens vindt u aan de linker binnenzijde van het apparaat.

INSTALLATIE
Indien dit apparaat in deplaats van een oud model met haak- of veersluiting opgesteld worden, dan is het raadzaam de sluiting van het oude apparaat onbruikbaar te make.
Hiermee worden voorkomen dat spelende kinderen zich erin opsluiten, hetgeen levensgevaarlijk is.
Plaats van opstelling
Plaats het apparaat uit de buurt van warmtebronnen: centrale verwarming, kachels, felle zonnestralen enz.
De Beste resultaten worden bereikt met een ruimteteperatuur:tussen +18^ en +43^ (T-
De classe staat op het typeplaatje vermeld.
Zie voor deurdraairichting en inbouw de betreffende aanwijzingen.
Elektrische aansluiting
Overtuig u ervan dat de netspanning en de netfrequentie, welke op het typeplaatje in de kast staan aangegeven, overeenkomen met de netspanning en de netfrequentie in uw woning. Een afwijking op de netspanning tot plus of minus 6% is toegestaan.
Bij aansluiting op een andere spanning dient u een geschikte transformator te gebruiken.

Belangrijk
De stekker mag alleen geplaatst worden in een geaard stopcontact.
De kast is waarom voorzien van een speciaal drieaderig snoer, geschikt voor een geaard stopcontact.
Mocht het stopcontact in uw woning nicht geaardঃ, dan dient een erkend installateur het apparaat volgens de geldende normen te aarden.
Wij wijzen u er op dat schade of letsel,veroorzaakt door het Niet voldoen aan ditveiligheidsvoorschrift, Niet onder deverantwoordelijkheid van de fabrikant valt.

Attentie
Het apparaat moet van het elektriciteitsnet afgehaald hunnen worden; de stekker moet dus ook na de installmentie bereikbaar blijven.

Dit apparaat voldoet aan de volgende EU-richtlijnen:
- 73/23 EG-richtlijn van 19/02t73 (Laagspanning) en oepenvolgende wijzingen;
- 87/308 EG-richtlijn van 02/06/87 (Betrekking tot de radio-ontstoring) en opeenvolgende wijzingen;
- 89/336EG-richtlijn van 3/05/89 (Elektromagnetische compatibilititeit) en opeenvolgende wijzingen.
Wijzigen van de deurdraairichting
Als transportbeveiliging zijn aan beiden scharnierkanten scharnierpennen aangebracht.

Afhankelijk van de gewenste deurdraairichting moet aan een Kant, zowel onder als boven, een scharnierpen verwijderd worden.

Attentie!
Bij een lage omgevingstemperatuur (bijv. in de winter) kan het voorkomen dat de deurafdichting Niet perfect aan de kastocht.
De afdichting worden na een bepaaldeijd vanzelf in vorm getrokken. Als u dit proces wilt bespoedigen, is het voldoende om de afdichting m.b.v. een haardroger te verwarmen.
Aanwijzingen voor de geintegreerde inbouw

Nismaten
Nishoogte 880 mm
Nisdiepte 550 mm
Nisbreedte 560 mm

- De nis要去vens voorzijn zijn van een luchtkanaal met de volgende afmetingen:
diepte 50 mm
breedte 540 mm

Ten behoeve van een optimale ventilatie要去en de minimale oppervlakten voor de ventilatie- openings volgens de afbeelding in acht genomen worden.
Attentie: zorg ervoor dat de ventilatie openingen tijdens gebruik Niet worden afgedekt.

- Schuif het apparaat in de nis tot de aanslaglijk (A) met de voorkant van plafond van de kast aanlijnt.

3. Breng, onder lichte druk, de voegafdichtingussen apparaat en niswand aan (zie afbeelding).

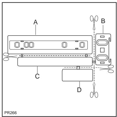
6. Onderdelen A, B, C, D scheiden zoals u in de tekening ziet.

4. Open de deur en druk het apparaat gegen de zichwand van de nis, aan de kant waar nicht de scharnieren zitten. Bevestig het apparaat aan de nis met de vier meegeleverde schroeven. Bevestig het ventilatierooster (C). Breng, onder lichte druk, het dekseltje (D) aan.

7. Geleider (A) gegen de binnenkant van de kastdeur aan de boven- en onderkant honden volgens de tekening en deplaats van de buitenste gaten aangeven. Nadat u de gaten geboardeft de geleider met de bijgeleverde schroeven vastzetten.

5. Breng de afdichtstopjes (B) in de gaten in de beklijke aan.

8. Afdekking (C) op geleider (A) vastklikken.


- De deur van het apparaat en die van de kast met een hoek van ongeveer 90^ openen. IJzer (B) in geleider (A) aanbrengen. De deuren samen vasthouden en de gaten aangeven zoals in de tekening. De ijzers weghalen en gaten van 2mm boren op een afstand van 8mm van de buitenrand van de deur.
Plaats het ijzer opnieuw op de geleider en bevestig het met de bijgeleverde schroeven.

- Voor hetrechtstellen van de kastdeur kurz u gebruik maken van de langwerpige gaten.
Tenslotte dient u te controleren of de deur van het apparaat goed sluit.

- Afdekking (D) op geleider (B) vastklikken.
SimpelGids