JIMMY JV85 - Aspirateur

JV85 - Aspirateur JIMMY - Notice d'utilisation et mode d'emploi gratuit

Retrouvez gratuitement la notice de l'appareil JV85 JIMMY au format PDF.

📄 72 pages Français FR 💬 Question IA 10 questions ⚙️ Specs
Notice JIMMY JV85 - page 47
Caractéristiques techniques Aspirateur sans fil, puissance d'aspiration de 150 AW, autonomie jusqu'à 60 minutes.
Type de filtration Système de filtration HEPA, capture 99,97% des particules fines.
Capacité du réservoir Réservoir de 0,6 litre, facile à vider.
Accessoires inclus Brosse motorisée, brosse douce, suceur long, station de charge.
Poids Poids léger de 1,5 kg pour une maniabilité optimale.
Utilisation Idéal pour les surfaces dures et les tapis, mode d'aspiration réglable.
Maintenance Filtres lavables, entretien facile, réservoir amovible.
Sécurité Protection contre la surchauffe, conforme aux normes de sécurité électrique.
Informations générales Garantie de 2 ans, service après-vente disponible.

FOIRE AUX QUESTIONS - JV85 JIMMY

Comment puis-je vider le réservoir à poussière de l'aspirateur JIMMY JV85 ?
Pour vider le réservoir à poussière, appuyez sur le bouton de déverrouillage situé sur le réservoir, retirez-le de l'aspirateur et videz son contenu dans une poubelle.
L'aspirateur JIMMY JV85 ne s'allume pas, que faire ?
Vérifiez que l'aspirateur est correctement chargé. Si la batterie est déchargée, branchez-le sur une prise pour le recharger pendant au moins 4 heures avant de réessayer.
Comment nettoyer le filtre de l'aspirateur JIMMY JV85 ?
Retirez le filtre du réservoir à poussière, puis rincez-le à l'eau tiède sans utiliser de détergent. Laissez-le sécher complètement avant de le remettre en place.
Pourquoi l'aspirateur JIMMY JV85 perd-il de l'aspiration ?
Cela peut être dû à un filtre encrassé ou à un réservoir à poussière plein. Vérifiez et nettoyez le filtre, et videz le réservoir si nécessaire.
Comment changer la brosse de l'aspirateur JIMMY JV85 ?
Pour changer la brosse, appuyez sur le bouton de déverrouillage de la brosse, retirez-la, puis insérez la nouvelle brosse jusqu'à ce qu'elle s'enclenche.
L'aspirateur JIMMY JV85 émet un bruit anormal, que faire ?
Vérifiez s'il y a des obstructions dans le tuyau ou la brosse. Nettoyez-les si nécessaire. Si le problème persiste, contactez le service client.
Comment savoir si la batterie de l'aspirateur JIMMY JV85 doit être remplacée ?
Si l'aspirateur ne tient pas la charge ou s'éteint rapidement pendant l'utilisation, il est possible que la batterie soit usée et doive être remplacée.
Puis-je utiliser l'aspirateur JIMMY JV85 sur des tapis ?
Oui, le JIMMY JV85 est conçu pour être utilisé sur tous les types de surfaces, y compris les tapis. Assurez-vous d'utiliser la bonne brosse pour un meilleur résultat.
Où puis-je trouver des pièces de rechange pour l'aspirateur JIMMY JV85 ?
Les pièces de rechange peuvent être trouvées sur le site officiel de JIMMY ou chez des revendeurs agréés. Assurez-vous de vérifier le modèle spécifique pour la compatibilité.
Quelle est la durée de vie de la batterie de l'aspirateur JIMMY JV85 ?
La durée de vie de la batterie est d'environ 40 minutes en mode standard. Cela peut varier en fonction de l'utilisation et des réglages.

Questions des utilisateurs sur JV85 JIMMY

0 question sur cet appareil. Repondez a celles que vous connaissez ou posez la votre.

Poser une nouvelle question sur cet appareil

L'email reste privé : il sert seulement à vous prévenir si quelqu'un répond à votre question.

Aucune question pour l'instant. Soyez le premier à en poser une.

Téléchargez la notice de votre Aspirateur au format PDF gratuitement ! Retrouvez votre notice JV85 - JIMMY et reprennez votre appareil électronique en main. Sur cette page sont publiés tous les documents nécessaires à l'utilisation de votre appareil JV85 de la marque JIMMY.

MODE D'EMPLOI JV85 JIMMY

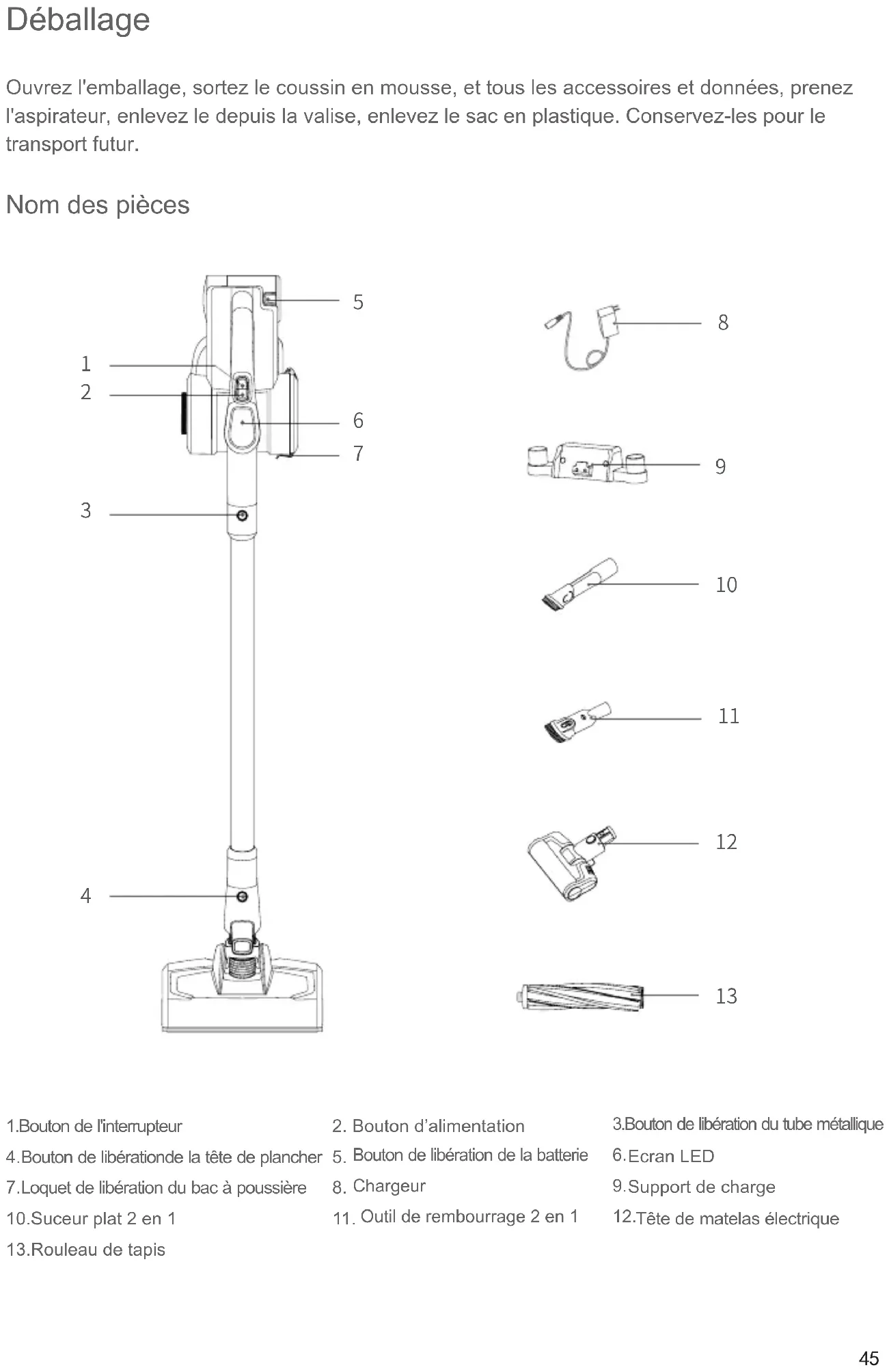
2. Bouton d’alimentation

Bouton de libération de la batterie

Outil de rembourrage 2 en 1 3.Bouton de libération du tube métallique

Tête de matelas électrique

Liste de colisage Assemblage de la machine Montage de la tête de plancher électrique et le tube métallique Pendant la connexion, tenez la brosse électrique avec votre main gauche dans la direction indiquée, insérez le tube métallique verticalement dans la tête du sol avec la main droite, alignez-la avec l'aiguille conductrice, appuyez sur la poignée jusqu'à ce qu'un «clic» soit entendu. Attention: Gardez la poignée et la tête de plancher dans la même direction, l'aiguille conductrice doit être aligné avec la prise. Pendant l'emballage, le stockage ou le nettoyage, si la tête de plancher électrique doit être retirée, appuyez sur le bouton de libération de la brosse comme indiqué sur la gure et tirez la tête de plancher électrique dans la direction indiquée sur la gure. ontage de la batterie et l'aspirateur à main Montage de la batterie: tenez l'aspirateur à main dans une main, tenez la batterie dans l'autre main, visez la rainure de guidage sur le corps, glissez la batterie dans le sens de la flèche indiqué sur la figure, et tirez ensuite la batterie après l'installation pour assurer qu'il n’a pas le relâchement. Nom Aspirateur à main Tête de plancher électrique Tête de matelas électrique Outil de rembourrage 2 en 1 Quantité 1 1 1 1 Nom Suceur plat 2 en 1 Rouleau de tapis Support de charge métallique Quantité 1 1 1 1 Nom Adaptateur Vis tuyau d'expansion Manuel d'instructions Quantité 1 1 2 1

Attention: lorsque l'aspirateur n’est pas longtemps utilisé, retirez la batterie, emballez la machine et la stockez dans un endroit frais et sec, il doit éviter la lumière directe du soleil ou l’environnement humide. Montage du tube métallique et de l'aspirateur à main Premièrement, assemblez la tête de plancher et le tube métallique selon la méthode d'assemblage de la tête de plancher électrique et du tube métallique. Assemblez la tête de plancher, le tube métallique et l'aspirateur à main: comme indiqué par la èche, alignez l'aiguille conductrice du tube métallique avec le coupleur de la buse d'aspiration, poussez vers le haut jusqu'à ce qu'un «clic» soit entendu. Assemblage des accessoires Pour la facilité d'utilisation, ce produit est spécialement équipé de quelques accessoires pour la partie portable de l'aspirateur. Lorsque utilisez l'aspirateur à main, vous pouvez connecter directement les accessoires selon vos besoins ou connecter les accessoires via le tuyau extensible. JV85 Brosse à matelas électrique Outil de rembourrage 2 en 1 Suceur plat 2 en 1 Rouleau de tapis Modèle Nom

Connectez la tête du matelas électrique, le suceur plat 2 en 1, l’outil de rembourrage 2 en 1 et la brosse de l'aspirateur à main comme sur la figure. Utilisation de l’aspirateur Attention: Lors de l’utilisation du produit pour la première fois, la batterie n'est pas pleine, l’aspirateur doit être chargé avant l’utilisation. Montage du support de charge Méthode de montage I: placez l'aspirateur dans le support et appuyez-le contre le mur, placez le support dans la position où la tête de plancher de l'aspirateur ne touche pas le sol, retirez l'aspirateur à main, suivez la Fig4pour placer le tuyau d'expansion sur le mur et suivez la Fig5 pour placer le support en position du tuyau d'expansion, et verrouillez la vis. Quand l'assemblage est terminé, placez l'aspirateur sur le support du chargeur pour le charge ou le rangement. Attention: ne xez pas le support à la mur humide comme la salle de bain . Tuyau d'expansion Support de charge vis

Charge de l'aspirateur Quand la puissance de l'aspirateur est insu󰀩sante, chargez l'aspirateur à temps; quand la tension est trop faible, il doit protéger la batterie, l'aspirateur s'éteindra automatiquement, l'aspirateur doit être chargé à ce moment.Lors du chargement, branchez le connecteur du chargeur dans la prise ,49 Bouton de libération de la batterie Bouton de l'interrupteur Bouton d’alimentation Ecran LED Bouton de libération de la poussière Rouleau de tapis Nettoyage des sols durs, des carreaux ou des tapis à poils courts. Nettoyage du tapisà poils longs.

d'alimentation A / C, suspendez l'aspirateur à main sur le support pour le charge.Lorsque l'écran LED de l'aspirateur à main montre une augmentation de la puissance, il indique que l'aspirateur est en charge. Une fois la charge est terminée, l'écran LED montre une puissance de 100%. Après la charge, retirez la che du chargeur de la prise de courant et arrêtez la charge. Attention: si la ligne d'alimentation est endommagé,il doit être remplacé par un professionnel du fabricant, un réparateur ou un service similaire pour éviter un danger. Use of Handheld Vacuum Cleaner Utilisation de l'aspirateur à main Retirez l'aspirateur du support, appuyez sur le bouton de l'interrupteur sur la poignée pour le démarrage ou l’arrêt de l'aspirateur. Lorsque la machine est allumée, le fonctionnement est en le mode d'alimentation normal, appuyez sur le bouton d'alimentation pour passer en le mode turbo ou la puissance maximale. Utilisation de la tête de plancher électrique Nettoyage des sols durs, des carreaux ou des tapis avec la tête de plancher électrique. La brosse à tapis peut être remplacée par la tête de plancher lors du nettoyage de la moquette à poils longs. Remarque: quelle est la protection de blocage de la brosse roulante? Pendant le fonctionnement de la tête de plancher électrique, s'il y a un grand volume de corps étranger inhalé ou trop de bres, ou même un enfant dans la machine a mis par erreur sa main dans la buse, entraînant l'arrêt anormal du rouleau, la tête de plancher électrique cessera de fonctionner pour protéger la sécurité personnelle et le moteur de la brosse.50 Nettoyage et remplacement des pièces Clean dust cup and ltration system Nettoyage du bac à poussière et du système de ltration 1.Le ltre HEPA est disponible pour la vente auprès des distributeurs locaux d'aspirateurs. 2.Il est recommandé de nettoyer le bac à poussière après chaque utilisation; quand le bac à poussière est plein ou le ltre HEPA est bloqué, il doit être nettoyé et remplacé si nécessaire; la brosse électrique au sol peut être emmêlée avec les cheveux après l’utilisation longue, il doit être nettoyé à temps pour que le fonctionnement plus e󰀩cace. 1.Appuyez sur le couvercle inférieur du bac à poussière, ouvrez le bac à poussière et entonnez la poussière dans la poubelle.

2. Tenez le couvercle HEPA et tournez-le dans le

sens inverse des aiguilles d'une montre, retirez l'ensemble HEPA de l'aspirateur à main pour le nettoyage.

3. Tenez le haut de l'ensemble cyclone et tournez-

le dans le sens inverse des aiguilles d'une montre, retirez l'ensemble cyclone de l'aspirateur à main pour le nettoyage.

Utilisation d'accessoires

Suceur plat 2 en 1: disponible pour le nettoyage des coins de crevasse, de la porte ou de fenêtre et autres espaces étroits. Outil de rembourrage 2 en 1: disponible pour le nettoyage de placard, le rebord de fenêtre, le canapé et la surface de table. Tête de matelas électrique: disponible pour le canapé et les matelas, le rouleau à brosse puis nettoie les acariens et les allergènes du canapé ou du lit profond.51

4. Si le HEPA doit être lavé, maintenez le

HEPA et tournez-le dans le sens des aiguilles d'une montre, retirez-le du couvercle HEPA pour le lavage. HEPA doit être complètement sec avant la réutilisation. 5.Après le nettoyage, remontez les pièces selon l'ordre inverse du démontage.

Bouton de libération du rouleau Bouton de libération de la batterie Nettoyage du rouleau de brosse 1.Déplacez le bouton de libération du rouleau dans le sens de la flèche, retirez le couvercle latéral.

2. Retirez une extrémité du rouleau et sortez-le

de la buse de nettoyage. 3.Après le nettoyage ou remplacement du rouleau de brosse, remontez-le dans le sens inverse du démontage. Stockage de l'aspirateur Stockage du corps principal Démontage de la batterie Appuyez sur le bouton de libération de la batterie, retirez la batterie dans le sens de la èche et placez la batterie dans un sac plastique, puis placez-la dans un endroit sec. Lorsque l'aspirateur n’est longtemps utilisé, retirez la batterie, emballez la machine et stockez- la dans un endroit frais et sec, ne l'exposez pas à la lumière directe du soleil ou dans un environnement humide. Notes de sécurité Cet aspirateur est réservé à la famille. Ne l'utilisez pas à des ns commerciales ou d’autres. Il faut lire attentivement ce mode d’emploi avant l’utilisation, et conservez-le pour une utilisation future. Ne placez pas l'aspirateur près d'un feu ou d'autres places à haute température. N'utilisez pas et ne stockez pas la machine dans des conditions extrêmement défavorables, telles que des températures extrêmes. Il faut l'utiliser à l'intérieur entre 5 et 40 ° C. Rangez la machine dans un endroit sec et évitez les rayons directs du soleil.52 Lors de l'utilisation de l'aspirateur, il ne faut pas bloquer l'entrée d'aspiration et la brosse à rouleau, sinon le moteur pourrait être en panne. Ne mettez pas votre main ou votre pied dans l'entrée de l’entrée de plancher pour éviter des blessures corporelles. Ne versez pas ni éclaboussez d’eau ou d’autres liquides dans la machine an d’éviter tout court-circuit. Si le brosse à rouleau ne fonctionne pas, vériez s'il est emmêlé avec des cheveux ou d’autre bres longues, nettoyez-le à temps. Lorsque vous stockez la machine pendant une longue période, assurez-vous que la batterie est complètement chargée avant de la stocker et chargez la machine au moins tous les trois mois. Lorsque votre aspirateur est complètement chargé, a besoin d'être nettoyé ou réparé, il faut débrancher le chargeur à temps, maintenir le chargeur pour brancher et débrancher le cordon d'alimentation. Ne tirez pas le cordon d’alimentation. Utilisez un chi󰀨on sec pour nettoyer la machine. Les liquides comme l’essence, l’alcool, les diluants à laque provoqueront une décoloration des ssures ou des couleurs qui ne peuvent pas facilement être éries. Si la machine ne fonctionne pas après une charge complète, elle doit être vériée et réparée dans notre bureau désigné. Ne démontez pas la machine vous-même. La machine mise au rebut contient des batteries. Elles devraient être recyclées en toute sécurité. Ne les jetez pas au hasard. Si le cordon d'alimentation est endommagé, il doit être remplacé ou réparé par le fabricant, une agence de réparation ou un professionnel pour éviter tout danger. Chargez complètement la batterie avant la première utilisation ou après un long stockage. Avant d'utiliser l'aspirateur, assurez-vous que le rouleau pinceau est bien xé, faute de quoi le ventilateur du moteur risque de se boucher et de se brûler. Il ne faut pas utiliser l'aspirateur pour aspirer du détergent, de l'huile, du laitier de verre, une aiguille, de la cendre de cigarette, de la poussière humide, de l'eau, des allumettes, etc. Il ne faut pas utiliser l'aspirateur pour aspirer de minuscules particules telles que du ciment, du gypse en poudre, de la poudre pour mur ou de gros objets tels que des billes de papier, sinon cela pourrait provoquer des pannes telles qu'un blocage et un épuisement du moteur.53 Panne Causes possibles Solutions Le moteur ne fonctionne pas La batterie n'est pas alimentée Chargez l'aspirateur Le moteur ne fonctionne pas Le tube métallique, la tête deplancher, la batterie et l'aspirateur ne sont pas correctement assemblés. Vériez si les accessoires sont correctement assemblés à l'aspirateur. Force d’aspiration faible Le bac à poussière est plein Ettoyez le bac à poussière Force d’aspiration faible Le ltre est bloqué tête de planche Force d’aspiration faible La tête de planche d'air est bloquée Reinigen Sie den Platinenkopf Temps de travail court après la charge La machine n’est pas complètement chargée Suivez le manuel d'instructions pour charger la batterie complètement Temps de travail court après la charge Vieillissement de la batterie Les batteries nouvelles peuvent être achetées depuis un distributeur local Dépannage Vériez les problèmes suivants avant d'envoyer à un réparateur agréé. Attention: s'il y a d'autres défauts, il doit utiliser les outils spéciaux, afin d'éviter tout danger et il doit être réparé par les professionnels du fabricant, du réparateur ou du service similaire.54 Paramètre technique Numéro de modèle JV85 Tension nominale 25.2V Puissance nominale 500W Tension d'entrée de l'adaptateur 100-240V

60Hz 0.8A Tension de sortie de l'adaptateur 30V 600mA Numéro de modèle de la tête de plancher T-EB110K Puissance nominale de la tête de plancher 30W Capacité du sac de batterie 2500mAh Temps de charge 4h-5h Schéma du circuit Chargeur Moteur principal Moteur de la tête de plancher Support de charge batterie au lithium PCB écran et bouton Carte adaptateur PCB PCB de batterie au lithium EE EE EE EE EE EE55 Disposition Pour un recyclage respectueux de l'environnement, les machines, les accessoires et les emballages doivent être classés. Ne pas jeter la machine dans les ordures ménagères! Uniquement pour les pays de la CE Selon la directive européenne 2012/19 / EU et conformément à la directive européenne 2006/66 / CE, les blocs / batteries défectueux ou usés, les machines qui ne sont plus utilisables doivent être collectées séparément et éliminées dans le respect de l'environnement. Batteries / batteries Les piles intégrées ne peuvent être retirées pour élimination que par du personnel qualié. Ouvrir la coque du boîtier peut endommager ou détruire la machine. Ne pas jeter les batteries dans les déchets ménagers, ni dans le feu ni l’eau. Les piles / batteries doivent être déchargées, collectées, recyclées ou éliminées dans le respect de l'environnement s’il est possible. Sujet à changement sans préavis. Informations de garantie Ce produit bénécie d'une garantie de deux ans la date d'achat La garantie l'usure normale exclus l'utilisation commerciale, les modications apportées à l'appareil acheté, les activités de nettoyage, les conséquences d'un usage impropre ou de dommages causés par l'acheteur ou un tiers, les dommages pouvant être imputés à des circonstances extérieures ou aux piles. Fabricant Kingclean Electric Co., Ltd Addresse No.1 rue Xiangyang, nouveau district de Suzhou, province du Jiangsu 215009, Chine Informations du fabricant56 Демонтаж упаковки Открыть упаковку, вынимать пенопластовую прокладку, вынимать встроенные все принадлежности и данные, схватить пылесос, вынимать из ящика, снимать пластиковый пакет. Сохранять внешнюю упаковку для дальнейшего транспорта. Наименование каждой детали 1.Кнопка-выключатель 4.Кнопка разблокировки напольной щетки 7.Защелкаразблокировкипы

Assistant notice
Powered by ChatGPT
En attente de votre message
Informations produit

Marque : JIMMY

Modèle : JV85

Catégorie : Aspirateur