AC5295 - Module électronique IFM - Notice d'utilisation et mode d'emploi gratuit
Retrouvez gratuitement la notice de l'appareil AC5295 IFM au format PDF.
| Caractéristiques Techniques | Données non disponibles |
|---|---|
| Utilisation | Données non disponibles |
| Maintenance et Réparation | Données non disponibles |
| Sécurité | Données non disponibles |
| Informations Générales | Données non disponibles |
FOIRE AUX QUESTIONS - AC5295 IFM
Questions des utilisateurs sur AC5295 IFM
0 question sur cet appareil. Repondez a celles que vous connaissez ou posez la votre.
Poser une nouvelle question sur cet appareil
Téléchargez la notice de votre Module électronique au format PDF gratuitement ! Retrouvez votre notice AC5295 - IFM et reprennez votre appareil électronique en main. Sur cette page sont publiés tous les documents nécessaires à l'utilisation de votre appareil AC5295 de la marque IFM.
MODE D'EMPLOI AC5295 IFM
ASinterface
ClassicLine Modul ClassicLine module Module ClassicLine AC5295

Fonctionnement et caractéristiques
- Nombre maximal de modules par maître : 62
- Version AS-interface 3.0, compatibilité descendante


Montage
Consignes de montage à partir de page 11.
Adresseage
Adressage avec l'unité d'adressage AC1144
Le module monté et câblé peut être adressé via le cordon d'adressage (E70213) par l'interface d'adressage intégrée en face avant du module.
Si un esclave avec le mode d'adressage étendu est utilisé en combinaison avec un maître de la première génération (version 2.0), le paramètre P3 doit être à 1 et le bit de sortie D3 doit être à. Le bit de sortie D3 et le bit de paramètre P3 ne doivent pas être utilisés.
- réglement par défaut
Si un esclave avec le mode d'adressage étendu est utilisé en combinaison avec un maître de la première génération (version 2.0), une adresse entre 1A et 31A doit être affectée à cet esclave.
4 Entrées
Profil AS-i S-0. A. E / mode d'adressage étendu : oui
| Bit de données | D0 D1 D2 D3 | |||
| Entrée l'1 l2 l3 l4 | ||||
| Prise l-1/2 l-1/2 l-2 | l-3/4 l-4 | |||

Raccordement électrique
Raccordez les connecteurs des capteurs / actionneurs aux prises M12. Afin de garantir le degré de protection IP 67, vous devrez
- Couvrir les prises non utilisées avec des bouchons de protection (E73004)*, couple de serrage 0,6...0,8 Nm.
- utiliser le joint d'étanchéité pour l'extrémité du câble plat (E70413)* si le module se trouve à l'extrémité du faisceau. *) à commander séparément
Fonctionnement

Évitez les dépôts de souillure et de poussières sur l'embase et la partie supérieure afin que le mécanisme de verrouillage ne soit pas affecté.
Vérifiez le bon fonctionnement de l'appareil. Affichage par LED :
- LED jaune : entrée, sortie commutée
- LED PWR verte : alimentation en tension AS-i o. k.
- LED FAULT rouge allumée : erreur de communication AS-i, l'esclave ne participe pas à l'échange « normal » des données, par ex. adressé d'esclave 0
- LED FAULT rouge clignote : défaut périphérique, par ex. alimentation capteur / sortie en surcharge ou en court-circuit
- LED 1 jaune : état logique des sorties

Une surcharge ou un court-circuit de l'alimentation des entrées et des sorties est signalé au maître AS-i (version 2.1 ou supérieure) en tant que défaut périphérique.
Données techniques
Vous pouvez télécharger la fiche technique sur notre site web à l'adresse www.ifm-electronic.com si besoin.


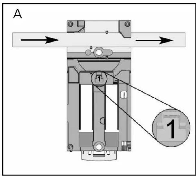
Orientation du câble plat à la livraison
Posez le câble plat AS-i jaune soigneusement dans le guide profilé.
Montez la partie supérieure.



Verrouillez l'appareil.
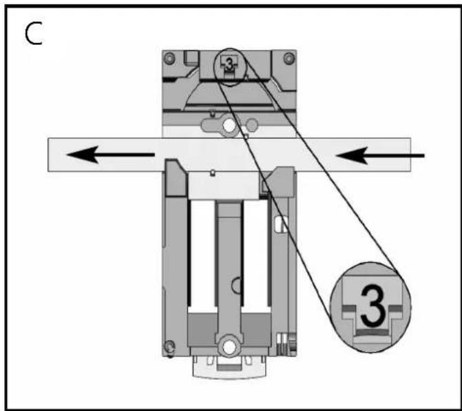
L'embase fournie permet l'orientation du câble plat dans trois directions.
Posez le guide du câble plat en fonction (1) de la direction souhaitée.



Réglages sur l'embase
Sélectionnez la position 1, 2 ou 3 selon l'orientation du câble plat ().
A = Appareil livré



Réglages sur la partie supérieure
Réglez ensuite la position sélectionnée sur la partie supérieure. Pour ce faire, tournez la flèche sur le nombre correspondant (figure D1 et D2).
Utilisez un outil, par ex. un tournevis (figure D1) ou le guide du câble plat jaune / noir (figure D2).

Ouvrez l'appareil à l'aide d'un outil comme indiqué (par ex. tournevis).


Poser le câble plat AS-i soigneusement, avec une longueur droite minimum d'environ 15 cm.
Notice Facile