Mon Soleil 720 WiFi - Chauffage Eurom - Notice d'utilisation et mode d'emploi gratuit
Retrouvez gratuitement la notice de l'appareil Mon Soleil 720 WiFi Eurom au format PDF.
| Caractéristique | Détails |
|---|---|
| Type de chauffage | Chauffage électrique à infrarouge |
| Puissance | 720 W |
| Connectivité | WiFi intégré pour contrôle à distance |
| Dimensions | Dimensions compactes adaptées pour divers espaces |
| Poids | Léger, facile à déplacer |
| Utilisation | Idéal pour le chauffage d'appoint dans les pièces de vie |
| Contrôle de la température | Thermostat réglable pour un confort optimal |
| Maintenance | Nettoyage régulier recommandé, pas de pièces mobiles à entretenir |
| Sécurité | Protection contre la surchauffe et les basculements |
| Garantie | Garantie constructeur de 2 ans |
| Informations supplémentaires | Installation facile, fonctionnement silencieux |
FOIRE AUX QUESTIONS - Mon Soleil 720 WiFi Eurom
Questions des utilisateurs sur Mon Soleil 720 WiFi Eurom
0 question sur cet appareil. Repondez a celles que vous connaissez ou posez la votre.
Poser une nouvelle question sur cet appareil
Téléchargez la notice de votre Chauffage au format PDF gratuitement ! Retrouvez votre notice Mon Soleil 720 WiFi - Eurom et reprennez votre appareil électronique en main. Sur cette page sont publiés tous les documents nécessaires à l'utilisation de votre appareil Mon Soleil 720 WiFi de la marque Eurom.
MODE D'EMPLOI Mon Soleil 720 WiFi Eurom
Avertissements obligatoires
Veillez à litre et assimiler les consignes de sécurité. Toute utilisation incorrecte peut cause des blessures et annulera la garantie d'EUROM.
AVERTISSEMENT

- N'utilisez pas ce chauffage dans de petites pieces si elles sont occupées par des personnes qui ne peuvent quitter la piece par leurs propres moyens, sauf si une surveillance constante est assurée.
- Pour réduire le risque d'incendie, maintenez les textiles, ridesaux ou tout autre matériel inflammable à une distance minimale de 1 mètre de la sortie d'air.

PRUDENCE
Certaines parties de ce produit peuvent devenir très chaudes et provoquer des brûlures. Une attention particulière doit être portée en présence d'enfants et de personnes vulnérables.

PRUDENCE
Afin d'éviter toute surchauffe, ne couvre pas le chauffage.
- Les enfants de moins de 3 ans doivent être tenus à l'écart, sauf s'ils sont surveillés en permanence.
- Les enfants âgés de 3 ans ou plus et de moins de 8 ans ne peuvent allumer/éteindre le dispositif que si celui-ci a été place ou installé dans sa position de fonctionnement normale prévue, qu'ils font l'objet d'une surveillance ou qu'ils ont reçu des instructions concernant l'utilisation du dispositif en toute sécurité et qu'ils comprendtent les risques encourus. Les enfants âgés de 3 ans ou plus et de moins de 8 ans ne sont pas autorisés à brancher, régler et nettoyer le dispositif ou effectuer l'entretien.
- Ce dispositif peut être utilisé par des enfants à partir de 8 ans et des personnes ayant des capacities physiques, sensorieles ou mentales réduites ou un manque d'expérience et de connaissances à condition qu'ils fassent l'objet d'une surveillance ou qu'ils aient reçu des instructions concernant l'utilisation du dispositif en toute sécurité et qu'ils comprend les risques encourus. Les enfants ne doivent pas journé avec le dispositif. Le nettoyage et l'entretien utilisateur ne doit pas été effectuels par des enfants sans surveillance.
Le chauffage ne doit pas etre place immediatement sous une prise de courant. - Si le cordon d'alimentation est endommagé, il doit être remplaced par le fabricant, son agent de service ou des personnes de qualification similaire afin d'éviter tout danger.
- Le chiffage doit être installé de manière à ce que les interrupteurs et autres commandes ne puissant pas être touchés par une personne se trouvant dans la baignoire ou sous la douche.
- N'utilisez pas ce chauffage à proximé immediate d'une baignoire, d'une douche ou d'une piscine.
N'utilisez pas ce chauffage s'il a fait l'objet d'une chute. - Ne pas utiliser ce chauffage si celui-ci présente des signes visibles de dommage
Dans le cas où le chauffage Mon Soleil est utilisé en combinaison avec le support indépendant (réference 361278):
- Utilisez ce chauffage sur une surface horizontally et stable.
L'appareil est équipé d'une protection contre la surchauffe, qui l'éteint automatiquement en cas de surchauffe interne. Éteignez l'appareil, débranchez la fiche d'alimentation, supprimez la cause de la surchauffe, laissez-le refroidir et utilisez-le normalement. N'utilise pas l'appareil si la cause de la surchauffe ne peut être localisée ou si le problème persiste. Dans ce cas, contactez toujours votre fournisseur.
Cet apparéil peut être utilisé en toute sécurité dans la salle de bain lorsqu'il est monté :
- dans la zone 3 d'un cabinet de téléphone ou d'une salle de bain avec une baignoire, une douche avec écran et une douche sans écran (figure 1);
- en position fixe :
hors de portee de toute personne se trouvant dans une baignoire ou sous une douche.




Figure 1
Instructions générales de sécurité

AVERTISSEMENT
- Empêchez toute éclaboussure d'eau sur ou dans l'appareil.
N'immergez aucune partie de I'appareil dans de I'eau ou d'autres liquides.
N'inserez jamais les doigs ts ou des objets dans les ouvertures de l'appareil.
N'exposez pas l'appareil à de fortes vibrations ou contraintes mécaniques.

AVERTISSEMENT
Le produit devient très chaud pendant son utilisation. Ne touchez pas l'appareil pendant l'utilisation ou dans les cinq minutes qui seront son utilisation.

PRUDENCE
Ne couvrez pas l'appareil pendant l'utilisation ou après son utilisation lorsqu'il est encore chaud. Pour réduire le risque d'incendie, maintenez les textiles, rideaux, toiles de tente et autres matériaux inflammables à une distance minimale de 1 mètre de l'appareil.
Sécurité de fonctionnement

AVERTISSEMENT
N'utilisez pas l'appareil :
- à l'extérieur ou dans un espace réduit (< 7 m³);
- en position couchee, penchee ou debout;
- si une partie quelconque est sale ou humide;
- près d'objets de grande taille, p. ex. derrière une porte, sous une étagère ou pres d'une armoire;
- à proximité de ou dans un environnement poussièreux et sale, tel qu'un chantier;
- à proximé de matières, liquides ou vapeurs inflammables, tels qu'un cabanon, une écurie ou une serre;
- près d'autres sources de chaleur ou de feu ouvert;
- avec un dispositif qui allume automatiquement le produit, tel qu'une minuterie, un gradateur ou tout autre apparéil.
Si l'appareil, le cable électrique ou la fiche représentent des dommages ou fonctionnement mal, mettez immédiatement le dispositif hors service et débranchez l'alimentation électrique.
Garantie
EUROM accorde une garantie de 60 mois sur cet apparéil à partir de la date d'achat. La garantie ne couvre pas l'usure due à une utilisation normale. La garantie est exclue si un défaut est le résultat d'une'utilisation abusive ou néligente de l' apparéil. Le fabricant, l'importateur et le fournisseur ne sont pas responsables de raccordements incorrects.
Introduction
Merci d'avoir besoin ici apparéil EUROM. Vous avez achété un apparéil de qualité dont vous profitèrez pendant de nombreuses années. Une utilisation respectue et responsable de cet apparéil réduit le risque de blessures ou de dommages matériels.

PRUDENCE
Il est important de dire et comprendre ce manuel d'instructions avant d'assembler, installer et utiliser l'appareil.
Ce manuel décrit comment utiliser cet apparéil de manière correcte et sure. Conservez ce manuel pour pouvoir le consulter ultérieurement. Ce manuel fait partie intégrante de l' apparéil et doit être remis au nouveau propriétaire en cas de revente ou d'échange. Ce manuel a été rédigé avec le plus grand soin. Nous nous réservons néanmoins le droit d'améliorer et d'adapter ce manuel à tout moment. Les images utilisées peuvent être différentes.
Les symboles et termes suivants sont utilisés dans ce manuel pour attirer l'attention du lecteur sur les aspects de la sécurité et diverses informations importantes :

AVERTISSEMENT
Indique une situation dangereuse qui peut entrainer des blessures pour l'opérateur ou les personnes représentes et des dommages légers et/ou modérés pour le produit ou l'environnement si les consignes de sécurité ne sont pas respectées.

PRUDENCE
Indique une situation dangereuse qui peut entrainer des dommages légers et/ou modérés pour le produit ou l'environnement si les consignes de sécurité ne sont pas respectées.
Identification

Figure 2

Figure 3
Specifications
| Type : | Mon Soleil 350 Wi-Fi | Mon Soleil 601 Wi-Fi | Mon Soleil 720 Wi-Fi |
| Dimensions du produit : | 60 x 60 cm | 60 x 100 cm | 60 x 120 cm |
| Poids : | 8,9 kg | 14,5 kg | 18,0 kg |
| Tension : | 230V~ / 50-60Hz | 230V~ / 50-60Hz | 230V~ / 50-60Hz |
| Puisance : | 350W | 600W | 720W |
| Indice de protection : | IP24 | IP24 | IP24 |
| Classe de protection : | Classe I | Classe I | Classe I |
Euromac B.V. déclare par la présente que ce produit est conforme à la directive 2014/53/UE. Le texte intégral de la déclaration de conformité de l'UE est disponible à l'adresse Internet suivante: www.eurom.nl/declaration-of-conformity.
- Bande de fréquence Wi-Fi et Bluetooth : 2,400 ~ 2,4835GHz
- Puissance radioélectrique maximale transmise dans cette (ces) bande(s) de fréquence : - Wi-Fi : 17,5 dBm
- Bluetooth : 6,5 dBm
Description
Le Mon Soleil Wi-Fi est un chauffage électrique facile à utiliser et destiné à un usage interieur, voir (figure 4). L'appareil peut être monté au mur ou au plafond. Mon Soleil Wi-Fi peut être utilisé avec l'application Eurom Smart et peut êtreprogrammé sur une minuterie journalière et hebdomàtaire.
- Partie principale
- Commande à distance, jeu
- Commutateur ON/OFF
- Capteur température interieure
- Panneau de commande et écran LED
- Fiche d'alimentation

Figure 4
Panneau de commande et écran LED
- Écran
- Témoin Alimentation
- Témoin thermostat Wi-Fi
- Témoin Wi-Fi
- Témoin Fenêtre ouverte
- Témoin chauffage
- Touche Moins
- Touche Plus
- Touche mode
- Touche ON/OFF

Figure 5
Télécommande*
- Touche de détction fênétre ouverte
- Touche réglage
- Touche OK
- Touche ECO
- Touche Étaliennage (Calibration)
- Touche Minuterie désactivée (TIME OFF)
- Touche Moins
- Touche WEEK
- Touche Plus
- Touche Minuterie activée (TIME ON)
- Touche Température
- Touche Modifier (EDIT)
- Touche Annulation (Cancel)
- Touche ON/OFF
*Piles non incluses

Figure 6
Transport et rangement
- Nettoyez l'appareil avant de le ranger.
- Transportez l'appareil en position verticale.
- Rangez l'appareil à la verticale dans son emballage d'origine, dans un endroit frais, sec et sans poussière.
Assemblage

AVERTISSEMENT
Les sachets en plastique peuvent être dangereux. Pour éviter tout risque de suffocation, gardez ce sachet hors de portée de bébés et d'enfants.
L'appareil est emballe dans une boîte. Retirez tout le matériel d'emballage et vérifie que l'appareil n'est pas endommagé. N'utilise pas l'appareil s'il est endommagé. Dans ce cas,
contactez toujours votre fournisseur. Conservez l'emballage pour un rangement et un transport sûrs.
Montage

AVERTISSEMENT
Le mur ou plafond utilisé pour le montage doit être constitué d'un matériel ininflammable et doit pouvoir résister à une température minimale de 125^ .

PRUDENCE
Veiliez à utiliser des matériaux de fixation appropriés, en fonction de la surface. Les boulons d'ancrage fournis convennent pour un mur en briques. Ne bloquez jamais l'espace entre l'appareil et le mur ou le plafond.
Cet apparéil peut être monté de trois façon :
verticalment sur un mur;
- horizontalement sur un mur ;
auplafond.
Dans les trois cas, le panneau de commande doit et être visible et utilisable.
Montage mural
- Placez l'appareil sur un mur solide et ininflammable.
-
Placez l'appareil en respectant une distance minimale (figure 7) de :
-
30 cm des murs latéraux :
- 30 cm du plafond :
20 cm du sol. - Prévoyez 50 cm de dégagement sur la face avant
- Ne montez pas l'appareil immédiatement audressus, à proximé ou en dessous d'une prise de courant.

Figure 7
Placement vertical
- Placez le support contre le mur, avec les ouvertures du support orientées vers le haut, et marquez les huit trous (figure 8).
- Percez huit trough de 10 mm aux endroits marqués.
- Placez les boulons d'ancrage (figure 8, pos. 3).
- Serrez le support mural (figure 8, pos. 1) au mur avec les huit écrous (figure 8, pos. 2).

Figure 8

Figure 9
- Placez les supports de I'appareil (figure 9, pos. 3) sur le support mural (figure 9, pos. 1).
- Glissez l'appareil (figure 9, pos. 2) dans les ouvertures du support mural (figure 9, pos. 1).
- Assurez-vous que le panneau de contrôle est situé en bas de l'appareil.
- Pour-retirer l'appareil, soulevez-le et faites-le glisser dans la direction opposée.
Placement horizontal
- Placez le support contre le mur, avec les ouvertures du support orientées vers le haut, et marquez les huit trous (figure 10).
- Percez huit trough de 10 mm aux endroits marqués.
- Placez les boulons d'ancrage (figure 10, pos. 3).
- Serrez le support mural (figure 10, pos. 1) au mur avec les huit écrous (figure 10, pos. 2).

Figure 10

Figure 11
- Placez les supports de l'appareil (figure 11, pos. 3) sur le support mural (figure 11, pos. 1).
- Glissez l'appareil (figure 11, pos. 2) dans les ouvertures du support mural (figure 11, pos. 1).
- Assurez-vous que le panneau de contrôle est situé en haut de l'appareil.
- Pour-retirer l'appareil, soulevez-le et faites-le glisser dans la direction opposée.
Montage au plafond

PRUDENCE
En cas de montage au plafond, il est fortement recommendé d'utiliser le thermostat Wi-Fi pour un contrôle optimal de la température.

PRUDENCE
Lorsque l'appareil est monté au plafond, il est absolument nécessaire d'étalonner le panneau de l'appareil. Voir le chapitre « Étalonnage de la température » pour des explications sur la fonction d'étalonnage.
- Placez l'appareil sur un mur solide et ininflammable.
- Placez l'appareil en respectant une distance minimale (figure 12) de :
- 30 cm des murs latéraux :
185 cm du sol. - Ne montez pas l'appareil immédiatement audressus, à proximé ou en dessous d'une prise de courant.

Figure 12
- Placez le support contre le plafond et marquez les huit trous (figure 13).
- Percez huit trough de 10mm aux endroits marqués.
- Placez les boulons d'ancrage (figure 13, pos. 3).
- Serrez le support (figure 13, pos. 1) contre le plafond avec les huit écrous (figure 13, pos. 2).

Figure 13

Figure 14
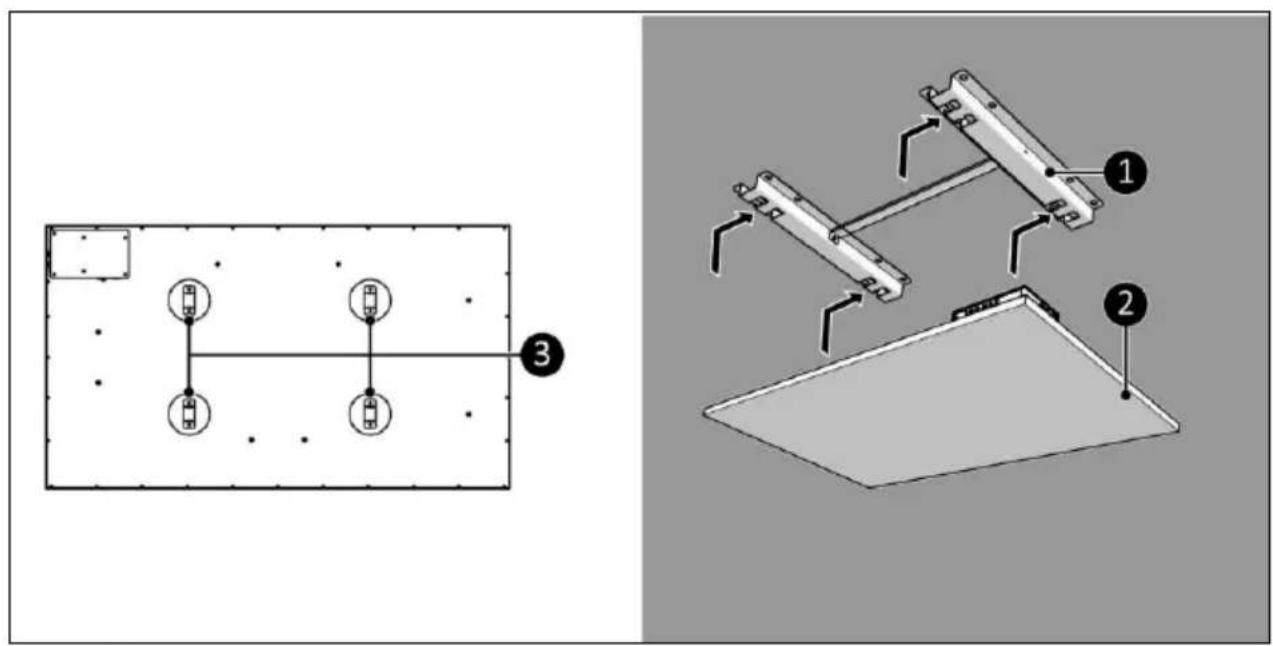
- Placez les supports de l'appareil (figure 14, pos. 3) sur le support au plafond figure 14, pos. 1).
- Glissez l'appareil (figure 14, pos. 2) dans les ouvertures du support au plafond (figure 14, pos. 1).
- Assurez-vous que l'appareil est correctement fixé au support au plafond.
- Pour-retirer l'appareil, soulevez-le et faites-le glisser dans la direction opposée.
Capeur de températe

PRUDENCE
Utilisez le capteur de température externe pour une mesure précise de la température.
- Assurez-vous que le commutateur ON/OFF est en position OFF (figure 15, pos. 2).
- Branchez le connecteur du capteur de température (figure 15, pos. 1) sur la prise du capteur.
- Placez le capteur de température à environ 2 metres de l'appareil.

Figure 15
Installation

AVERTISSEMENT
N'insérez pas la fiche d'alimentation dans la prise murale avant d'avoir correctement monté l'appareil.
N'utilisez pas de rallonge (risque de surchauffe et d'incendie). Si l'utilisation d'une rallonge est inévitable, assurez-vous qu'elle n'est pas endommagée et qu'elle est mise à la terre. Utilisez une rallonge d'une puissance minimale de 1000 watts. Déroulez toujours entièrement la rallonge pour éviter toute surchauffe.

PRUDENCE
Assurez-vous que la tension secteur est la même que celle indiquée sur l'étiquette d'identification de l'appareil. Toutes les connexions électriques doivent rester au sec en toute circstante.
- Assurez-vous que l'appareil est correctement monté.
- Assurez-vous que le commutateur ON/OFF est en position OFF (figure 16, pos. 2).
- Insérez la fiche d'alimentation (figure 16, pos. 1) dans une prise murale reliée à la terre et facilement accessible. Utilisez une prise murale mise à la terre d'une puissance minimale de 1000 watts.
- Veillez bien à que le cable d'alimentation n'entre pas en contact avec l'appareil.

Figure 16
Télécommande
- Retirez le couvercle (figure 17, pos. 1).
- Enlevez les piles (si presents).
- Insérez deux piles (AAA 1,5V) (figure 17, pos. 2) comme indiquédans le compartment à piles. Veillez à insérer les piles correctement.
- Remettez le couvercle.

Figure 17
Utilisation

AVERTISSEMENT
Avant chaque utilisation, assurez-vous que :
- vous utiliser l'apparéil avec les mains sèches;
- l'appareil est propre et sec;
- l'appareil n'est pas endommagé ;
- l'appareil n'est pas couvert ou bloqué;
- l'appareil est solidement fixé au mur ou au plafond.

PRUDENCE
Lorsque l'appareil est allumé ou étèint, il peut émettre des sons. Cessons sont causés par le matériel qui se dilate pendant le chauffage et se rétracte pendant le refroidissement.

PRUDENCE
Les réglages par défaut du jour et de l'heure sont automatiquement rétablis quand l'appareil est étant avec le commutateur ON/OFF ou par retrait de la fiche d'alimentation. La minuterie hebdomadaire réglée avec la télécommande est automatiquement mise sur OFF.
- Mettez le commutateur ON/OFF en position ON (figure 18, pos. 3).
- Appuyez sur la touche ON/OFF du panneau de commande (figure 18, pos. 2) ou de la télécommande.
- L'écran (figure 18, pos. 1) affiche d'abord la température régée pendant 3 secondes, puis la température ambiente.

Figure 18
Commande de l'appareil
Réglage de la température
- Appuyez sur la touche plus ou moins pour régler la température souhaïée (de 0 °C à 45 °C).
- L'appareil commence à chauffer lorsque la température régée est supérieure à la température ambiente et arrêté le chauffage lorsque la température ambiente atteint la température régée. Le témoin Chauffage apparait et disparait en conséquence.
- L'écran affiche la températe ambiente.
Réglage de la date et de l'heure
- Assurez-vous que le témoin Chauffage n'est pas visible. L'appareil ne doit pas chauffer.
- Appuyez sur la touche Mode, HH apparait à l'écran.
- Appuyez sur la touche Plus ou Moins pour selectionner le jour actuel, de 1 (lundi) à 7 (dimanche).
- Appuyez sur la touche Mode, H1 apparait à l'écran.
- Appuyez sur la touche Plus ou Moins pour selectionner l'heure actuelle, de 1 à 23.
- Appuyez sur la touche Mode, H2 apparait à l'écran.
- Appuyez sur la touche Plus ou Moins pour selectionner la minute actuelle, de 1 à 59.
- Appuyez sur la touche Mode, la température ambiente apparait à l'écran, le jour et l'heure sont régles.
Vérification de la date et de l'heure
- Assurez-vous que le témoin Chauffage est visible. L'appareil doitCHAuffer.
-
Appuyez brièvement et de manière répétée sur la touche Mode pour vérifier :
-
la date-HH;
- l'heure - H1;
les minutes-H2.
Télécommande
Dirigez la télécommande vers l'écran pour faire fonctionner l'appareil à l'aide de la télécommande.
Réglage de la température
- Appuyez sur la touche Plus ou Moins pour régler la température souhaitée (de 0^ à 45^ ).
- L'appareil commence à chauffer lorsque la température régée est supérieure à la température ambiente et arrêté le chauffage lorsque la température ambiente atteint la température régée. Le témoin Chauffage apparait et disparait en conséquence.
- L'écran affiche la température ambiente.
Réglage de la date et de l'heure
- Assurez-vous que le témoin Chauffage n'est pas visible. L'appareil doit être allumé (ON), mais ne doit pas chauffer.
- Appuyez sur la touche SET et maintenez-la enfoncée jusqu'à ce que HH apparaisse à l'écran.
- Appuyez sur la touche Plus ou Moins pour selectionner le jour actuel, de 1 (lundi) à 7 (dimanche).
- Appuyez sur la touche SET, H1 apparait à l'écran.
- Appuyez sur la touche Plus ou Moins pour selectionner l'heure actuelle, de 1 à 23.
- Appuyez sur la touche SET, H2 apparait à l'écran.
- Appuyez sur la touche Plus ou Moins pour selectionner la minute actuelle, de 1 à 59.
- Appuyez sur la touche SET, la température ambiente apparait à l'écran, le jour et l'heure sont régles.
Vérification de la date et de l'heure
- Assurez-vous que le témoin Chauffage est visible. L'appareil doitCHAuffer.
- Appuyez brievement et de maniere repétée sur la touche SET pour vérifier :
- la date - HH ;
- l'heure - H1 ;
les minutes-H2.
Mode fenêtre ouverte
- Appuyez sur la touche de détction fenêtre ouverte pour activer le mode. Le témoin Fenêtre ouverte apparait à l'écran.
- Si la température ambiente diminue de 8^ ou plus en l'espace de 15 minutes, l'appareil passse en mode veille et le témoin Fenêtre ouverte clignote à l'écran.
- Appuyez sur la touche de détction fênétre ouverte pour désactiver le mode.
Mode ECO
La télécommande a une touche ECO pour un mode économique en énergie; l'appareil maintain la température ambiente à 16^ .
- Appuyez sur la touche ECO pour l'activer; EC apparait à l'écran.
- Appuyez sur la touche ECO pour le désactiver.
Si le chauffage fonctionne en mode ECO et qu'un réglage de minuterie devient actif, l'appareil commencerà à fonctionner selon le réglage de la minuterie. Lorsque le réglage de la minuterie se termine et que l'appareil s'éteint, l'appareil ne revient pas en mode ECO.
Réglage de la minuterie hebdomadaire
La minuterie hebdomadaire peut être réglée avec la télécommande, mais la procédure est plus facile avec l'application Eurom Smart (si aucune touche n'est activée pendant 10 secondes en mode de réglage de minuterie hebdomadaire, la minuterie se réinitialise et la procédure doit être reprise depuis le début). Veillez à ne pas créé des réglages de minuterie contradictoires.
- Appuyez sur la touche Semaine (WEEK) et maintenez-la enfoncée jusqu'à ce que UU apparaisse et clignote à l'écran.
- Appuyez sur la touche SET; ON/OFF clignote à l'écran.
- Appuyez sur la touche Plus ou Moins pour selectionner :
ON-Minuterie activée;
OFF-Minuterie désactivée.
4. Appuyez sur la touche OK; UU apparait à l'écran.
5. Appuyez sur la touche SET.
6. Appuyez sur la touche Plus ou Moins pour selectionner :
- 01 - tous les réglages de minuterie sont exécutés une seule fois. Ceci ne peut être planifié que pour la période en cours (U1 à U7). Le dimanche (U7) juste après 23h59, tous les réglages de minuterie 01 sont supprimés;
99 - tous les réglages de la minuterie sont exécutés sans limite. - Appuyez sur la touche OK; UU apparait à l'écran.
- Appuyez sur la touche SET; U1 apparait à l'écran.
-
Appuyez sur la touche Plus ou Moins pour selectionner le jour actuel, de U1 (lundi) à U7 (dimanche).
-
Appuyez sur la touche OK; le jour sélectionné apparait à l'écran.
- Appuyez sur la touche Modifier (EDIT); 01 apparait à l'écran.
- Appuyez sur la touche Plus ou Moins pour selectionner un numero pour cette minuterie, de 1 à 4 : Quatre correspond au nombre maximum de réglages de minuterie par jour. Si une nouvelle minuterie est définie avec le même numero, l'ancienne minuterie sera replacée.
- Appuyez sur la touche OK; le numéro sélectionné apparait à l'écran.
- Appuyez sur la touche Température; HP apparait à l'écran.
- Appuyez sur la touche Plus ou Moins pour selectionner la tempereure souhaitee (de 0^ a 37^)
- Appuyez sur la touche OK; la température sélectionnée apparaît à l'écran.
- Appuyez sur la touche Minuterie activée (TIME ON); HE apparait à l'écran.
- Appuyez sur la touche Plus ou Moins pour selectionner l'heure initiale souhaitation, de 00h00 à 23h00 en heures entières.
- Appuyez sur la touche OK; l'heure initiale selectionnée apparait à l'écran.
- Appuyez sur la touche Minuterie désactivée (TIME OFF); HF apparait à l'écran.
- Appuyez sur la touche Plus ou Moins pour selectionner l'heure initiale souhaitation, de 00h00 à 23h00 en heures entières.
- Appuyez sur la touche OK; l'heure finale sélectionnée apparait à l'écran.
- Répétez l'opération à votre guise.
Suppression de tous les réglages de minuterie hebdomadaire
- Appuyez sur la touche Semaine (WEEK) et maintenez-la enfoncée jusqu'à ce que UU apparaisse et clignote à l'écran.
- Appuyez sur la touche Annulation (Cancel) pour annuler tous les réglages de minutesie.
Suppression de tous les réglages de minuterie hebdomadaire pour un jour spécifique
- Appuyez sur la touche Semaine (WEEK) et maintenez-la enfoncée jusqu'à ce que UU apparaisse et clignote à l'écran.
- Appuyez sur la touche SET; ON/OFF apparait à l'écran.
- Appuyez sur la touche SET; 01/99 apparait à l'écran.
- Appuyez sur la touche SET; U1 apparait à l'écran.
- Appuyez sur la touche Plus ou Moins pour selectionner le jour souhaite, de 1 (lundi) à 7 (dimanche).
- Appuyez sur la touche Annulation (Cancel) pour supprimer tous les réglages de minuteserie pour le jour sélectionné.
Suppression d'un réglage de minuterie spécifique
- Appuyez sur la touche Semaine (WEEK) et maintenez-la enfoncée jusqu'à ce que UU apparaisse et clignote à l'écran.
- Appuyez sur la touche SET; ON/OFF apparait à l'écran.
- Appuyez sur la touche SET; 01/99 apparait à l'écran.
- Appuyez sur la touche SET; U1 apparait à l'écran.
- Appuyez sur la touche Plus ou Moins pour selectionner le jour souhaite, de 1 (lundi) à 7 (dimanche).
-
Appuyez sur la touche Modifier (EDIT).
-
Appuyez sur la touche Plus ou Moins pour selectionner le réglage de minuterie souhaité, de 1 à 4 :
- Appuyez sur la touche Annulation (Cancel) pour supprimer tous les réglages de minuterie sélectionnés.
Vérification des réglages de minuterie
- Assurez-vous que le témoin Chauffage est visible. L'appareil doitCHAuffer.
-
Appuyez brievement et de maniere repétée sur la touche Semaine (WEEK) pour vérifier :
-
minuterie activée ou minuterie désactivée;
- une seule fois (01) ou sans fin (99);
U1-U7, jour de la semaine; - numéro de réglage de minutes du jour concerné (1, 2, 3 ou 4);
- température régée;
- heures initiale en heures;
- heures finale en heures;
- cette procédure se repête pour le réglage de minuterie suivant.
Les 28 réglages de minuterie sont affichés, y compris les réglages de minuterie qui n'ont pas été configurés. La température pour les réglages de minuterie qui ne sont pas configurés est de 20^ .
Application Eurom Smart

PRUDENCE
Les réglages de minuterie effectués avec la télécommande ne sont pas visibles dans l'application Eurom Smart et les réglages de minuterie effectués avec l'application ne sont pas visibles sur l'appareil. Dès que l'application Eurom Smart est utilisée, la télécommande ne peut plus être utilisée pour effectuer de nouveaux réglages de minuterie. L'application Eurom Smart met automatiquement l'heure à jour.
L'appareil peut etre utilise a l'aide d'une application sur un smartphone ou une tablette.
L'application Eurom Smart peut être utilisé :
- pour allumer ou êtreindre l'appareil (sans anticipation);
- pour régler la température;
- pour activer le mode ECO.
L'application peut également être utilisée pour activer et désactiver chaque jour des réglages de minuterie dans la minuterie hebdomadaire.
- Ouvrez le manuel de l'application Eurom Smart avec le code QR (figure 19) ou allez sur www.eurom.nl/nl/manuals.
- Complétez le manuel de l'application Eurom Smart.
- Lorsque l'appareil est connecté au réseau Wi-Fi, le symbole Wi-Fi apparait à l'écran.
- Si le symbole Wi-Fi clignote, il n'y a pas de connexion.

Figure 19
Minuterie intelligente
-
Créez un programme avec des jours et des heures dans l'application Eurom Smart. Les paramètres de minuterie régés dans l'application :
-
sont enregistrés dans l'appareil;
ne sont pas visibles sur l'appareil ; - restent disponibles si le réseau Wi-Fi est déconnecté;
- restent disponibles si l'appareil est eteint ou débranché ;
-
peuvent uniquement etre retirés avec l'application.
-
Vérifiez régulierement les données dans l'application.
Mode AP
- Vérifiez que le témoin Chauffage n'est pas visible. L'appareil doit être allumé (ON), mais ne doit pas chauffer.
- Appuyez sur la touche Mode et maintenez-la enfoncée. Le symbole Wi-Fi clignote lentement et la connexion Wi-Fi est en mode AP.
Réinitialiser la connexion Wi-Fi
- Vérifiez que le témoin Chauffage n'est pas visible. L'appareil doit être allumé (ON), mais ne doit pas chauffer.
- Appuyez sur la touche Mode et maintenez-la enfoncée. Les connexions sont supprimées, le symbole Wi-Fi commence à clignoter et une nouvelle connexion est établie.
Activer et désactiver la connexion Wi-Fi
- Vérifiez que le témoin Chauffage n'est pas visible. L'appareil doit être allumé (ON), mais ne doit pas chauffer.
- Appuyez sur la touche ON/OFF et maintenez-la enfoncée pendant trois secondes pour basculer entre :
Wi-Fi activé - le témoin Wi-Fi clignote;
Wi-Fi désactifié - pas de tepoin Wi-Fi visible.
Prêt pour thermostat Wi-Fi (en option)
Cet apparéil peut être connecté avec le thermostat Wi-Fi disponible en option. La température est mesurée au niveau du thermostat Wi-Fi et non au niveau de l'appareil. Cette configuration assure un niveau de comfort optimisé. L' apparéilCHAFFE tant que la température régée avec le thermostat Wi-Fi n'est pas encore atteinte. Plusieurs apparéils peuvent être connectés à un seul thermostat Wi-Fi. Tous les apparéils connectés s'allument et s'éteignent simultanément.
Pour utiliser le thermostat Wi-Fi :
- Branchez le thermostat Wi-Fi sur une prise de courant.
- Télechargez l'application Eurom Smart sur un apparéil (mobile).
- Ouvrez l'application Eurom Smart.
- Ajoutez le thermostat Wi-Fi et d'autres appareils à l'application Eurom Smart.
- Allez sur le ou les apparéil(s) et appuyez sur la touche de jumelage pour jumeler le(s) apparéil(s) au thermostat Wi-Fi.
L'appareil est relié au thermostat Wi-Fi. Le signe G s'allume dans l'application Eurom Smart et sur l'appareil. Profitez dorénavant du niveau de comfort optimisé d'un chauffage électrique permanent.
Étalandage de température (en option)

PRUDENCE
Lorsque l'appareil est monté au plafond, le capteur de température interne (figure 3, pos. 4) ne mesure pas correctement la température de la pièce (en raison de la montée de l'air chaud). Il est donc impératif d'étalonner l'appareil lorsqu'il est monté au plafond.
Étalonnage de l'appareil
- Reglez la température souhaitée sur 45^ (température maximale).
- Laissez l'appareil chauffer sans interruption pendant 120 minutes.
- Placez un thermomètre d'ambiance numérique (non inclus) à un endroit central où la température souhaïée doit être atteinte; il est recommendé de placer celui-ci à 150 cm du sol.
- ÀpRES 120 minutes, calculez la différence entre le thermomètre d'ambiance et la température affichée à l'écran de l'appareil (appuyez sur une touche quelconque pour réactiver l'écran). Par exemple : si l'écran affiche 36^ et le thermomètre 20^, le nombre d'étalonnage sera 16.
- Appuyez sur la touche Étalandnage (Calibration) de la télécommande; le numéro sélectionné apparait à l'écran.
- Appuyez sur la touche Plus ou Moins pour selectionner le numero d'etalonnage, de 00 à 25. Dans notre exemple, ce numero est 16.
-
Appuyez sur la touche OK; le numero d'étalonnage est maintainant configuré. La mesure de la température sur le chauffage est maintainant corrigée avec la valeur d'étalonnage réglée.
-
Placez le commutateur ON/OFF sur la position OFF (figure 11, pos. 2) pour activer le processus d'étalonnage. Lorsque la valeur d'étalonnage est modifiée, l'appareil doit être éteint puis rallumé pour activer la nouvelle valeur d'étalonnage.
Mode étalonnage
- Chaque fois que l'appareil est allumé et commence àCHAuffer, le processus d'étalonnage est lancé. L'écran de l'appareil indique CL et l'application Eurom Smart indique Étalonnage (Calibration) en cours. La procédure d'étalonnage utilise le numero d'étalonnage pour ajuster progressivement la température mesurée à la température ambiente étalonnée. Ceci peut prendre jusqu'à 90 minutes. L'application Eurom Smart affiche la progression du processus d'étalonnage.
Une fois l'étalonnage terminé, l'écran et l'application Eurom Smart affichent la température ambiente étalonnée. Lorsque la valeur d'étalonnage est correctement mesurée, la température ambiente étalonnée est approximativement la même que la température ambiente réelle.
Lorsque l'appareil cesse de chauffer, a procEDURE d'étalonnage commence dans le sens inverse (étalonnage de refroidissement). L'écran de l'appareil indique CL et l'application Eurom Smart indique Étalonnage (Calibration) en cours. L'étalonnage de refroidissement peut prendre jusqu'à 150 minutes.
- N'éteignez pas le chauffage pendant le processus d'étalonnage. Une interruption du processus d'étalonnage entraine une différence temporaire entre la température ambiente étalonnée et la température ambiente réelle. Dans ce cas, le chauffage ne chauffera pas jusqu'à la température régée. Si la procédure d'étalonnage est annulée par inadvertance, la différence se résorbera d'elle-même au fil du temps.
Dans le cas d'un montage au plafond, il est recommandé d'utiliser le thermostat Eurom Wi-Fi (365764 & 365771 (fiche suisse) ou 365788 (version USB-C)) pour une maitrise optimale de la température. Le thermostat Wi-Fi mesure la température de la piece et communique les informations par Wi-Fi à l'appareil.
Aprèsutilisation

PRUDENCE
N'utilisez pas le cordon d'alimentation pour débrancher ou porter l'appareil. N'enroulez pas trop fermement le cordon d'alimentation et ne le disposez pas le long de bords tranchants. N'enroulez pas le cordon d'alimentation autour de l'appareil.
- Assurez-vous que le commutateur ON/OFF est en position OFF (figure 16, pos. 2).
- Retirez la fiche d'alimentation de la prise de courant (figure 16).
- Laissez l'appareil refroidir avant de le toucher.
- Enroulez le cordon d'alimentation.
- Retirez les piles de la télécommande (figure 17).
Entretien

AVERTISSEMENT
N'effectuez aucune réparation ou modification sur cet apparéil.
L'entretien et les réparations doivent être effectués par un professionnel autorisé par EUROM.
Nettoyage

AVERTISSEMENT
L'appareil devient très chaud. Assurez-vous que l'appareil est étéint, débranché et complètement refroidi.
PRUDENCE
N'utilizez pas :
- de tampon à récurer;
- de brosses dures;
- de produits de nettoyage inflammables, agressifs ou chimiques.
Évitez que de l'eau ne puisse pénétrer dans l'appareil. N'immergez aucune partie de l'appareil dans de l'eau ou d'autres liquides.
Il est recommandé de nettoyer l'appareil après chaque utilisation et avant de le ranger.
- Essuyez l'appareil avec un chiffon humide, propre, doux et non pelucheux ou une Brosse douce.
- Laissez l'appareil secher complètement avant de l'utiliser ou de le ranger.
Élimination

Ce marquage indique que ce produit ne doit pas etre elimine avec les autres déchets menagers dans l'ensemble de I'UE. Dans le cadre de la prévention contre I'elimination incontrolée de déchets susceptibles de nuire à l'environnement ou à la santé humaine, recyclez les déchets de maniere responsable afin de promouvoir la réutilisation durable de ressources matérielles. Pour returner votre apparéil usage, veuillez utiliser les systèmes de retard et de collecte ou contacter le détaillant qui vous a vendu le produit. Ils peuvent prendre ce produit en charge pour le recycler dans le respect de I'environnement.
Pièces jointes
La déclaration CE se trouve à la fin de ce manuel.
| nformations requises pour les chauffages électriques locaux | |||||
| identifant(s) du modele : Mon Soleil 350 Wi-Fi | |||||
| Élement | Symbole | Valeur | Unité | Élement | Unité |
| Production calorifique | Type de production calorifique, uniquement pour chauffages électriques locaux à accumulation (sélectionnez un) | ||||
| Production calorificumominale | Pnom | 0,4 | kW | commande manuelle de charge thermique, avec thermostat intégré | Non |
| Production calorificumiminale (indicative) | Pmin | 0 | kW | commande manuelle de charge thermique avec feedback de température ambiente et/ou extérieure | Non |
| Production calorificumcontinue maximale | Pmax,c | 0,4 | kW | commande électronique de charge thermique avec feedback de température ambiente et/ou extérieure | Non |
| Consommation électric actuilaire | production calorifique assistée par ventilateur | Non | |||
| À production calorificumominale | elmax | 0,366 | kW | Type de commande de production calorifique/temperatureslantibante (sélectionnez un) | |
| À production calorificumiminale | elmin | 0 | kW | production calorifique à un seul palier et pas de commande de température ambiente | Non |
| En mode de veille | elSB | 0,228(Wi-Fi déactivé)0,774(Wi-Fi activé) | kW | Deux paliers manuels ou plus, pas de commande de température ambiente | Non |
| avec commande de température ambiente par thermostat mécanique | Non | ||||
| avec commande de température ambiente électronique | Non | ||||
| commande de température électronique plus minuteurie journalière | Non | ||||
| commande de température électronique plus minuteurie hebdomadaire | Oui | ||||
| Autres options de commande (plusieurs sélections possibles) | |||||
| contrôle de température ambiente avec détéction de présence | Non | ||||
| contrôle de température ambiente avec détéction de fenêtre ouverte | Non | ||||
| avec option de commande à distance | Oui | ||||
| avec commande de démarriage adaptative | Non | ||||
| avec limitation de durée de fonctionnement | Non | ||||
| avec capteur à ampoule noire | Non | ||||
| Coordonnées | Eurom - Kokosstraat 20, NL-8281 JC Genemuiden, Pays-Bas | ||||
| identifant(s) du modele : Mon Soleil 601 Wi-Fi | |||||
| Élement | Symbole | Valeur | Unité | Élement | Unité |
| Production calorifique | Type de production calorifique, uniquement pour chauffages électriques locaux à accumulation (sélectionnez un) | ||||
| Production calorificumominale | Pnom | 0,6 | kW | commande manuelle de charge thermique, avec thermostat intégré | Non |
| Production calorificumiminale (indicative) | Pmin | 0 | kW | commande manuelle de charge thermique avec feedback de température ambiente et/ou extérieure | Non |
| Production calorificumcontinue maximale | Pmax,c | 0,6 | kW | commande électronique de charge thermique avec feedback de température ambiente et/ou extérieure | Non |
| Consommation électric actuilaire | production calorifique assistée par ventilateur | Non | |||
| À production calorificumominale | elmax | 0,626 | kW | Type de commande de production calorificique/temperatures (sélectionnez un) | |
| À production calorificumiminale | elmin | 0 | kW | production calorificque à un seul palier et pas de commande de température ambiente | Non |
| En mode de veille | elSB | 0,228 (Wi-Fi déactivé) 0,774 (Wi-Fi activé) | kW | Deux paliers manuels ou plus, pas de commande de température ambiente | Non |
| avec commande de température ambiente par thermostat mécanique | Non | ||||
| avec commande de température ambiente électronique | Non | ||||
| commande de température électronique plus minuteurie journalière | Non | ||||
| commande de température électronique plus minuteurie hebdomadaire | Oui | ||||
| Autres options de commande (plusieurs sélections possibles) | |||||
| contrôle de température ambiente avec détéction de présence | Non | ||||
| contrôle de température ambiente avec détéction de fenêtre ouverte | Non | ||||
| avec option de commande à distance | Oui | ||||
| avec commande de démarriage adaptative | Non | ||||
| avec limitation de durée de fonctionnement | Non | ||||
| avec capteur à ampoule noire | Non | ||||
| Coordonnées | Eurom - Kokosstraat 20, NL-8281 JC Genemuiden, Pays-Bas | ||||
| identifant(s) du modele : Mon Soleil 720 Wi-Fi | |||||
| Élement | Symbole | Valeur | Unité | Élement | Unité |
| Production calorifique | Type de production calorifique, uniquement pour chauffages électriques locaux à accumulation (sélectionnez un) | ||||
| Production calorificumominale | Pnom | 0,7 | kW | commande manuelle de charge thermique, avec thermostat intégré | Non |
| Production calorificumiminale (indicative) | Pmin | 0 | kW | commande manuelle de charge thermique avec feedback de température ambiente et/ou extérieure | Non |
| Production calorificumcontinue maximale | Pmax,c | 0,7 | kW | commande électronique de charge thermique avec feedback de température ambiente et/ou extérieure | Non |
| Consommation électric actuilaire | production calorifique assistée par ventilateur | Non | |||
| À production calorificumominale | elmax | 0,703 | kW | Type de commande de production calorifique/température ambiente (sélectionnez un) | |
| À production calorificumiminale | elmin | 0 | kW | production calorifique à un seul palier et pas de commande de température ambiente | Non |
| En mode de veille | elSB | 0,228 (Wi-Fi désactivé)0,774 (Wi-Fi activé) | kW | Deux paliers manuels ou plus, pas de commande de température ambiente | Non |
| avec commande de température ambiente par thermostat mécanique | Non | ||||
| avec commande de température ambiente électronique | Non | ||||
| commande de température électronique plus minuteurie journalière | Non | ||||
| commande de température électronique plus minuteurie hebdomadaire | Oui | ||||
| Autres options de commande (plusieurs sélections possibles) | |||||
| contrôle de température ambiente avec détraction de présence | Non | ||||
| contrôle de température ambiente avec détraction de fenêtre ouverte | Non | ||||
| avec option de commande à distance | Oui | ||||
| avec commande de démarriage adaptative | Non | ||||
| avec limitation de durée de fonctionnement | Non | ||||
| avec capteur à ampoule noire | Non | ||||
| Coordonnées | Eurom - Kokosstraat 20, NL-8281 JC Genemuiden, Pays-Bas | ||||
Notice Facile