SDO10 - Interphone ME - Notice d'utilisation et mode d'emploi gratuit
Retrouvez gratuitement la notice de l'appareil SDO10 ME au format PDF.
| Caractéristiques techniques | Interphone m-e SDO10 avec communication audio bidirectionnelle, technologie sans fil, portée jusqu'à 100 mètres. |
|---|---|
| Utilisation | Idéal pour les maisons, bureaux et bâtiments commerciaux, permettant une communication facile entre l'intérieur et l'extérieur. |
| Maintenance et réparation | Vérifier régulièrement les piles et nettoyer les unités avec un chiffon doux. En cas de dysfonctionnement, consulter le manuel d'utilisation pour les étapes de dépannage. |
| Sécurité | Fonctionnalité de sécurité intégrée avec cryptage des communications pour éviter les interférences et les écoutes non autorisées. |
| Informations générales | Produit léger et compact, facile à installer. Comprend un guide d'utilisation et une garantie limitée. |
FOIRE AUX QUESTIONS - SDO10 ME
Questions des utilisateurs sur SDO10 ME
0 question sur cet appareil. Repondez a celles que vous connaissez ou posez la votre.
Poser une nouvelle question sur cet appareil
Téléchargez la notice de votre Interphone au format PDF gratuitement ! Retrouvez votre notice SDO10 - ME et reprennez votre appareil électronique en main. Sur cette page sont publiés tous les documents nécessaires à l'utilisation de votre appareil SDO10 de la marque ME.
MODE D'EMPLOI SDO10 ME
SDO-10 Montage et mise en service

Merci beaucoup pour l'achat du module de sécurité d'ouverture de porte SDO-10. Ce dernier est adapté pour le raccord sur les systèmes d'interphone de porte VISTADOOR et VISTUS et permet de commander un système d'ouverture de porte. Le SDO-10 peut également ouvoir un système d'ouverture de porte automatiquement quelques secondes après la sonnerie. Ceci s'avere pratique, par ex., dans les cabinets médicaux.
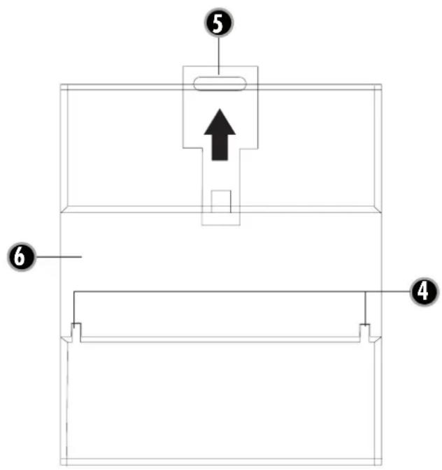
Legende
- SD0-10
- Terminal de raccordement à l'interphone
- Terminal de raccordement au système d'ouverture de porte
- Nez pour profilé-support
- Clip de fixation (ressort)
- Ouverture pour profilé-support
- Commutateur pour code ID
- Commutateur pour le périé d'ouverture
- LED Power

ATTENTION
Ne pas exposer cet apparemil de haute temperatures, une humidite elevated ou a d'importantes quantités de poussière.
Ne pas soumettre cet appeareil a des chocs violents.
Ne pas utiliser cet apparéel à l'extérieur.
Cet appeareil doit etre installe par un specialiste.
Cet appeareil peut etre enclenchedesur des rails profilénormalisés DIN EN 50022-35x15et DIN EN 50022-35x7,5.Pour l'enclencher, accrocher l'appareil avec les nez (4) dans le rail-support et appuyer jusqu'à ce que le ressort (5)s'enclenche.Si I'enclenchement est difficile, desserrer légerement le ressort (5) avec un tournweis dans le sens de la flèche. Pour détacher le SDO-10 du rail profile, appuyer le ressort avec un tournweis dans le sens de la flèche puis retarder the SD0-10.
Raccordement
Raccorder les 4 pôles du terminal de raccordement (2) conformément aux pôles avec les quatre cables de signalisation de l'interphone de porte. +15 V avec +15 V, GND avec GND, audio avec audio et video avec video (pour les interphones sans video, la borne video du SDO-10 reste inoccupée).
Raccorder le système d'ouverture de porte aux deux bornes du terminal de raccordement (3). Pour le cas où la polarité de votre système d'ouverture de porte doit être correcte, les deux bornes comportent les marquages « + » et « - »

Régler le code ID
Remarque:L'installation doitetre mise hors tension pour modifier le code ID.

Le SD0-10 doit avoir le même code ID que la station extérieure correspondante. Toutes les stations extérieures ainsi que le SD0-10 sont reglés sur ID 1 à l'usine et aucune réglage supplémentaire n'est indispensable. Si vous avez monté plusieurs stations extérieures, le code ID du SD0-10 doit concorder au code de la station extérieure sur lequel le système d'ouverture de porte se fouve.
Le code se regle comme suit avec les deux commutateurs (7) :
Commutateur 1 ON et commutateur 2 ON = code ID 1
Commutateur 1 ON et commutateur 2 OFF = code ID 2
Commutateur 1 OFF et commutateur 2 ON = code ID 3
Commutateur 1 OFF et commutateur 2 OFF = code ID 4
i Regler delalidouverture de la porte
Remarque: L'installation doit être mise hors tension
pour modifier le retard de commutation.
Le déali d'activation du système d'ouverture de la porte se règle avec les deux commutateurs (8). Les possibilités de selection suivantes sont disponibles:
Commutateur 1 ON et commutateur 2 ON = 1 seconde
Commutateur 1 ON et commutateur 2 OFF = 2 secondes
Commutateur 1 OFF et commutateur 2 ON = 5 secondes
Commutateur 1 OFF et commutateur 2 OFF = 7 secondes
A Demarrer I'ouverture automatique de la porte
Remarque : L'installation doit être mise hors tension pour démarrer
I'ouverture automatique de la porte.
Placer le commutateur à l'intérieur de l'appareil sur ON pour activer le système d'ouverture de porte sans appuyer sur le bouton. Ceci s'avere pratique, par ex., dans les cabinets medicaux.
Pour libérer le commutateur, ouvrir le boîtier du SD0-10. Enconcer avec précaution les deux nez sur un côté du boîtier puis soulevez le couverde du SD0-10 vers le haut.
Placer le commutateur sur ON puis replacer le couvercle du bottier.
i REMARQUE : lorsque cette fonction est activee, le systeme
d'ouverture de porte s'active automatiquement après la sonnerie. Le délambda entre la sonnerie et l'ouverture automatique est d'en. 4 secondes et n'est pas modifiable.
Première mise en service
Le SDO-10 est opérationnel immédiatement après la connexion à la tension d'alimentation de l'interphone.

Dépannage
Problème :
Le LED Power (10) ne s'allume pas après la connexion à la tension d'alimentation.
Analyse :
Avec un voltmetre, contréder si la tension de service est disponible entre les bornes +15 V et GND.
Tension indisponible: erreur de cablage, vérifier si tous les cables sont raccordés correctement.
Tension disponible: appareil defectueux, contacter notre service clientèle.
Problème :
Le système d'ouverture de porte ne s'active pas.
Analyse :
Avec un voltmetre, sans systeme d'ouverture de portetaccorde, verifier si une tension de 12 Volt DC est disponible sur les bornes pour le systeme d'ouverture de portelerosque linterphone est activé et la touche d'ouverture enfoncée sur la station interieure:
Tension disponible: changer eventuellement la polarisation du système d'ouverture de porte. Refermer le système d'ouverture de porte et échanger les deux cables de raccordement.
Tension indisponible: vérifier les codes ID de la station extérieure et du SDO-10. Les deux codes ID doivent être identiques.
CONSIGNES
L'influence de forts chants statiques, électriques ou haute fréquence (décharges, téléphones mobiles, installations radio, portables, micro-ondes) peut entraîner des dysfonctionnements des apparèils (de l'appareil).
Nettoyage et entretien
Débrancheur du secteur les appareils alimentés sur secteur avant le nettoyage (retirer la fiche). La surface du boitier peut être nettoyée à l'aide d'un chiffon humidifié avec une lotion savonneuse. Ne pas utiliser de produits abrasifs ou chimiques. Ne retiret la poussière accumulée sur les lattes des grilles d'ération qu'avant un pinceau ou aspirer avec un aspirateur. Ne pas tener l'embout aspirant juste sur l'appareil.

CONSIGNES DE SECURITE
Tout dommage resultant d'un non-respect des générées instructions a pour effet d'annuler la garantie! Nous déclinons toute responsabilité pour les dommages consécutifs!
De même, le constructeur n'assume aucune responsabilité en cas de dommage matériels ou corporels résultats d'une'utilisation de l'apparil non conforme aux specifications ou d'un non-respect des générées instructions. De tels cas ont pour effet d'annuler la garantie!
Pour des raisons de sécurité et d'homologation, toute transformation ou modification arbitraire du produit est interdite.

Ne démonze jamais le produit! Ceci pourrait provoquer un choc électrique mortel!
Ne laissiez pas trainer le matériel d'emballage. Les feuilles ou poches plastiques, les éléments polystyrene, etc. peuvent se transformer en jouets dangereux pour les enfants.
L'usage doit s'effectuer dans des millieux secs uniquement (evitez tout usage dans espaces humides comme la salle de bain par exemple). Evitez tout contact du dispositif avec l'humiètie ou avec l'eau Ceci pourrait provoquer un chic électrique mortel !
Dans les installations industrielles, il convient d'observer les consignes de prévention d'accidents relatives aux installations et moyens
d'exploitation,édictees par les syndicals professionnels. En cas de doute concernant le raccordement, le fonctionnement ou la sécurité de l'appareil, veillez contacter un spécialiste.
Ce produit doit être manipulé avec précaution. Les coups, les chocs ou une chute, même d'une faible hauteur, peuvent l'endommager.
GARANTIE LIMITEE A 2 ANS
Il est garanti pendant 2 ans à partir de la date d'achat que ce produit ne présente aucune défaut ou niveau du matériel et du modele. Cette garantie est uniquement valide lorsque l'appareil est utilisé de manière conforme, et entretenu regulierement. La presente garantie se limite à la réparation ou au réassemblage d'une piece quelconque de l'appareil dans la mesure où aucune modification ou réparations non autorises n ont été effectées. Vos droits légaux en tant que client ne sont enaucun cas influencés par cette garantie.

Veuillage notes que toute réclamation dans le cadre de la garantie est exclue dans les cas suivants, entre autres :
Erreur de commande
- Piles vides ou accus défectueux
Codage errone ou selection incorrekte des canaux
- Perturbations due à d'autres appareils radio (par ex. utilisation d'un téléphone portable)
- Interventions/influences extérieures
Dégats mécaniques
Dégats provoqués par l'humidité
Aucune preuve de garantie (bon d'achat)
La garantie s'annule en cas de non-observation du present mode d'emploi. Nous déclinons toute responsabilité pour tout dommage indirect! Nous déclinons également toute responsabilité en cas de dommages survenus sur l'appareil ou des personnes suite à une manipulation non-conformé ou la non-observation des consignes de sécurité. La garantie s'annule automatiquement dans ces cas-la!
i Responsabilité limitee:
Le fabricant décline toute responsabilité en cas de perte ou de dommagesquelconques,ycomprises les dommages consécutifs ou accessoires qui résultat directement ou indirectement de la défaillance de ce produit.
F
Cette notice est une publication de la société m-e GmbH modern-electronics, An den Kolonaten 37, 26160 Bad Zwischenahn/Allemagne.
Cette notice est conforme à la règlementation en vigueur lors de l'impression. Sous réserve de modifications techniques et déquipement.
A
Abb. A
DIAGRAM A
ILLUSTRATION A
AFBEELING A

B
Abb. B
DIAGRAM B
ILLUSTRATION B
AFBEELING B

SDO-10 Montage en inbedriftstelling

Notice Facile