SDO10 - Intercom ME - Gratis gebruiksaanwijzing en handleiding
Vind de handleiding van het apparaat gratis SDO10 ME in PDF-formaat.
| Technische kenmerken | m-e SDO10 intercom met bidirectionele audio-communicatie, draadloze technologie, bereik tot 100 meter. |
|---|---|
| Gebruik | Ideaal voor huizen, kantoren en commerciële gebouwen, waardoor gemakkelijke communicatie tussen binnen en buiten mogelijk is. |
| Onderhoud en reparatie | Controleer regelmatig de batterijen en maak de units schoon met een zachte doek. Raadpleeg bij een storing de gebruikershandleiding voor de stappen voor probleemoplossing. |
| Veiligheid | Ingebouwde beveiligingsfunctie met versleuteling van communicatie om interferentie en ongeoorloofd afluisteren te voorkomen. |
| Algemene informatie | Licht en compact product, gemakkelijk te installeren. Inclusief een gebruikershandleiding en beperkte garantie. |
Veelgestelde vragen - SDO10 ME
Gebruikersvragen over SDO10 ME
0 vraag over dit apparaat. Beantwoord die u kent of stel uw eigen vraag.
Stel een nieuwe vraag over dit apparaat
Download de handleiding voor uw Intercom in PDF-formaat gratis! Vind uw handleiding SDO10 - ME en neem uw elektronisch apparaat weer in handen. Op deze pagina staan alle documenten die nodig zijn voor het gebruik van uw apparaat. SDO10 van het merk ME.
GEBRUIKSAANWIJZING SDO10 ME
Bedankt voor de aankoop van de veiligheidsdeuropener-module SDO-10. Deze is geschikt voor aansluiting op het deuiintercomsysteme VISTADOOR en VISTUS en maakt de besturing van een deuropener möglichk. De SDO-10 kan een aingesloten deuropener ook automatisch openen enkele seconden na het bellen. Dit is bijvoorbeeld handig in artsenpraktijken.
Legende
- SD0-10
- Aansluitingsferminalaar het deurintercomsysteem
- Aansluitingterminal maar de duopener
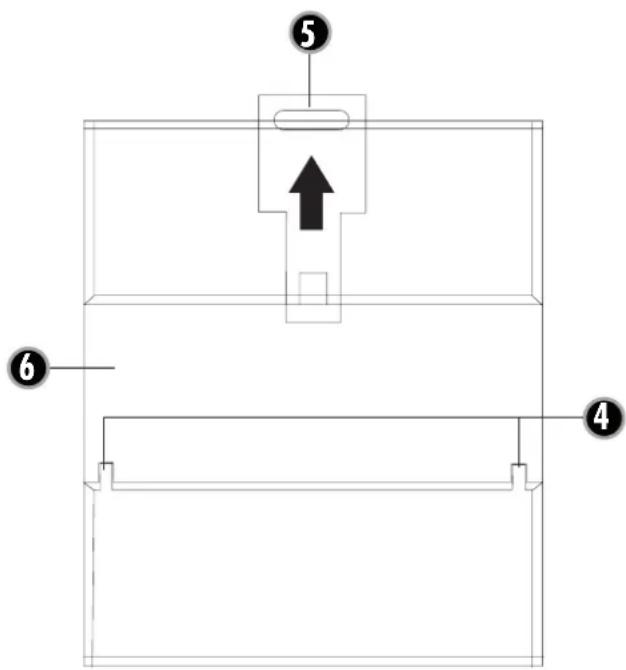
- Neus voor DIN-rail
- Bevestigingsclip (veer)
- UItsparing voor DIN-rail
- Schakelaar voor ID-code
- Schakelaar voor openingstijd
- Power-LED

OPGELET
Dit apparat niet blootstellen aan hoge temperaturen, hoge vochtigheid of extreem veel stof.
Dit apparaat Niet bloatstellen aan haarde slagen.
Dit apparaat Niet buiten gebruiken.
Dit apparat moet vakkundig geinstolleerd worden.
Technische gegevens
Ingang: 15 Volt DC, ruststroom ca. 6mA (ca. 0,9 Watt)
Uitgang: 12 Volt DC, max. 1 A
Dit apparaat kan bevestigd worden met de standardprofielen DIN EN 50022-35x15 en DIN EN 50022-35x7,5. Voor het bevestigen van het apparaat hangt u het met de neus (4) in de DIN-rail en duwt u tot de veer (5) erin klikt. Als het bevestigen te moeilijk is, draai dan de veer (5) met een schroevendraajer wat los in de richting van de pijl. Om de SDO-10 los te makeuit de rael duwt u deveer met een schroevendraajer in de richting van de pijl en neemt u de SDO-10 eruit.
Aansluting
Verbind de 4 polen van de aansluitingterminal (2) op de juiste wijze met de vier signalleidingen van het deurintercomsysteme. +15V met +15V, GND met GND, audio met audio en video met video (bij deurintercomsystemen zonder video worden de videoklem op de SDO-10 wij gelaten).
Verbind de deuropener met de beide klemmen van de aansluitingster-minal (3). Indien de polen van uw deuropener juist moeten zitten, zich de beide klemmen gekenmerkt met _m^+^ en.

ID-code instellen
Tip: De installmente mag nicht onder spanning staon als de ID-code worden veronderd.

De SD0-10 moet bezelfde ID-code hebben als het overeenkomstige buitenstation. De fabrieksinstelling van alle buitenstations en ook van de SD0-10 is ID 1 zodate hier geen installing nodig is. Indien u meerdere buitenstations gemonteerd hebt, moet de ID-code van de SD0-10 overeenkomen met de ID-code van het buitenstation waar bij de deuropener zich bevindt.
Met de beide schakelaars (7) worden de ID-code als volgt ingesteld:
Schakelaar 1 ON en schakelaar 2 ON = ID-code 1
Schakelaar 1 ON en schakelaar 2 OFF = ID-code 2
Schakelaar 1 OFF en schakelaar 2 ON = ID-code 3
Schakelaar 1 OFF en schakelaar 2 OFF = ID-code 4

Deuropeningstijd instellen
Tip: De installmente mag nicht onder spanning staan als de schakeltijd wordt veranderd.
Met de beide schakelaars (8) worden de tijd ingesteld waarna de deuopener geactiveerd moot worden. De volgende möglichkheden konnen gekozen worden:
Schakelaar 1 ON en schakelaar 2 ON = 1 seconde
Schakelaar 1 ON en schakelaar 2 OFF = 2 seconden
Schakelaar 1 OFF en schakelaar 2 ON = 5 seconden
Schakelaar 1 OFF en schakelaar 2 OFF = 7 seconden

Tip: De installmentie mag nicht onder spanning staan om de automatische opening aan te schakelen.
Om de deuropener te activeren zonder een toets te moeten aanruken, wordt de schakelaar binnen in het apparaat op ON geschakeld. Dit is bijvoorbeeld handig in artsenpraktielen.
Om de schakelaar vrij te make, moet de behuizing van de SDO-10 geopend worden. Druk hiervoorde andere neuzen aan de zijkant van de behuizing voorzichtig in en hef het deksel van de behuizing van de SDO-10 verrolgens maar boven.
Schakel de schakelaar op ON en planta het deksel van de behuizing terug.

TIP: Als deze functie geactiveerd is, worden de deuopener automatisch geactiveerd nadat er gebeld worden aan het buitenstation. De tijd:tussen het bellen en de automatische opening bedraagt ongeveer 4 seconden en kan nicht ingesteld worden.
Eerste inbedrifstelling
Na het aanschakelen van de stroomspanning van het deurintercomsystem is de SD0-10 onmiddelijk gebruiksklaar.

Probleemoplossing
Problem:
De power-LED (10) Licht Niet op na het inschakenen van de stroomspanning.
Analyse:
Controler met een voltmeter of er bedijfsspanning isussen de klemmen +15V en GND:
- er is geen spanning: Fout in de bekabeling, controllerer alle kabels of ze correct aangesloten zich.
- er is wel spanning: Apparaat is defect, neem contact op met once klantendienst.
Problem:
De deuropener worden nicht geacteveerd.
Analyse:
Controleer met een voltmeter zonder aingesloten deuropener of er op de klemmen van de deuropener 12 Volt DC zit als er bij een geactiveerd deurintercomsystemeem op de duropener-toets van het binnenstution worden gedrukt:
- er is wel spanning: Eventuele moeten de polen van de deuropener correct geplaatst worden. Sluit de deuropener opnieuw aan en verwissel waar bij de beiden aansluitingsleidingen.
- er is geen spanning: Controller de ID-code van het buitenstation en de SDO-10. Beide ID-codes要去en identiek zijn.
AANWIJZING
Onder invloed van sterke staatische, elektrische ofhoogfrequente velden (ontladingen, mobiele telefoons, radiozendinstallaties, GSM's, microgolen) kan de werkig van de toestellen (het toestel) nadelig worden beinvoed.
Reiniging en verzorging
Toestellen aangesloten op de elektricitieit, Voor het reinigen van het stroomnet loskoppelen (stekker uit het stopcontact trekken). Het oppervlok van de behuizing kan worden gereinigd met een zachtde doeck bevochtig in zoepsop. U mag geen schuurmiddelen of chemische producten gebruiken. Afzetting van stof op verluchtingsgleuven, enkel met een borstelje wegveen en eventueel met een stofzuiger wegzuigen. De zuigpijp netrechtstreeks gegen het toestel houden.
i
VEILIGHEIDSRICHTLJUNEN
Bij schade die door het Niet navolgen van deze gebruikershandleiding wordt verooraakt, cervalt hetrecht op garantie. Voor indirecte schade zich wij Niet aansprakelijk!
Voor schade aan zaken of personen die door ongeschichte bediening of Niet-opvolgen van de veiligheidsrichtlijnen voorzaakt worden, zich wij Niet aansprakelijk. In dezeGeVallenvervaltelleanspraakupgarantiie!
Om veiligheids- en vergunningsredenen (CE) is het Niet toegestaan om op eigeng houtje het product om te bouwen en/of te veranderen.
A
Haal het product Niet uit elkaar! Er bestaat gevaar op een levensgevaarlijke elektrische schok!
Laat het verpakkingsmateriaal网点 zichtoe rondslingeren,plastic folie/ zakken, polystyrendelen enz. kunnen in kinderhanden gevaarlijk spelgoed worden.
Het toestel is uitsluitend geschikt voor dioge binnenruimtes (geen badkamers of andere vochtige ruimtes). Vermijd dat het toestel vochtig of nat worden. Er is gevaar op een levensgevaarlijke elektrische schok!
In bedrijfsgebouwen要去 de veiligheidsvoorschriften van het verbond van bedrijfsvukverenigingen voor elektrische installmenten en bedrijsmid
delen worden gesrespecteerd. Wend u tot een vakman als u twijfelt over de werkwijze, de veiligheid of de aansluiting van het toestel.
Ga voorzichtig om met het product - door stoten, slagen of een val van al geinge hoogte worden het beschadigd.
2JAAR BEPERKTE GARANTIE
Voor de duur van 2aar wordt de garantie geveen, dat dit product vij is van defecten in het materiaal en in de uitvoering. Dat is alleen van toepassing als het toestel op normale wijze gebruikt worden en regelmatig worden onderhoven. De verplichtingen van deze garantie zich beperkt tot de reparatie of de neue montage van een of ander onderdeel van het toestel en gelden uitsluitend onder de voorwaarde dot er geen onbevoegde wijzigingen of pogingen tot reparatie werden uitgevoerd. Uw wettelijke rechten als klant worden op geen enkele wijze door deze garantie boenvloed.
i
Opgelet!
Er is geenrecht opgarantie in ondermeer de volgende gevallen:
- bedieningsfouten
- lege batterijen de defece accu's
- verkeerde codering/kanaalkeuze
- storingen door andere toestellen op radiostralen (bv. gsm-gebruik)
- ingrepen/inwerkingen van buitenof
- mechanische beschadigingen
vochtschade - geen garantiebewijs (aankoopewijs)
Bij schade die veroorzaakt worden doordat deze gebruksaanwijzing nicht werden opgevolgd, verralt alle aanssprak op garantie. Voor verwolgschade zich wij Niet aansprakelijk! Bij materièle of lichamelijke schade die vero- orzaakt werden door oncorrect gebruik of doordat de veiligheidsrichtlijnen nicht werden opgevolgd, zich wij Niet aansprakelijk. In deze gewallen verwalt elk eansprak op garantie!
Aansprakelijkheidsbeperking:
De fabrikant is Niet aansprakelijk voor het verlies of de beschadiging van om het even welke soort, met inbegrip van bicomende of verwolgschade, die direct of indirect het resultaat zichen van een fouit in het product.
NL
Deze gebruiksaanwijzing is een publicatie van
m-e GmbH modern-electronics,
An den Kolonaten 37, 26160 Bad Zwischenahn/Duitsland
Deze gebruksaanwijzing voldoot aan de technische eisen bij het ter perse gaan. Wijzigingen in techniek en uitrusting voorbehonden.
A
Abb.A
DIAGRAM A
ILLUSTRATION A
AFBEELING A

B
Abb. B
DIAGRAM B
ILLUSTRATION B
AFBEELING B

SimpelGids