DAR 3000 - Hotte MIELE - Notice d'utilisation et mode d'emploi gratuit
Retrouvez gratuitement la notice de l'appareil DAR 3000 MIELE au format PDF.
| Caractéristiques techniques | Hotte de cuisine MIELE DAR 3000, type de montage : murale, capacité d'aspiration : 600 m³/h, niveau sonore : 50 dB(A) à la puissance maximale. |
|---|---|
| Modes d'utilisation | Fonctionnement en mode évacuation ou recyclage, commandes électroniques, éclairage LED intégré. |
| Maintenance | Filtres à graisse lavables au lave-vaisselle, filtre à charbon remplaçable, entretien recommandé tous les 6 mois. |
| Sécurité | Système de sécurité contre la surchauffe, arrêt automatique après 10 minutes d'inactivité. |
| Informations générales | Dimensions : 90 cm de large, poids : 15 kg, garantie de 2 ans, consommation énergétique : classe A. |
FOIRE AUX QUESTIONS - DAR 3000 MIELE
Questions des utilisateurs sur DAR 3000 MIELE
0 question sur cet appareil. Repondez a celles que vous connaissez ou posez la votre.
Poser une nouvelle question sur cet appareil
Téléchargez la notice de votre Hotte au format PDF gratuitement ! Retrouvez votre notice DAR 3000 - MIELE et reprennez votre appareil électronique en main. Sur cette page sont publiés tous les documents nécessaires à l'utilisation de votre appareil DAR 3000 de la marque MIELE.
MODE D'EMPLOI DAR 3000 MIELE
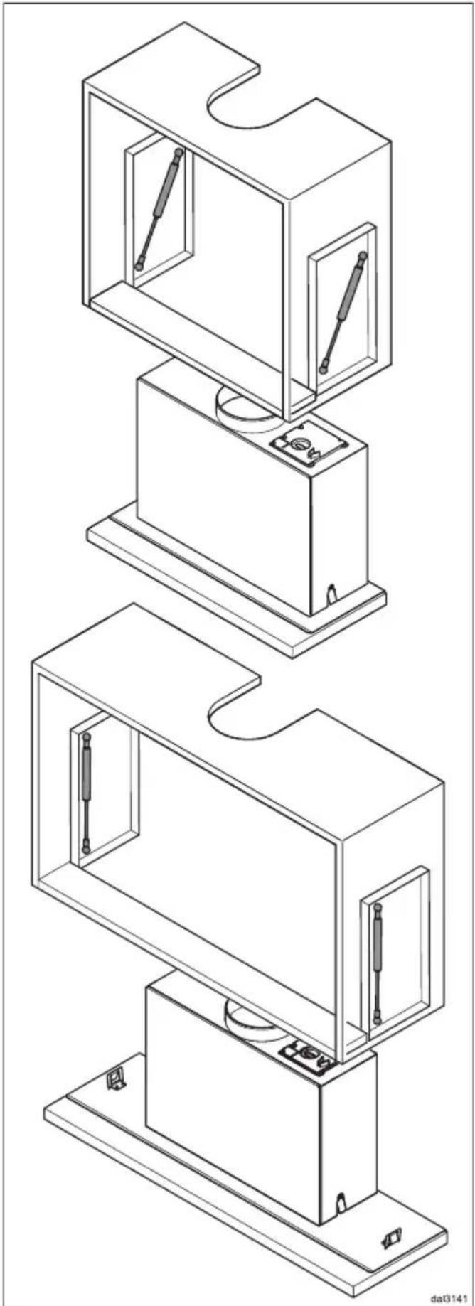
fr Cadre d'abaissement
Mode d'emploi et notice de montage
Lisez attentivement le mode d'emploi et la notice de montage de la hotte avant d'installer le cadre d'abaissement et la hotte. Ne procédez au raccordement électrique qu'une fois que l'ensemble des pièces sont montées.
1) Hauteur de l'armoire pour une utilisation en mode évacuation, lorsque l'air est évacué de l'armoire par le haut.
2) Hauteur de l'armoire pour une utilisation en mode recyclage avec set d'adaptation DUU 151.
3) Le corps de l'armoire doit être raccourci de 50 mm par rapport à la porte de l'armoire.
Pour toutes les autres mesures de l'armoire, les indications des schémas des modèles DA 3360, 3460, 3480 et 3490 sont d'application.
Il n'est pas nécessaire de prévoir un fond.
Le montage de la hotte DA 3490 dans une armoire d'une largeur de 600 mm n'est pas possible avec le cadre d'abaissement.
⚠ Les distances de sécurité par rapport au plan de cuisson doivent être respectées lorsque la hotte est abaissée.
Assurez-vous que l'espace situé en dessous de la hotte est dégagé et que d'autres pièces (par exemple, le carrelage mural, les armoires latérales, etc.) ne gênent pas l'abaissement.
Veillez aussi à ce que vous puissiez relever et abaisser la hotte librement à l'intérieur de l'armoire.
Ne fixez pas de pièces qui entravent le mouvement à la hotte.
⚠ Le cordon d'alimentation doit pouvoir se mouvoir librement sans se coincer lorsque vous relevez et abaissez la hotte.
Montage
■ Pour le montage, suivez la procédure décrite à partir de la page 26.
Deux ressorts à gaz soutiennent le mouvement de levée et d'abaissement de la hotte.
La position de la fixation supérieure des ressorts à gaz dépend du poids de la hotte. Le poids de la hotte varie en fonction de la largeur et du modèle.
Plus la hotte est lourde, plus la fixation doit être positionnée à l'avant.
Il est important de définir la position d'encastrement correcte pour que vous puissiez relever et abaisser la hotte librement.
■ Mettez donc les ressorts à gaz en place avant le montage, comme expliqué dans les instructions.
■ Pour que la hotte puisse s'abaisser, un raccordement flexible de la conduite d'évacuation est nécessaire. Pour ce faire, utilisez le tuyau d'évacuation ultra-flexible fourni.

Pour éviter que la face supérieure du déflecteur ne se raie en raison de la porte du meuble veillez à :
- tirer la hotte vers le bas jusqu'à en- clenchement avant de sortir le dé- flecteur ;
- rentrer le déflecteur jusqu'à en- clenchement avant de relever la hotte.

■ Saisissez la poignée et tirez la hotte vers le bas jusqu'à enclenchement.

■ Ensuite, sortez le déflecteur en tirant dessus.
La hotte se met sous tension comme décrit dans le mode d'emploi.

■ Après la cuisson, enfoncez à nouveau le déflecteur jusqu'à la butée. La hotte se met hors tension.

■ Ensuite, saisissez la poignée et poussez la hotte vers le haut jusqu'à enclenchement.

Notice Facile